Moderna
MRNA
#1194
Rank
HK$151.31 B
Marketcap
HK$381.55
Share price
-4.00%
Change (1 day)
79.13%
Change (1 year)
Moderna, Inc. is an American biotechnology company focused on the discovery and development of messenger RNA-based drugs.

Moderna - 10-K annual report


Text size:


UNITED STATES
SECURITIES AND EXCHANGE COMMISSION
Washington, DC 20549
FORM 10-K
(Mark One)
x    ANNUAL REPORT PURSUANT TO SECTION 13 OR 15(d) OF THE SECURITIES EXCHANGE ACT OF 1934
For the fiscal year ended December 31, 2019
OR
o    TRANSITION REPORT PURSUANT TO SECTION 13 OR 15(d) OF THE SECURITIES EXCHANGE ACT OF 1934
For the transition period from _ to _
Commission File Number: 001-38753

modernalogo.jpg

Moderna, Inc.
(Exact Name of Registrant as Specified in Its Charter)
Delaware
 
81-3467528
(State or Other Jurisdiction of Incorporation or Organization)
 
(IRS Employer Identification No.)
 
 
 
200 Technology Square
Cambridge, Massachusetts
 
02139
(Address of Principal Executive Offices)
 
(Zip Code)
(617) 714-6500
(Registrant’s Telephone Number, Including Area Code)

Securities registered pursuant to Section 12(b) of the Act:

Title of each class
Trading Symbol(s)
Name of each exchange on which registered
Common stock, par value $0.0001 per share
MRNA
The Nasdaq Stock Market LLC

Securities registered pursuant to Section 12(g) of the Act: None

Indicate by check mark if the registrant is a well-known seasoned issuer, as defined in Rule 405 of the Securities Act. Yes x No o

Indicate by check mark if the registrant is not required to file reports pursuant to Section 13 or Section 15(d) of the Act. Yes o     No x

Indicate by check mark whether the registrant (1) has filed all reports required to be filed by Section 13 or 15(d) of the Securities Exchange Act of 1934 during the preceding 12 months (or for such shorter period that the registrant was required to file such reports), and (2) has been subject to such filing requirements for the past 90 days. Yes x    No o

Indicate by check mark whether the registrant has submitted electronically every Interactive Data File required to be submitted pursuant to Rule 405 of Regulation S-T (§ 232.405 of this chapter) during the preceding 12 months (or for such shorter period that the registrant was required to submit such files). Yes x No o

Indicate by check mark whether the registrant is a large accelerated filer, an accelerated filer, a non-accelerated filer, a smaller reporting company, or an emerging growth company. See the definitions of “large accelerated filer”, “accelerated filer”, “smaller reporting company”, and “emerging growth company” in Rule 12b-2 of the Exchange Act.
Large accelerated filer x
 
Accelerated filer o
 
Non-accelerated filer o
 
Smaller reporting company o
 
 
 
 
 
 
Emerging growth company o

If an emerging growth company, indicate by check mark if the registrant has elected not to use the extended transition period for complying with any new or revised financial accounting standards provided pursuant to Section 13(a) of the Exchange Act. o

Indicate by check mark whether the registrant is a shell company (as defined in Rule 12b-2 of the Act). Yes ☐ No x

As of June 30, 2019, the aggregate market value of voting and non-voting common equity held by non-affiliates of the registrant was approximately $3.38 billion based on the closing sale price on that date of $14.64. Shares of common stock held by each executive officer and director and by each other person who may be deemed to be an affiliate of the Registrant have been excluded from this computation. The determination of affiliate status for this purpose is not necessarily a conclusive determination for other purposes.

As of February 26, 2020, there were 368,642,548 shares of the registrant’s common stock, par value $0.0001 per share, outstanding.

DOCUMENTS INCORPORATED BY REFERENCE
Portions of the registrant’s Definitive Proxy Statement relating to its 2020 Annual Meeting of Stockholders to be filed hereafter are incorporated by reference into Part III of this Annual Report on Form 10-K where indicated.



Table of Contents

PART I.
 
Page
Item 1.
Business
Item 1A.
Risk Factors
Item 1B.
Unresolved Staff Comments
Item 2.
Properties
Item 3.
Legal Proceedings
Item 4.
Mine Safety Disclosures
PART II.
 
 
Item 5.
Market for Registrant’s Common Equity, Related Stockholder Matters and Issuer Purchases of Equity Securities
Item 6.
Selected Consolidated Financial Data
Item 7.
Management’s Discussion and Analysis of Financial Condition and Results of Operations
Item 7A.
Quantitative and Qualitative Disclosures about Market Risk
Item 8.
Financial Statements and Supplementary Data
Item 9.
Changes in and Disagreements with Accountants on Accounting and Financial Disclosure
Item 9A.
Controls and Procedures
Item 9B.
Other Information
PART III.
 
 
Item 10.
Directors, Executive Officers and Corporate Governance
Item 11.
Executive Compensation
Item 12.
Security Ownership of Certain Beneficial Owners and Management and Related Stockholder Matters
Item 13.
Certain Relationships and Related Transactions, and Director Independence
Item 14.
Principal Accountant Fees and Services
PART IV.
 
 
Item 15.
Exhibits, Financial Statement Schedules
Item 16.
Form 10-K Summary
Signatures
 
 





SPECIAL NOTE REGARDING FORWARD-LOOKING STATEMENTS
This Annual Report on Form 10-K, including the sections entitled “Business,” “Risk Factors,” and “Management’s Discussion and Analysis of Financial Condition and Results of Operations,” contains express or implied forward-looking statements within the
meaning of the federal securities laws, Section 27A of the Securities Act of 1933, as amended, and Section 21E of the Securities Exchange Act of 1934, as amended. We intend these forward-looking statements to be covered by the safe harbor provisions for forward-looking statements contained in the Private Securities Litigation Reform Act of 1995 and are including this statement for purposes of complying with those safe harbor provisions. All statements other than statements of historical facts contained in this Annual Report are forward-looking statements. These forward-looking statements are based on our management’s belief and assumptions and on information currently available to our management. Although we believe that the expectations reflected in these forward-looking statements are reasonable, these statements relate to future events or our future operational or financial performance, and involve known and unknown risks, uncertainties, and other factors that may cause our actual results, performance, or achievements to be materially different from any future results, performance, or achievements expressed or implied by these forward-looking statements. Forward-looking statements in this Annual Report on Form 10-K include, but are not limited to, statements about:
the initiation, timing, progress, results, and cost of our research and development programs and our current and future preclinical studies and clinical trials, including statements regarding the timing of initiation and completion of studies or trials and related preparatory work, the period during which the results of the trials will become available, and our research and development programs;
 
our anticipated next steps for our development candidates and investigational medicines;

our ability to identify research priorities and apply a risk-mitigated strategy to efficiently discover and develop development candidates and investigational medicines, including by applying learnings from one program to our other programs and from one modality to our other modalities;

our ability and the potential to successfully manufacture our drug substances, delivery vehicles, development candidates, and investigational medicines for preclinical use, for clinical trials and on a larger scale for commercial use, if approved;

the ability and willingness of our third-party strategic collaborators to continue research and development activities relating to our development candidates and investigational medicines;

our ability to obtain funding for our operations necessary to complete further development and commercialization of our investigational medicines;

our ability to obtain and maintain regulatory approval of our investigational medicines;

our ability to commercialize our products, if approved;

the pricing and reimbursement of our investigational medicines, if approved;

the implementation of our business model, and strategic plans for our business, investigational medicines, and technology;

the scope of protection we are able to establish and maintain for intellectual property rights covering our investigational medicines and technology;

estimates of our future expenses, revenues, capital requirements, and our needs for additional financing;

the potential benefits of strategic collaboration agreements, our ability to enter into strategic collaborations or arrangements, and our ability to attract collaborators with development, regulatory, and commercialization expertise;

future agreements with third parties in connection with the commercialization of our investigational medicines, if approved;

the size and growth potential of the markets for our investigational medicines, and our ability to serve those markets;

our financial performance;

the rate and degree of market acceptance of our investigational medicines;




regulatory developments in the United States and foreign countries;

our ability to contract with third-party suppliers and manufacturers and their ability to perform adequately;

our ability to produce our products or investigational medicines with advantages in turnaround times or manufacturing cost;

the success of competing therapies that are or may become available;

our ability to attract and retain key scientific or management personnel;

the impact of laws and regulations;

developments relating to our competitors and our industry; and

other risks and uncertainties, including those listed under the caption “Risk Factors.” 
 
In some cases, forward-looking statements can be identified by terminology such as “may,” “should,” “expects,” “intends,” “plans,” “anticipates,” “believes,” “estimates,” “predicts,” “potential,” “continue,” or the negative of these terms or other comparable terminology. The risks set forth above are not exhaustive. Other sections of this report may include additional factors that could adversely affect our business and financial performance. Moreover, we operate in a very competitive and rapidly changing environment. New risk factors emerge from time to time and it is not possible for management to predict all risk factors, nor can we assess the impact of all risk factors on our business or the extent to which any factor, or combination of factors, may cause actual results to differ materially from those contained in any forward-looking statements. These statements are only predictions. You should not place undue reliance on forward-looking statements because they involve known and unknown risks, uncertainties, and other factors, which are, in some cases, beyond our control and which could materially affect results. Factors that may cause actual results to differ materially from current expectations include, among other things, those listed under the section entitled “Risk Factors” and elsewhere in this Annual Report on Form 10-K. If one or more of these risks or uncertainties occur, or if our underlying assumptions prove to be incorrect, actual events or results may vary significantly from those expressed or implied by the forward-looking statements. No forward-looking statement is a guarantee of future performance.
The forward-looking statements in this Annual Report on Form 10-K represent our views as of the date of this Annual Report on Form 10-K. We anticipate that subsequent events and developments will cause our views to change. However, while we may elect to update these forward-looking statements at some point in the future, we have no current intention of doing so except to the extent required by applicable law. You should therefore not rely on these forward-looking statements as representing our views as of any date subsequent to the date of this Annual Report on Form 10-K.
This Annual Report on Form 10-K includes statistical and other industry and market data that we obtained from industry publications and research, surveys, and studies conducted by third parties. Industry publications and third-party research, surveys, and studies generally indicate that their information has been obtained from sources believed to be reliable, although they do not guarantee the accuracy or completeness of such information. We have not independently verified the information contained in such sources.

NOTE REGARDING COMPANY REFERENCES
Unless the context otherwise requires, the terms “Moderna,” “the Company,” “we,” “us,” and “our” in this Annual Report on Form 10-K refer to Moderna, Inc. and its consolidated subsidiaries.

 


Table of Contents

PART I
Item 1. Business
THE mRNA OPPORTUNITY
mRNA, the software of life
Messenger RNA, or mRNA, transfers the information stored in our genes to the cellular machinery that makes all the proteins required for life. Our genes are stored as sequences of DNA which contain the instructions to make specific proteins. DNA serves as a hard drive, safely storing these instructions in the nucleus until they are needed by the cell.
When a cell needs to produce a protein, the instructions to make that protein are copied from the DNA to mRNA, which serves as the template for protein production. Each mRNA molecule contains the instructions to produce a specific protein with a distinct function in the body. mRNA transmits those instructions to cellular machinery, called ribosomes, that make copies of the required protein.
We see mRNA functioning as the “software of life.” Every cell uses mRNA to provide real time instructions to make the proteins necessary to drive all aspects of biology, including in human health and disease. This was codified as the central dogma of molecular biology over 50 years ago, and is exemplified in the schematic below.
image0001b.jpg
mRNA is used to make every type of protein, including secreted, membrane, and intracellular proteins, in varying quantities over time, in different locations, and in various combinations. This is shown in the figure below.
modularsynthesisproteinprod2.jpg

5

Table of Contents

Given its essential role, we believe mRNA could be used to create a new class of medicines with significant potential to improve the lives of patients. Over the last 40 years, the biotechnology industry has created a new category of drugs based on recombinant protein technology. These drugs rely on secreted proteins, including antibodies and protein replacements, to treat a wide range of diseases. This category of drugs accounts for over $200 billion in annual worldwide sales. However, intracellular and membrane proteins represent as much as two-thirds of the proteins in humans, and are largely beyond the reach of recombinant protein technology. Based on the ability of mRNA to produce these proteins directly in cells, we believe that mRNA-based medicines have the potential to help patients in ways that could equal or exceed the impact of recombinant protein-based drugs.
The structure of mRNA
Messenger RNA is a linear polymer comprising four monomers called nucleotides: adenosine (A), guanosine (G), cytosine (C), and uridine (U). Within the region of the molecule that codes for a protein, or the coding region, the sequence of these four nucleotides forms a language made up of three-letter words called codons. The first codon, or start codon (AUG), signals where the ribosome should start protein synthesis. To know what protein to make, the ribosome then progresses along the mRNA one codon at a time, appending the appropriate amino acid to the growing protein. To end protein synthesis, three different codons (UAA, UAG, and UGA) serve as stop signals, telling the ribosome where to terminate protein synthesis. In total, there are 64 potential codons, but only 20 amino acids that are used to build proteins; therefore multiple codons can encode for the same amino acid.
The process of protein production is called translation because the ribosome is reading in one language (a sequence of codons) and outputting in another language (a sequence of amino acids). As shown in the figure below, the coding region is analogous to a sentence in English. Much like a start codon, a capitalized word can indicate the start of a sentence. Codons within the coding region resemble groups of letters representing words. The end of the sentence is signaled by a period in English, or a stop codon for mRNA.
translationlangcompariso.jpg

6

Table of Contents

The intrinsic advantages of using mRNA as a medicine
We believe mRNA possesses inherent characteristics that could serve as the foundation for a new class of medicines. These characteristics include:
1.
mRNA is used by every cell to produce all proteins: Cells in the human body use mRNA to make all types of proteins, including secreted, membrane, and intracellular proteins. mRNA is used by cells to vary the quantities of protein produced over time, in different locations, and in various combinations. Given the universal role of mRNA in protein production, we believe that mRNA medicines could have broad applicability across human disease.
2.
Making proteins inside one’s own cells mimics human biology: Using a person’s own cells to produce protein therapeutics or vaccine antigens could create advantages over existing technologies such as recombinant proteins, which are manufactured using processes that are foreign to the human body. These advantages include the ability to:
use multiple mRNAs to produce multiple proteins;
reduce or eliminate immunogenicity;
create multi-protein complexes;
produce therapeutic or vaccine proteins locally;
harness native protein folding and glycosylation; and
make proteins that are unstable outside the body.
3.
mRNA has a simple and flexible chemical structure: Each mRNA molecule comprises four chemically similar nucleotides to encode proteins made from up to 20 chemically different amino acids. To make the full diversity of possible proteins, only simple sequence changes are required in mRNA. A vast number of potential mRNA medicines can be developed, therefore, with only minor changes to the underlying chemical structure of the molecule or manufacturing processes, a significant advantage over small molecule or protein therapeutics.
4.
mRNA has the potential for classic pharmacologic features: The intrinsic properties of mRNA translate into attractive pharmacologic features, including:
each mRNA encodes for a specific protein and no other protein;
each mRNA molecule can produce many copies of a protein in the cell before being degraded;
increasing mRNA levels in a cell generally leads to increasing protein levels; and
the effects of mRNA in a cell can be transient and limits risk of irreversible changes to the cell’s DNA.
As a result, mRNA could have many of the attractive pharmacologic features of most modern medicines, including reproducible activity, predictable potency, and well-behaved dose dependency; and the ability to adjust dosing based on an individual patient’s needs, including stopping or lowering the dose, to seek to ensure safety and tolerability.
mRNA as a new class of medicines
Based on these and other features, we have developed four core beliefs about the value drivers of mRNA as a new class of medicines:
1.
mRNA has the potential to create an unprecedented abundance and diversity of medicines. mRNA medicines could be used to provide patients or healthy individuals with any therapeutic protein or vaccine, including those targeting intracellular and membrane proteins. This breadth of applicability has the potential to create an extraordinary number of new mRNA-based medicines that are currently beyond the reach of recombinant protein technology.
2.
Advances in the development of our mRNA medicines can reduce risks across our portfolio. mRNA medicines share fundamental features that can be used to learn quickly across a portfolio. We believe that once safety and proof of protein production has been established in one program, the technology and biology risks of related programs that use similar mRNA technologies, delivery technologies, and manufacturing processes will decrease significantly.
3.
mRNA technology can accelerate discovery and development. The software-like features of mRNA enable rapid in silico design and the use of automated high-throughput synthesis processes that permit discovery to proceed in parallel rather than sequentially. We believe these mRNA features can also accelerate drug development by allowing the use of shared manufacturing processes and infrastructure.

7

Table of Contents

4.
The ability to leverage shared processes and infrastructure can drive significant capital efficiency over time. We believe the manufacturing requirements of different mRNA medicines are dramatically more similar than traditional recombinant protein-based drugs across a similarly diverse pipeline. When manufacturing at commercial scale, we believe mRNA medicines will benefit from shared capital expenditures, resulting in lower program-specific capital needs and an advantageous variable cost profile.
Recombinant protein-based drugs significantly advanced patient care and transformed the biopharmaceutical industry. We believe that the development of mRNA as a new class of medicines could represent another breakthrough for patients and our industry.

8

Table of Contents

OUR STRATEGIC PRINCIPLES AND APPROACH TO MANAGING RISK
Our strategy is designed to deliver on the full scope of the mRNA opportunity over the long-term. Reaching patients with mRNA medicines requires us to make complex choices, including: how much capital we devote to technology creation, drug discovery, drug development, and infrastructure; which programs we advance and how; whether we advance programs alone or with strategic collaborators; and which capabilities we build internally versus outsource.
To navigate these choices, we established five strategic principles that guide our approach to creating long-term value for patients and investors. No single strategic principle dominates our choices. Embedded in every decision we make is also our assessment of the most important risks inherent in our business. We believe these risks fall into four categories: technology, biology, execution, and financing.
To increase our chances of success, we often find it necessary to balance our near-to-mid-term risks against the strategic principles that guide our approach to long-term value creation.
Our strategic principles
1.
We seek to discover and develop a large pipeline in parallel. Our goal is to address or prevent as many human diseases as our technology, talent, capital, and other resources permit. We do so as rapidly as we can, understanding both the urgency for patients and the need to be disciplined in our approach. We have a diverse pipeline of 24 development candidates, 12 of which are currently in clinical trials, and many of which have the potential to be first-in-class or best-in-class medicines.
2.
We undertake sustained, long-term investment in technology creation. We aim to improve the performance of mRNA medicines in our current modalities, and to unlock new modalities, through investments within basic and applied science. We are committed to remaining at the forefront of mRNA science, which we believe will take many more years to fully mature.
3.
We focus on the pace and scale of our learning. We believe that time is a critical resource. We seek to accelerate our progress by solving numerous technical problems in parallel rather than in sequence. Our scientists pursue experiments based on how much we can learn from the results, not just the probability of a positive outcome. We believe negative information is valuable and we can learn from our setbacks. We make significant investments in digital assets and research infrastructure to accelerate the pace and scale of our learning.
4.
We integrate across the most critical parts of our value chain. mRNA is a complex multicomponent system and we believe it demands integration. We believe that we must be directly engaged in research, drug discovery, drug development, process and analytical development, and manufacturing to accelerate our learning, reduce our risk, and protect our critical know-how. Where appropriate, we seek out strategic collaborators that can augment our capabilities or expand our capacity in specific therapeutic areas, while being careful to resist the fragmentation of our core technology.
5.
We forward invest in core enabling capabilities and infrastructure. To execute across a broad pipeline, we need to invest at risk before we have all the answers. Our forward investments focus on areas where lead times are long and where early investments can reduce execution risk and accelerate future progress. We proactively decided to invest in a dedicated manufacturing facility, Moderna Technology Center (“MTC”), in Norwood, MA, to support the anticipated growth of our pipeline.
Our approach to managing risk
In conjunction with the strategic principles that guide our approach to long-term value creation, we actively manage the risks inherent in our business. At present, these categories of risk include: technology, biology, execution, and financing. We summarize our approach to managing these risks below:
1.
Technology risk encompasses the challenges of developing the product features of mRNA medicines, including delivery, controlling interactions with the immune system, optimizing therapeutic index, and manufacturing. We believe the best way to mitigate technology risk is to sustain long-term investments in our platform. In addition, we diversify our technology risk by compartmentalizing our pipeline into groups of programs with shared product features, which we call modalities. Lastly, we stage program development within a modality, leveraging the first program, whether successful or not, to generate insights that accelerate and reduce the risk of subsequent programs within the modality.
2.
Biology risk entails the risk unique to each program based on its mechanism of action and of clinical development in the target patient population. We believe the best way to manage biology risk is to diversify it by pursuing multiple programs in parallel. In addition, within a modality we seek to initially pursue programs with well-understood biology. Lastly, we may seek strategic collaborators to share risk and upside in disease areas with high inherent biology risk, such as cancer and heart disease.

9

Table of Contents

3.
Execution risk refers to the challenge of executing against the scale of our mission. We solve for this risk by seeking to hire the right people, the best talent in the industry. We seek to foster a culture of execution with a focus on quick review cycles and high velocity decision-making. We make forward investments in infrastructure, including manufacturing. Lastly, we have created a digital backbone to track all aspects of our programs and anticipate challenges before they arise.
4.
Financing risk refers to our ability to access the capital required to fund the current breadth of our endeavor, as well as new opportunities. We manage this risk by attempting to maintain a strong balance sheet with several years of cash runway. As of December 31, 2019, we had cash, cash equivalents, and investments of $1.3 billion. During 2019, cash used in operations and for purchases of property and equipment was $459.0 million and $31.6 million in 2019, respectively. Lastly, we may continue to pursue strategic alliances, which provide resources and another source of funding.
There is no single strategic principle nor single category of risk that dominates our decision-making, and universal rules do not exist across our portfolio. Our trade-offs generally involve balancing near-term risks and long-term value creation. Because development cycles are long, our choices are complex. We expect the weighting and types of risk we face will evolve as our business matures. We believe that disciplined capital allocation across near- and long-term choices must be a core competency if we are to maximize the opportunity for patient impact and shareholder value creation.
Our progress
We are encouraged by our results to date. Across the six modalities that we have established, we have 23 programs in development, and manufactured dozens of drug substance lots for use in IND-enabling Good Laboratory Practice, or GLP, toxicology studies. “IND-enabling” refers to studies required for Investigational New Drug Application, or IND, or equivalent non-U.S. regulatory filings, such as a Clinical Trial Application, or CTA. We and our strategic collaborators have completed IND-enabling GLP toxicology programs to support our open INDs and/or CTAs for our development candidates, manufactured dozens of current good manufacturing practice, or cGMP, batches of clinical trial materials, and have 12 programs in clinical trials and another one with an open IND. Over 1,500 subjects have been enrolled in our clinical trials. To fund these activities, we have raised over $3.2 billion as of December 31, 2019, including $2.4 billion from equity issuances and $0.8 billion in upfront payments, milestone payments, and option exercise fees from strategic collaborators.

10

Table of Contents

OUR PLATFORM
Overview of our platform
Our “platform” refers to our accumulated knowledge and capabilities in basic and applied sciences across mRNA, the delivery of mRNA to target tissues, and the manufacturing processes for making potential mRNA medicines. We invest in basic science to discover foundational mechanistic insights, and we invest in applied sciences to invent technology that harnesses those insights. We use our platform to identify and develop new mRNA medicines. When we identify a combination of platform technologies or programs across mRNA technologies, delivery technologies, and manufacturing processes that can enable shared product features across multiple potential mRNA medicines, we group those programs as a modality. The primary goal of our platform is to identify new modalities and to expand the utility of our existing modalities. We are committed to advancing the technological frontier of mRNA medicines over the long term.
We define success in our platform as achieving the following pharmacologic properties:
predictable dose response;
reproducible pharmacology, including upon repeat dosing;
therapeutic potency, through achieving the intended pharmacologic activity in the target tissue;
safety and tolerability; and
scalability for development.
Achieving any of these pharmacologic properties requires many, often interdependent, technological solutions. We organize our efforts into three core scientific areas: mRNA, delivery, and manufacturing process as shown in the figure below:
image1.jpg
We pursue mRNA science both to minimize undesirable activation of the immune system by mRNA and to maximize the mRNA potency of mRNA once inside target cells. We pursue delivery science to protect mRNA from extracellular enzymes that would degrade it, to avoid counterproductive interactions of our delivery vehicles with the immune system, deliver mRNA to desired tissues, and facilitate mRNA transport across cell membranes to the translational machinery within cells. Finally, we have learned that the methods for producing mRNA and lipid nanoparticle, or LNP, delivery systems can have profound positive and negative effects on pharmacology. We pursue process science to optimize these features for our future medicines and to develop technical capabilities to scale our potential mRNA medicines for clinical development.
We have incurred over $500.0 million of expense to advance our platform technology and our intellectual property. This investment has underpinned the creation of all six of our existing modalities and helped us to establish fundamental intellectual property. We intend to sustain our investment in our platform in the future because we believe we can establish new modalities and continue to make meaningful improvements in the performance of our current modalities.
The success of our current platform and the current pipeline of over 20 programs that it underpins depends on hundreds of small advances in our three core scientific areas. Examples of many critical advances that we have made are described below. These advances demonstrate our significant progress to date, and exemplify our approach to tackling hundreds of smaller scientific problems and organizing them into technological solutions.
Our platform: mRNA science
An overview of mRNA biology
Messenger RNA is a linear polymer comprised of four monomers called nucleotides: adenosine (A), guanosine (G), cytosine (C), and uridine (U). Within the region of the mRNA molecule that serves as instructions for protein synthesis, the coding region, the exact sequence of these four nucleotides forms a language made up of three-letter words called codons. One codon, the start codon (AUG), serves to signal where the ribosome should start protein synthesis. To know what protein to make, the ribosome then progresses along the mRNA one codon at a time, appending the appropriate amino acid to the growing protein chain. Because the ribosome is reading in one language (a sequence of codons) and outputting in another language (a sequence of amino acids), this process is called translation. Finally, three different codons (UAA, UAG, and UGA) can serve as stop signals, telling the ribosome where to terminate protein synthesis. The production of proteins from mRNA sequences is called translation and is used to make all human proteins. The production of mRNA from DNA is called transcription.

11

Table of Contents

As shown in the figure below, the coding region in an mRNA molecule is analogous to a sentence in English. The start codon indicates the start of the protein, much like a capitalized word can indicate the start of a sentence. Codons within the coding region resemble groups of letters representing words. The end of the sentence is signaled by a period in English, or a stop codon for mRNA.
translationlangcomparisoa01.jpg
In every cell, hundreds of thousands of mRNAs make hundreds of millions of proteins every day. A typical protein contains 200-600 amino acids; therefore a typical mRNA coding region ranges from 600-1,800 nucleotides.
In addition to the coding region, mRNAs contain four other key features: (1) the 5’ untranslated region or 5’-UTR; (2) the 3’ untranslated region or 3’-UTR; (3) the 5’ cap; and (4) a 3’ polyadenosine, or poly-A, tail. The sequence of nucleotides in the 5’-UTR influences how efficiently the ribosome initiates protein synthesis, whereas the sequence of nucleotides in the 3’-UTR contains information about which cell types should translate that mRNA and how long the mRNA should last. The 5’ cap and 3’ poly-A tail enhance ribosome engagement and protect the mRNA from attack by intracellular enzymes that digest mRNA from its ends.
As a result of this biology, mRNA has several key features. First, mRNA is exquisitely specific. There is a one-to-one correspondence between an mRNA molecule and the protein dictated by the coding sequence. Second, the biological effects of mRNA are amplified. Because each mRNA copy can be translated thousands of times, we believe that in some cases, a small number of mRNA copies per cell may be sufficient to induce a pharmacologic effect. Finally, mRNA is impermanent. mRNAs produce proteins for a defined and biologically-regulated period of time without risk of changing genes or cell DNA. If dosing of mRNA stops, protein production will stop and the biological effects generally can be reversed.
Decades of academic investigation have uncovered the basic mechanisms of mRNA translation. Parallel efforts have uncovered how the innate immune system determines self-mRNA versus foreign RNA from RNA-based viruses. We are grateful for the deep scientific foundation established by these pioneers. Yet as we seek to develop mRNA into medicines we often find ourselves at the frontiers of current understanding. Therefore, we invest in both applied and basic research, seeking to advance both the state of our technology and the state of the scientific community’s understanding of mRNA. Examples of advances in mRNA science that combine nucleotide chemistry, sequence engineering, and targeting elements are described below.
mRNA chemistry: Modified nucleotides to mitigate immune system activation
The innate immune system has evolved to protect cells from foreign RNA, such as viral RNA, by inducing inflammation and suppressing mRNA translation once detected. Many cells surveil their environment through sensors called toll-like-receptors, or TLRs. These include types that are activated by the presence of double-stranded RNA (TLR3) or uridine containing RNA fragments (TLR7, TLR8). Additionally, all cells have cytosolic double-stranded RNA, sensors, including retinoic acid inducible gene-I, or RIG-I that are sensitive to foreign RNA inside the cell.
The immune and cellular response to mRNA is complex, context specific, and often linked to the sensing of uridine. To minimize undesired immune responses to our potential mRNA medicines, our platform employs chemically-modified uridine nucleotides to minimize recognition by both immune cell sensors such as TLR3/7/8, and broadly-distributed cytosolic receptors such as RIG-I. mRNA produced using our synthesis technologies and containing unmodified uridine results in significant upregulation of secreted cytokines such as IP-10, as shown in the figure below. Administration of monocyte-derived macrophages, or MDMs, with unmodified mRNA formulated in LNPs results in an increased ratio of IP-10 transcripts relative to a housekeeping gene. By substituting unmodified uridine with a modified uridine, we can substantially reduce immune cell activation in this assay. The control contains

12

Table of Contents

only transfection agent and no mRNA. In multiple preclinical experiments we have demonstrated reduced immune cell activation, including of B cells, lower immunoglobulin secretion, and lower cytokine expression when administering mRNA made with modified uridine versus unmodified uridine. To date, when deploying these technologies we have yet to observe dose-limiting toxicity attributable to the mRNA encoding proteins from our drug substance even at the exaggerated doses in IND-enabling GLP toxicology programs. Importantly, in preclinical testing, our chemically-modified uridine has not significantly affected the ribosome’s ability to read and translate the mRNA sequence.
Nucleotide chemistry of mRNA reduces immune activation in vitro (in MDMs)
a10kimage11.jpg
mRNA sequence engineering: Maximizing protein expression
mRNA exists transiently in the cytoplasm, during which time it can be translated into thousands of proteins before eventually being degraded. Our platform applies bioinformatic, biochemical, and biological screening capabilities, most of which have been invented internally that aim to optimize the amount of protein produced per mRNA. We have identified proprietary sequences for the 5’-UTR that have been observed to increase the likelihood that a ribosome bound to the 5’-end of the mRNA transcript will find the desired start codon and reliably initiate translation of the coding region.
We additionally design the nucleotide sequence of the coding region to maximize its successful translation into protein. As previously described, there are often multiple codons that encode for a specific amino acid. The amount of protein produced by an mRNA sequence is known to be partly determined by the codons it uses, with certain codons being more or less common in endogenous mRNAs. We have found that the amount of protein produced is also determined by the secondary structure of mRNA, or the propensity of mRNA to fold on itself, with more structured mRNAs producing more protein. We designed a set of sequences which independently varied codon usage and structure of the mRNA. As shown in the figure below, protein expression in the Alpha mouse liver 12, cell line is highest for sequences containing more commonly occurring codons and also more structured mRNA. Both codon usage and structure have an independent and additive effect on protein expression, shown as mean expression (solid line), as measured by fluorescence of the expressed protein, with 95% confidence interval in gray. The total expression area under the curve, or AUC, and standard error of the mean for AUC are shown for each quadrant, in relative fluorescence units per hour. By optimizing translation initiation and efficiency, we have further increased the average number of full-length desired proteins expressed per molecule mRNA. This permits us to reduce the mRNA doses required to achieve the same therapeutic benefit.
Sequences with more structure and more common codons in mRNA maximize protein expression in vitro
a10kimage12.jpg
Targeting elements: Enabling tissue-targeted translation

13

Table of Contents

All nucleated cells in the body are capable of translating mRNA, resulting in pharmacologic activity in any cell in which mRNA is delivered and translated. To minimize or prevent potential off-target effects, our platform employs technologies that regulate mRNA translation in select cell types. Cells often contain short RNA sequences, called microRNAs or miRNAs, that bind to mRNA to regulate protein translation at the mRNA level. Different cell types have different concentrations of specific microRNAs, in effect giving cells a microRNA signature. microRNA binding directly to mRNA effectively silences or reduces mRNA translation and promotes mRNA degradation. We design microRNA binding sites into the 3’-UTR of our potential mRNA medicines so that if our mRNA is delivered to cells with such microRNAs, it will be minimally translated and rapidly degraded.
As an example, we have demonstrated by intratumoral administration in an animal model that an mRNA encoding a cytotoxic protein and containing a microRNA binding site can be used to selectively kill cancer cells, while protecting systemic tissues such as liver cells. In a mouse model of cancer (Hep3b subcutaneous xenograft mouse), liver enzyme levels and immunohistochemistry, or IHC, of cleaved caspase-3, indicate production of an apoptosis-inducing protein encoded by mRNA in tumor cells but not healthy liver cells when the mRNA has multiple miR-122 target sites. This is denoted as 3x122ts in the figure below; miR-122 is more prevalent in non-cancerous liver cells, but absent in the cancerous liver cells. We published this work in Nucleic Acid Therapeutics in 2018.
Tissue-targeted translation of mRNA encoding a pro-apoptotic protein
and microRNA binding sites in mouse study
a10kimage13.jpg
a10kimage14.jpg
Our platform: Delivery science
We focus on the delivery of our mRNA molecules to specific tissues. Our mRNA can, in specific instances, such as our VEGF therapeutic, be delivered by direct injection to a tissue in a simple saline formulation without lipid nanoparticles, or LNPs, to locally produce small amounts of pharmacologically active protein. However, the blood and interstitial fluids in humans contain significant RNA degrading enzymes that rapidly degrade any extracellular mRNA and prevent broader distribution without LNPs. Additionally, cell membranes tend to act as a significant barrier to entry of large, negatively-charged molecules such as mRNA. We have therefore invested heavily in delivery science and have developed LNP technologies, as well as alternative nanoparticle approaches to enable delivery of larger quantities of mRNA to target tissues.

14

Table of Contents

LNPs are generally composed of four components: an amino lipid, a phospholipid, cholesterol, and a pegylated-lipid, or PEG-lipid. Each component, as well as the overall composition, or mix of components, contributes to the properties of each LNP system. LNPs containing mRNA injected into the body rapidly bind proteins that can drive uptake of LNPs into cells. Once internalized in endosomes within cells, the LNPs are designed to escape the endosome and release their mRNA cargo into the cell cytoplasm, where the mRNA can be translated to make a protein and have the desired therapeutic effect. Any mRNA and LNP components that do not escape the endosome are typically delivered to lysosomes where they are degraded by the natural process of cellular digestion.
Examples of tools we developed by using our platform include proprietary LNP formulations that address the steps of mRNA delivery, including cell uptake, endosomal escape, and subsequent lipid metabolism, and for avoidance of counterproductive interactions with the immune system. Examples of delivery tools we have developed are described below.
Chemistry: Novel lipid chemistry to potentially improve safety and tolerability
We initially used LNP formulations that were based on known lipid systems, which we refer to as “legacy LNPs.” A recognized limitation of these legacy LNPs is the potential for inflammatory reactions upon single and repeat administration that can impact tolerability and therapeutic index. Our later-developed, proprietary LNP systems are therefore designed to be highly tolerated and minimize any LNP vehicle-related toxicities with repeat administration in vivo. The changes we made have included engineering amino lipids to avoid the immune system and to be rapidly biodegradable relative to prior lipids as shown in the figure below. Administered intravenously in non-human primates, at 0.2 mg/kg, our proprietary LNPs demonstrate rapid clearance of the lipid from panel A (plasma) and B (various organs 12 hours post administration).
Rapid clearance of lipid components of LNPs from plasma in non-human primate study
(y-axis in log-scale)
a10kimage15.jpg
Panel (A)

15

Table of Contents

Rapid clearance of LNP lipid from tissue 12 hours post administration in non-human primate study
a10kimage16.jpg
Panel (B)
Even in the case of vaccines, where one might hypothesize that LNP-induced immune stimulation could potentially increase the effectiveness of the vaccine, we have demonstrated in preclinical studies that we can maintain the desired immune response to the vaccine while reducing undesired local immune reaction, or reactogenicity, to the LNP as shown in the figure below. Representative histology sections in the muscle stained with hematoxalin and eosin two days after a single intramuscular administration in rats demonstrated less inflammation and muscle cell necrosis with our proprietary LNPs vs. legacy LNPs containing 0.1 mg of our mRNA. As exemplified in the box with the legacy LNP in panel A, necrosis and degeneration of muscle cells and inflammation were observed (dotted box). With our proprietary LNPs, inflammation (dotted box) and muscle cell necrosis were less extensive. Serum cytokine levels shown in panel B, are lower with our proprietary LNPs vs. legacy LNPs.
Vaccines with our proprietary LNPs demonstrate less inflammation and muscle cell necrosis compared to legacy LNPs in rat study
a10kimage17.jpg
Panel (A)
Lower serum cytokines with our proprietary LNP in rat study
a10kimage18.jpg
Panel (B)

16

Table of Contents

Composition: Proprietary LNPs enhance delivery efficiency
Our platform includes extensive in-house expertise in medicinal chemistry, which we have applied to design large libraries of novel lipids. Using these libraries in combination with our discovery biology capabilities, we have conducted high throughput screens for desired LNP properties and believe that we have made fundamental discoveries in preclinical studies about the relationships between structural motifs of lipids and LNP performance for protein expression. By screening for components and compositions that enhance the amount of mRNA delivered per cell and protein expression, we have demonstrated with intravenous administration up to a six-fold improvement in protein production over the prior state of the art for LNPs as shown in the figure below (n=3 rats, 95% CI shown).
Enhanced protein production with our proprietary LNP in rat study
a10kimage19.jpg
Surface properties: Novel LNP design to avoid immune recognition
We have designed our proprietary LNP systems for sustained pharmacology upon repeat dosing by eliminating or altering features that activate the immune system. These are based on insights into the surface properties of LNPs. Upon repeated dosing, surface features on traditional LNPs such as amino lipids, phospholipids, and PEG-lipids, can be recognized by the immune system, leading to rapid clearance from the bloodstream, a decrease in potency upon repeat dosing, and an increase in inflammation.
Based on our insights into these mechanisms, we have engineered our LNP systems to reduce or eliminate undesirable surface features. In preclinical studies in non-human primates for our systemic therapeutic development candidates that use our novel LNP systems, we have been able to repeat dose with negligible or undetectable loss in potency, liver damage, and immune system activation.
Our platform: Manufacturing process science
We invest significantly in manufacturing process science to impart more potent features to our mRNA and LNPs, and to invent the technological capabilities necessary to manufacture our potential mRNA medicines at scales ranging from micrograms to kilograms, as well as achieve pharmaceutical properties such as solubility and shelf life. We view developing these goals of manufacturing and pharmaceutical properties as stage appropriate for each program. In some cases, this includes inventing novel analytical technologies that make it possible to connect analytical characterization of mRNA and LNPs to biological performance.
mRNA manufacturing process: Improving pharmacology
Our platform creates mRNA using a cell-free approach called in vitro transcription in which an RNA polymerase enzyme binds to and transcribes a DNA template, adding the nucleotides encoded by the DNA to the growing RNA strand. Following transcription, we employ proprietary purification techniques to ensure that our mRNA is free from undesired synthesis components and impurities that could activate the immune system in an indiscriminate manner. Applying our understanding of the basic science underlying each step in the manufacturing process, we have designed proprietary manufacturing processes to impart desirable pharmacologic features, for example increasing potency in a vaccine. Using a model antigen injected intramuscularly in mice at a 3 µg mRNA dose, the figure below shows the significant improvement in CD8 T cell response we have achieved through mRNA manufacturing process science and engineering as evidenced by Process B.

17

Table of Contents

Manufacturing process changes to tune immune response in mouse study
a10kimage20.jpg
LNP manufacturing process: Improving pharmacology
Our platform technology includes synthetic processes to produce LNPs. Traditionally LNPs are assembled by dissolving the four molecular components, amino lipid, phospholipid, cholesterol, and PEG-lipid, in ethanol and then mixing this with mRNA in an aqueous buffer. The resulting mixture is then purified to isolate LNPs from impurities. Such impurities include molecular components that have not been incorporated into particles, un-encapsulated mRNA that could activate the immune system, and particles outside of the desired size range.
Going beyond optimization of traditional manufacturing processes, we have invested in understanding and measuring the various biochemical and physical interactions during LNP assembly and purification. We have additionally developed state-of-the-art analytical techniques necessary to characterize our LNPs and biological systems to analyze their in vitro and in vivo performance. With these insights, we have identified manufacturing process parameters that drive LNP performance, for example, the potency in a secreted therapeutic setting. These insights have allowed us to make significant improvements in the potency of our LNPs, as exemplified in the figure below. For example, expression of a secreted protein in our Relaxin program (AZD7970) demonstrates an approximate eight-fold increase in AUC and approximate six-fold increase in maximum concentration for manufacturing process Y versus manufacturing process X in rats dosed intravenously with 0.5 mg/kg mRNA.
Manufacturing process changes to enhance relaxin protein production by mRNA in rat study
a10kimage22.jpg
Our platform progress to date
Since our inception, we have solved numerous interdependent problems related to the pharmacologic features of our potential mRNA medicines. These features are detailed and exemplified below. Please also see the section of this Annual Report on Form 10-K titled “Business—Program Descriptions” for recent clinical results for our investigational medicines, including CMV vaccine (mRNA-1647), hMPV/PIV3 vaccine (mRNA-1653), antibody against Chikungunya virus (mRNA-1944), and PCV (mRNA-4157) utilizing Moderna proprietary technology.
Dose-dependent protein expression at clinically relevant levels
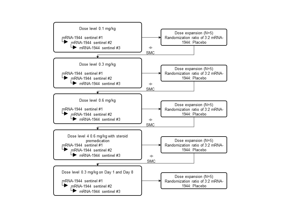
We have demonstrated in preclinical studies the ability to generate consistent dose-dependent levels of protein, which is particularly important for therapeutics. A recent example is from our IND-enabling non-human primate study for our antibody against Chikungunya virus program (mRNA-1944). We demonstrated linear dose-dependence, meaning three- and ten-fold increases in the dose of mRNA led to three- and ten-fold increases in antibody as shown in the figure below. At the top dose, antibody levels reached

18

Table of Contents

16.2 ± 4.6 µg/mL (SD) following first dose (0 hours), and effectively doubled to 28.8 ± 10.0 µg/mL upon second dose (168 hours). This dose regimen also maintained antibody trough levels above 2 µg/mL for 100 days in non-human primates, a level consistent with clinically efficacious levels of many approved antibodies. All doses (0.3, 1, and 3 mg/kg) tested in non-human primates showed no dose-limiting toxicities related to mRNA-1944, and all other observations were generally reversible.
Expression of antibody against Chikungunya virus with repeat dosing of mRNA-1944 in non-human primate study
a10kimage23.jpg
Reproducible pharmacology, including upon repeated dosing
By combining advances in mRNA, delivery, and manufacturing process science, we have demonstrated in preclinical studies sustained and reproducible pharmacology. The figure below shows a recent example in a mouse model that recapitulates metabolic defects in propionic acidemia, or PA. In this rare disease, a defect in one or both of two different subunits (PCCA and PCCB) of the mitochondrial enzyme propionyl-CoA carboxylase results in accumulation of toxic metabolites such as 2-methylcitrate, or 2MC. In mice hypomorphic for the PCCA subunit, monthly intravenous, or IV, administration of mRNAs encoding PCCA and PCCB formulated in our proprietary LNP (mRNA-3927) resulted in a significant and sustained lowering of 2MC throughout the duration of the 6-month study compared to control (luciferase) mRNA (1 mg/kg, n=6/group).
Plasma 2-methylcitrate levels with repeat dosing of PCCA+PCCB mRNA in PA mouse study
a10kimage24.jpg

19

Table of Contents

Decreased immune activation upon repeat dosing in non-human primates
We have observed decreased immune activation with repeat dosing in non-human primates, as shown in the figure below. Panel A indicates serum concentration of human erythropoietin, or hEPO, with repeat dosing of mRNA encoding hEPO in our proprietary LNPs with weekly IV administration at 0.2 mg/kg in non-human primates. Panels B and C demonstrate comparable serum concentrations of MCP-1 (promoting immune cell recruitment to sites of inflammation) and C5b9 (indicative of innate immune activation via the complement system) with our proprietary LNP at 0.2 mg/kg weekly IV infusion in non-human primates vs. legacy LNP.
Repeat dosing with mRNA encoding for hEPO in our proprietary LNP in non-human primate study
a10kimage25.jpg
Panel (A)
Decreased immune activation with mRNA encoding for hEPO in proprietary LNP in non-human primate study
a10kimage26.jpg 
 
a10kimage27.jpg 
Panel (B)
 
Panel (C)
In addition to this example we have completed multiple IND-enabling toxicology studies under GLP for our two systemic therapeutics modalities. For many such programs the no adverse event level was the top dose tested, generally 2 mg/kg or higher. We believe that by combining proprietary mRNA technologies, delivery technologies, and manufacturing process technologies we have significantly advanced the potential therapeutic index of our potential mRNA-based therapeutics.
Pharmacologic activity in the target tissue and cell
While some of our modalities, such as systemic secreted therapeutics, can leverage many different cell types to make therapeutic proteins, others such as systemic intracellular therapeutics, may require delivery of our mRNA into specific tissues, for instance hepatocytes in certain liver metabolic diseases. Combining our proprietary mRNA, delivery, and manufacturing process technologies we have observed on-target pharmacologic activity in hepatocytes in non-human primates. The on-target potency of this approach

20

Table of Contents

contrasts with traditional delivery technologies. In the figure below, our proprietary LNP and process result in mRNA delivery to and protein expression in liver hepatocytes in non-human primates as demonstrated with a reporter mRNA detected by in situ hybridization and a reporter protein detected by immunohistochemistry at 12 hours after IV infusion at 0.5 mg/kg.
mRNA delivery to and protein expression in hepatocytes with our proprietary LNPs in non-human primate study
a10kimage28.jpg
Our platform’s future: Improving and expanding our modalities
We are committed to sustaining investment in our platform, both in basic science to elucidate new mechanistic insights, and in applied science to discover new technologies that harness these insights. Our platform investments have enabled six modalities to date, most of which have already led to multiple development candidates and investigational medicines in our pipeline. We believe that sustaining our investment in platform research and development will enable further improvements in the current modalities and will lead to the creation of new modalities, both of which will benefit our clinical pipeline in the years ahead.

21

Table of Contents

CREATING MODALITIES WITH SHARED PRODUCT FEATURES
Our approach to developing modalities
Within our platform, we develop technologies that enable the development of mRNA medicines for diverse applications. When we identify technologies that we believe could enable a new group of potential mRNA medicines with shared product features, we call that group a “modality.” While the programs within a modality may target diverse diseases, they share similar mRNA technologies, delivery technologies, and manufacturing processes to achieve shared product features. The programs within a modality will also generally share similar pharmacology profiles, including the desired dose response, the expected dosing regimen, the target tissue for protein expression, safety and tolerability goals, as well as pharmaceutical properties. Programs within a modality often have correlated technology risk, but because they pursue diverse diseases they often have uncorrelated biology risk. We have created six modalities to date:
prophylactic vaccines;
cancer vaccines;
intratumoral immuno-oncology;
localized regenerative therapeutics;
systemic secreted and cell surface therapeutics; and
systemic intracellular therapeutics.
When entering into a new modality, our approach is consistent with our strategic principles and perspectives on risk management discussed previously. The tenets of our approach are summarized below.
We identify a first program (or programs) through which we seek to discover and develop solutions for any modality-specific technological challenges. We then leverage the learnings from this first program to the benefit of all subsequent programs in the modality.
We seek to diversify biology risks within the modality by advancing multiple programs in parallel, against multiple diseases, following the first program.
When we believe a strategic collaborator could significantly de-risk our early efforts in a new modality, we seek a strategic collaborator to share the risks and benefits on a specific set of early programs.
After experience with the first program (or programs) in a modality, we seek to rapidly expand our pipeline within that modality to take full advantage of the opportunity.
Illustrating our approach: From our first modality to today
We started with prophylactic vaccines as our first modality because we believed this modality faced lower technical hurdles, relative to other areas. Our early formulations of mRNA tended to stimulate the immune system, which would present a challenge to therapeutics but was a desired feature for vaccines. In addition, many potential prophylactic vaccine antigens are well-characterized, allowing us to reduce biology risk. Lastly, the dosing regimens for vaccines require as few as one or two administrations, and generally involve relatively low doses.
For our first programs in this modality we chose our H10N8 and H7N9 pandemic influenza vaccines, each requiring expression of a single membrane protein. We chose to pursue two programs in two separate, but parallel, clinical trials to establish the flexibility of our platform.
When both programs met our goals for safety, tolerability, and pharmacology, we accelerated and expanded our vaccine pipeline to include multiple commercially meaningful and increasingly complex vaccines. These included a combination vaccine, designed to protect against two unrelated respiratory viruses, human metapneumovirus, or hMPV, and human parainfluenza 3, or PIV3, and a vaccine that combines six different mRNAs, our cytomegalovirus, or CMV, vaccine, to express a complex pentameric antigen. We also sought strategic alliances with Defense Advanced Research Projects, or DARPA, Biomedical Advanced Research Development Authority, or BARDA, and Merck & Co., or Merck, to allow us to rapidly expand our pipeline and complement our capabilities with their expertise.
Over time, we have taken on more challenging applications and technological hurdles with each successive modality, but we have also tried to build upon our prior experiences to manage risk. For example, in our cancer vaccines modality, we are now applying our technology to elicit T cell responses to potentially recognize and eradicate cancer as a logical extension of our prophylactic vaccines

22

Table of Contents

modality. Having demonstrated local expression of protein in our vaccines, we expanded into local therapeutic applications. For example, in our intra-tumoral immuno-oncology modality, we are seeking to use local expression to drive anti-cancer T cell responses by transforming tumor microenvironments. We can also use local expression to drive regenerative processes as in our Vascular Endothelial Growth Factor A, or VEGF-A program. Most recently, we have expanded into two new modalities that use systemic delivery of mRNA to encode secreted and cell surface or intracellular proteins. We have moved multiple programs in these areas into development for the treatment of diseases as varied as rare genetic disorders, preventing viral infections, or treating heart failure.
Expanding within our designated core modalities
In 2019, we believe that positive Phase 1 data from our infectious disease vaccine portfolio, including our CMV vaccine, and chikungunya antibody program reduced the risk of our prophylactic vaccines and systemic secreted and cell surface therapeutics modalities, which we have now designated core modalities. In these core modalities, our strategy is to invest in additional development candidates using our accumulated innovations in technology, our process insights and our preclinical and clinical experience. As such, we have brought five new development candidates forward in early 2020: interleukin-2 (“IL-2”), programmed death-ligand 1 (“PD-L1”), a pediatric Respiratory Syncytial Virus (“RSV”) vaccine, an Epstein-Barr Virus (“EBV”) vaccine and a SARS-CoV-2 vaccine, as part of our mission to use our technology to advance global public health. Our exploratory modalities continue to be a critical part of advancing our strategy to maximize the application of our potential mRNA medicines.
How modalities continue to build our pipeline
We believe our portfolio of modalities—each with distinct technological and biological risk profiles—allows us to maximize long-term value for patients and investors. We see our six current modalities as six distinct multi-product pipelines that represent different risk profiles and benefit from common infrastructure and a shared platform technology. We believe the high technology correlation within a modality allows us to rapidly accelerate the expansion of the pipeline in that modality based on learnings from the initial programs. We believe the lower technology correlation between modalities allows us to compartmentalize the technology risks.
We believe our ongoing investments in our platform will lead to the identification of additional new modalities in the future, and will expand the diversity of our pipeline.

23

Table of Contents

EXECUTING ON OUR BROAD PIPELINE
In order to capitalize on the breadth of the mRNA opportunity, we built a set of capabilities across the drug development value chain to enable us to efficiently execute on many pipeline programs in parallel.
mRNAs encode proteins across diverse biology using the same chemical building blocks arranged into different sequences. This lends itself to common rules when designing a new mRNA medicine and common processes for manufacturing. We have invested in scalable infrastructure, built on a digital backbone and enabled by automation to advance a large pipeline of mRNA programs in parallel.
Our capabilities and infrastructure are grouped into three basic units, or engines, that are applied at different stages of the drug development value chain, as shown in the following figure:
a190203enginesimagea01.jpg
Our current pipeline programs utilize our Research Engine and Early Development Engine. We are starting to build the Late Stage Development and Commercial Engine to handle the further advancement of our programs. Each of these engines integrates critical internal capabilities with outsourced, flexible capacity.
Our Research Engine enables us to advance new product ideas into development candidates via our drug discovery efforts, and includes infrastructure to enable rapid supply of thousands of preclinical mRNAs for research involving in vitro and in vivo experiments in order to accelerate programs from idea to development candidate designation.
Our Early Development Engine enables progression of preclinical development candidates to investigational medicines upon IND filing or its equivalent, through early clinical trials that seek to demonstrate human proof of concept, or hPOC. This includes internal and outsourced infrastructure for IND-enabling GLP toxicology studies, the scale up and cGMP manufacture of the investigational medicine, initial regulatory submissions, and the execution of clinical trials.
Our Late Stage Development and Commercial Engine is being built to enable progress of our investigational medicines from hPOC through late-stage development to approval and eventual commercialization. Catalyzed by our progress with our CMV vaccine program toward a phase 3 clinical trial, we are establishing internal infrastructure for cGMP manufacturing of late stage development supply of products, regulatory submissions, and capabilities to execute later stage clinical trials. Commercial supply investments will be planned in the future.
All of these engines are supported and enabled by our integrated digital investments, our focus on highly talented and motivated team members, and our deep capital base.
Our digital infrastructure facilitates efficient integration and control of virtually every aspect of what we do. We design and implement digital operations to control or support complex workflows, accelerate learnings across our enterprise real-time, and provide deeper insights through analytical tools, artificial intelligence, and custom automation.
Our talented employees drive our mission across this value chain for patients and investors. Our culture also plays an invaluable role in our execution at all levels in our organization. An example of our commitment to the development of our employees is our investment in Moderna University, our extensive program of internal and external course offerings curated to meet the learning and development needs of our people.
Our capital from our investors and strategic collaborators enables the scale required to execute on our pipeline. We sought, and continue to seek, diverse funding sources. Of approximately $3.2 billion in cash we have received through December 31, 2019, $0.8 billion has been in the form of upfront payments, milestone payments, and option exercise payments from strategic collaborators, such

24

Table of Contents

as AstraZeneca and Merck, and $2.4 billion has been from equity issuances in both private and public markets to a diverse set of global investors. As of December 31, 2019, we had cash, cash equivalents, and investments of $1.3 billion.
Examples of our proprietary infrastructure
Our Drug Design Studio enables rapid design of multiple mRNAs
As our scientists create new mRNA concepts, they can design mRNAs for research and testing, within days, using our proprietary systems. We utilize the software-like property of mRNA in our proprietary, web-based Drug Design Studio. Our scientists request mRNAs for a specific protein, and the protein target is automatically converted to an initial optimized mRNA sequence. Using our Sequence Designer module, they can tailor entire mRNAs from the 5’-UTR to the coding region to the 3’-UTR based on our ever-improving proprietary learnings. The mRNA sequence is then further optimized using our proprietary bioinformatics algorithms. Our digital ordering then ensures rapid and accurate transmission of sequences to our modular synthesis robotics.
Our high throughput systems facilitate rapid synthesis of research grade mRNA
Once our scientists design mRNAs, we make them at a small scale to test them in cells or in animal models to see if our ideas will work. We integrated the Drug Design Studio mRNA sequence into a modular synthesis system comprised of custom high-throughput automation for making up to 1,000 orders of unique mRNA sequences and formulations per month with a turnaround time of a few weeks at 1-1000 mg per lot, the amounts required for testing in cells or animal models. This has accelerated our learnings by allowing us to test many different mRNAs in parallel.
Our Moderna Technology Center (MTC) manufacturing site in Norwood, MA provides modular and automated capacity that can scale with our pipeline
Manufacturing is strategically important to us, and we believe we need to control a significant portion of our manufacturing supply chain. We initially used an outsourced global supply chain to make our multi-component mRNA products. However, we believe that managing quality, supply, and timing in such a supply chain for cGMP material could increase our overall business risk. Accordingly, we elected in 2016 to build our own manufacturing facility. We opened our newly constructed 200,000 square foot Moderna Technology Center, or MTC, manufacturing facility in Norwood MA, in July 2018, and brought multiple cGMP suites online, thereby providing integration of our supply chain from raw materials to filled vials at a single site. We can make mRNA, lipids, key raw materials and LNPs at this site to control quality and supply, while also potentially creating new manufacturing intellectual property. In February 2019, based on our anticipated future growth, we entered into a lease agreement for additional office and laboratory space nearby as part of our MTC facility in Norwood, totaling an additional approximately 200,000 square feet. We can readily flex the capacity at our MTC facility via its modular systems to produce up to 100 cGMP lots per year. This capacity will support our current pipeline, will enable significant future pipeline expansion, and, under certain scenarios, could serve some commercial supply needs.
OVERVIEW OF OUR MODALITIES
At Moderna, we define a modality as a group of potential mRNA medicines that share similar mRNA technologies, delivery technologies, and manufacturing processes to achieve shared product features. Typically, programs within a modality will also share similar pharmacology profiles, including the desired dose response, the expected dosing regimen, the target tissue for protein expression, safety and tolerability goals, and their pharmaceutical properties. We have created six modalities to date:
Prophylactic vaccines;
Cancer vaccines;
Intratumoral immuno-oncology;
Localized regenerative therapeutics;
Systemic secreted and cell surface therapeutics; and
Systemic intracellular therapeutics.
We believe our portfolio of modalities, each with distinct technological and biological risk profiles, allows us to maximize long-term value for patients and investors. We see our six current modalities as six distinct multi-product pipelines that represent different risk profiles and benefit from common infrastructure and a shared technology platform. We believe the risk correlation within a modality allows us to rapidly accelerate the expansion of the pipeline in that modality based on learnings from the initial programs. We believe the lower risk correlation between modalities allows us to mitigate the risks of expanding into new areas. The cell map illustration of our pipeline in the section of this Annual Report on Form 10-K titled “Business—Our Pipeline” depicts the diversity of the biology of our pipeline across our six modalities.

25

Table of Contents

I. PROPHYLACTIC VACCINES OVERVIEW - CORE MODALITY
We designed our prophylactic vaccines modality to prevent or control infectious diseases. This modality currently includes nine development candidates, all of which are vaccines against viruses. The goal of any vaccine is to safely pre-expose the immune system to a small quantity of a protein from a pathogen, called an antigen, so that the immune system is prepared to fight the pathogen if exposed in the future, and prevent infection or disease.
Within this modality, our portfolio includes programs for both commercial and global health uses. We have strategic alliances with Merck on select commercial vaccines, and BARDA, DARPA, the National Institutes of Health, or NIH, as well as the Coalition for Epidemic Preparedness Innovations, or CEPI, on global health vaccine programs. We have accumulated several innovations in technology, have gained process insights, and built a significant set of preclinical and clinical experiences in our prophylactic vaccines modality. Based on these, we believe this modality is core to our portfolio and we have expanded this portfolio with three new development candidates in 2020.
Our pipeline is shown in two formats, with a cell map illustrating the diversity of biology addressed by our mRNA pipeline programs, and a traditional format that shows the current stages of development of our pipeline programs, in the section of this Annual Report on Form 10-K titled “Business—Our Pipeline.”
Prophylactic vaccines: Opportunity
Vaccines to prevent infectious diseases are one of the great innovations of modern medicine. In the United States alone, the Centers for Disease Control and Prevention estimates that childhood vaccinations given in the past two decades will in total prevent 322 million Americans from falling ill, 21 million hospitalizations, 732,000 deaths, $295 billion of direct costs, and $1.3 trillion in social costs. The commercial opportunity for vaccines is significant, with more than $35 billion in annual worldwide sales of vaccines, and with 16 different vaccine franchises each generating more than $500 million in annual worldwide sales in 2017. More innovative vaccines have been able to achieve pricing per regimen generally ranging from 5 to 20 times that of seasonal flu vaccines.
Prophylactic vaccines: Product features
We believe mRNA-based vaccines offer several advantages, including:
Ability to mimic many aspects of natural viral infections. mRNA enters cells and is used to produce viral antigen proteins from within the cell that include natural, post-translational modifications. This mimics the process by which natural viral infections occur, where information from viral genomes is used to produce viral proteins from within a cell. This can potentially enhance the immune response, including improved B and T cell responses.
Multiplexing of mRNA for more compelling product profiles. Multiple mRNAs encoding for multiple viral proteins can be included in a single vaccine, either permitting production of complex multimeric antigens that are much more difficult to achieve with traditional technologies, or producing antigens from multiple viruses at once. As an example, our CMV vaccine (mRNA-1647) contains six mRNAs, five of which encode five different proteins that combine to form a pentameric protein complex that is a potentially critical antigen for immune protection against CMV.
Rapid discovery and advancement of mRNA programs into the clinic. Many viral antigens are known. However, with traditional vaccines, the target pathogens or antigens have to be produced in dedicated cell-cultures and/or fermentation-based manufacturing production processes in order to initiate testing of potential vaccine constructs. Our ability to design our antigens in silico allows us to rapidly produce and test antigens in preclinical models, which can dramatically accelerate our vaccine selection. As an example, the first clinical batch for SARS-CoV-2 vaccine (mRNA-1273) was designed and manufactured in 42 days and the batch was released on February 24, 2020 to the NIH who will conduct the Phase 1 clinical trial.
Capital efficiency and speed from shared manufacturing processes and infrastructure. Traditional vaccines require product-dedicated production processes, facilities, and operators. Our mRNA vaccines are produced in a manufacturing process that is sufficiently consistent across our pipeline to allow us to use a single facility to produce all of our mRNA vaccines.
Prophylactic vaccines: Status and next steps
Our prophylactic vaccines modality currently includes eight programs, five of which have entered into clinical trials. In addition, to the eight programs being developed, the H10N8 vaccine (mRNA-1440) and Chikungunya vaccine (mRNA-1388) are two public health programs that are not being further developed without government or other funding. Of these programs, we have demonstrated desired pharmacology, in the form of immunogenicity, in the Phase 1 clinical trials for the following: H10N8 vaccine (mRNA-1440), H7N9 vaccine (mRNA-1851), RSV vaccine (mRNA-1777), Chikungunya vaccine (mRNA-1388), hMPV/PIV3 vaccine (mRNA-1653), and CMV vaccine (mRNA-1647). For the Zika vaccine (mRNA-1325), although the Phase 1 safety and tolerability

26

Table of Contents

data generated would permit additional dose escalation of mRNA-1325, our current development efforts are focused on our next-generation vaccine, mRNA-1893, which has been shown to be 20 times more potent in non-human primate Zika challenge studies. We will not further develop mRNA-1325. We have an ongoing Phase 1 trial for the next generation Zika vaccine (mRNA-1893) and Merck is conducting a Phase 1 trial for an additional RSV vaccine (mRNA-1172).
Prophylactic Vaccines Clinical Data Summary
Safety information
 
Immunogenicity information
>1,000 subjects dosed in Phase 1 trials at levels up to 300µg.
 
Interim Phase 1 data for our CMV vaccine (mRNA-1647) showed a dose-related increase in neutralizing antibody titers in participants who are naive to CMV infection (CMV-seronegative) at seven months (one month after the third vaccination) in the 30, 90 and 180 µg dose levels;
Interim Phase 1 data for our hMPV/PIV3 vaccine (mRNA-1653) showed boosted serum neutralization titers against hMPV and PIV3 at all dose levels tested; Interim Phase 1 data for our RSV vaccine (mRNA-1777) showed humoral immune response as measured by neutralizing antibody titers post a single dose; 100% seroresponse was observed for subjects at the 100 µg dose level for our Chikungunya vaccine (mRNA-1388); 96% of subjects at 25 µg achieved hemagglutination inhibition, or HAI, titer > 1:40 for our H7 influenza vaccine (mRNA-1851); and 100% of subjects at 100 µg achieved HAI titer > 1:40 for our H10 influenza vaccine (mRNA-1440).
For our commercial vaccine programs, we expect the next series of milestones will involve the reporting of Phase 2 safety and immunogenicity data from our CMV vaccine (mRNA-1647) and Phase 1b safety and immunogenicity data for our hMPV/PIV3 vaccine (mRNA-1653). For the programs being conducted by our strategic collaborator Merck, the next milestones will be the safety and immunogenicity data from the Phase 1 trial for the second RSV vaccine (mRNA-1172) which has been shown to be more potent than the first (mRNA-1777) in preclinical studies. For our global health programs, the next series of milestones will involve the reporting of Phase 1 safety and immunogenicity data for our next generation Zika vaccine (mRNA-1893) and Phase 1 safety and potential immunogenicity data for our SARS-CoV-2 vaccine (mRNA-1273). We do not intend to advance our H10N8 vaccine (mRNA-1440), our H7N9 vaccine (mRNA-1851), or our Chikungunya vaccine (mRNA-1388) through further clinical development without government or other third-party funding.
Each of these programs is more fully described in the section of this Annual Report on Form 10-K titled “Business—Program Descriptions.”

27

Table of Contents

II. CANCER VACCINES OVERVIEW - EXPLORATORY MODALITY
We designed our cancer vaccines modality to treat or cure cancer by enhancing immune responses to tumor neoantigens, defined below. This modality has two programs currently for neoantigen vaccines, a personalized cancer vaccine, or PCV, program and a vaccine against neoantigens related to a common oncogene called KRAS, both conducted in collaboration with Merck. The goal of a cancer vaccine is to safely expose the patient’s immune system to tumor related antigens, known as neoantigens, to enable the immune system to elicit a more effective antitumor response. This exploratory modality is focused on the use of mRNA to express neoantigens found in a particular tumor in order to elicit an immune response via T cells that recognize those neoantigens, and therefore the tumor. These neoantigens can either be unique to a patient, as in the case of our personalized cancer vaccine program, or can be related to a driver oncogene found across subsets of patients, as in the case of our KRAS vaccine program.
Our pipeline is shown in two formats, with a cell map illustrating the diversity of biology addressed by our mRNA pipeline programs, and a traditional format that shows the current stages of development of our pipeline programs, in the section of this Annual Report on Form 10-K titled “Business—Our Pipeline.”
Cancer vaccines: Opportunity
More than 1.6 million new cancer cases and approximately 600,000 deaths due to cancer were predicted in the United States for 2017. Despite the recent success of checkpoint inhibitors, the majority of patients with the most common types of epithelial cancer still do not benefit from checkpoint inhibitors, as many patients still have incomplete or no response to currently available therapies. In addition, treatment resistance is thought to arise from a number of mechanisms, principally the local immunosuppressive effects of cancer cells, which prevent either access to or recognition by T cells.
Recent breakthroughs in cancer immunotherapy, such as checkpoint inhibitors and chimeric antigen receptor T cell therapies, have demonstrated that powerful antitumor responses can be achieved by activating antigen specific T cells. We believe one approach to improve the efficacy of checkpoint inhibitors is to develop vaccines that increase both the number and antitumor activity of a patient’s T cells that recognize tumor neoantigens.
Cancer vaccines: Product features
We believe that mRNA technology is an attractive approach for cancer vaccines for many reasons, including:
mRNA vaccines can deliver multiple neoantigens concatenated in a single mRNA molecule. We currently encode up to 34 neoantigens in one of our personalized cancer vaccines (mRNA-4157), and four KRAS mutations in our KRAS vaccine (mRNA-5671). Given that a T cell response against a single antigen has the potential to eradicate cancer cells, we believe that delivering multiple neoantigens could increase the probability of a successful treatment outcome for a patient.
mRNA encoding for neoantigens is translated and processed by patients’ endogenous cellular mechanisms for presentation to the immune system. Neoantigen peptides are then potentially processed in multiple ways to give rise to different, smaller peptides for presentation by the immune system. We believe this endogenous antigen production and presentation has the potential to drive a more effective immune response.
mRNA vaccines can be efficiently personalized. The shared features of mRNA, combined with our investments in automated manufacturing technology, enable us to manufacture individual cGMP batches of personalized cancer vaccines rapidly, in parallel. For example, we have demonstrated the ability to manufacture and release a “custom-designed” vaccine for an individual patient within 60 days of sequencing the patient’s tumor for the personalized cancer vaccine program (mRNA-4157).

28

Table of Contents

Cancer vaccines: Status and next steps
We are currently developing two programs within our cancer vaccines modality. Our personalized cancer vaccine program mRNA-4157 is being developed in collaboration with Merck and is in a multiple-arm Phase 1 trial. A second personalized cancer vaccine, NCI-4650 was being developed in collaboration with the National Cancer Institute, or NCI, and was in an investigator-initiated single-arm Phase 1 trial which has been completed. The two vaccines mRNA-4157 and NCI-4650 differ in the neoantigen selection protocols used, but are otherwise substantially the same. Our second program within this modality, mRNA-5671, is a KRAS vaccine. Our strategic collaborator Merck has a Phase 1 trial ongoing for mRNA-5671.
PCV (mRNA-4157) Clinical Data Summary
 
 
Safety information
 
Activity information
 
 
As of February 12, 2020, 15 patients with resected solid tumors (melanoma, colon and lung cancers) received mRNA-4157 as adjuvant monotherapy after resection of their primary tumor. An additional 56 patients with metastatic, unresected solid tumors (melanoma, bladder, lung, colon, prostate, head and neck and endometrial cancers) received at least one dose of mRNA-4157 in combination with pembrolizumab. There have been no dose-limiting toxicities or significant related toxicities observed in these patients to date.
 
As of June 2019, we have detected antigen specific T cell responses in both the monotherapy arm and in combination with pembrolizumab in the Phase 1 trial for mRNA-4157. We have also observed potential clinical activity in some patients receiving mRNA-4157 in combination with pembrolizumab in the Phase 1 trial.
 
We expect the next steps for the PCV program (mRNA-4157) to involve the continued reporting of immunogenicity data from the Phase 1 clinical trial in cancer patients and the continuation of the randomized Phase 2 trial to assess whether post-operative adjuvant therapy with mRNA-4157, in combination with pembrolizumab, improves relapse-free survival compared to pembrolizumab alone. The next steps for the KRAS vaccine (mRNA-5671) include continuation of the Phase 1 trial by our strategic collaborator Merck.
Each of these programs is more fully described in the section of this Annual Report on Form 10-K titled “Business—Program Descriptions.”

29

Table of Contents


III. INTRATUMORAL IMMUNO-ONCOLOGY OVERVIEW - EXPLORATORY MODALITY
We designed our intratumoral immuno-oncology modality to treat or cure cancer by transforming the tumor microenvironment to drive anti-cancer T cell responses against tumors. Our mRNA technology within this modality allows for the combination of multiple therapeutics that can be directly injected into a tumor with the goal of activating the tumor microenvironment to kill cancer cells in the injected tumor as well as in distal tumors, known as the abscopal effect. Intratumoral administration allows for localized effect of these therapeutics that could be toxic if administered systemically. This exploratory modality has three development candidates.
Our pipeline is shown in two formats, with a cell map illustrating the diversity of biology addressed by our mRNA pipeline programs, and a traditional format that shows the current stages of development of our pipeline programs, in the section of this Annual Report on Form 10-K titled “Business—Our Pipeline.”
Intratumoral immuno-oncology: Opportunity
More than 1.6 million new cancer cases and approximately 600,000 deaths due to cancer were predicted in the United States for 2017. There have been several advances in the treatment of cancer through immune-mediated therapies in recent years. However, the outlook for many patients with advanced cancer remains poor, especially in tumors that have little immune system engagement and are sometimes termed immunologically “cold.” We aim to activate the tumor microenvironment with our mRNA therapeutics, in conjunction with a checkpoint inhibitor, to activate the immune system against these otherwise immunologically cold tumors.
Intratumoral immuno-oncology: Product features
We believe our approach to immuno-oncology using our mRNA medicines could complement checkpoint inhibitors and has several advantages over recombinant protein-based drugs, including:
mRNA focuses and limits exposure of immune stimulatory proteins. One of the intrinsic properties of mRNA is its transient nature. This allows for short exposure of the proteins encoded by the mRNA in the target tissue thereby potentially enhancing tolerability.
mRNA can produce membrane associated immune stimulatory proteins. In contrast to recombinant proteins, mRNA administered to a tumor site can lead to the production of either secreted or membrane proteins, depending on the mRNA sequence.
Multiplexing of mRNA allows access to multiple immune stimulatory pathways. The ability to combine multiple mRNAs to express multiple proteins allows for activation of several immune pathways simultaneously. For example, OX40L/IL-23/IL-36γ (Triplet) (mRNA-2752) encodes for two secreted cytokines (IL-23 and IL-36γ) and one membrane protein (OX40L).
mRNA sequences can be engineered to reduce off-target effects. Our mRNA can be designed to minimize translation in off-target tissues. For immune-stimulatory proteins this can potentially prevent toxicities.
Local administration of mRNA can create a concentration gradient for encoded proteins. mRNA administered intratumorally allows for the local production of encoded immune-stimulatory proteins, such as cytokines. The mRNA and encoded protein are expected to form a concentration gradient that decreases as a function of the distance from the tumor, thereby potentially lowering undesirable systemic effects and increasing immune-stimulatory effects close to the tumor.
Intratumoral immuno-oncology: Status and next steps
We have three programs in this modality. The first program in this modality, OX40L (mRNA-2416), was designed to overcome technological challenges in advancing this modality, including engineering the mRNA sequence to minimize off-target effects, utilizing our proprietary LNPs to enhance safety and tolerability, and to demonstrate expression of a membrane protein in patients. OX40L (mRNA-2416) is currently being evaluated in an ongoing Phase 1/2 trial in the United States, and protein expression has been demonstrated in a number of patients. Our second program, OX40L/IL-23/IL-36γ (Triplet) (mRNA-2752), has dosed patients in a Phase 1 study for the treatment of advanced or metastatic solid tumor malignancies or lymphoma. Our third program, IL-12 (MEDI1191), is being developed in collaboration with AstraZeneca.
 

30

Table of Contents

Intratumoral Immuno-oncology Clinical Data Summary
 
 
Safety information
 
Activity information
 
 
For mRNA-2416, no safety findings observed that met study pause criteria; rapid onset of multiple grade 2 and one grade 3 transient reversible injection-related reactions were observed, all of which were resolved with standard interventions; three suspected unexpected serious adverse reactions, or SUSARs, were reported as of November 15, 2018.






 
As of February 13, 2020, 26 patients have been dosed with mRNA-2752 with 16 patients on monotherapy and 10 patients in combination with durvalumab.

As of February 12, 2020, 41 patients were dosed with OX40L mRNA-2416 (39 patients in monotherapy and 2 patients in combination with durvalumab). As of Oct. 22, 2018, 26 patients were evaluated for response with OX40L mRNA-2416 monotherapy, and the best overall response was stable disease (n=6). Two patients with ovarian cancer have demonstrated clinical observations of tumor shrinkage in injected and/or uninjected lesions.

The monotherapy arm of the Phase 1 trial for mRNA-2416 has been completed and we are not planning an expansion cohort of mRNA-2416 as a monotherapy. We have initiated a dose-finding cohort at 4 mg mRNA-2416 given in combination with durvalumab (IMFINZI®) followed by a Phase 2 expansion cohort in ovarian cancer. We plan to collect Phase 1 clinical trial data including potential clinical responses for OX40L/IL-23/IL-36γ (Triplet) (mRNA-2752). AstraZeneca has initiated an open-label, multicenter Phase 1 clinical trial of intratumoral injections of IL-12 (MEDI1191) alone or in combination with a checkpoint inhibitor.
Each of these programs is more fully described in the section of this Annual Report on Form 10-K titled “Business—Program Descriptions.”


31

Table of Contents

IV. LOCALIZED REGENERATIVE THERAPEUTICS OVERVIEW - EXPLORATORY MODALITY
We designed our localized regenerative therapeutics modality to develop mRNA medicines to address injured or diseased tissues. Our mRNA technology in this modality allows for the local production of proteins that provide a therapeutic benefit in the targeted tissue. The development of our program in this modality, AZD8601, for the local production of VEGF-A, is being led by our strategic collaborator AstraZeneca. This program completed a Phase 1a/b clinical trial in which we observed both a dose-dependent protein production and a pharmacologic effect, as measured by changes in local blood flow in patients. We believe this data provides clinical proof of mechanism for our mRNA technology outside of the vaccine setting.
Our pipeline is shown in two formats, with a cell map illustrating the diversity of biology addressed by our mRNA pipeline programs, and a traditional format that shows the current stages of development of our pipeline programs, in the section of this Annual Report on Form 10-K titled “Business—Our Pipeline.”
Localized regenerative therapeutics: Opportunity
There are multiple applications for tissue regeneration. With AstraZeneca, we have focused on ischemic heart failure for the first program. Coronary artery disease, the primary cause of ischemic heart failure, affects the arteries providing blood supply to the cardiac muscle. In 2015, coronary artery disease resulted in 366,000 deaths in the United States, and 8.9 million deaths globally.
Localized regenerative therapeutics: Product features
We believe our approach to localized regenerative therapeutics using mRNA has several advantages over alternative approaches, including:
mRNA can be administered locally to produce the desired protein for an extended duration. Local exposure to the therapeutic protein encoded by our mRNA is sustained by the ongoing translation of the mRNA into protein, often from hours to days. This pharmacokinetic profile closely mimics the optimal tissue exposure profile for regenerative applications and cannot be achieved by injections of recombinant proteins that rapidly diffuse out of the tissue after injection.
Local administration of mRNA allows for focused activity. mRNA administered to a specific tissue or organ should allow for local production of the encoded protein, which could lead to lower levels of encoded protein in distant or systemic locations. This could help to prevent potential toxicity from production of the encoded protein outside of the targeted tissue.
mRNA allows for dose-dependent and repeated production of the encoded protein. mRNA therapies should also allow for dose titration and repeat dosing. This provides several advantages over gene therapy. Gene therapy typically results in a permanent change to cellular DNA that may result in uncontrolled or constant production of the desired protein in local tissue or in distant sites, which could cause local or systemic side effects. Further, some gene therapy delivery vehicles are associated with immune responses that limit the ability to repeat dose, preventing dose titration.
Localized regenerative therapeutics: status and next steps
Our localized VEGF-A program, AZD8601, which is being developed by AstraZeneca, has completed a Phase 1a/b trial to describe its safety, tolerability, protein production, and activity in diabetic patients. The study has met its primary objectives of describing safety and tolerability and secondary objectives of demonstrating protein production and changes in blood flow post AZD8601 administration. In this trial, AZD8601 was administered by intradermal injection in the forearm skin of patients for single ascending doses. These data are consistent with studies previously conducted in preclinical models. We believe these data provide clinical proof of mechanism for our mRNA technology outside of the vaccine setting.
Localized Regenerative Therapeutics Clinical Data Summary
Safety information
 
Activity information
Demonstrated sufficient tolerability in the Phase 1a/b trial at all dose levels (33 patients received AZD8601 for the Phase 1 trial) to warrant advancement to a Phase 2a study.
 
Increase in VEGF-A and bioactivity of VEGF-A protein was observed by increase in blood flow at injection sites up to seven days following a single dose of AZD8601.

AstraZeneca has initiated a Phase 2a trial for AZD8601 in ischemic heart disease. The Phase 2a study is designed to provide initial safety and tolerability data in approximately 24 coronary artery bypass patients.
This program is more fully described in the section of this Annual Report on Form 10-K titled “Business—Program Descriptions.”


32

Table of Contents


V. SYSTEMIC SECRETED AND CELL SURFACE THERAPEUTICS OVERVIEW - CORE MODALITY
We designed our systemic secreted therapeutics modality to increase levels of desired secreted proteins in circulation or in contact with the extracellular environment, in order to achieve a therapeutic effect in one or more tissues or cell types. The goal of this modality is to provide secreted proteins, such as antibodies or enzyme replacement therapies across a wide range of diseases, such as heart failure, infectious diseases, and rare genetic diseases. This modality has benefitted from our strategic alliances with AstraZeneca, DARPA, and the Bill & Melinda Gates Foundation. We have accumulated several innovations in technology, have gained process insights, and have built a set of preclinical and clinical experiences in our systemic secreted and cell surface therapeutics modality. Based on these, we believe this modality is core to our portfolio and we have expanded this portfolio with two new development candidates in a new autoimmune therapeutic area in 2020. Our systemic secreted and cell surface therapeutics modality has five development candidates.
Our pipeline is shown in two formats, with a cell map illustrating the diversity of biology addressed by our mRNA pipeline programs, and a traditional format that shows the current stages of development of our pipeline programs, in the section of this Annual Report on Form 10-K titled “Business—Our Pipeline.”
Systemic secreted and cell surface therapeutics: Opportunity
The ability to systemically deliver mRNA for a therapeutic effect would allow us to address a number of diseases of high unmet medical need. Systemically delivered, secreted and cell surface therapeutics address conditions often treated with recombinant proteins that are typically administered to the blood stream. These current therapies include, for example:
Enzyme replacement therapies, or ERTs, for rare diseases;
Antibodies for membrane and extracellular soluble targets; and
Circulating modulation factors for common and rare diseases such as growth factors and insulin.
Systemic secreted and cell surface therapeutics: Product features
Systemically delivered, secreted and cell surface therapeutics, we believe, would allow us to target areas of biology that cannot be addressed using recombinant proteins. Our potential advantages in these areas include:
mRNA can produce hard-to-make or complex secreted proteins. Some proteins, due to their folding requirements or complexity, are challenging to make using recombinant technologies, but can potentially be produced by human cells using administered mRNA.
mRNA can produce membrane associated proteins. In contrast to recombinant proteins, mRNA can lead to the production of membrane associated proteins on the cell surface, allowing the expression of native forms of signaling receptors or other cell surface complexes.
Native post-translational modifications are possible through intracellular protein production using mRNA. mRNA administered to a human cell uses natural secretory pathways inside the cell to make and process the encoded protein. The resulting post-translational modifications, such as glycosylation, are human. With recombinant proteins, these post-translational modifications are native to the non-human cells used for manufacture. These non-human post-translational modifications in recombinant proteins may lead to sub-optimal therapeutic outcomes, side effects, and increased immunogenicity.
mRNA can sustain production of proteins, which can increase exposure to proteins with short half-lives. mRNA can lead to protein production by cells that can last from hours to days depending on design. This feature could increase the levels of short half-life proteins for therapeutic benefit.
mRNA allows for desirable pharmacology in rare genetic diseases currently addressed by enzyme replacement therapies. Our mRNA technology potentially permits several differentiated pharmacologic features for treating rare genetic diseases currently addressed by enzyme replacement therapies, including the ability to repeat dose as needed, lower immunogenicity of the replacement protein, the ability to adjust dose levels in real-time based on individual patient needs, and the ability to stop dosing. Gene therapies may also prove to be useful for treating rare genetic diseases; however, mRNA is not limited by pre-existing immunity that may exist for certain gene therapies using viral vectors, and does not localize to the nucleus or require persistent changes to cellular DNA to have the desired effect.


33

Table of Contents

Systemic secreted and cell surface therapeutics: Status and next steps
We have five systemic secreted and cell surface therapeutics development candidates in our pipeline. Our secreted programs include our antibody against Chikungunya virus (mRNA-1944), Relaxin (AZD7970) for the treatment of heart failure, Fabry disease (mRNA-3630), and IL-2 (mRNA-6231) for autoimmune disorders. Our antibody against Chikungunya virus (mRNA-1944) is currently being evaluated in an ongoing Phase 1 dose escalation study in healthy adults that is randomized and placebo-controlled. The remaining three programs for Relaxin (AZD7970), Fabry disease (mRNA-3630), and IL-2 (mRNA-6231) are currently in preclinical development. We have a cell surface therapeutic program in this modality. PDL-1 (mRNA-6981) for autoimmune hepatitis is currently in preclinical development.
Systemic Secreted and Cell Surface Therapeutics Clinical Data Summary
Safety information
 
Activity information
As of September 2019, in a Phase 1 study of mRNA-1944 in healthy volunteers, no significant adverse events were observed at the low and middle doses; infusion-related adverse events were observed at the high dose, which resolved spontaneously without treatment.
 
As of February 12, 2020, dose level cohorts 0.1, 0.3, 0.6 mg/kg of mRNA-1944 administered without dexamethasone in the premedication regimen and dose level cohort 0.6 mg/kg with dexamethasone in the premedication regimen have been completed.

As of September 2019, at the first dose levels tested (0.1, 0.3 and 0.6 mg/kg) of mRNA-1944, all participants had measured antibody levels exceeding the levels of antibody expected to be protective against chikungunya infection (> 1 µg/mL) following a single dose, with the middle and high doses projected to maintain antibody levels above protective levels for at least 16 weeks. The average serum antibody level was quantified at various time points to demonstrate a half-life of 62 days.


We expect the next steps for the antibody against Chikungunya virus (mRNA-1944) program will be additional Phase 1 clinical trial safety and serum antibody level data. We plan to file INDs and take our programs for Relaxin (AZD7970), Fabry disease (mRNA-3630), IL-2 (mRNA-6231), and PDL-1 (mRNA-6981) into the clinic for Phase 1 testing.

Each of these programs is more fully described in the section of this Annual Report on Form 10-K titled “Business—Program Descriptions.”



34

Table of Contents

VI. SYSTEMIC INTRACELLULAR THERAPEUTICS OVERVIEW - EXPLORATORY MODALITY

We designed our systemic intracellular therapeutics modality to increase levels of intracellular proteins, using cells in the human body to produce proteins located in the cytosol or specific organelles of the cell to achieve a therapeutic effect in one or more tissues or cell types. The goal of this modality is to provide intracellular proteins, such as intracellular enzymes and organelle-specific proteins, as safe, tolerable, and efficacious therapies. Our initial focus within this exploratory modality is on rare genetic diseases. This modality currently has four programs.
Our pipeline is shown in two formats, with a cell map illustrating the diversity of biology addressed by our mRNA pipeline programs, and a traditional format that shows the current stages of development of our pipeline programs, in the section of this Annual Report on Form 10-K titled “Business—Our Pipeline.”
Systemic intracellular therapeutics: Opportunity
Systemically delivered, intracellular therapeutics focus on areas currently not addressable with recombinant proteins, which are typically administered systemically and cannot reach the inside of the cell. Objectives for potential new therapies in this area include, for example, increasing the levels of:
intracellular pathway proteins;
soluble organelle-specific proteins; and
organelle-specific membrane proteins.
Systemic intracellular therapeutics: Product features
Systemically delivered, intracellular therapeutics, we believe, would allow us to target areas of biology that cannot be addressed using recombinant proteins. Our potential advantages in these areas include:
Using mRNA to encode for intracellular and organelle-specific proteins. Our modality permits the expression of intracellular proteins, including those that must be directly translated and moved into organelles such as mitochondria. The ability of mRNA to produce protein inside of the cell enables production of these protein types that we believe are beyond the reach of recombinant proteins.
mRNA can produce hard-to-make or complex proteins. For example, some proteins, due to their folding requirements or complexity, are challenging to make using recombinant technologies, but can potentially be produced by human cells using administered mRNA.
Native post-translational modifications are possible through intracellular protein production using mRNA. mRNA administered to a human cell uses natural secretory pathways inside the cell to make and process the encoded protein. The resulting post-translational modifications, such as glycosylation, are human as opposed to recombinant proteins where these post-translational modifications are native to the non-human cells used for manufacture. These non-human post-translational modifications in recombinant proteins may lead to sub-optimal therapeutic outcomes, side effects and increased immunogenicity.
mRNA can sustain production of proteins, which can increase exposure to proteins with short half-lives. mRNA can lead to protein production by cells that can last from hours to days depending on design. This feature could increase the levels of short half-life proteins for therapeutic benefit.
mRNA allows for desirable pharmacology in complex metabolic diseases. Our mRNA technology potentially permits several differentiated pharmacologic features for treating complex metabolic diseases, including the ability to repeat dose as needed, a rapid onset of action, the ability to adjust dose levels real-time based on individual patient needs, and the ability to stop dosing. Gene therapies may also prove to be useful for treating rare genetic diseases; however, mRNA is not limited by pre-existing immunity that may exist for certain gene therapies using viral vectors, and does not localize to the nucleus or require persistent changes to cellular DNA to have the desired effect.
Systemic intracellular therapeutics: Status and next steps
We have four systemic intracellular therapeutics development candidates in our pipeline. Our intracellular programs address methylmalonic acidemia, or MMA (mRNA-3704), propionic acidemia, or PA (mRNA-3927), phenylketonuria, or PKU (mRNA-3283), and glycogen storage disorder type 1a, or GSD1a (mRNA-3745).


35

Table of Contents

Systemic Intracellular Therapeutics Data Summary
 
 
Safety information
 
Activity information
Preclinical
 
Successfully completed GLP toxicology program for MMA (mRNA-3704) and PA (mRNA-3283), that were included in the open IND to support advancement into the clinic; IND-enabling GLP toxicology program for PKU (mRNA-3283) is ongoing.

 
Activity measured in animal models for MMA (mRNA-3704), PA (mRNA-3927), PKU (mRNA-3283), and GSD1a (mRNA-3745); data published for MMA (mRNA-3704).

Clinical
 
 
We have received Rare Pediatric Disease Designation and Orphan Drug Designation from the FDA and Orphan Drug Designation from the European Commission for the MMA program. The FDA has also designated the investigation of mRNA-3704 for the treatment of isolated MMA due to MUT deficiency as a Fast Track development program. We have initiated a Phase 1/2 trial for MMA (mRNA-3704). As of February 12, 2020, we have enrolled the first patient in this trial. This patient has entered an observational period prior to treatment, which evaluates the patient’s baseline disease prior to starting the treatment period. We expect the next steps for mRNA-3704 will be Phase 1/2 clinical trial safety, proof of concept, and biomarker data. We have received Rare Pediatric Disease Designation and Orphan Drug Designation from the FDA and Orphan Drug Designation from the European Commission for the PA program. The FDA has also granted Fast Track designation to mRNA-3927. With an open IND currently, we expect the next steps for mRNA-3927 to be initiation of the Phase 1 clinical trial to describe safety, proof of concept, and biomarker data in PA patients. We have an ongoing global natural history study for MMA and PA. Up to 60 PA and 60 MMA patients in the United States and Europe will be followed prospectively for 1-3 years. Enrollment in this study has been completed. Retrospective data are being collected as available. PKU (mRNA-3283) and GSD1a (mRNA-3745) are currently in preclinical development. We plan to file INDs and take these programs into the clinic for Phase 1 testing.
Each of these programs is more fully described in the section of this Annual Report on Form 10-K titled “Business—Program Descriptions.”



36

Table of Contents

OUR PIPELINE
This section describes the pipeline that has emerged thus far from the combination of our strategy, our platform, our infrastructure, and the resources we have amassed. Complete descriptions of our programs are found in the section of this Annual Report on Form 10-K titled “Business—Program Descriptions.”
Since we nominated our first program in late 2014, we and our strategic collaborators have advanced in parallel a diverse development pipeline which currently consists of 24 development candidates across our 23 programs, of which 17 have entered clinical studies and another one has an open investigational new drug application (“IND”). Over 1,500 subjects have been enrolled in our clinical trials since December 2015. Our diverse pipeline comprises programs across six modalities and a broad range of therapeutic areas. A modality is a group of potential mRNA medicines with shared product features, and the associated combination of mRNA technologies, delivery technologies, and manufacturing processes. Aspects of our pipeline have been supported through strategic alliances, including with AstraZeneca, Merck, and Vertex Pharmaceuticals, or Vertex, and government-sponsored organizations and private foundations focused on global health initiatives, including BARDA, DARPA, NIH, CEPI and the Bill & Melinda Gates Foundation.
Our selection process for advancing new development candidates reflects both program-specific considerations as well as portfolio-wide considerations. Program-specific criteria include, among other relevant factors, the severity of the unmet medical need, the biology risk of our chosen target or disease, the feasibility of clinical development, the costs of development, and the commercial opportunity. Portfolio-wide considerations include the ability to demonstrate technical success for our platform components within a modality, thereby increasing the probability of success and learnings for subsequent programs in the modality and in some cases in other modalities.
The breadth of biology addressable using mRNA technology is reflected in our current development pipeline of 23 programs. These span 28 different proteins or protein complexes: 11 different antigens (including virus-like particles) for infectious disease vaccines; two different cancer vaccines, one personalized cancer vaccine addressing neoantigens and one for a shared cancer antigen; four different immuno-modulator targets (including membrane and systemically secreted proteins) for immuno-oncology programs; one secreted, local regenerative factor for a heart failure program; five secreted or cell surface proteins of diverse biology (an antibody, an engineered protein hormone, a lysosomal enzyme, a secreted cytokine and a cell surface receptor); and four intracellular enzymes for rare disease programs. The diversity of proteins made from mRNA within our development pipeline is shown in the figure below.
The following chart shows our current pipeline of 24 development candidates across our 23 programs, grouped into modalities-first the 2 core modalities where we believe we have reduced the technology risk, followed by the 4 exploratory modalities in which we are continuing to investigate the clinical use of mRNA medicines.

modernacellmap022620a02.jpg

37

Table of Contents

    slide5pptx.jpg


38

Table of Contents

Portfolio-wide evidence in support of our platform and approach
We have generated significant learnings across our portfolio that we believe provide compelling support for our approach and pipeline across a broad array of human diseases.
We have generated safety and tolerability data, and demonstrated immunogenicity in the clinic for multiple programs in our core modality of prophylactic vaccines
We have nine development candidates in various stages of preclinical or clinical development (two of which are being developed by our strategic collaborator Merck) in the prophylactic vaccines modality, which is one of our core modalities. In addition, we have two development candidates for H10N8 vaccine and Chikungunya vaccine which are not being progressed any further, pending government or other agency funding. Of these development candidates, the CMV vaccine mRNA-1647 is the most advanced with an ongoing Phase 2 trial. Among our prophylactic vaccines, we have generated clinical safety and tolerability data in more than 1,000 subjects. In addition, we have observed the ability in clinical trials to elicit neutralizing antibodies to viral antigens from six prophylactic vaccine programs to date; our two influenza vaccines, the RSV vaccine being developed in collaboration with Merck, the Chikungunya vaccine being developed in collaboration with DARPA, our hMPV/PIV3 vaccine, and our CMV vaccine, both the preclinical models and immune responses in humans showed increased antibody levels to pathogenic viral antigens.

We have demonstrated the ability to manufacture clinical supplies for our core modality of prophylactic vaccines in less than 30 days

The mRNA-1273 program is to develop a vaccine against SARS-CoV-2. Clinical supply for this mRNA vaccine was designed and manufactured in 25 days.

We have generated safety, tolerability, and pharmacology data in the clinic for the lead program in our core modality of systemic secreted and cell surface therapeutics

We have demonstrated the ability of cells preclinically to make and secrete antibodies and soluble modulating factors that exert their pharmacologic activity by binding to targets and in some cases, having a signaling effect. We have five development candidates this this core modality. We have generated safety and tolerability data for the antibody against Chikungunya virus program (mRNA-1944) in a Phase 1 clinical trial. There have been no serious AEs in the study. All AEs were transient and resolved spontaneously without treatment. We have clinically demonstrated dose-related increases in antibody levels produced, which were at protective levels at all doses, and we have demonstrated that these antibodies were functional by way of neutralizing activity against Chikungunya virus. For our Relaxin program, we have demonstrated an ability to make relaxin as a secreted and engineered protein, which can impact heart failure in preclinical models.

We continue to describe safety and tolerability in clinical trials from hundreds of subjects for programs in our exploratory modalities

The translation of preclinical safety and tolerability into the clinic is a key step for each of our programs and in totality supports the creation of a new class of medicines. We continue to generate safety and tolerability data across ten investigational medicines in four different exploratory modalities.

We have demonstrated pharmacologic effect in the clinic for certain of our exploratory modalities through immunological responses
For PCV (mRNA-4157), which is the most advanced program in clinical development within the cancer vaccines modality, we have observed antigen specific T cell responses in some patients. In the ongoing clinical trial for OX40L (mRNA-2416) in the intratumoral immuno-oncology modality, we have observed early indications of the ability to impact the tumor microenvironment from tumor regression in injected lesions and an adjacent uninjected lesion.
We have demonstrated the ability of our intratumoral immuno-oncology programs to transform immunologically cold tumor microenvironments in preclinical studies for our OX40L Triplet (OX40L/IL-23/IL-36γ), and IL-12 programs. These responses include long-term T cell responses that eliminate tumors in animal models and makes them able to combat a second tumor challenge, indicating immunological memory. We also have preclinical evidence of immunological responses for programs in our cancer vaccines modality, including personalized cancer vaccines and KRAS vaccine.
We have demonstrated pharmacologic effect for certain of our exploratory modalities through enzyme-driven changes in metabolic phenotypes

We have tested our ability to impact metabolic phenotypes via the expression of over 24 different types of proteins. We have also progressed four development candidates, methylmalonic acidemia, or MMA, propionic acidemia, or PA, phenylketonuria, or PKU, and Fabry disease, through early preclinical development efforts. We have demonstrated the ability of our mRNA development candidates to drive metabolic change in animal models for MMA, PA, PKU, and Fabry disease.

39

Table of Contents

We have produced a diverse set of proteins across both core and exploratory modalities

Our scientists, in conjunction with scientists from Merck and AstraZeneca and other strategic collaborators, have tested over 12,000 unique mRNA sequences in in vitro and in vivo preclinical studies. This includes over 500 in vivo preclinical studies that were designed to show evidence of pharmacologic effect or the production of the desired protein. These studies included the following types of proteins:
Extracellular soluble ligands (e.g., VEGF, IL-12, Relaxin, IL-2 and erythropoietin);
Antibodies (e.g., immunoglobulins, which are composed of two light chain and two heavy chain proteins);
Extracellular protein complexes (e.g., Chikungunya virus-like particles);
Membrane proteins, in some cases as multimers (e.g., F protein, glycoprotein B, CMV pentamer, OX40L and PL-L1);
Intracellular soluble protein complexes (e.g., methylmalonic-CoA mutase homodimer and propionyl-CoA carboxylase heterododecamer);
Intracellular membrane proteins with activating mutations (e.g., STING); and
Neoantigens presented to the immune system as short peptides.

Fifteen first-in-human trials since December 2015 and clinical material supply

We invest in capabilities and infrastructure that enable us to execute at scale. We first dosed a subject in a clinical trial in December 2015. We or our strategic collaborators have achieved first-in-human for fifteen different mRNA investigational medicines. Eleven of those programs were run and sponsored by us.
Each first-in-human, or FIH, trial involved successful completion of one or more IND-enabling GLP toxicology studies, successful technical development, scale-up and cGMP manufacture of adequate quantities of mRNA drug product, IND or CTA regulatory filings and interactions with health authorities, and successful clinical operations start-up activities. We or our strategic collaborators have run clinical trials in the United States, Europe, and Australia.
Conclusion
We believe that this body of preclinical and clinical data are indicative of our significant progress, and provides a strong foundation for our ongoing mission to create a new class of medicines for patients.


40

Table of Contents

PROGRAM DESCRIPTIONS
Using our platform, we have found solutions to many scientific and technical challenges in order to develop the desirable features of our potential mRNA medicines for different applications. A “modality” refers to a group of potential mRNA medicines with shared product features, and the associated combination of enabling mRNA technologies, delivery technologies, and manufacturing processes.
Each of our modalities is designed to overcome the challenges of delivering the right amount of mRNA to the right tissue at the right times across a variety of applications. In advancing our platform technologies and identifying new product features for novel mRNA medicines, we may designate additional modalities.
We started with prophylactic vaccines as our first modality as we believed there would be lower technical hurdles for vaccines compared to therapeutics. Early formulations of mRNA tended to stimulate the immune system, which is a desired feature for a vaccine, but not therapeutics. In addition, antigens for many viruses tend to be well-characterized and of lower biology risk. Also, dosing regimens for vaccines can require as few as one or two administrations.
I. PROGRAM DESCRIPTIONS IN OUR PROPHYLACTIC VACCINES MODALITY
We designed our prophylactic vaccines modality to prevent or control infectious diseases. Since we nominated our first program in late 2014, this modality has grown to currently include nine active programs, all of which are vaccines against viruses. The goal of any vaccine is to safely pre-expose the immune system to a small quantity of a protein from a pathogen, called an antigen, so that the immune system is prepared to fight the pathogen if exposed in the future, and prevent infection or disease.
Within this modality, our portfolio includes programs for both commercial and global health uses. We have strategic alliances with Merck on select commercial vaccines, and with the Biomedical Advanced Research and Development Authority, or BARDA, the Defense Advanced Research Projects Agency, or DARPA, the National Institutes of Health, or NIH, as well as the Coalition for Epidemic Preparedness Innovations, or CEPI, on global health vaccine programs.
Our global public health portfolio is focused on epidemic and pandemic diseases in which funding has been sought from government and non-profit organizations. Given current funding and priorities, the influenza H10N8 vaccine (mRNA-1440) and chikungunya vaccine (mRNA-1388) are being deprioritized at this time and removed from the active pipeline, contingent upon future funding. Discussions on funding the influenza H7N9 vaccine (mRNA-1851) through approval are ongoing.
Our prophylactic vaccine pipeline is shown below:
vaccinetransition022620002.jpg


41

Table of Contents

Opportunity
Vaccines to prevent infectious diseases are one of the great innovations of modern medicine. In the United States alone, the Centers for Disease Control and Prevention estimates that childhood vaccinations given in the past two decades will in total prevent 322 million Americans from falling ill, 21 million hospitalizations, 732,000 deaths, $295 billion of direct costs, and $1.3 trillion in social costs. The commercial opportunity for vaccines is significant, with more than $35 billion in annual worldwide sales, including 16 different vaccine products each generating more than $500 million in annual worldwide sales in 2017.
Our approach
Our vaccine research approach starts by identifying the antigens most likely to induce a protective immune response against a specific infectious disease. We test one or more antigens in vivo in multiple animal species. The immune response can be measured in multiple ways including:
Generation of binding antibodies, where the antibodies generated by the vaccine bind to the pathogen antigens being targeted;
Generation of neutralizing antibodies, where the antibodies generated by the vaccine are able to prevent the pathogen from infecting cells;
Ability of the vaccine to protect vaccinated animals against a pathogen, as measured by reductions in detectable pathogen or by the survival of the challenged animal if the pathogen is lethal; and
Generation of an antigen specific T cell response.
Clinical correlates of protection are levels of immune response that when achieved in response to vaccination are associated with protection against infection or disease. Influenza, for instance, has an established correlate of protection based on the serum hemagglutination inhibition, or HAI, assay. HAI titers of 40 or above are associated with 50% to 70% protection against influenza. However, such correlates are generally only available for approved vaccines. As a result, new vaccines generally, but not always, have to demonstrate efficacy against clinical disease before being approved. Our first two programs in this modality are H10N8 and H7N9 vaccines for an established antigen with HAI clinical correlates.
Typically, subjects require only a limited number of administrations of a vaccine to confer long-lasting protection. Many of our mRNA vaccines are developed to be administered in two doses, one to prime the immune response and the second to boost it. In cases where populations have been exposed to the virus previously, such as with many respiratory viruses, a subject might be administered a single dose of an mRNA vaccine.
We believe that our potential mRNA vaccines will have a more standardized manufacturing process compared to traditional vaccines that would provide considerable advantages. Current approaches include attenuation and replication of live viruses and cell-culture methods to produce recombinant antigens. These approaches require considerable customization compared to the standardized process of producing mRNA vaccines.
We believe the inherent characteristics of mRNA, coupled with our strategy to execute at scale, will allow us to bring potential mRNA vaccines to the clinic in a relatively short period of time. We have chosen to be methodical for our early programs to understand the technology risks within the modality. If needed, as in the case of a pandemic, we could potentially exploit the scalability of mRNA medicines and our infrastructure to rapidly advance a potential mRNA vaccine to the clinic.
We believe that the positive safety and immunogenicity data obtained from six separate Phase 1 clinical trials with our prophylactic vaccines, including the most recent results with our CMV vaccine candidate (mRNA-1647), have provided support for a reduced risk profile with respect to key aspects of our approach and technology in infectious disease vaccines. We believe the clinical data demonstrate that our proprietary vaccine technology is generally well-tolerated and can elicit durable immune responses to viral antigens. We have discussed the platform nature of our vaccine technology with FDA, including our body of non-clinical and Chemistry, Manufacturing and Controls ("CMC") experience and they have provided specific guidance on how to leverage our body of non-clinical data generated using the vaccine platform, potentially expediting preclinical development of our novel vaccines. We have designated prophylactic vaccines as a core modality. We also believe we have demonstrated the ability to leverage common technological and digital platforms and a flexible manufacturing infrastructure to advance a large portfolio quickly and in parallel. Therefore, consistent with our portfolio strategy, we are expanding our portfolio of vaccines against important infectious diseases. In early 2020, we introduced three new development candidates, in this modality, mRNA-1345 for the prevention of pediatric respiratory disease caused by RSV, mRNA-1189 for the prevention of EBV infection and associated diseases and mRNA-1273 for the prevention of disease caused by SARS-CoV-2. Each of these programs is described in detail below, along with the other programs in this core modality.


42

Table of Contents

PROPHYLACTIC VACCINES MODALITY: COMMERCIAL PROGRAMS
RSV vaccine (mRNA-1777 and mRNA-1172): Summary
mRNA-1777 RSV vaccine program completed dosing in a Phase 1 clinical trial; our strategic collaborator Merck has initiated Phase 1 clinical trial with mRNA-1172 which has been shown to have enhanced potency in preclinical studies.
Respiratory syncytial virus, or RSV, is one of the most common causes of respiratory disease in infants and the elderly. More than 86,000 children and about 177,000 older adults are hospitalized due to RSV associated respiratory infections each year in the United States. To date, no effective vaccine to prevent RSV has been approved, and the only approved prophylaxis treatment is limited to the monoclonal antibody palivizumab, marketed as Synagis in the United States for pediatric patients at high risk for RSV infection. In collaboration with Merck, we designed mRNA-1777 to encode a membrane-anchored version of stabilized prefusion F protein, the main target of potently neutralizing and protective antibodies. This vaccine is administered as a single dose with no boost. We conducted the Phase 1 trial for mRNA-1777 in Australia. mRNA-1172 or V172 has been shown to have enhanced potency in preclinical studies compared to mRNA-1777. Therefore further development on mRNA-1777 has been paused and Merck has initiated a Phase 1 trial in the United States for mRNA-1172.
RSV vaccine (mRNA-1777 and mRNA-1172): Disease overview
RSV impacts young children and older adults, and no approved vaccine exists today
RSV causes upper and lower respiratory tract illness worldwide and is transmitted primarily via aerosolized droplets from an infected person, or via contamination of environmental surfaces with infectious secretions. Following introduction of RSV into the nose or upper respiratory tract, the virus replicates primarily in the ciliated cells of the respiratory epithelium. Upper respiratory symptoms typically begin within several days of exposure. In healthy adults, the infection may remain confined to the upper respiratory tract. However, in those with compromised immune systems, such as premature infants, the elderly, or individuals with underlying respiratory disease, lower respiratory tract infections commonly occur and may manifest as wheezing, bronchiolitis, pneumonia, hospitalization or even death. Infections with RSV follow a seasonal pattern, occurring primarily in the Northern hemisphere between the months of November and April, and in the Southern hemisphere primarily between March and October.
More than 86,000 children are hospitalized due to RSV infection each year in the United States. About 177,000 older adults are hospitalized each year in the United States due to RSV-associated respiratory infections, with approximately 14,000 deaths as a result. RSV infection is common in adults over the age of 60 years, occurring in an average of 5.5% of older adults every season and resulting in physician’s visits for 17% of infected older adults. The cost of RSV disease to society can be considerable.

43

Table of Contents

RSV vaccine (mRNA-1777 and mRNA-1172): Our product concept
Prevent RSV infections with an improved RSV antigen using a single vaccine dose
Our RSV investigational medicine, mRNA-1777, includes an mRNA encoding an engineered form of the RSV fusion (F) glycoprotein stabilized in the prefusion conformation in an LNP. The F protein is present as a homotrimer on the surface of RSV. The prefusion conformation of the F protein interacts with a host cell membrane, and the conformational change from prefusion to postfusion drives virus fusion with a host cell. The majority of RSV-specific neutralizing antibodies in convalescent people are directed to epitopes present only on the prefusion conformation of the F protein. The prefusion state of the F protein elicits a superior neutralizing antibody response compared to the postfusion state in animal studies conducted by others. A schematic of the prefusion F protein on the surface of a host cell, with sites recognized by neutralizing antibodies, is depicted in the figure below; the inset on the left of the figure shows the intended design of the mRNA formulated in LNP, and the inset on the right shows the intended prefusion F protein on the surface of the cell. We believe that neutralizing antibodies elicited by mRNA-1777 may lead to an efficacious RSV vaccine.
bx19.gif
mRNA-1172 includes an mRNA encoding for an engineered form of the RSV F glycoprotein in a Merck proprietary LNP.
RSV vaccine (mRNA-1777 and mRNA-1172): Preclinical information
mRNA vaccines encoding different versions of the prefusion F protein have been evaluated in mice, cotton rats, and African green monkeys, or AGM. These studies demonstrate that mRNA vaccines encoding the prefusion F protein induce robust neutralizing antibody titers in preclinical species tested, do not lead to vaccine-enhanced respiratory disease (evaluated in cotton rats), and are protective against RSV challenge (evaluated in cotton rats and AGM). The data for a study in AGM are shown in the figure below. In this study, one group of AGM (4 per group) was vaccinated intramuscularly with vaccine, a second group was infected with 5.5 log 10 plaque forming units, or pfu, of RSV strain A2 intranasally as a positive control, and a third group received no vaccine as a negative control, each on weeks 0, 4, and 8. Serum neutralizing antibody titers, or SN titers, were measured on the indicated weeks and are shown in panel A. All animals were challenged intranasally and intratracheally on study week 10. On multiple time points after the challenge, virus present in bronchoalveolar lavage, or BAL, fluid was quantified by plaque assay as shown in panel B. In this study, we observed an increase in serum neutralizing titers with each vaccine dose. The animals that received mRNA-1777 showed complete protection (no virus detected) in lungs, similar to the control group immunized with RSV A2. These results are shown in the figures below.

44

Table of Contents

Serum neutralizing titers for mRNA-1777 in non-human primate study
a0001193125183449821_image43.jpg
Panel (A)
Lung viremia detected post challenge in non-human primate study with mRNA-1777
a0001193125183449821_image44.jpg
Panel (B)
Recent studies in cotton rats and AGM demonstrate immunogenicity of mRNA-1172. The data for a study in AGM are shown below. In this study, two groups of AGM (4 per group) were vaccinated intramuscularly with the same dose level of vaccine, a fifth group was infected with 5.5 log10 plaque forming units, or pfu, of RSV strain A2 intranasally as a positive control, and a sixth group received no vaccine as a naïve control, each on weeks 0,4, and 8. Serum neutralizing antibody titers were measured on the indicated weeks and are shown in panel C. In this study, mRNA-1172 was shown to be significantly more potent than mRNA-1777.
Serum Neutralizing titers for mRNA-1172 and mRNA-1777 in non-human primate study
bx17.jpg

45

Table of Contents

RSV vaccine (mRNA-1777 & mRNA-1172): Clinical data
The Phase 1 trial for mRNA-1777 in Australia generated safety and tolerability data and demonstrated immunogenicity and has been completed; further development of mRNA-1777 has been paused pending data from the ongoing Phase 1 trial for mRNA-1172 sponsored by Merck
The Phase 1 trial for RSV vaccine has met its objectives of assessing the safety and tolerability profile of mRNA-1777 versus placebo including capturing solicited and unsolicited local and systemic adverse events. The Phase 1 trial for RSV vaccine has also demonstrated immunogenicity and we have observed a humoral immune response as measured by neutralizing antibody titers against RSV A for dose levels one, two, and three of mRNA-1777.
The mRNA-1777 Phase 1 study is a randomized, partially double-blind, placebo-controlled, dose-escalation first-in-human study to describe the safety, tolerability, and immunogenicity in healthy adult subjects in Australia. We are the sponsor for this trial. The study evaluated three dose levels in healthy younger adults, and 4 dose levels in healthy older adults. All subjects were given a single intramuscular injection. The key objectives of the study included:
assess the safety and tolerability of mRNA-1777 versus placebo; and
determine the immunogenicity of mRNA-1777 by measuring serum neutralizing antibody titers against RSV.
The key endpoints for the study included safety and tolerability of mRNA-1777.
The study was conducted in two parts. Part A evaluated healthy younger subjects (ages > 18 and < 49 years) and Part B evaluated healthy older subjects (ages > 60 and < 79 years). There were four dose levels, where the highest dose, or dose four, was twelve times the lowest dose, or dose one, and dose three, the second highest dose, was eight times the lowest dose. In Part A, dose levels one, two, and three were evaluated. The safety data from the sentinel safety group for each dose level was reviewed before permitting enrollment of the expansion group within that dose level cohort. The safety data of each expansion group was reviewed before permitting dose escalation/enrollment of the sentinel safety group at the next dose level. In Part B, all four dose levels were evaluated. The first sentinel dose cohort was triggered after review of the first sentinel dose level cohort in Part A. The safety data from the sentinel safety group for each dose level cohort was reviewed before permitting enrollment of the expansion group within that dose level cohort. The safety data of each expansion group was reviewed before permitting dose escalation/enrollment of the sentinel safety group at the next dose level. Part B includes the highest dose level, dose four, which was enrolled after review of the available safety and immunogenicity data of the preceding Part B dose level cohorts. Expansion groups in Part A and B were both randomized 3:1 mRNA-1777: placebo.
This 200-subject study has been completed. As of April 9, 2018, we have the majority of data through three months (90 days) post-vaccination for younger subjects in dose levels one and two, and for older subjects in doses one, two, and three. Based on the interim data as of April 2018, dose levels one, two, and three of mRNA-1777 were observed to elicit a humoral immune response as measured by neutralizing antibody titers against RSV A, neutralizing antibody titers against RSV B (dose level three only, dose levels one and two have yet to be assayed), absolute serum antibody titers to RSV prefusion F protein and RSV postfusion F protein, and competing antibody titers to RSV prefusion F protein in a dose-dependent manner up to dose level two in both younger and older subjects. The immune response measured by neutralizing antibody titers against RSV A in older adults that received dose level three of mRNA-1777 was not higher than that of the subjects that received dose level two. We have observed an increase in neutralizing antibody titers relative to placebo in younger adult subjects in panel A and older adult subjects in panel B who received our RSV vaccine, as shown in the figure below. In the figure, geometric mean titer and 95% confidence interval are depicted by time for neutralizing antibody titers against RSV A for older and younger subjects. At day ninety, between 10 and 19 healthy younger subjects and between 11 and 27 healthy older subjects were tested at each dose level.

46

Table of Contents

Neutralizing antibody titers in healthy younger subjects
[Ages > 18 and < 49 years] in Phase 1 trial for mRNA-1777 per protocol set
a0001193125183449821_image45.jpg
Panel (A)
Neutralizing antibody titers in healthy older subjects
[Ages > 60 and < 79 years] in Phase 1 trial for mRNA-1777 per protocol set
a0001193125183449821_image46.jpg
Panel (B)
In addition, based on interim data as of April 2018, we observed an increase in T cell response relative to baseline at day 15 and day 60 in both healthy younger and healthy older adult subjects vaccinated with doses two and three of mRNA-1777.
Based on interim safety data as of April 9, 2018, mRNA-1777 was well tolerated with no dose limiting toxicities at dose levels one, two, and three in both the younger and older adults. As of September 2018, the highest dose level, which was evaluated in older subjects only, dose level four, was not as well tolerated as the lower dose levels. However, across all treatment arms, there were no treatment-related serious adverse events, or SAEs, treatment emergent adverse events, or TEAEs, leading to withdrawals, adverse events, or AEs of special interest, or new onset of chronic illnesses or autoimmune disorders in either of the age cohorts. There were no patterns in clinically significant laboratory abnormalities.
As of September 19, 2018, we have observed 15 SAEs in nine subjects, all of which were deemed unrelated to study product. These SAEs occurred approximately one to ten months from receipt of study product and included aortic aneurysm repair, paralytic ileus, spinal decompression, death from pre-existing cardiomyopathy, hernia, transient ischemic attack, peripheral vascular disorder, vasovagal syncope, diagnosis of non-small cell lung cancer, anterior cruciate ligament tear, left knee tendon tear, right knee tendon tear, left patella dislocation, right patella dislocation, and bilateral patella tendon repair.
Based on the interim safety, tolerability, and immunogenicity data in collaboration with Merck, we have opted to pause further development of mRNA-1777. Merck is conducting a Phase 1 trial with mRNA-1172 in the United States.


47

Table of Contents

CMV vaccine (mRNA-1647): Summary
Our CMV program targets congenital CMV infections to reduce or prevent birth defects
Congenital cytomegalovirus, or CMV, infection is the leading cause of birth defects in the United States. Despite several attempts, to date, there is no vaccine approved to prevent congenital transmission of CMV. We believe that in addition to the glycoprotein B, or gB, protein antigen, a successful CMV vaccine would need to include the Pentamer, a 5-protein membrane-bound antigen complex required for epithelial, endothelial, and myeloid cell infection by the virus. A CMV vaccine containing the Pentamer as a recombinant protein or a replication defective virus is complex to make and scale. We used our platform to generate an mRNA vaccine designed to make the Pentamer in its natural membrane-bound conformation. This investigational medicine is designed to prevent or control CMV infection and includes five mRNAs encoding for the Pentamer, as well as one mRNA encoding for CMV gB that has previously demonstrated partial clinical efficacy. The Phase 1 trial for mRNA-1647 has generated safety and tolerability data, and demonstrated immunogenicity. As of September 2019, interim data from the Phase 1 trial indicated that the vaccine was generally well-tolerated. There were no vaccine-related serious adverse events. The most common solicited local adverse reaction, or AR, was injection site pain. The most common solicited systemic ARs were headache, fatigue, myalgia and chills. A dose-related increase in neutralizing antibody titers was observed in CMV-seronegative participants at seven months (one month after the third vaccination) in the 30, 90 and 180 µg dose levels. Based on the interim data from the Phase 1 trial, we have initiated a Phase 2 trial for mRNA-1647 in the United States.
CMV (mRNA-1647): Disease overview
CMV is a major cause of birth defects with no approved vaccine
Human CMV is a common human pathogen and member of the herpes virus family. Seropositivity, demonstrating prior exposure to virus, increases with age and is approximately 40-60% in women of child-bearing potential in the United States. However, general awareness of CMV is not high. Less than 10-20% of adults are aware of CMV and most healthy adults after initial (primary) CMV infection do not have symptoms. However, approximately 0.6-0.7% of newborns are congenitally infected by CMV annually in industrialized countries. Congenital CMV results from infected mothers transmitting the virus to their unborn child and it is the leading cause of birth defects, with approximately 25,000 newborns per year in the United States infected. Birth defects occur in approximately 20% of infected babies and include permanent neurodevelopmental disabilities, which can include hearing loss (often permanent), vision impairment, varying degrees of learning disability, decreased muscle strength and coordination, and even death. Some studies report approximately one-third of infants with severe congenital disease will die within the first year of life, and the survivors, their caregivers, and health systems bear significant long-term burdens.
There is currently no available vaccine for CMV, and many previous attempts at developing a vaccine to reduce or prevent congenital transmission have been missing a key antigen, the Pentamer. We believe the Pentamer is critical for the infection of epithelial, endothelial, and myeloid cells by the virus. We believe the Pentamer was not included in certain prior recombinant protein vaccine attempts due to the complexity of producing it as a multi-unit antigen complex. Prior vaccine studies demonstrated insufficient efficacy against CMV infection and limited durability of immune response. A vaccine that leads to durable immunity in women of child-bearing age would address a critical unmet need in the prevention of congenital CMV infection.
CMV vaccine (mRNA-1647): Our product concept
We are developing a single vaccine with complex antigens to prevent or control infection
Our ability to generate a multi-antigen vaccine enables us to combine a traditional target antigen (gB) with the Pentamer in order to specifically focus the immune system on these important antigens. We believe this gives us greater potential to produce neutralizing antibodies that can block CMV transmission from the mother to the fetus. Our approach to block transmission could either be:
direct, by vaccinating adolescents or adults of child-bearing potential (female and male); or
indirect, by vaccinating toddlers who could spread CMV to each other, their mothers, and their childcare workers.
Unlike a protein-based or live-attenuated vaccine, our mRNA instructs cells to specifically make predetermined antigens with a structure that mimics the one presented to the immune system by the virus, thus focusing the immune system on these important antigens.
mRNA-1647 comprises six mRNAs that encode for these known hard-to-make CMV antigens in a proprietary LNP:
In CMV seropositive individuals, the majority of neutralizing antibodies target the Pentamer. The CMV Pentamer is made by five CMV glycoproteins that form a membrane-bound complex. The Pentamer is required for CMV entry into epithelial, endothelial, and myeloid cells. The mRNA-expressed Pentamer is displayed on the surface of the cell and stimulates the production of neutralizing antibodies that prevent the virus from entering the cells.

48

Table of Contents

gB is a trimeric CMV membrane glycoprotein that abundantly resides on the surface of the viral particles. Fusion between virus and host cells, and hence infection, requires gB. Antibodies to gB can prevent CMV infection. gB has been utilized in some earlier attempts at a CMV vaccine as the sole antigen which had resulted in partial efficacy but not at levels sufficient for approval.
An illustration of our proposed approach for CMV is shown in the figure below.
figuresforword20180731cmv.jpg
CMV vaccine (mRNA-1647): Preclinical information
We have published preclinical data for our CMV vaccine
We have demonstrated that the Pentamer and gB mRNAs can elicit potent and durable antibody titers against the antigens in mice and non-human primates, and have published these results in Vaccine in 2018. In one study, mice were immunized with the Pentamer and gB mRNAs encapsulated in our proprietary LNP. Serum samples were taken from the mice at specific timepoints post vaccination. Post-vaccination neutralizing titers were measured by admixing serial dilutions of each sample with CMV virus, incubating the mixture in a human primary epithelial cell culture, and counting the number of infected cells. We used CytoGam, an approved product for prevention of CMV in transplant patients, as a control in our experiment. CytoGam is cytomegalovirus immune globulin from pooled plasma of CMV seropositive donors. The table below shows the neutralization antibody titers in epithelial cells for escalating vaccine doses in mice, demonstrating our ability to generate neutralizing antibodies. We also observed that at the highest dose, our mRNA vaccine generated a response more than 75-fold higher than CytoGam at estimated clinical levels. In addition, we have also observed that the Pentamer and gB mRNAs can elicit strong T cell responses.
Neutralizing titers in human primary epithelial cells for escalating CMV mRNA vaccine doses in mouse study
Dose for vaccine including the Pentamer and gB in our proprietary LNP
 
At 41 days
 
Neutralization titers in
epithelial cell
1.2 µg
 
58,336
3.5 µg
 
682,989
10.5 µg
 
457,913
CytoGam comparator (used at maximum concentration of 2 mg/ml observed in human serum)
 
5,905
CMV vaccine (mRNA-1647): Clinical data
We have demonstrated safety and tolerability and generated immunogenicity data in our Phase 1 trial; based on the interim Phase 1 data, we have initiated a Phase 2 trial with mRNA-1647
We announced positive data from the second interim analysis of the Phase 1 clinical trial of mRNA-1647, which has completed enrollment and is evaluating the safety and immunogenicity of mRNA-1647 in 181 healthy adult volunteers. The clinical trial population includes those who are naïve to CMV infection (“CMV-seronegative”) and those who had previously been infected by

49

Table of Contents

CMV (“CMV-seropositive”). Participants were randomized to receive either placebo, or 30, 90, 180 or 300 µg of mRNA-1647 on a dosing schedule of 0, 2 and 6 months. This second planned interim analysis assessed safety and immunogenicity of the first three dose levels (30, 90, and 180 µg) at seven months (one month after the third vaccination), and the highest dose level (300 µg) at three months (one month after the second vaccination). Neutralizing antibody titers (levels of circulating antibodies that block infection) were assessed in two assays utilizing epithelial cells and fibroblasts, which measure immune response to the pentamer and gB vaccine antigens, respectively. gB antigen-specific T cell responses after the second and third vaccinations were measured in a subset of CMV-seronegative participants in the 30, 90 and 180 µg dose levels utilizing an ELISpot assay. Pentamer-specific T cell assays remain in development. Vaccine-induced neutralizing antibody responses in the CMV-seronegative group were compared to the baseline neutralizing antibody titers in the CMV-seropositive group, noting that prior maternal CMV infection is associated with an approximately 30-fold lower risk of congenital CMV infection compared to the risk in the setting of maternal primary CMV infection.
In CMV-seronegative participants at seven months (one month after the third vaccination) in the 30, 90 and 180 µg dose levels:
A dose-related increase in neutralizing antibody titers was observed in both epithelial cell and fibroblast assays.
After the third vaccination, neutralizing antibody titers against epithelial cell infection were greater than 10 times higher in the 90 and 180 µg dose levels than CMV-seropositive baseline titers at the 90 and 180 µg dose levels.
After the third vaccination, neutralizing antibody titers against fibroblast infection were 1.3 to 1.4 times higher than CMV-seropositive baseline titers at the 90 and 180 µg dose levels.
In CMV-seropositive participants at seven months (one month after the third vaccination) in the 30, 90 and 180 µg dose levels:
A dose-related increase in neutralizing antibody titers was observed in both epithelial cell and fibroblast assays.
The third vaccination boosted neutralizing antibody titers against epithelial cell infection to levels of 22-fold to 40-fold over baseline titers in all dose levels.
The third vaccination boosted neutralizing antibody titers against fibroblast infection to levels of approximately 4-fold to 6-fold over baseline titers in all dose levels.
Participants receiving 300 µg of mRNA-1647 followed through three months (one month after the second vaccination) continued to show consistent dose-dependent increases in neutralizing antibodies against epithelial cell infection and against fibroblast infection in both CMV-seronegative and CMV-seropositive groups. Safety and tolerability in participants receiving 300 µg of mRNA-1647 was comparable to that observed at the 180 µg dose level. In a subset of CMV-seronegative participants in the 30, 90 and 180 µg dose levels, gB antigen-specific T cell activation was observed at all dose levels after the second and third vaccinations.
A safety analysis indicated that the vaccine was generally well-tolerated. There were no vaccine-related serious adverse events. The most common solicited local adverse reaction, or AR, was injection site pain. The most common solicited systemic ARs were headache, fatigue, myalgia and chills. Fever was reported in 0-55% of CMV-seronegative treatment groups and in 8-67% of CMV-seropositive treatment groups. In general, solicited systemic ARs occurred less frequently after the third vaccination compared to the second, and were more common in the CMV-seropositive cohorts compared to the CMV-seronegative cohorts. Grade 3 solicited ARs were more common in CMV-seropositive participants, and were fatigue (0-27% of a given dose cohort), chills (0-27% of a given dose cohort) and fever (0-33% of a given dose cohort). As reported in the previous interim analysis, there was a single Grade 4 AR of an isolated lab finding of elevated partial thromboplastin time, which was elevated at baseline (Grade 1) and self-resolved on the next lab test with no associated clinical findings. Safety and tolerability data at the 300 µg dose level were generally similar to that observed at the 180 µg dose level.
Although the small sample size limits the conclusions that can be drawn from the data, the findings from this interim analysis build on an earlier interim analysis of safety and immunogenicity data through one month after the second vaccination in the 30, 90 and 180 µg dose levels. A 12-month interim analysis of safety and immunogenicity, which will report safety and immunogenicity results through six months after the third vaccination, is pending.
Phase 2 Start and Phase 3 Planning
mRNA-1647 is the first mRNA vaccine for an infectious disease to enter a Phase 2 study. The randomized, observer-blind, placebo-controlled, dose-confirmation Phase 2 study will investigate the safety and immunogenicity of mRNA-1647 in approximately 252 healthy CMV-seronegative and CMV-seropositive adult volunteers in the U.S. Participants are randomized to receive either placebo, or 50, 100, or 150 µg mRNA-1647 on a dosing schedule of 0, 2 and 6 months. This Phase 2 study is testing the intended Phase 3 formulation, which contains the same lipid nanoparticle (“LNP”) used in the Phase 1 study. The first interim analysis will evaluate safety and immunogenicity at three months (one month after the second vaccination) and is intended to inform Phase 3 dose selection.
We are actively preparing for a global randomized, observer-blind, placebo-controlled Phase 3 pivotal study to evaluate the efficacy of mRNA-1647 against primary CMV infection in women of childbearing age. We have solicited and received Type C meeting feedback

50

Table of Contents

from the U.S. Food and Drug Administration (“FDA”) on the preliminary design of the pivotal trial. We believe this can be achieved with a trial with no more than 8,000 participants and feasibility assessments of study sites has already begun across North America and Europe. The pivotal trial design will be finalized after discussion with the FDA and other global health authorities. Manufacturing and planning are already underway for the pivotal Phase 3 study, which we expect to start in 2021. Additional lot-to-lot consistency and adolescent bridging clinical trials are being planned.
hMPV/PIV3 vaccine (mRNA-1653): Summary
We are developing a vaccine to address two viruses that are leading causes of respiratory infection
Human metapneumovirus, or hMPV, and human parainfluenza virus 3, or PIV3, are important causes of respiratory tract infections in children. Despite the substantial impact hMPV and PIV3 have on human health, attention and research on these viruses have lagged relative to RSV. To date, no vaccine to prevent hMPV or PIV3 infections has been approved. Our platform allows us to combine mRNAs encoding antigens for the two pathogens in one combination vaccine, enabling a single vaccine that could protect against both respiratory infections. In our approach, we utilize mRNA sequences encoding for the membrane fusion (F) glycoproteins, or F proteins, for each of the viruses. We have generated safety, tolerability, and immunogenicity data from the Phase 1 trial for mRNA-1653 in the United States which has been completed. Based on this data, we have a Phase 1b trial for mRNA-1653 ongoing in the United States in healthy adults and children aged 12-36 months.
hMPV/PIV3 vaccine (mRNA-1653): Disease overview
hMPV and PIV3 have a substantial impact on human health yet have lagged in research and attention relative to RSV
There is no approved vaccine for hMPV although this RNA virus has been determined to be one of the more frequent causes of upper and lower respiratory tract infections. hMPV has been detected in 4% to 15% of patients with acute respiratory infections. hMPV causes disease primarily in young children but can also infect adults, the elderly, and immunocompromised individuals. Clinical signs of infection range from a mild upper respiratory tract infection to life-threatening severe bronchiolitis and pneumonia. hMPV was discovered in 2001 and identified as a leading cause of respiratory infection.
There is no approved vaccine for PIV3 although this RNA virus is recognized as an important cause of respiratory tract infections in children. Infections from parainfluenza virus, or PIV, account for up to 7% of acute respiratory infections among children younger than 5 years. Of the four PIV types identified, PIV3 most frequently results in infections and leads to the more serious lower respiratory tract infections compared to the other three PIV types. Though PIV3 related infections were identified in the past, awareness of their burden to patients and hospitals has risen over the past several years.
The majority of hMPV or PIV3-associated hospitalizations in children occur under the age of 2 years. Despite the substantial impact hMPV and PIV3 have on human health, attention and research on these viruses have lagged relative to RSV. Awareness of hospitalizations due to hMPV or PIV3 infections have risen, and we believe that a single vaccine intended for active immunization of infants and toddler against both hMPV and PIV3 would be valuable. Previous attempts at developing a vaccine have focused on only hMPV or PIV alone with no known attempts at a combination vaccine.

51

Table of Contents

hMPV/PIV3 vaccine (mRNA-1653): Our product concept
Our approach is to develop a combination vaccine for all infants and toddlers
mRNA-1653 is a single investigational vaccine consisting of two distinct mRNA sequences that encode the membrane F proteins of hMPV and PIV3, co-formulated in our proprietary LNP as shown in the figure below.
a0001193125183449821_image49.jpg
hMPV/PIV3 vaccine (mRNA-1653): Preclinical information
Our mRNA vaccine is immunogenic in multiple species
We have evaluated multiple combinations for hMPV/PIV3 mRNA vaccines encoding full-length F proteins for hMPV and PIV3 viruses in mice, Sprague Dawley rats, cotton rats, and African green monkeys, or AGM, each following intramuscular, or IM, injection. These studies demonstrate that mRNA encoding for F proteins from these viruses induce robust neutralizing antibody titers in all species tested. For example, neutralizing antibody titers for mRNA encoding for F proteins of hMPV and PIV3 encapsulated in LNP in mice are shown in the figure below. C57Bl/6 mice were immunized with 0.33, 2, or 12 µg of formulated material intramuscularly on study days 1 and 29. Neutralizing antibody titers were measured in serum collected on day 43. Results are represented as geometric mean titers, or GMT, of seven mice per group. In the figure below, neutralizing antibody titers in mice after immunization with mRNA for hMPV and PIV3 in our proprietary LNP by hMPV (left panel) and PIV3 (right panel) are depicted along with the lower limit of quantification, or LLOQ, of the assay.
a0001193125183449821_image50.jpg 
 
a0001193125183449821_image51.jpg 

52

Table of Contents

Neutralizing antibodies are thought to be important for protection against hMPV and PIV3. The titer of neutralizing antibodies induced by natural infection from hMPV or PIV3 can be used to benchmark the titers induced by our hMPV/PIV3 vaccine in preclinical models and in our clinical trial. We determined the geometric mean neutralizing antibody titer for 15 seropositive adult donors to be 3,807 (range 499 to 20,751) for hMPV, and 263 (range 47 to > 1024) for PIV3. Our hMPV/PIV3 mRNA vaccine induces a similar neutralizing antibody titer in mice after 2 vaccinations of the dose levels evaluated as shown in the figure above, and we believe it has the potential to confer protection in humans.
We have demonstrated that our hMPV and PIV3 mRNA combination vaccine does not lead to vaccine-enhanced respiratory disease (evaluated in cotton rats) and is protective against hMPV or PIV3 viral challenge (evaluated in cotton rats and AGM).
hMPV/PIV3 vaccine (mRNA-1653): Clinical data
We have generated safety, tolerability, and immunogenicity data from a Phase 1 trial in the United States which has been completed; based on the data, we have a Phase 1b trial in healthy adults and children aged 12-36 months ongoing in the United States
The mRNA-1653 Phase 1 study is a blinded, randomized, observer-blind, placebo-controlled, dose ranging first-in-human study to evaluate the safety and tolerability, reactogenicity, and immunogenicity of mRNA-1653 in healthy adult subjects in the United States. The study evaluates four dose levels of mRNA-1653 (25, 75, 150, and 300 µg) administered intramuscularly at day one and month one, with the one-month immunization randomized to be mRNA-1653 or placebo in the dose selection phase of the study.
The key objectives of the study include evaluating:
safety and reactogenicity of mRNA-1653 through 28 days after the last vaccination;
humoral immunogenicity of mRNA-1653 through 28 days after the last vaccination;
optimal dose and vaccination schedule of mRNA-1653 for further clinical development; and
safety of mRNA-1653 through 12 months after the second vaccination.
The key endpoints for the study include safety and tolerability of mRNA-1653.
The schematic of the trial is shown in the figure below. In the dose-escalation phase, there was sequential enrollment into one of the four dose levels of mRNA-1653 or placebo. Advancement to the next dose level was permitted after an internal safety review. In the dose-escalation phase, five subjects were randomly assigned in a 4:1 ratio to receive mRNA-1653 or placebo. The safety monitoring committee, or SMC, reviewed safety data after dose-escalation enrollment was completed to permit enrollment into the dose-selection phase at the three highest dose levels with acceptable safety profiles. In addition, the SMC periodically reviewed safety data during the dose-selection phase.
a190215hmpvph1trialdesign.jpg
124 subjects were enrolled in the study and subjects received both doses. Based on an unblinded evaluation of safety data from the dose-escalation phase by the SMC, the three highest dose levels (75, 150, and 300 µg) were evaluated in the dose-selection phase. The study has been completed.
Interim data from the Phase 1 trial showed that a single vaccination with mRNA-1653 boosted serum neutralization titers against hMPV and PIV3, and that the magnitude of the boost was similar at all dose levels tested. Consistent with prior exposure to hMPV and PIV3, all study participants had neutralizing antibodies against both viruses at baseline. One month after a single mRNA-1653 vaccination, the hMPV neutralization titers were approximately six-fold greater than baseline and PIV3 neutralization titers were

53

Table of Contents

approximately three-fold greater than baseline (based on geometric mean ratios). A second mRNA-1653 vaccination one month after the first vaccination did not further boost antibody titers. In addition, the interim data showed that hMPV and PIV3 serum neutralizing antibody titers remained above baseline through seven months. mRNA-1653 was found to be generally well tolerated. No SAEs, adverse events of special interest, or adverse events leading to withdrawal were reported. Injection site pain was the most commonly reported AE and the most common grade 3 AE.
We are conducting a Phase 1b trial to evaluate mRNA-1653 in healthy adults and children aged 12-36 months. The Phase 1b trial is a randomized, observer-blinded, placebo-controlled, dose-ranging trial to evaluate the safety and immunogenicity of two dose levels of mRNA-1653 in healthy adults (18-49 years of age) and three dose levels in children (12-36 months of age) with serologic evidence of prior hMPV and PIV3 exposure. As of February 12, 2020, 24 adults were randomized in the ratio 1:1:1 to receive two doses of 30 μg of mRNA-1653, 150 μg of mRNA-1653, or placebo two months apart.
Pediatric RSV vaccine (mRNA-1345): Summary
We are developing a pediatric RSV vaccine which we intend to ultimately combine with mRNA-1653, our hMPV/PIV3 vaccine, to address a wide array of viral respiratory illness in young children.
RSV is one of the most common causes of respiratory disease in infants and children under the age of five. Together with human metapneumovirus (“hMPV”) and human parainfluenza virus 3 (“PIV3”), the three viruses represent the majority of the causes of respiratory tract infections in children. To date, no vaccine to prevent any of these three infections has been approved. Our platform allows us to combine mRNAs encoding multiple antigens in one vaccine, utilizing mRNA sequences encoding for the membrane fusion (F) glycoproteins (“F proteins”) for each of the viruses. We believe we can develop a single vaccine that could protect against all three respiratory infections in young children. We intend to develop mRNA-1345 independently in early clinical development, and subsequently to evaluate its use in combination with mRNA-1653.
To date, no effective vaccine to prevent RSV has been approved, and the only approved prophylactic treatment is the monoclonal antibody (“mAb”) palivizumab, marketed as SYNAGIS in the United States for pediatric patients at high risk for RSV infection. The pediatric RSV vaccine mRNA-1345 is being developed for active immunization of young children to protect them from RSV-associated respiratory disease. Like our RSV development candidates in collaboration with Merck, mRNA-1777 and mRNA-1172 or Merck V172, the pediatric RSV vaccine mRNA-1345 encodes a membrane-anchored version of the stabilized prefusion F protein, the main target of potently neutralizing and protective antibodies. mRNA-1345 was engineered for increased expression and immunogenicity relative to mRNA-1777, and the mRNA and protein sequence of mRNA-1345 are distinctive from both mRNA-1777 and mRNA-1172 or Merck V172. The pediatric RSV vaccine mRNA-1345 is formulated in our proprietary LNP and is being developed solely by us. Under the terms of our collaboration with Merck, we retain the right to commercialize certain mRNA vaccines for the prevention of RSV infection in populations of up to 12 years of age when in combination with our hMPV and PIV3 vaccine (mRNA-1653).
Pediatric RSV vaccine (mRNA-1345): Disease overview
RSV is the leading cause of unaddressed severe lower respiratory tract disease and hospitalization in infants and young children worldwide.
RSV is a common cause of respiratory tract illness, with most children infected at least once by two years of age. The virus is transmitted primarily via contamination of environmental surfaces with infectious secretions, and symptoms typically begin within several days of exposure. The illness may manifest as wheezing, bronchiolitis, pneumonia, hospitalization or even death. In the United States, it is estimated that over two million children younger than five years of age receive medical attention and more than 86,000 are hospitalized due to RSV infection annually. Globally, it is estimated that RSV is responsible for over approximately 33 million episodes of acute lower-respiratory tract infection, 3.2 million hospitalizations and as many as 118,000 deaths per year in children younger than five years of age. Infections with RSV follow a seasonal pattern, occurring primarily in the Northern Hemisphere between the months of November and April, and primarily in the Southern Hemisphere between the months of March and October.
 
Pediatric RSV vaccine (mRNA-1345): Our product concept
Prevent RSV disease in young children with an improved RSV antigen and our proprietary LNP formulation in the context of a combination vaccine that prevents other viral respiratory illnesses.
The pediatric RSV vaccine mRNA-1345 encodes an engineered form of the RSV F proteins stabilized in the prefusion conformation and is formulated in our proprietary LNP. The F protein is present as a homotrimer on the surface of RSV. The prefusion conformation of the F protein interacts with a host cell membrane, and the conformational change from prefusion to postfusion drives virus fusion with a host cell. The majority of RSV-specific neutralizing antibodies in convalescent people are directed to epitopes present only on the prefusion conformation of the F protein. The prefusion state of the F protein elicits a superior neutralizing antibody response compared to the postfusion state in animal studies conducted by others. A schematic of the prefusion F protein on the surface of a host

54

Table of Contents

cell, with sites recognized by neutralizing antibodies, is depicted in the figure below; the inset on the left of the figure shows the intended design of the mRNA formulated in our proprietary LNP, the same LNP formulation as mRNA-1653, and the inset on the right shows the intended prefusion F protein on the surface of the cell. We believe that neutralizing antibodies elicited by mRNA-1345 may lead to an efficacious RSV vaccine in young children.
bx05.jpg
Pediatric RSV vaccine (mRNA-1345): Preclinical information
We evaluated expression and conformation of the F protein by treating cultured cells with mRNA from mRNA-1345 and measuring F protein on the cell surface using a prefusion conformation-indicating mAb called AM14. The figure below shows that prefusion F protein is detected on cells treated with mRNA-1345, and at a greater level than cells treated with mRNA-1777.
 
RSV-F expression by cultured cells treated with mRNA from mRNA-1345 or mRNA-1777

bx06.jpg
We have demonstrated that the pediatric RSV vaccine mRNA-1345 induces robust RSV neutralizing antibody titers in mice. For example, the left panel below shows the results of a study in which mice were immunized with different dose levels of mRNA-1345 intramuscularly on study days 1 and 21 and RSV neutralizing antibody titers were measured in serum collected on day 33. When compared to the results of a similar mouse study conducted with mRNA from mRNA-1777 formulated in the same proprietary LNP as mRNA-1345, the pediatric RSV vaccine mRNA-1345 was shown to be significantly more immunogenic. We believe we can leverage

55

Table of Contents

our body of non-clinical, clinical and CMC experience from our vaccine portfolio to expedite preclinical development of our pediatric RSV mRNA-1345 vaccine.


Serum neutralizing titers in mice for mRNA-1345 and for mRNA-1777 mRNA formulated in our same proprietary LNP

bx07.jpg bx09.jpg

Clinical trials of a formalin-inactivated RSV vaccine conducted in the 1960s resulted in higher rates of severe RSV disease in vaccinated infants than in control infants, a finding referred to as vaccine enhanced respiratory disease (“ERD”). It is thought that nucleic acid-based vaccines, including mRNA, present a lower risk of ERD because of their biologic similarities with live virus. Given that the pediatric RSV vaccine mRNA-1345 is designed to enable intracellular production of prefusion F protein by a person’s own cells, we believe that it likely recapitulates the antigenic presentation and immune cell stimulation as seen with natural infection. Further, the mRNA-1777 RSV vaccine did not predispose for ERD in a cotton rat RSV model. To provide further confirmation that the pediatric RSV vaccine mRNA-1345 does not present a risk for ERD, additional preclinical studies will be conducted prior to clinical development of mRNA-1345 in RSV seronegative children or infants.
Pediatric RSV vaccine (mRNA-1345): Clinical plan
We plan to conduct a Phase 1 dose-ranging safety and immunogenicity trial for mRNA-1345 in healthy adults and proceed to RSV-seropositive children after a review of the adult data. Following the assessment of the results of this Phase 1 study and potential future dose-ranging studies in younger RSV-seronegative children, we plan to evaluate the timeline for the combination of mRNA-1345 with mRNA-1653, our hMPV/PIV3 vaccine, for further development as a combination RSV/hMPV/PIV3 vaccine.
Epstein-Barr Virus vaccine (mRNA-1189): Summary
Our EBV vaccine seeks to prevent the development of infectious mononucleosis and EBV infection.
EBV, a member of the herpesvirus family that includes CMV, infects approximately 90% of people by adulthood, with primary infection typically occurring during childhood and late adolescence (approximately 50% and 89% seropositivity, respectively) in the U.S. EBV is the major cause of infectious mononucleosis (“IM”) in the U.S., accounting for over 90% of the approximately 1-2 million cases of IM in the U.S. each year. IM can debilitate patients for weeks to months and, in some cases, can lead to hospitalization and splenic rupture. EBV infection is associated with the development and progression of certain lymphoproliferative disorders, cancers, and autoimmune diseases. In particular, EBV infection and IM are associated with increased risk of developing multiple sclerosis (“MS”), an autoimmune disease of the central nervous system. There is no approved vaccine or effective treatment for EBV. Similar to CMV, EBV has lytic and latent stages in its lifecycle and contains on its surface (envelope) multiple glycoproteins and glycoprotein complexes (gp350, gH/gL, gH/gL/gp42 and gB) that mediate virus entry and infection in different cell types. EBV gp350 mediates attachment to B cells through binding to the complement receptor 2 (“CR2”), followed by binding of the viral gH/gL/gp42 complex to human leukocyte antigen (“HLA”) class II. Infection of epithelial cells instead requires binding of gH/gL to a

56

Table of Contents

different set of receptors. For both B cell and epithelial cell entry, binding of an EBV gH/gL complex to a cell-specific receptor leads to activation of gB, which in turn facilitates virus-cell-membrane fusion and infection. gH/gL and gB comprise the core viral-fusion machinery conserved across all herpesviruses.
Similar to our CMV vaccine (mRNA-1647) product concept, we used our platform to generate an mRNA vaccine containing five mRNAs encoding for gp350, gB, gH, gL, and gp42, which are expressed in their native membrane-bound conformation for recognition by the immune system. We have observed preclinical immunogenicity in the form of high and durable levels of antigen-specific antibodies against both B cell and epithelial cell infection in mice and in non-human primates (“NHPs”). We intend to conduct a Phase 1 trial to test the safety and immunogenicity of the vaccine to understand its potential to prevent primary infection, and prevent IM following EBV infection, in seronegative adults.
Epstein-Barr Virus: Disease overview
EBV is the major cause (approximately 90%) of IM and has been associated with the development of a range of malignancies and autoimmune disorders.
EBV is a common herpesvirus that is spread through bodily fluids, most commonly saliva, and is contracted primarily by young children and adolescents. Adolescents and young adults seroconvert at high rates, particularly in college-aged populations (approximately 10-25% per year) resulting a seroprevalence of approximately 90% by the age of 20. After primary infection, the virus establishes latency and persists in that state for life in most infected individuals. The virus can reactivate intermittently over time even in immunocompetent hosts. The virus usually infects resting B cells in the oropharynx or epithelial cells, which line the mucosal surfaces of the body and in turn infect B cells. B cells disseminate systemically and act as a reservoir for latent virus. Primary infection can cause IM in 35% to 75% of instances, depending on age, and is characterized by symptoms requiring physician visits, including sore throat, lymph node swelling, fever, body aches and fatigue, often resulting in months of missed work and school for patients and caregivers.
There is currently no approved vaccine against EBV, but the potential of gp350 alone to reduce the rate of IM has already been clinically demonstrated. An experimental vaccine, developed by others, consisting of adjuvanted recombinant gp350 protein led to a reduction in the incidence of IM in 78% of the participants in a Phase 2 study of 181 healthy volunteers between the ages of 16-25. However, there was no significant difference between groups in protection against asymptomatic EBV infection. We believe that the addition of gH/gL and gB has the potential to provide protection against epithelial cell infection. We believe the immune response against gp350, gH/gL or gB has the potential to provide B cell protection, which may be further enhanced by the inclusion of gp42. By preventing infection in epithelial cells and B cells, this mRNA vaccine has the potential not only to significantly reduce the rate of IM, but also to prevent EBV infection.
EBV infection is associated with increased risk of developing certain cancers and multiple sclerosis. In Western industrialized countries, EBV is implicated in the development of post-transplant lymphoproliferative disorder conditions as well as multiple cancers, including Hodgkin’s lymphoma. Additionally, in those seropositive for EBV, development of infectious mononucleosis is associated with a greater than 2-fold increased relative lifetime risk of developing multiple sclerosis. In East Asia, EBV is associated with 80-99% of nasopharyngeal carcinomas that arise. In Africa, EBV is implicated in the development of approximately 95% of cases of endemic Burkitt’s lymphoma. Together, approximately 1.5% of worldwide cancer deaths are attributable to EBV-associated malignancies.
 

57

Table of Contents

EBV vaccine (mRNA-1189): Our product concept
We are developing a vaccine with multiple antigens designed to prevent development of infectious mononucleosis and EBV infections.
Similar to our CMV vaccine (mRNA-1647) product concept, we believe that an effective EBV vaccine must generate an immune response to antigens that are required for viral entry in most of the susceptible cell types. We have thus designed our EBV vaccine, mRNA-1189, to elicit an immune response to EBV envelope glycoproteins gp350 as well as gB, gp42, and the gH/gL complex, which are required for infection of both epithelial and B cells. mRNA-1189 contains five mRNAs encoding the viral proteins gp350, gB, gp42, gH, and gL encapsulated in our proprietary LNPs. Proteins translated from our mRNA will be displayed on the cell surface in their native conformation, stimulating the production of neutralizing antibodies. By training the immune system to recognize and neutralize the machinery used to infect B and epithelial cells, we believe that our vaccine has the potential to prevent EBV primary infection and therefore the development of IM. Further, in the long-run, should our EBV vaccine be approved, we may pursue post-marketing and population studies to potentially evaluate its impact on other EBV-associated diseases. Our EBV vaccine utilizes the same proprietary platform technology as our CMV vaccine (mRNA-1647), which was generally well-tolerated and demonstrated durable neutralizing antibody titers higher than those measured in CMV-seropositive patients following up to three doses of mRNA-1647 in our Phase 1 trial.

bx10.jpg

EBV vaccine (mRNA-1189): Preclinical information
We have demonstrated the ability to induce antibodies against EBV antigens required for viral entry into B cells and epithelial cells.
Naïve Balb/c mice were given two doses of a vaccine against EBV antigens in combination approximately four weeks apart. Antibody titers against viral proteins involved in epithelial cell entry (gH/gL and gB) or B cell entry (gp350, gH/gL and gB) were measured in peripheral blood at day 57. Results shown here represent five animals per group and demonstrate high levels of antigen-specific immunoglobulin G (“IgG”) as compared to negative controls.

58

Table of Contents

Day 57 post-vaccination
bx12.jpg
EBV vaccine (mRNA-1189): Clinical plan
We are planning a Phase 1 clinical trial to test the safety and immunogenicity of mRNA-1189 in seronegative adults.
We intend to conduct a Phase 1 trial to test the safety and immunogenicity of the vaccine to understand its potential to prevent primary infection, and prevent IM following EBV infection, in seronegative adults.



59

Table of Contents

PROPHYLACTIC VACCINES: GLOBAL HEALTH PROGRAMS
Our global health portfolio for prophylactic vaccines seeks to leverage our mRNA technology to address epidemic and pandemic diseases. We are currently working with strategic collaborators such as BARDA, DARPA, and NIH to fund and support our programs within this area. The first programs in this portfolio, H10N8 vaccine and H7N9 vaccine, helped identify and overcome the technical challenges with mRNA vaccines and could eventually address pandemics for these viruses. We have also gone from mRNA sequence to a first-in-human trial for Zika vaccine in twelve months. As we continue to build infrastructure and capabilities in the Research Engine and Early Development Engine, we believe we can help address future pandemics rapidly. Given current funding and priorities, the influenza H10N8 vaccine (mRNA-1440) and chikungunya vaccine (mRNA-1388) are being deprioritized at this time, contingent upon future funding. Discussions on funding the Company’s influenza H7N9 vaccine program through approval are ongoing.
Through investment in our platform and manufacturing technology, we have established the capability to design and manufacture small batches of cGMP vaccines within 60 days. This has been clinically demonstrated by our Personalized Cancer Vaccine (“PCV”) program (mRNA-4157), for which we have demonstrated the ability to manufacture and release a “custom-designed” vaccine for an individual patient within 60 days of sequencing the patient’s tumor. We believe that this capability can be applied to rapidly produce clinical supply of mRNA vaccine candidates for early clinical studies. In collaboration with the Vaccine Research Center (“VRC”) and Division of Microbiology and Infectious Diseases (“DMID”) of the National Institute of Allergy and Infectious Diseases (“NIAID”), part of the National Institutes of Health (“NIH”), as well as the Coalition for Epidemic Preparedness Innovations (“CEPI”), we are pursuing the rapid manufacture of a vaccine to address the current SARS-CoV-2 outbreak. We have leveraged our learnings across our vaccines to design and manufacture clinical supplies for our SARS-CoV-2 vaccine in 25 days. SARS-CoV-2 was first identified in Wuhan, China on January 7, 2020.
SARS-CoV-2 vaccine (mRNA-1273): Summary
In collaboration with the NIH and CEPI we are rapidly developing a vaccine to address the SARS-CoV-2 outbreak.
In collaboration with the NIH and CEPI, we are applying our platform for rapid vaccine design and manufacture to produce a vaccine against SARS-CoV-2 virus in response to the currently emerging outbreak of SARS-CoV-2. SARS-CoV-2 is a novel coronavirus that has infected thousands of people since identification on January 7, 2020, spreading to multiple continents. In collaboration with the VRC, we are developing an mRNA-based vaccine designed to express the coronavirus Spike (S) protein based on the genomic sequence of SARS-CoV-2. On January 13, 2020, the NIH and our infectious disease research team finalized the sequence for the SARS-CoV-2 vaccine and we mobilized toward clinical manufacture. As of February 24, 2020, the first clinical batch has been shipped to and received by the NIH for use in their planned Phase 1 clinical trial in the U.S.
SARS-CoV-2: Disease overview
SARS-CoV-2 is a novel coronavirus with demonstrated animal-to-human and human-to-human transmission that has spread rapidly from China to multiple continents.
Coronaviruses are a family of viruses that can lead to respiratory illness, including Middle East Respiratory Syndrome (“MERS”) and Severe Acute Respiratory Syndrome (“SARS”). Coronaviruses are transmitted between animals and people and can evolve into strains not previously identified in humans. On January 7, 2020, SARS-CoV-2 was identified as the cause of pneumonia cases in Wuhan, China, and additional cases have been found in a growing number of countries.
Estimates from the World Health Organization as of February 19, 2020 indicate that there are approximately 75,000 confirmed cases in at least 25 countries and over 2,000 deaths worldwide. The suspected number of infections is likely to be substantially higher. It is important to note that there is not yet a good understanding of the rate of asymptomatic infection. Currently, there are no approved vaccines specific to SARS-CoV-2.
SARS-CoV-2 vaccine (mRNA-1273): Our product concept
We are developing a vaccine against the Spike protein complex to prevent SARS-CoV-2 infection.
In collaboration with the VRC, we have selected the viral Spike protein as the antigen for our SARS-CoV-2 vaccine (mRNA-1273). Our vaccine includes mRNA encoding the Spike protein, which we believe will form a homotrimeric complex on the cell surface as it does when expressed on the surface of coronavirus particles. The Spike protein complex is necessary for membrane fusion and host cell infection and has been the target of experimental vaccines against the coronaviruses responsible for MERS and SARS. We are leveraging our manufacturing platform to respond rapidly to the ongoing public health crisis.

60

Table of Contents

SARS-CoV-2 vaccine (mRNA-1273): Representative preclinical information regarding a related coronavirus, MERS
We have demonstrated the ability to induce neutralizing antibodies that confer protection against viral challenge with a related coronavirus, MERS.
We have begun evaluating our SARS-CoV-2 vaccine construct in animal models, with further testing of the clinical batch expected shortly. In an existing collaboration with the VRC to develop a vaccine against MERS, we designed an mRNA-based vaccine targeting the prefusion-stabilized Spike protein.
In preclinical studies to assess the immunogenicity of the potential vaccine against MERS, rabbits were dosed with either one or two doses of vaccine (one dose plus a booster at day 21) and then challenged with MERS virus at day 42. At day 46, MERS viral load was measured in the throat and nose, and via bronchoalveolar lavage (“BAL”). We observed induction of neutralizing antibodies which were sufficient to affect an approximately 3-log reduction in viral titers in the nose, and approximately 4-log reduction in viral titers detected from BAL. Viral titers in the throat were reduced to the lower limit of detection.
 
MERS neutralizing antibody titer
 
MERS viral load
Day 46 (4 days post-challenge)

bx13.jpg bx14.jpg

H10N8 vaccine (mRNA-1440) and H7N9 vaccine (mRNA-1851): Summary
Our H10N8 and H7N9 investigational vaccines demonstrate the potential of our platform to respond to an influenza pandemic
Influenza is one of the most variable and deadly infectious diseases, ranging from 12,000-56,000 deaths per year in the United States alone. The antigens in circulating seasonal influenza strains change slightly, which is called antigenic drift, from one year to the next, necessitating a change in the vaccine to match the new strains. Potential pandemic influenza strains can arise very quickly from substantial changes in antigens, which is called antigenic shift, and because pre-existing immunity is nonexistent in some populations, they can be pathogenic. Addressing a potential pandemic requires the ability to produce an effective vaccine rapidly. We believe that our platform enables the rapid development of safe and effective vaccines. As a proof of concept, we developed vaccines for H10N8 and H7N9 avian influenza strains, where there is a quantitative correlate for protection in humans (hemagglutinin inhibition, or HAI, titer of > 1:40). We have observed tolerability and immunogenicity in Phase 1 clinical trials for both mRNA vaccines for H10N8 and H7N9 and have published preclinical and interim clinical data for H10N8 in Molecular Therapy in 2017 and Phase 1 results for H10N8 and H7N9 in Vaccine in 2019. We do not intend to progress these programs through clinical development on our own. We may advance these programs with government or other grant funding.
H10N8 vaccine (mRNA-1440) and H7N9 vaccine (mRNA-1851): Disease overview
Traditional vaccines cannot respond easily to a new influenza pandemic
Influenza A is an RNA virus, with a genome packed into eight individual gene segments that code for at least eleven functional proteins needed for infection, replication, and evasion of host antiviral responses. The two major glycoproteins expressed on the surface of the virion are hemagglutinin, or HA, and neuraminidase, or NA, both of which are crucial for infection. HA mediates viral entry into host cells by binding to sialic acid containing receptors on the host cell surface and causing fusion of viral and host endosomal membranes. NA mediates enzymatic cleavage of the viral receptor at late stages of infection, allowing for the release of progeny virions.

61

Table of Contents

Influenza A viruses infect a variety of species, including birds, pigs, sea mammals, and humans. Wild aquatic birds serve as the reservoir of influenza A viruses infecting avian and mammalian species. Although many of these viruses are non-pathogenic in birds and most do not infect humans, in recent decades, some avian influenza viruses such as H10N8 and H7N9 have crossed the species barrier to cause human disease.
There have been five epidemics of human infection due to H7N9, totaling over 1,500 cases, with mortality rates of 34-47%. To date, there have been three reported cases of H10N8, of which two have been fatal. For both H10N8 and H7N9, severe or fatal infections are characterized by rapid progression to respiratory failure within days of initial symptoms.
There are efforts ongoing to develop a H7N9 vaccine and a universal influenza vaccine that covers H10N8. However, we believe the use of traditional methods to produce these vaccines can lead to several shortcomings in the vaccine. These include:
production of vaccines in eggs requires selection of vaccine-virus strains that can be grown in eggs and this strain may not always match the pandemic strain; and
growth of the virus in eggs has also been shown to induce structurally relevant mutations that can negatively impact vaccine potency.
H10N8 vaccine (mRNA-1440) and H7N9 vaccine (mRNA-1851): Our product concept
Our platform can bring mRNA encoding for influenza HA antigen to clinical testing rapidly
Our H10N8 and H7N9 influenza vaccine programs are each based on the mRNA sequence for the cell viral HA membrane protein in a legacy LNP. mRNA-1440 encodes for the HA protein of the H10N8 strain and mRNA-1851 encodes for the HA protein of the H7N9 strain.
We believe that mRNA technology offers several advantages to traditional approaches of producing these vaccines, including:
short time period between strain selection and when the vaccine can be made available; this is enabled by intrinsic features of mRNA and the infrastructure we have built, allowing for shorter research and development and time to manufacture;
potential improved vaccine efficacy by avoidance of egg-based manufacture; this prevents the antigenic mismatch due to egg-adapted strains;
potential for improved efficacy by way of improved antigen presentation; an mRNA vaccine, upon administration to a cell, produces the antigen in its natural conformation; and
combination of multiple antigens into a single vaccine, allowing one to target multiple strains if needed; one of the intrinsic features of mRNA is the ability to utilize multiple mRNA sequences so that the cell produces multiple antigens at the same time.
H10N8 vaccine (mRNA-1440) and H7N9 vaccine (mRNA-1851): Preclinical information
We have observed immunogenicity of our mRNA H10N8 vaccine in multiple species
The level of a vaccine’s protection against influenza infection is traditionally measured using the HAI assay. The European Medicines Agency, or EMA, and U.S. Food and Drug Administration, or FDA, have endorsed HAI titers of > 1:40 to indicate an antibody level considered to be 50% protective against infection. This benchmark was based on data from inactivated vaccines and varies with age group and setting.
Proof-of-concept for the use of mRNA vaccines encoding the HA protein from H10N8 has been demonstrated in murine studies. After a single dose of H10N8 vaccine, mice exhibited antibody production sufficient to achieve HAI titers of > 1:40, which is regarded as a quantitative correlate for protection from influenza. Supporting immunogenicity data in ferrets and cynomolgus monkeys for the H10N8 vaccine have also been published by us in Molecular Therapy in 2017.
We have also observed immunogenicity of our mRNA H7N9 vaccine in multiple species
Proof-of-concept for the use of mRNA vaccines encoding the HA protein from H7N9 influenza A virus has been demonstrated in murine studies. After vaccination with mRNA vaccines, mice exhibited antibody production sufficient to achieve HA inhibition titers of > 1:40. Additionally, a single dose of H7N9 vaccine protected 100% of mice from a lethal challenge with H7N9 virus even 84 days after completion of immunization. In a ferret study where H7N9 vaccine was administered intradermally, a reduction in

62

Table of Contents

lung viral titers was observed when ferrets were challenged 7 days post immunization. Supporting immunogenicity data in cynomolgus monkeys have also been reported by us in Molecular Therapy in 2017.
H10N8 vaccine (mRNA-1440) and H7N9 vaccine (mRNA-1851): Clinical data
The Phase 1 clinical trial for H10N8 in Germany has been completed and we have generated safety and tolerability data and demonstrated immunogenicity
The results of the Phase 1 trial for H10N8 vaccine were reported by us in Vaccine in 2019. The trial met its objectives of describing the safety and tolerability profile of mRNA-1440 vs. placebo including capturing solicited and unsolicited local and systemic adverse events. The Phase 1 trial for H10N8 vaccine has also demonstrated immunogenicity and we have observed 100% of the subjects demonstrating hemagglutinin inhibition, or HAI, titer > 1:40 at day 43 (21 days post-second vaccination) for the 100 µg dose where HAI > 1:40 is regarded as a quantitative correlate for protection from influenza. We believe the data provides support to advance the program in clinical development if we choose to with additional government or other funding. In this randomized, double-blind, placebo-controlled, dose-ranging study, we evaluated safety and immunogenicity of IM dose levels of 25, 50, 75, 100, and 400 µg on a two-dose vaccination schedule on Day 1 and Day 21. We also evaluated intradermal, or ID, dose levels of 25 and 50 µg on a two-dose vaccination schedule on Day 1 and Day 21. The study objectives were safety, tolerability, and immunogenicity by HAI, and microneutralization, or MN, assays. 201 subjects were enrolled in this study, of which 145 received IM vaccination and 56 received ID vaccination. Of the 145 subjects in the IM vaccination group, there were 30, 30, 24, 23, and 3 subjects in the 25, 50, 75, 100, and 400 µg dose level groups, respectively. Thirty-five subjects received the placebo. The Phase 1 trial was conducted with the name of the intervention listed as VAL-506440, in accordance with our legacy naming convention. We have since changed our naming convention and have adopted mRNA-1440 in place of VAL-506440.
Doses up to 100 µg administered IM demonstrated immunogenicity in the Phase 1 trial. The 75 µg cohort was started later and we chose not to proceed with its completion because the safety, tolerability, and immunogenicity data generated supported further development of the 100 µg dose. Intradermal vaccination was associated with high rates of solicited adverse events, or AEs (mainly injection site reactions), and we elected to discontinue enrollment of the ID cohorts.
Geometric mean titers, or GMTs, in the participants who received a two-dose IM series of the H10N8 vaccine at doses of 25, 50, and 100 µg at day 43 are shown in panel A of the figure below. Also, for those doses, 34.5%, 55.2%, and 100% of the participants, respectively, reached HAI titers > 1:40 at day 43 as shown in panel B of the figure below.
HAI GMT for H10N8 vaccine (mRNA-1440) in Phase 1 clinical trial
a0001193125183449821_image53.jpg
Panel (A)

63

Table of Contents

Percent of subjects with HAI >1:40 at day 43 with H10N8 vaccine (mRNA-1440) in Phase 1 clinical trial
a0001193125183449821_image54.jpg
Panel (B)
The 100 µg dose showed 100% seroconversion. For this dose, we observed persistence in HAI titer six months after the second dose, with a HAI geometric mean titer of 13.9 and 95.6% of participants remaining seropositive (HAI titer > 1:10) as shown in the figure below.
HAI antibody persistence at 100 µg dose for H10N8 vaccine (mRNA-1440) in Phase 1 clinical trial
a0001193125183449821_image55.jpg
Overall, up to the 100 µg IM dose, mRNA-1440 was well tolerated. A detailed list of the solicited adverse events, or solicited AEs, is provided in the table below. In the 400 µg IM dose group, two out of the three participants developed severe solicited adverse reactions (erythema, headache) within 24 hours of the first vaccination. These events met pre-specified study pause rules, and after safety committee review, further vaccinations at this dose level were stopped. These events resolved spontaneously without the need for medical intervention or medications.
Three severe unsolicited AEs (separately back pain, tonsillitis, and ruptured ovarian cyst) and 2 serious AEs, or SAEs, (separately cholecystitis and ruptured ovarian cyst) were reported and deemed unrelated to mRNA-1440. 124 unsolicited AEs were reported in the IM groups. The most common unsolicited AEs were upper respiratory tract infection, back pain, pharyngitis, and oropharyngeal pain. No adverse event of special interest, or AESIs, or cases of new onset of chronic illness were reported.

64

Table of Contents

Solicited adverse events for H10N8 vaccine at all dose levels within 7 days after each IM vaccination on days 1 and 22* 
 
25 µg
 
50 µg
 
100 µg
 
Placebo
Dose 1
n=30
 
n=30
 
n=23
 
n=35
Injection site pain
23, 76.7 (0)
 
25, 83.3 (0)
 
19, 82.6 (0)
 
2, 5.7 (0)
Erythema
1, 3.3 (0)
 
0
 
3, 13.0 (0)
 
0
Injection site swelling
2, 6.7 (0)
 
5, 16.7 (0)
 
3, 13.0 (0)
 
0
Headache
5, 16.7 (0)
 
12, 40.0 (0)
 
7, 30.4 (0)
 
5, 14.3 (0)
Fatigue
8, 26.7 (0)
 
13, 43.3 (0)
 
8, 34.8 (0)
 
7, 20.0 (0)
Myalgia
16, 53.3 (0)
 
17, 56.7 (0)
 
12, 52.2 (0)
 
1, 2.9 (0)
Arthralgia
0
 
2, 6.7 (0)
 
2, 8.7 (0)
 
1, 2.9 (0)
Nausea
0
 
1, 3.3 (0)
 
1, 4.3 (0)
 
0
Fever
1, 3.3 (0)
 
1, 3.3 (0)
 
2, 8.7 (0)
 
0
Dose 2
n=28
 
n=29
 
n=23
 
n=27
Injection site pain
22, 78.6 (0)
 
27 93.1 (0)
 
20, 87.0 (0)
 
3, 11.1 (0)
Erythema
0
 
0
 
4, 17.4 (8.7)
 
0
Injection site swelling
2, 7.1 (0)
 
4, 13.8 (0)
 
3, 13.0 (4.3)
 
0
Headache
4, 14.3 (0)
 
14, 48.3 (0)
 
16, 69.6 (0)
 
6, 22.2 (3.7)
Fatigue
8, 28.6 (0)
 
13, 44.8 (0)
 
11, 47.8 (0)
 
4, 14.8 (0)
Myalgia
14, 50.0 (0)
 
17, 58.6 (0)
 
11, 47.8 (0)
 
1, 3.7 (0)
Arthralgia
0
 
2, 6.9 (0)
 
7, 30.4 (0)
 
1, 3.7 (0)
Nausea
1, 3.6 (0)
 
1, 3.4 (0)
 
3, 13.0 (0)
 
0
Fever
1, 3.6 (0)
 
2, 6.9 (0)
 
4, 17.4 (0)
 
1, 3.7 (0)
* 
Data represent n, % with solicited AEs (% with severe solicited AEs) in the safety population; 75 µg dose group not shown (2 participants had severe solicited AEs of fatigue and injection site swelling following first vaccination, and no participants received dose 2); 400 µg dose group not shown.
The Phase 1 clinical trial for H7N9 vaccine in the United States has ended and we have generated safety and tolerability data and demonstrated immunogenicity
The results of the Phase 1 trial for H7N9 vaccine were reported by us in Vaccine in 2019. The trial has met its objectives of assessing the safety and tolerability profile of mRNA-1851 vs. placebo including capturing solicited and unsolicited local and systemic adverse events. The Phase 1 trial for H7N9 vaccine has also demonstrated immunogenicity and we have observed 96% of the subjects demonstrating HAI titer > 1:40 at day 43 (21 days post-second vaccination) for the 25 µg dose where HAI > 1:40 is regarded as a quantitative measure for protection from influenza. We believe the data provides support to advance the program in clinical development if we choose to with additional government or other funding. This randomized, double-blind, placebo-controlled, dose-ranging study evaluated intramuscular, or IM, dose levels of 10, 25, and 50 µg using two vaccination schedules (Day 1, Day 22 and Day 1, Month 6). The objectives were safety, tolerability, and immunogenicity by HAI and MN assays. 156 subjects were enrolled in this study. 30 subjects per dose cohort received two doses of 10 µg, 25 µg, and 50 µg at days 1 and 22. 10 subjects per dose cohort received one dose of 10, 25, and 50 µg at day one and a total of 9 of those subjects received a second dose at 6 months (data not shown). Thirty-six subjects received placebo. A total of 10 subjects withdrew from the study. The Phase 1 trial was conducted with the name of the intervention listed as VAL-339851, in accordance with our legacy naming convention. We have since changed our naming convention and have adopted mRNA-1851 in place of VAL-339851.
Doses up to 50 µg administered IM to patients who received vaccinations on Day 1 and Day 22 in this Phase 1 clinical trial demonstrated immunogenicity.

65

Table of Contents

Geometric mean titers in the participants who received a two-dose IM vaccination series on Day 1 and Day 22 at doses of 10, 25, and 50 µg are shown in panel A of the figure below. Also, for those doses, 36.0%, 96.3%, and 89.7% of the participants respectively reached HAI titers > 1:40 at day 43 as shown in panel B of the figure below.
HAI GMT for H7N9 vaccine (mRNA-1851) in Phase 1 clinical trial
bx31.jpg
Panel (A)

Percent of subjects with HAI > 1:40 at day 43 with H7N9 vaccine (mRNA-1851) in Phase 1 clinical trial

a0001193125183449821_image57.jpg
Panel (B)

66

Table of Contents

The 25 µg dose achieved 96% seroconversion. For this dose, we observed persistence in HAI titers six months after the second dose. HAI GMT decreased but remained above HAI titer level of 10 as shown in the figure below. In addition, 52% of participants remained seropositive (HAI titer > 1:10) at six months.
HAI antibody persistence at 25 µg dose for H7N9 vaccine (mRNA-1851) in Phase 1 clinical trial
g18a17.jpg

Overall, up to the 50 µg IM dose of mRNA-1851 was well tolerated. A detailed list of the solicited AEs is provided in the table below. The majority of possibly- and probably-related unsolicited AEs were >  grade 2 laboratory abnormalities and occurred at similar rates in vaccine and placebo groups. Four severe unsolicited AEs were deemed possibly related to vaccination: two cases of increased alanine aminotransferase (one 50 µg, one placebo), one case of increased aspartate aminotransferase (50 µg), and one case of thrombocytopenia (placebo). All cases were asymptomatic and resolved without intervention. Five SAEs (separately unintentional firearm-related death, testicular cancer, pancreatitis, facial cellulitis, and exacerbated hypertension) were reported and deemed unrelated to mRNA-1851. 124 unsolicited AEs were reported in the IM groups. The most common unsolicited AEs were upper respiratory tract infection, back pain, pharyngitis, and oropharyngeal pain. No AESIs or cases of new onset of chronic illness were reported.

67

Table of Contents

Solicited adverse events for H7N9 at all dose levels within 7 days after each IM vaccination on days 1 and 22* 
 
10 µg
 
25 µg
 
50 µg
 
Placebo
Dose 1
n=30
 
n=30
 
n=30
 
n=36
Injection site pain
22, 73.3 (0)
 
17, 56.7 (0)
 
24, 80.0 (6.7)
 
5, 13.9 (0)
Erythema
0
 
0
 
0
 
0
Injection site swelling
5, 16.7 (0)
 
5, 16.7 (0)
 
9, 30.0 (0)
 
2, 5.6 (0)
Headache
5, 16.7 (0)
 
5, 16.7 (0)
 
7, 23.3 (6.7)
 
6, 16.7 (0)
Fatigue
1, 3.3 (0)
 
4, 13.3 (0)
 
3, 10.0 (0)
 
2, 5.6 (0)
Myalgia
3, 10.0 (0)
 
6, 20.0 (0)
 
8, 26.7 (0)
 
6, 16.7 (0)
Arthralgia
2, 6.7 (0)
 
3, 10.0 (0)
 
3, 10.0 (0)
 
4, 11.1 (0)
Nausea
1, 3.3 (0)
 
1, 3.3 (0)
 
1, 3.3 (0)
 
1, 2.8 (0)
Fever
0
 
1, 3.3 (0)
 
0
 
0
Dose 2
n=30
 
n=30
 
n=30
 
n=36
Injection site pain
14, 46.7 (0)
 
13, 43.3 (0)
 
22,
73.3 (10.0)
 
2, 5.6 (0)
Erythema
0
 
0
 
0
 
0
Injection site swelling
3, 10.0 (0)
 
6, 20.0 (0)
 
6, 20.0 (0)
 
1, 2.8 (0)
Headache
3, 10.0 (0)
 
2, 6.7 (3.3)
 
8, 26.7 (6.7)
 
1, 2.8 (0)
Fatigue
1, 3.3 (0)
 
3, 10.0 (0)
 
4, 13.3 (0)
 
0
Myalgia
3, 10.0 (0)
 
4, 13.3 (0)
 
8, 26.7 (3.3)
 
0
Arthralgia
2, 6.7 (0)
 
1, 3.3 (0)
 
6, 20.0 (3.3)
 
0
Nausea
0
 
0
 
1, 3.3 (0)
 
0
Fever
0
 
0
 
6, 20.0 (6.7)
 
0
*Data represent n, % with solicited AEs (% with severe solicited AEs)
Zika vaccine (mRNA-1893): Summary
In collaboration with BARDA, we have advanced a second generation Zika vaccine candidate to Phase 1
Zika is an infectious disease caused by the Zika virus, in which infection during pregnancy has been linked to severe brain damage in infants with congenital infection and Guillain-Barré Syndrome in adults. To date, no vaccine to prevent Zika infection has been approved. In September 2016, we were awarded a contract with BARDA to be reimbursed up to approximately $125.0 million for the development of a Zika mRNA vaccine. In order to rapidly respond to a potential epidemic, we developed a Zika vaccine, mRNA-1325, which went from mRNA sequence design to first-in-human clinical testing in twelve months. In addition, we also developed a second Zika vaccine, mRNA-1893. mRNA-1893, at 1/20 of the dose, demonstrated better protection in non-human primates, as compared to mRNA-1325. mRNA-1893 is in a Phase 1 trial in the United States. As of February 12, 2020, we have enrolled 90 subjects in the Phase 1 trial.
Zika vaccine (mRNA-1893): Disease overview
We faced a Zika epidemic in 2015 for which there were no vaccines or treatments
The Zika virus is a single stranded RNA virus of the flaviviridae family. It was first isolated in a rhesus macaque in the Zika Forest, Uganda in 1947 and the first human case was documented in 1952. Seroepidemiology data suggest that it is endemic to regions of Africa and Asia where the Aedes mosquito vectors are found. Zika virus is predominantly spread by mosquitos from the Aedes genus, but it can also be transmitted congenitally, sexually, and through blood donation.
In 2007, a Zika infection outbreak progressed across the Pacific islands. It arrived in Brazil in 2015 and the epidemic spread across the Americas. This led to the World Health Organization, or WHO, declaring it a public health emergency of international concern in 2016. During the period, there were tens of thousands of cases of microcephaly and congenital Zika syndrome reported in infants and of resulting neurological sequelae such as Guillain-Barré syndrome reported in adults.
Zika infection is usually asymptomatic or mild in adults, leading to fever, rash, and conjunctivitis. However, infection of women during pregnancy can result in devastating microcephaly in newborns. Microcephaly is a birth defect characterized by an abnormally small head and brain, associated with lifelong neurodevelopmental delay, seizures, intellectual disability, balance

68

Table of Contents

problems, and dwarfism / short stature, resulting in significant disability and requiring lifelong support. To date, over one million cases of Zika have been officially reported in Latin America. Since most of the cases are asymptomatic, we believe the actual number of cases may be far higher. International travel means that Zika infection has the potential to take on global significance. While the number of cases has declined in the past couple of years, there is currently no treatment or vaccine available for the Zika virus to prevent and respond to potential future epidemics.
Currently, there is no approved vaccine for Zika. Designing and synthesizing conformationally correct protein antigen vaccines, attenuated or vectored live viral vaccines, or inactivated vaccines is time consuming and challenging. These traditional vaccine approaches have therefore found it difficult to respond fast enough to the emerging Zika epidemic.
Zika vaccine (mRNA-1893): Our product concept
We advanced a complex antigen to the clinic in twelve months and followed up with a next generation vaccine
We believe our platform allows for rapid development of mRNA vaccines with complex, immunogenic antigens faster than traditional vaccines. In order to rapidly deploy an mRNA vaccine for Zika, we leveraged available sequences and legacy LNPs to develop mRNA-1325. mRNA-1325 contains a sequence encoding for structural proteins in the Zika virus. The intended design is for translation of a polyprotein and processing inside the cell to make a secreted virus-like particle, or VLP. This process mimics the response of the cell after natural infection as shown in the figure below.
a190309zikaourproductconcept.jpg
Continued efforts at identifying different mRNA sequences with improved immunogenicity led to mRNA-1893, a sequence distinct from mRNA-1325 that increases production of Zika VLPs and generates enhanced immunogenicity and protection in preclinical animal models compared to mRNA-1325. mRNA-1893 is also formulated in our proprietary LNP.
Zika vaccine (mRNA-1893): Preclinical information
We have observed and published our immunogenicity data for our Zika vaccine
The mRNA sequences for mRNA-1325 and mRNA-1893 have been tested in mice and non-human primates, or NHPs. We have published a subset of these data in the journal Cell in 2017. The mRNA sequence for mRNA-1893 produces equivalent immunogenicity and better protection compared to the sequence used in mRNA-1325 at 1/20 of the dose in NHPs, as shown in the figure below. In this study, mRNA vaccine or placebo was administered intramuscularly in a two-dose vaccination schedule (28 days apart), with five animals included in each group. NHPs were challenged with Zika virus 28 days post-boost, and viral titers were measured post challenge via quantitative PCR. Measurements were quantified in terms of focus forming units.

69

Table of Contents

Sequence for mRNA-1893 provided comparable protection to that of mRNA-1325 in non-human primate challenge study
a0001193125183449821_image60.jpg
Zika vaccine (mRNA-1893): Clinical data
We are conducting a Phase 1 trial for mRNA-1893 in the United States and we will not further develop mRNA-1325
We are currently enrolling in a Phase 1 randomized, observer-blind, placebo-controlled, dose-ranging study to evaluate the safety, tolerability, and immunogenicity of mRNA-1893 in healthy adults (18 to 49 years of age, inclusive) in endemic and non-endemic Zika regions. mRNA-1893 is administered intramuscularly in a two-dose vaccination schedule (28 days apart) at four dose levels (10 µg, 30 µg, 100 µg, and 250 µg). Key objectives of the study include:
To assess the safety, tolerability, and reactogenicity of a 2‑dose vaccination schedule of mRNA-1893 Zika vaccine, given 28 days apart, across a range of dose levels in flavivirus-seronegative and flavivirus-seropositive participants compared with placebo;
To assess the immunogenicity of a range of doses of mRNA-1893 Zika vaccine.

Subjects were randomly assigned in a blinded fashion in an approximate 4:1 ratio to receive mRNA-1893 or placebo at one of four dose levels (10 µg, 30 µg, 100 µg, and 250 µg), with each subject receiving two vaccinations separated by 28 days. Twenty-five of the enrolled participants at each dose level will be flavivirus seronegative and five will be flavivirus seropositive.

70

Table of Contents

slide4.jpg
As of February 12, 2020 we have enrolled 90 subjects with 30 subjects each in the 10 µg, 30 µg, and 100 µg dose cohorts.



71

Table of Contents

II. PROGRAM DESCRIPTIONS IN OUR CANCER VACCINES MODALITY
We designed our cancer vaccines modality to treat or cure cancer by enhancing immune responses to tumor neoantigens, defined below. This modality has two programs currently for neoantigen vaccines, a personalized cancer vaccine, or PCV, program, and a vaccine against neoantigens related to a common oncogene called KRAS, both conducted in collaboration with Merck. The goal of a cancer vaccine is to safely expose the patient’s immune system to tumor related antigens, known as neoantigens, to enable the immune system to elicit a more effective antitumor response. Our cancer vaccines modality is focused on the use of mRNA to express neoantigens found in a particular tumor in order to elicit an immune response via T cells that recognize those neoantigens, and therefore the tumor. These neoantigens can either be unique to a patient, as in the case of our personalized cancer vaccine program, or can be related to a driver oncogene found across subsets of patients, as in the case of our KRAS vaccine program.
Our pipeline is shown in two formats, with a cell map illustrating the diversity of biology addressed by our mRNA pipeline programs, and a traditional format that shows the current stages of development of our pipeline programs, in the section of this Annual Report on Form 10-K titled “Business—Our Pipeline.”
Opportunity
More than 1.6 million new cancer cases and approximately 600,000 deaths due to cancer were predicted in the United States for 2017. Despite the recent success of checkpoint inhibitors, the majority of patients with the most common types of epithelial cancer still do not benefit from checkpoint inhibitors, as many patients still have incomplete or no response to currently available therapies. In addition, treatment resistance is thought to arise from a number of mechanisms, principally the local immunosuppressive effects of cancer cells, which prevent either access to or recognition by T cells.
Recent breakthroughs in cancer immunotherapy, such as checkpoint inhibitors and chimeric antigen receptor T cell therapies, have demonstrated that powerful antitumor responses can be achieved by activating antigen specific T cells. We believe one approach to improve the efficacy of checkpoint inhibitors is to develop vaccines that increase both the number and antitumor activity of a patient’s T cells that recognize tumor neoantigens.
Our approach
We are developing mRNA-based cancer vaccines to utilize the anti-tumor killing capacity of T cells to drive anti-tumor efficacy. Evidence of tumor killing by T cells in treating certain cancers has increased in the last decade with advances in immunotherapies. The immune system’s anti-tumor response relies on T cells recognizing tumor cells as non-self and eradicating these “foreign” cells. Human Leukocyte Antigen, or HLA, complexes are a diverse set of genes, or alleles, that present fragments of proteins from inside (HLA I) or outside (HLA II) cells to the immune system. A person’s HLA type defines what HLA alleles they express and can restrict what antigen may be presented to their immune system. Antigens presented in HLA molecules are recognized by T cell receptors, or TCRs, present on the cell surface of CD4 and CD8 T cells. These two main classes of T cells have distinct mechanisms to potentially attack tumor cells; CD4 cells play an important role in activating other immune cells after recognition of antigens in HLA II molecules, whereas CD8 cells can have direct cytotoxic cell killing capabilities upon recognition of antigens in HLA I molecules. Both cell types have been demonstrated to have important roles in driving an effective anti-tumor immune response.
Over the past three decades there have been many attempts to develop cancer vaccines, few of which have been successful. Key reasons include (1) past attempts were directed against shared “self” non-mutated antigens; (2) nearly all previous attempts utilize peptide fragments to try to mimic peptides displayed by HLA I molecules, this method may not have been able to mimic the natural processing and presentation of antigens by the immune system and therefore may not be recognized; and (3) earlier work was done in the era prior to the benefit of checkpoint inhibitors.
We believe one approach to improve the efficacy of checkpoint inhibitors is to develop vaccines that increase both the number and antitumor activity of a patient’s T cells that recognize tumor neoantigens. Our cancer vaccines modality is focused on the use of mRNA to express neoantigens found in a particular cancer in order to elicit an immune response via T cells that recognize those neoantigens, and therefore the tumor. These neoantigens can either be unique, as in the case of our personalized cancer vaccine program, or can be related to a driver oncogene found across subsets of patients, as in the case of our KRAS vaccine program.

72

Table of Contents

PCV (mRNA-4157 and NCI-4650): Summary
We are collaborating with Merck to use the strength of our platform to develop cancer vaccines with multiple neoantigens unique to each patient, also known as personalized cancer vaccines, or PCVs
Recent breakthroughs in cancer immunotherapy have demonstrated that powerful antitumor responses can be achieved by activating antigen specific T cells in a variety of cancer settings. Despite these advances, many patients still have incomplete or no response to anti-cancer therapies. One approach is to administer a cancer vaccine that encodes for peptides containing mutations found in their cancer, i.e., to create a personalized cancer vaccine composed of neoantigens unique to a patient’s tumor. Previous attempts have demonstrated the ability of mRNA and peptide-based platforms to drive immune responses toward patient-specific neoantigens. Preclinical studies have shown that the combination of cancer vaccines with checkpoint inhibitors provides improved benefit over single-agent therapies. Our platform is positioned for bringing personalized cancer vaccines to patients with our proprietary in silico design of each patient’s neoantigen-based mRNA vaccine, to be coupled with our automated cell-free manufacturing processes and infrastructure based in our MTC facility in Norwood, MA, as well as our digital infrastructure. We believe these attributes coupled with our proprietary LNPs help differentiate our approach from ongoing efforts at developing mRNA-based cancer vaccines. mRNA-4157 is administered either as monotherapy, or in combination with pembrolizumab, marketed in the United States as KEYTRUDA. This is in collaboration with Merck as governed by a joint steering committee. NCI-4650 is a personalized cancer vaccine being tested by the National Cancer Institute, or NCI, as a monotherapy for patients with advanced, metastatic cancers. NCI-4650 differs from mRNA-4157 in its neoantigen selection process. mRNA-4157 has a Phase 1 trial ongoing in the United States and Phase 2 trial ongoing in the United States and Australia. The NCI-4650 Phase 1 trial in the United States was completed in November 2019. As of February 12, 2020, 15 patients with resected solid tumors (melanoma, colon and lung cancers) received mRNA-4157 as adjuvant monotherapy after resection of their primary tumor. An additional 56 patients with metastatic, unresected solid tumors (melanoma, bladder, lung, colon, prostate, head and neck and endometrial cancers) received at least one dose of mRNA-4157 in combination with pembrolizumab. As of June 2019, we have detected antigen specific T cell responses in both the monotherapy arm and in combination with pembrolizumab. We have also observed clinical activity in some patients receiving mRNA-4157 in combination with pembrolizumab. We and our strategic collaborator Merck have a Phase 2 trial of adjuvant mRNA-4157 in combination with pembrolizumab in patients with melanoma ongoing.
PCV (mRNA-4157 and NCI-4650): Our product concept
Rapid, personalized current good manufacturing practice, or cGMP, manufacturing to bring personalized cancer vaccines to patients
As tumors grow they acquire mutations, some of which create new protein sequences, or neoantigens, that can be presented on HLA molecules in the tumor and recognized as non-self by T cells. These neoantigens can be shared, as in mRNA-5671, or are completely unique to an individual patient’s tumor. In addition to the neoantigens being unique and patient specific, the presentation of those neoantigens is also dependent on a patient’s specific HLA type. Identification of patient-specific HLA type and tumor neoantigens through next generation sequencing paired with our proprietary, in silico design of each patient’s mRNA vaccine and rapid manufacturing for a specific patient allows us to rapidly deliver a completely unique and personalized medicine to patients.
We believe that antigen-encoded mRNA is an attractive technology platform for neoantigen vaccination for cancer patients for the following reasons:
mRNA vaccines can deliver multiple unique and personalized neoantigens in a single mRNA molecule;
mRNA vaccines unique to each particular patient can be rapidly designed in silico and manufactured with automation in personalized, individual cGMP batches; and
mRNA encoding for neoantigens is translated and processed by patients’ endogenous cellular processing and presentation to the immune system.

73

Table of Contents

Our personalized cancer vaccine program, mRNA-4157, consists of an mRNA that encodes up to 34 neoantigens, predicted to elicit both class I (CD8) and class II (CD4) responses, designed against each individual patient’s tumor mutations and specific to their HLA type. NCI-4650 includes both neoantigens known to be immunogenic as identified through ex vivo experimentation on the patient’s immune cells and neoantigens predicted by the NCI bioinformatics algorithm. For both mRNA-4157 and NCI-4650, the neoantigens are encoded in a single mRNA sequence and therefore termed a neoantigen concatemer. Each patient-specific mRNA-4157 and NCI-4650 is formulated in our proprietary LNPs designed for intramuscular injection. An illustration of the intended design of mRNA-4157 and NCI-4650 is shown in the figure below.
a190207pcv.jpg
Each mRNA-4157 and NCI-4650 is produced using an integrated batch manufacturing process that is the same regardless of the sequence of the neoantigens to be produced. The overall process involves five major steps that are highly integrated and intended to enable a robust chain of custody and chain of identity. An overview of the system is provided in the figure below.
a190207pcvii.jpg
The process includes the following steps:
1.
Tumor sample;
2.
Next generation sequencing, or NGS, of tumor DNA and RNA;
3.
Vaccine design using our proprietary bioinformatics algorithm for up to 34 patient-specific neoantigens;
4.
Manufacture of the designed mRNA; and
5.
Administration of the mRNA to the same patient that provided the tumor sample.

74

Table of Contents

Specifically, for each patient, the tumor sample and peripheral blood samples are collected and immediately sent for NGS analysis. Whole exome sequencing, or WES, data are generated from both the tumor and blood samples, with the blood sample serving as the germline (un-mutated) reference. WES results from the blood sample are also to be used to determine the patient’s HLA-type using an NGS-based approach. The tumor transcriptome is determined by mRNA sequencing, or RNA-Seq. The HLA typing, WES, and RNA-Seq results for each patient are provided as inputs to our proprietary vaccine design algorithm which predicts which neoantigens could be the most immunogenic. The mRNA sequence is then manufactured using an automated workflow to enable a rapid turnaround time. The final drug product is shipped to the clinical site for administration to the same patient that provided the original biopsy.

PCV (mRNA-4157 and NCI-4650): Preclinical information
We have utilized model antigens as surrogates for PCV to demonstrate the ability to elicit a robust T cell response with a single mRNA
We have completed preclinical studies to characterize the ability of an mRNA vaccine to induce a robust and specific T cell response to multiple antigens. Specifically, the ability of our mRNA vaccines to elicit:
Specific and robust T cell responses to murine neoantigens were observed by vaccinating mice with mRNA vaccines that encode previously published immunogenic epitopes from the MC38 mouse tumor cell line and measuring T cell responses to mutant but not wild type antigens. The responses to mRNA vaccination were also significantly higher than responses to the adjuvanted peptide as per a study we conducted. In this study, mice were vaccinated with either empty LNP, adjuvanted peptides corresponding to previously published data or mRNAs encoding the same neoantigen sequences formulated in LNPs. Mice were vaccinated on day 1, 8, and 15 and T cell responses were measured on day 18 using flow cytometry by re-stimulating splenocytes with either control (medium), wild type or mutant (neoantigens) peptides. In an ideal case, one would see a high T cell response when re-stimulated with mutant neoantigen and would not see an equivalent response for re-stimulation with media and wild type peptide. We believe this would indicate a clear specific response for mutant neoantigens with no response to self. As shown in the figure below, the T cell response by mRNA encoding for neoantigens was much higher than that for peptides. The T cell response for mRNA vaccine re-stimulated with wild type was higher than baseline and close to that with control (medium). The T cell responses for mutant peptide were significantly higher than those against wild type peptide.
T-cell response for our mRNA PCV in mouse study
a0001193125183449821_image73.jpg
Specific and robust T cell responses to multiple antigens encoded in a single mRNA sequence. The T cell response after vaccinating mice with mRNA vaccine encoding for 16 specific antigens previously reported to be immunogenic in mice as shown in the figure below. mRNA was formulated in a proprietary LNP and delivered intramuscularly to mice on day 1 and day 8. T cell responses were measured on day 15 by re-stimulating splenocytes with either control (medium) or peptides corresponding to each antigen (1, 2, 6, 9, and 12) in the mRNA vaccine and measured by interferon gamma. Measurements are in spot forming units, or SFU, per 1 million cells per well.

75

Table of Contents

An mRNA concatemer encoding distinct class I (antigens 6, 9, and 12) and class II antigens (antigen 2) can elicit specific T cell responses to each antigen as shown in the figure below.
Unique T cell response to specific antigens encoded by mRNA in mouse study
a0001193125183449821_image74.jpg
PCV (mRNA-4157 and NCI-4650): Clinical data
Our Phase 1 trial for PCV is currently ongoing in the United States and our Phase 2 trial for PCV is currently ongoing in the United States and Australia
The Phase 1 trial is an open-label, multicenter study to assess the safety, tolerability, and immunogenicity of mRNA-4157 alone in subjects with resected solid tumors and in combination with the CPI, pembrolizumab (marketed in the United States as KEYTRUDA), in subjects with inoperable solid tumors. The study is sponsored by us. mRNA-4157 is administered by intramuscular injection on the first day of each 21-day cycle and for a maximum of 9 doses. mRNA-4157 is administered as monotherapy (Part A) or in combination with pembrolizumab (Parts, B, C, and D) in the United States. Four mRNA-4157 dose levels of 0.04 mg, 0.13 mg, 0.39 mg, and 1 mg will be explored in Part A and Part B through dose escalation. The following cancers are being investigated: non-small cell lung cancer (subject to certain entry criteria), small cell lung cancer, melanoma, bladder urothelial carcinoma, human papillomavirus-negative head and neck squamous cell carcinoma, and a variety of solid malignancies.
The key objectives of the study include:
for Part A—To determine the safety and tolerability of mRNA-4157 monotherapy in subjects with resected solid tumors and to assess the immunogenicity of mRNA-4157;
for Parts B, C and D—To determine the safety, tolerability, and recommended Phase 2 dose of mRNA-4157 administered in combination with pembrolizumab; and
for Part D—To assess the immunogenicity of mRNA-4157 with pembrolizumab from apheresis samples in certain subjects.

76

Table of Contents

A schematic of the trial is shown in the figure below.
bx32.gif
As of February 12, 2020, 15 patients with resected solid tumors (melanoma, colon and lung cancers) received mRNA-4157 as adjuvant monotherapy after resection of their primary tumor. An additional 56 patients with metastatic, unresected solid tumors (melanoma, bladder, lung, colon, prostate, head and neck and endometrial cancers) received at least one dose of mRNA-4157 in combination with pembrolizumab.
In our dose escalation of mRNA-4157 in Part A (monotherapy), we have detected antigen specific T cell responses. This is measured by restimulating unexpanded peripheral blood mononuclear cells with sets of peptides corresponding to neoantigens encoded by the patient-specific mRNA-4157 and is shown in the figure below. Individual data points indicate technical replicates.
Antigen-specific T cell responses for one patient at the 0.13 mg dose level in Part A of the Phase 1 clinical trial for PCV vaccine (mRNA-4157)
a0001193125183449821_image76.jpg
As of June 2019, mRNA-4157 was well-tolerated at all dose levels studied with no dose-limiting toxicities or grade 3 or 4 adverse events (AEs) or SAEs reported when administered as a monotherapy or in combination with pembrolizumab. The most common grade 2 adverse events were fatigue, soreness at the injection site, colitis and myalgias. A cohort of patients at the top dose level (1 mg) are undergoing apheresis and deeper characterization of immunogenicity responses. Data from one such patient as of June 2019 showed neoantigen-specific CD8 T-cell responses were detected to 10 out of 18 class I neoantigens after the 4th dose of the vaccine (compared to 0/18 at baseline). Clinical responses (one complete response + five partial responses) at doses ranging from 0.04-1.0 mg were observed in 6 out of 20 patients receiving at least one dose of mRNA-4157 in combination with pembrolizumab. The complete response occurred to pembrolizumab monotherapy before mRNA-4157 was administered. Of the five partial responses, two were seen in patients previously treated with a checkpoint inhibitor. Of the 13 patients who received adjuvant mRNA-4157 monotherapy, all patients have completed a full course of vaccination per the study protocol. Eleven patients remained disease free up to 75 weeks on study.

77

Table of Contents

NCI-4650 is in an investigator-initiated, single-arm, open-label trial involving up to 12-patients with advanced metastatic disease sponsored by National Cancer Institute. This trial has been completed as of November 2019.
We and our strategic collaborator Merck are conducting a randomized Phase 2 study to assess whether post-operative adjuvant therapy with mRNA-4157, in combination with pembrolizumab, improves relapse-free survival compared to pembrolizumab alone. The study has a primary endpoint of relapse free survival with a primary analysis at 12 months and will be conducted with patients that have had complete resection of cutaneous melanoma but remain at high risk of recurrence. As of February 12, 2020, 25 patients have been dosed with either mRNA-4157 in combination with pembrolizumab or pembrolizumab alone.
A schematic of the Phase 2 trial is shown in the figure below.
a190301pcv.jpg


78

Table of Contents

KRAS vaccine (mRNA-5671): Summary
In collaboration with Merck, we are developing a cancer vaccine (mRNA-5671) with mRNAs encoding for a concatemer of mutations in the KRAS oncogene protein
Although monotherapy checkpoint inhibitor treatment can provide significant benefit for some cancer patients, many have incomplete or no response to therapy, presenting a need for alternative therapies to stimulate antitumor immunological responses. Finding oncogenic driver mutations that encode targetable T cell epitopes has considerable therapeutic implications. Point mutations in the KRAS gene occur in about 22% of human cancers, such as colorectal, non-small cell lung and pancreatic cancers. Direct inhibition of KRAS has proven challenging and to date, there are no successful KRAS-targeted cancer therapies. It has been reported that KRAS-mutant neoantigens can be presented on certain human HLAs. Therefore, one approach is to immunize the body to naturally synthesize neoantigen peptides that contain common KRAS mutations for presentation to the immune system by mRNA. We have designed an mRNA to generate and present KRAS neoantigens to the immune system from the four most common KRAS mutations. We transferred the IND to Merck since Merck is the sponsor of the Phase 1 trial. The Phase 1 trial is being conducted by Merck and is currently ongoing in the United States. Patients will either be dosed with mRNA-5671 as monotherapy or in combination with the checkpoint inhibitor pembrolizumab.

KRAS vaccine (mRNA-5671): Our product concept
Our approach is to encode multiple mutations of KRAS in our mRNA vaccine administered together with a checkpoint inhibitor.
Oncogenic driver mutations that encode targetable T cell neoantigens have considerable potential therapeutic implications: (1) driver mutations are subject to positive selection, as they confer survival advantages for the tumor, and (2) such neoantigens could be shared between patients, enabling an easier approach to developing and manufacturing such therapeutic or curative interventions.
KRAS is a frequently mutated oncogene in epithelial cancers, primarily lung, colorectal cancer, or CRC, and pancreatic cancers. The four most prevalent KRAS mutations associated with these malignancies are G12D, G12V, G13D, and G12C, which constitute 80% to 90% of KRAS mutations. KRAS has multiple downstream signaling pathways, and although drugs have been developed to target individual effectors, direct inhibition of KRAS could be more efficacious. Direct inhibition of KRAS has proven challenging, as have past efforts at generating a cancer vaccine against KRAS. These attempts have proven to be ineffective, likely due to either the lack of concomitant administration of a checkpoint inhibitor or vaccines which have been only minimally immunogenic. None of the historic attempts at a KRAS vaccine used mRNA.

79

Table of Contents

Immune stimulators are often incorporated in vaccines to improve immune response to the antigens of interest. STimulator of INterferon Gene, or STING, is a cytosolic nucleotide sensor known to trigger type 1 interferon responses and has been reported to promote antigen specific T cell responses. STING has been reported to promote antitumor immunity and vaccines including STING agonists (e.g., cyclic dinucleotides) show overall improvement of immune responses to poorly immunogenic antigens. Merck has opted to advance mRNA-5671 without STING mRNA and may choose to include STING mRNA in further clinical development of this vaccine.
In order to drive T cell mediated antitumor responses, our mRNA vaccine includes an mRNA encoding for a concatemer of sequences encoding the four most common KRAS mutations, encapsulated in our proprietary LNP. Our mRNA vaccine will be dosed either as monotherapy or in combination with a checkpoint inhibitor. An illustration of one approach for mRNA-5671 is shown in the figure below.
a190311krasvaccinefigure2019.jpg
KRAS vaccine (mRNA-5671): Preclinical information
We have observed the utility of KRAS mRNA vaccine in vivo
The immunogenicity of our KRAS vaccine is supported by several preclinical studies in which we observed that our mRNA encoding for KRAS mutations can be made in cells and presented in transgenic mice with specific HLA I alleles.
One of these models was a transgenic mouse model expressing a specific human HLA. This is shown in the figure below. These transgenic mice were vaccinated with either mRNA encoding A11-positive control antigens (control), single mutant KRAS neoantigen or the concatemer of the four most common mutant KRAS neoantigens, plus mRNA encoding STING. mRNA was formulated in our proprietary LNP and delivered intramuscularly on day 1 and day 15, T cell responses were measured on day 22 by re-stimulating splenocytes with either medium, or wild type or mutant KRAS peptides (panel A—KRAS mutation 1 and panel B – KRAS mutation 2). Robust and specific antigen specific CD8+IFNγ+ T cell responses were detected in splenocytes after re-stimulation with KRAS mutation 1 peptide and KRAS mutation 2 peptide.

80

Table of Contents

T-cell response to restimulation with KRAS mutation 1 peptide in mouse model study with mRNA vaccine encoding for KRAS mutation 1 peptide
a0001193125183449821_image78.jpg
Panel (A)
T-cell response to restimulation with KRAS mutation 2 peptide in mouse model study with mRNA vaccine encoding for KRAS mutation 2 peptide
a0001193125183449821_image79.jpg
Panel (B)
KRAS vaccine (mRNA-5671): Clinical plan
Merck is leading the clinical development of the KRAS vaccine program and has a Phase 1 trial ongoing
Merck is conducting an open-label, multi-center, dose-escalation and dose expansion Phase 1 study to evaluate the safety and tolerability of mRNA-5671 administered as an intramuscular injection both as a monotherapy and in combination with pembrolizumab. This Phase 1 trial is being conducted in the United States.


81

Table of Contents

III. PROGRAM DESCRIPTIONS IN OUR INTRATUMORAL IMMUNO-ONCOLOGY MODALITY
We designed our intratumoral immuno-oncology modality to treat or cure cancer by transforming the tumor microenvironment to drive anti-cancer T cell responses against tumors. This modality currently has three programs. Our mRNA technology within this modality allows for the combination of multiple therapeutics that can be directly injected into a tumor with the goal of activating the tumor microenvironment to kill cancer cells in the injected tumor as well as in distal tumors, known as the abscopal effect. Intratumoral administration allows for localized effect of these therapeutics that could be toxic if administered systemically.
Our pipeline is shown in two formats, with a cell map illustrating the diversity of biology addressed by our mRNA pipeline programs, and a traditional format that shows the current stages of development of our pipeline programs, in the section of this Annual Report on Form 10-K titled “Business—Our Pipeline.”
Opportunity
More than 1.6 million new cancer cases and approximately 600,000 deaths due to cancer were predicted in the United States for 2017. There have been several advances in the treatment of cancer through immune-mediated therapies in recent years. However, the outlook for many patients with advanced cancer remains poor, especially in tumors that have little immune system engagement and are therefore termed immunologically “cold.” We aim to activate the tumor microenvironment with our mRNA therapeutics, in conjunction with a checkpoint inhibitor, to activate the immune system against these otherwise immunologically cold tumors.
Our approach
Our intratumoral immuno-oncology modality is focused on driving robust, specific anti-cancer T cell responses, transforming cold tumors with an immunosuppressive microenvironment into one that is immunologically “hot” thereby resulting in a productive anti-cancer immune response. Our goal is to discover and develop locally administered, or intratumoral, immune-mediated therapies to deliver mRNA encoding for potent immune-stimulatory proteins that can act at the site of the injected tumor, reduce systemic toxicities, and potentially create an “abscopal effect” where distal tumor sites are also impacted. These may be combined with checkpoint inhibitors to boost the response. All of the mRNAs utilized in this modality are designed to decrease the amount of protein that could be made in hepatocytes through incorporation of microRNA binding sites, thus potentially reducing off-target effects and resulting in better tolerability.
Earlier efforts by others on the utility of intratumoral immune-mediated therapies have been established in murine models of cancer. In many of our preclinical studies focusing on demonstrating bioactivity and efficacy in mice, we have employed surrogate mRNAs encoding murine homologs, given that human proteins may not be sufficiently cross-reactive in mice, and that the use of human proteins in mice would be expected to elicit anti-foreign protein immune responses.
OX40L (mRNA-2416): Summary
Our immuno-oncology approach to enhance specific T cell responses in the tumor microenvironment via expression of the membrane T cell co-stimulator OX40L by intratumoral injection of OX40L mRNA
There have been several recent advances in the treatment of cancer through activation of the immune system. However, many patients with advanced stages of cancer respond to few therapies and continue to face a poor outlook. Alternative strategies to activate an immunologic anti-tumor response, while at the same time reducing systemic toxicities, are required. To this end, we have developed an investigational mRNA therapeutic coding for wildtype OX40 ligand, or OX40L, protein, a membrane protein normally expressed on antigen presenting cells upon immune stimulation that augments an activated immune response. mRNA-2416 encodes for wild-type OX40L which is a membrane protein, a class of proteins that we believe cannot be manufactured for administration to tumor cells by recombinant technologies. mRNA-2416 is being developed for the treatment of solid tumors following local intratumoral injection. We are currently sponsoring a Phase 1/2 trial that is ongoing in the United States. We amended the protocol to add a Phase 1 dose escalation cohort in combination with durvalumab followed by a Phase 2 expansion cohort in patients with advanced ovarian carcinoma as part of the current trial as we anticipate synergistic activity of mRNA-2416 in combination with durvalumab.
As of February 12, 2020, 41 patients were dosed with mRNA-2416 (39 patients in monotherapy and 2 patients in combination with durvalumab). As of October 22, 2018, 26 patients were evaluated for response with mRNA-2416 monotherapy, and the best overall response was stable disease (n=6). Two patients with ovarian cancer have demonstrated clinical observations of tumor shrinkage in injected and/or uninjected lesions. Based on these clinical observations, we have opted to expand the trial to a Phase 2 expansion cohort in patients with advanced ovarian carcinoma.



82

Table of Contents

OX40L (mRNA-2416): Mechanistic overview
OX40L is a T cell co-stimulator
The generation of optimal T cell responses requires T cell receptor, or TCR, engagement by presented epitopes (e.g., cancer antigens) and a positive secondary signal achieved through co-stimulatory molecules like OX40. OX40 receptor (also known as TNFRSF4, or CD134) is a member of the tumor necrosis factor, or TNF, receptor superfamily and is upregulated on activated immune effector cells upon TCR activation. OX40 is endogenously stimulated via OX40L, a homotrimeric membrane protein normally expressed on professional antigen presenting cells. Binding of OX40 by OX40L in the presence of a recognized antigen enhances the expansion of CD4 and CD8 T cells, increases T cell effector function, and enhances survival of experienced T cells for increased memory capacity. Prior clinical attempts of activating OX40 with agonist antibodies may have been hampered via antibody interactions with other cells. We believe that introduction of OX40L in tumor sites via mRNA may serve to boost T cell responses, and we believe intratumoral administration of mRNA encoding for OX40L may be an attractive method of enhancing anti-cancer immunity.
OX40L (mRNA-2416): Our product concept
Our approach is to deliver OX40L mRNA in a lipid nanoparticle intratumorally to produce a membrane T cell co-stimulator
Our product consists of mRNA coding for the human sequence of OX40L formulated in our proprietary LNP. mRNA-2416 was designed to decrease the amount of protein that could be made in hepatocytes through incorporation of a microRNA binding site, thus potentially reducing off-target effects and resulting in better tolerability. Following intratumoral injection, a specific anti-tumor immune response is expected to be induced via proliferation and migration of T cell clones with specificity for the cancer that may also result in systemic anti-tumor responses. An illustration of our approach for this program is shown in the figure below. An earlier concept of this development candidate included a legacy LNP. However, we observed sufficient toxicity findings in an IND-enabling GLP toxicology study to abandon the legacy LNP. Toxicity findings were largely diminished when the development candidate was switched from a legacy LNP to our proprietary LNP.
a0001193125183449821_image81.jpg
OX40L (mRNA-2416): Preclinical information
We have demonstrated the ability to inhibit tumor growth in mouse models of cancer using our approach
Intratumoral administration of mouse OX40L mRNA in our proprietary LNP resulted in production of OX40L protein in the tumor microenvironment and draining lymph node in mice. The activity of mouse OX40L, or mOX40L, was evaluated in syngeneic models, including an H22 hepatocellular carcinoma model. With this model, H22 cancer cells were subcutaneously implanted on the flank of BALB/c mice. Following tumor growth, mice were randomized into treatment groups and treated with weekly intratumoral injections of formulated mRNA encoding mOX40L or a negative control mRNA. Repeated weekly intratumoral injections of mOX40L mRNA in a syngeneic H22 mouse model resulted in 50% of the mRNA-treated mice with no measurable disease at the end of the study. Survival of mice treated with negative control mRNA and mRNA encoding murine OX40L are depicted in gray and red respectively in the figure below. Mice with subcutaneous H22 tumors were treated intratumorally with 7.5 µg of mRNA formulated in LNPs on Days 8, 16, and 24 post cancer cell implant. 6 of 12 mice treated with mOX40L mRNA were complete responders with no detectable tumor burden at day 100, whereas negative control mRNA formulated in LNPs yielded no complete responders. Survival curves were plotted by considering any reason a mouse was removed from study, including the predetermined tumor burden endpoint of 2,000 mm 3, as a survival event.

83

Table of Contents


We further demonstrated generation of anti-cancer immunological memory after OX40L mRNA treatment, as no tumor growth was observed in mice in the six initial complete responders that were re-injected with the same H22 cancer cells.
50% complete responders (n=12) with mouse OX40L mRNA in H22 syngeneic mouse model study
a0001193125183449821_image82.jpg
The potential ability of intratumoral OX40L mRNA to yield benefit in a largely checkpoint inhibitor (CPI)-refractory setting was tested in the MC38-S colon carcinoma tumor mouse model. In this study, mice were treated with mRNA (6 weekly intratumoral injection of 5.0 µg of mOX40L mRNA or negative control mRNA) or CPI antibody (5 twice-weekly intraperitoneal injections of 10 mg/kg of an anti‑PD-L1 antibody or isotype control antibody) monotherapies or with a combination of mOX40L mRNA + anti-PD‑L1. Shown below, the combination of mOX40L mRNA + anti-PD‑L1 antibody resulted in complete tumor regression in 8 of 15 animals (53% CRs), whereas only 0 to 2 of 15 mice exhibited complete responses to active mOX40L mRNA or anti‑PD‑L1 monotherapies (and negative controls).

We further demonstrated generation of anti-cancer immunological memory after OX40L mRNA + αPD-L1 treatment, as no tumor growth was observed in mice in the eight initial complete responders that were re-injected with the same MC38 cancer cells.
53% complete responders (n=15) with mouse OX40L mRNA + αPD-L1 in MC38 (CPI refractory) syngeneic
mouse model study
bx20.gif
OX40L (mRNA-2416): Clinical data

84

Table of Contents

Our interim data indicate that intratumoral treatment with OX40L mRNA has no dose limiting toxicities, and has led to clinical observations of tumor regression in two patients with ovarian cancer but the tumor regression at the doses studied do not meet RECIST criteria for partial responses in the Phase 1/2 trial in the United States
The Phase 1/2 trial for mRNA-2416 is an open-label, multicenter study of repeated intratumoral injections of mRNA-2416 in patients with advanced relapsed/refractory solid tumor malignancies and lymphomas in the United States. mRNA-2416 will be administered at day 1 and day 15 of a 28-day cycle with a maximum of 6 cycles. The objectives of this Phase 1/2 study include evaluating safety and tolerability of mRNA-2416 administered intratumorally, and to define the maximum tolerated dose and recommended dose for expansion. Other endpoints include pharmacokinetic analyses as well as assessment of biomarkers of immunological response in tumor. The dose levels being tested in the monotherapy arm of the trial were 1 mg, 2 mg, 4 mg, and 8 mg. The monotherapy arm of the study has been completed and we are not planning an expansion cohort of mRNA-2416 as a monotherapy. We have initiated a dose-finding cohort at 4 mg mRNA-2416 given in combination with durvalumab (IMFINZI®) followed by a Phase 2 expansion cohort in ovarian cancer.
In the monotherapy arm of the study, following completion of the safety cohort, patients were enrolled into one of the following three biopsy cohorts:
A.
Baseline biopsy in abscopal distal, untreated tumor, second biopsy within cycle 1 at day 22 to 28 at distal tumor
B.
Baseline biopsy in primary tumor to be treated, second biopsy 24 to 48 hours post-dose cycle 1 day 1 in injected tumor
C.
Baseline biopsy in primary tumor to be treated, second biopsy 24 to 48 hours post-dose cycle 2 day 1 in injected tumor
A schematic of the trial design is shown in the figure below.
slide2a01.jpg

85

Table of Contents

As of February 12, 2020, 41 patients were dosed with mRNA-2416 (39 patients in monotherapy and 2 patients in combination with durvalumab). As of November 15, 2018, safety was reported on 28 patients treated with monotherapy mRNA-2416. In approximately 18% of patients, we have observed rapid onset of multiple grade 2 and a single grade 3 transient reversible injection related reactions, all of which were resolved with antihistamines, corticosteroids, or supplemental oxygen. Three suspected unexpected serious adverse reactions, or SUSARs, were reported. Of the three, one was the grade 3 serious adverse event, or SAE, described above. A second case was reported for a grade 2 non-infectious systemic inflammatory response syndrome, and the patient was kept overnight at the hospital. In the third case, a patient, diagnosed with Stage IIIC ovarian carcinoma, experienced a skin ulceration during treatment, deemed to be a non-serious adverse event, located within the injected tumor, which had begun to regress following treatment with mRNA-2416. After the last administered dose of mRNA-2416, and after the patient withdrew from the trial for personal reasons, the wound was smaller in size. Subsequently, the patient underwent additional treatment for disease progression with Cytoxan/Avastin, the wound increased significantly in size, and Avastin was discontinued due to patient preference and wound healing concerns. The patient was then hospitalized due to worsening of the skin ulceration, by which time the injected tumor was noted to be absent (though other lesions were present). Although no longer in the study, this hospitalization was deemed by the investigator as a suspected unexpected serious adverse reaction related to study drug, but deemed by us as possibly related to study drug. After discharge from the hospital, the patient died. This death was reported to be due to disease progression, not study drug. After the intratumoral injection of mRNA-2416 in other patients, no other skin ulceration has been observed related to study drug.
Of the 26 patients dosed with mRNA-2416 as of October 22, 2018, the best overall response was stable disease (n=6), including two patients with ovarian cancer, in which there was tumor shrinkage in injected and/or uninjected lesions.
We have collected and analyzed eight paired biopsies of tumors pre- and post-injection of mRNA-2416 through October 22, 2018. Of these eight, six paired biopsies are from injected lesions and two are from uninjected lesions. In three of the six paired biopsies from injected lesions where tumors showed evidence of the location of the injection site and had viable tissue from the biopsy to analyze, we have observed an increase in OX40L protein after mRNA administration. In one of these cases, we have observed OX40L protein expression in the injected lesion for a biopsy collected at cycle 1 day 2 as shown by quantitative immunofluorescence staining in the figure below. Staining in red denotes OX40L protein and 4’,6-diamidino-2-phenylindole, or DAPI, stains DNA to indicate nuclei in blue. Cytokeratin staining in green indicates keratin filaments often used to mark epithelial cancer cells.
OX40L protein production in tumor cells of a patient with ovarian cancer dosed with mRNA-2416
a190312g67g212a01.jpg
 
a190312g67g21.jpg
Before treatment with mRNA-2416
 
After treatment with mRNA-2416
In the remaining three of the six paired biopsies from injected lesions, we did not observe OX40L protein increase, possibly because there was no noted evidence of injection site or there was extensive tissue necrosis.
OX40L/IL-23/IL-36γ (Triplet) (mRNA-2752): Summary
Our immuno-oncology approach to transform the tumor microenvironment: intratumoral injection of OX40L/IL-23/IL-36γ
Despite recent advances in immune-mediated therapies for cancer, the outlook for many patients with advanced cancer is poor. We are developing Triplet (mRNA-2752) and other programs to drive anti-cancer T cell responses by transforming cold tumor microenvironments into productive, “hotter” immune landscapes with local intratumoral therapies. Triplet (mRNA-2752) utilizes the intrinsic advantage of mRNA to multiplex and to produce membrane and secreted proteins with mRNA in a single investigational medicine. Triplet (mRNA-2752) includes three mRNAs encoding human OX40L, interleukin 23, or IL-23, and

86

Table of Contents

interleukin 36 gamma, or IL-36γ, that are encapsulated in our proprietary LNP and administered intratumorally. OX40L is a membrane protein, whereas IL-23 and IL-36γ are secreted cytokines. We believe our approach has the advantage of localized high concentration gradients of IL-23 and IL-36γ compared to recombinant proteins administered systemically or intratumorally. Additionally, the mRNA for OX40L encodes for the wild type membrane protein, which we believe recombinant protein technologies cannot enable. The combination of OX40L, IL-23, and IL-36γ has shown robust activity in preclinical cancer models and is synergistic with checkpoint inhibitors. In addition, this combination elicits an anti-tumor response on distal tumors (via the “abscopal effect”), as well as treated tumors in preclinical studies. A Phase 1 trial of Triplet (mRNA-2752) is ongoing.
OX40L/IL-23/IL-36γ (Triplet) (mRNA-2752): Mechanistic overview
Triplet (mRNA-2752) is designed and tailored to activate the immune system in two ways
This potential mRNA medicine is a novel mRNA-based therapeutic agent containing multiple mRNAs that code for the wild type human OX40L, IL-23, and IL-36γ proteins that have distinct functions yet work synergistically in mediating anti-cancer responses. Triplet (mRNA-2752) brings two approaches into a single multi-mechanism therapy:
T cell co-stimulation that could strengthen specific anti-cancer adaptive immune responses (mediated by OX40L); and
pro-inflammatory cytokines/chemokines to ignite or transform an inflammatory response within the tumor microenvironment (IL-23 and IL-36γ).
The generation of optimal T cell responses requires T cell receptor, or TCR, engagement by presented epitopes (e.g., cancer antigens) and a positive secondary signal achieved through co-stimulatory molecules like OX40. OX40 receptor (also known as TNFRSF4 and CD134) is a member of the tumor necrosis factor, or TNF, receptor superfamily and is upregulated on activated immune effector cells upon TCR activation. OX40 is endogenously stimulated via OX40L, a homotrimeric membrane protein normally expressed on professional antigen presenting cells. Binding of OX40 by OX40L in the presence of a recognized antigen enhances the expansion of CD4 and CD8 T cells, increases T cell effector function, and enhances survival of experienced T cells for increased memory capacity. Therefore, introduction of OX40L via mRNA may serve to boost T cell responses. We believe that in addition to boosting T cell responses via OX40L expression, the expression of pro-inflammatory cytokines within a treated tumor may serve to ignite and transform an immunologically cold tumor microenvironment into a productive anti-cancer immune response. The initial focus was on cytokines with well-established roles in initiating inflammation and bridging innate to adaptive immunity in humans; namely the IL-1 and IL-12 families, respectively. Specifically, anti-cancer effects have been observed by introduction of IL-1 family member IL-36γ in preclinical mouse models of cancer. IL-12 family members, including IL-23, are often referred to as central coordinators of immune responses, largely due to their capacity to bridge innate to adaptive immunity.
OX40L/IL-23/IL-36γ (Triplet) (mRNA-2752): Our product concept
The potential advantage of mRNA to target multiple immuno-stimulatory pathways in tumors
We are developing Triplet (mRNA-2752) for the treatment of advanced or metastatic solid tumor malignancies or lymphoma as a single agent or in combination with checkpoint inhibitors. Triplet (mRNA-2752) includes three mRNAs encoding OX40L, IL-23, and IL-36γ, encapsulated in our proprietary LNP. Triplet (mRNA-2752) is designed to make these proteins in cells of the local tumor environment or lymph node. Our approach potentially has the advantage of localized gradients of two important cytokines IL-23 and IL-36γ, rather than a systemic administration or intratumoral injection of cytokine proteins that would lead to quick diffusion away from the tumor. Additionally, the mRNA for OX40L encodes for the wild type membrane protein, which would be challenging to administer to either a tumor or systemically as a recombinant membrane protein capable of co-stimulation of T cells. mRNA for IL-23 produces a single-chain fusion protein of the IL-12B and IL-23A subunits, with a linker between the subunits. mRNA for IL-36γ produces a protein with introduced signal peptide to bypass a need for upstream processing for release and activity. In addition, all three mRNA were designed to decrease the amount of protein that could be made in hepatocytes through incorporation of microRNA binding sites, thus potentially reducing off-target effects and resulting in better tolerability. An illustration of our approach for Triplet (mRNA-2752) is shown in the figure below.

87

Table of Contents

a0001193125183449821_image85.jpg
OX40L/IL-23/IL-36γ (Triplet) (mRNA-2752): Preclinical information
The OX40L/IL-23/IL-36γ combination promotes tumor killing in mice of injected and non-injected tumors, along with a lasting T cell effect
As described earlier, preclinical work was conducted using mouse homologs. The combination local therapy of OX40L/IL-23/IL-36γ mRNAs achieved 70-100% complete response rates in two MC38 syngeneic mouse models of cancer, one that is normally relatively responsive and the other completely refractory to systemic checkpoint inhibitor treatment. The triple combination therapy had better results than individual and doublet mRNA combinations. In one study, mice carrying bilateral MC38-S tumors received 5 µg total mRNA injected into the right flank tumor only (2.5 µg each mRNA administered for doublets and 1.67 µg each for triplet combinations). The survival plots are graphed in the figure below. Survival events were triggered when animals surpassed the predetermined tumor burden endpoint of 2,000 mm 3 (for both tumors combined). Animals removed from study for other reasons were censored and indicated below as horizontal lines prior to Day 100. 20 mice were included in each cohort depicted, and there were 10, 11, and 20 complete responders (i.e., no measurable disease at either tumor site) for the IL-23/IL-36γ, IL-23+OX40L and OX40L/IL-23/IL-36γ treatment groups, respectively, at 100 days post cancer cell implant. We also found that a single dose of OX40L/IL-23/IL-36γ mRNA was able to induce complete disease control at both treated and distal sites, sometimes known as an abscopal effect. This underscores the potential of our approach to lead to a well-tolerated and broadly active therapy for treatment of multilesional and metastatic cancers.
100% (n=20) complete responders with mouse OX40L/IL-23/IL-36γ mRNA in MC38 dual flank syngeneic mouse model study
a0001193125183449821_image86.jpg
In addition to OX40L/IL-23/IL-36γ mRNA monotherapy activity, we have further observed that a single suboptimal dose of OX40L/IL-23/IL-36γ mRNA therapy was synergistically active with systemically administered anti-PD-1/PD-L1 as well as anti-CTLA4 antibodies, again demonstrating complete response rates of > 70%.
OX40L/IL-23/IL-36γ (Triplet) (mRNA-2752): Clinical plan

88

Table of Contents

The Phase 1 trial for Triplet (mRNA-2752) is ongoing in the United States and Israel
We have an ongoing Phase 1 study that is designed as an open-label, multicenter study of intratumoral injections of Triplet (mRNA-2752) alone or in combination with durvalumab (anti-PD-L1). The objectives of this study include:
assessment of safety and tolerability of Triplet (mRNA-2752) administered alone and in combination with durvalumab;
define the maximum tolerated dose, or MTD, and recommended dose for expansion, or RDE, for intratumoral injections of Triplet (mRNA-2752) alone and in combination with durvalumab; and
assessment of anti-tumor activity, protein expression in tumors, and pharmacokinetics, and exploratory endpoints that include assessment of immunological responses.
A schematic of the clinical trial design is shown in the figure below. We have filed a protocol amendment to the FDA to remove arm C, mRNA-2752 in combination with tremelimumab.
arm A-Triplet (mRNA-2752) alone; and
arm B-Triplet (mRNA-2752) in combination with durvalumab, a PD-L1 inhibitor.
The study consists of 2 dose escalation and 2 dose confirmation parts followed by a dose expansions for Arms B. mRNA-2752 will be evaluated at 0.25, 0.5, 1, 2, 4, and 8 mg. mRNA-2752 is administered once every two weeks for cycle 1 followed by once every four weeks for cycles 2 through 6. Durvalumab is administered every 4 weeks. Biopsy and blood samples to be collected pre- and post-treatment with mRNA in both dose escalation and dose expansion to assess protein expression and changes in tumor immune landscape.
As of February 12, 2020, 26 patients have been dosed with mRNA-2752 including 16 patients in monotherapy and 10 patients in combination with durvalumab.

89

Table of Contents

slide1pptx.jpg

90

Table of Contents

IL-12 (MEDI1191): Summary
Our immuno-oncology approach to transform the tumor microenvironment: IL-12 as a localized secreted protein in collaboration with AstraZeneca
Another strategy for cancer patients with immunologically cold tumors is to transform the tumor microenvironment by introducing pro-inflammatory cytokines directly into tumors or draining lymph nodes. In collaboration with AstraZeneca, we are developing MEDI1191 that is an mRNA for IL-12 encapsulated in our proprietary LNP to be delivered intratumorally. Systemic administration of recombinant IL-12 protein was poorly tolerated in early clinical trials and exhibited generally low response rates. MEDI1191 can enhance the immune response by positively impacting both antigen presenting cells and T cells, and local, intratumoral expression of IL-12 can potentially improve tolerability compared to systemic protein treatments. AstraZeneca is conducting a Phase 1 clinical trial for MEDI1191, which is to be co-administered with a checkpoint inhibitor.
IL-12 (MEDI1191): Mechanistic overview
IL-12 is a powerful immune-modulator that bridges innate and adaptive responses
The IL-12 family members are often referred to as central controllers of immune responses due to their capacity to bridge from innate to adaptive immunity. IL-12 is a potent immune-modulator typically associated with a type 1 immune response and production of interferon-gamma. While preclinical studies using IL-12 have resulted in dramatic antitumor effects in syngeneic cancer models, clinical development of systemically administered recombinant IL-12 has been hampered by systemic toxicity.
IL-12 (MEDI1191): Our product concept
In collaboration with AstraZeneca, we are developing intratumoral delivery of IL-12 in combination with a checkpoint inhibitor
Intratumoral delivery of IL-12 has been observed to be a feasible approach to overcome the toxicity associated with systemic IL-12 administration. For example, intratumoral delivery of an IL-12 containing DNA plasmid by injection followed by electroporation has shown promising activity in combination with pembrolizumab in a Phase 1 study with patients with metastatic melanoma. Such an approach may be limited to accessible lesions amenable to electroporation. In contrast, it may be more feasible to inject our mRNA delivered by our proprietary LNP into both accessible and visceral tumors.
MEDI1191 is being developed for the treatment of advanced or metastatic solid tumors in combination with a checkpoint inhibitor. MEDI1191 consists of our proprietary LNP encapsulating an mRNA for human IL-12B (p40) and IL-12A (p35) subunits. The mRNA produces a single-chain fusion protein of the IL-12B and IL-12A subunits, with a linker between the subunits. The mRNA sequence has been engineered to enhance protein production and is designed to decrease the amount of protein that might be made in hepatocytes for better tolerability. An illustration of our approach for IL-12 is shown in the figure below.
a0001193125183449821_image88.jpg
IL-12 (MEDI1191): Preclinical information
We have conducted several preclinical studies in which we observed activity with our approach
As described earlier, our preclinical work was conducted with a mouse homolog of IL-12. In a tumor model that we have characterized as completely refractory to checkpoint therapy and associated with an immunosuppressive tumor microenvironment,

91

Table of Contents

treatment with IL-12 transformed the tumor microenvironment, with notable activation of natural killer and dendritic cells, and an increase in cytotoxic lymphocytes. In this checkpoint inhibitor refractory mouse model of cancer, a single dose of IL-12 mRNA yielded around 30% complete response rates as an mRNA monotherapy as shown in panel A below and was synergistically active with systemically administered anti-PD-L1 antibody, or α PD-L1, demonstrating complete response rates of > 70%, as shown in panel B of the figure below. The x-axis represents days after subcutaneous implantation of MC38-R tumor cells. Test articles were administered on Day 11 for mRNA treatments and on Days 11, 14, 18, and 21 for antibody treatments. All antibody treatments were administered at 20 mg/kg. There were 15 mice per group in this study. Survival curves were plotted by considering any reason a mouse was removed from study, including the predetermined tumor burden endpoint of 2,000 mm3, as a survival event. NTC is a non-translating control mRNA. Synergy of locally administered IL-12 mRNA with systemic α PD-L1 treatment was also observed on distal tumors that were not directly administered mRNA.
Approximately 30% (n=15) complete responders with highest dose
tested for mouse IL-12 mRNA in MC38 mouse model study
a0001193125183449821_image89.jpg
Panel (A)
Approximately 70% (n=15) complete responders at highest dose tested
for mouse IL-12 mRNA with α PD-L1 antibody in MC38 mouse model study
a0001193125183449821_image90.jpg
Panel (B)
IL-12 (MEDI1191): Clinical plan
AstraZeneca is the sponsor and leading the clinical development for MEDI1191
We are responsible for generating a preclinical data package to support IND/CTA filing and clinical supply for early clinical development. AstraZeneca will lead the early clinical development. We expect a lower starting dose for MEDI1191 in the clinical trial compared to our other intratumoral programs.

92

Table of Contents

An open-label multicenter Phase 1 clinical trial of intratumoral injections of MEDI1191 alone and in combination with a checkpoint inhibitor, durvalumab is ongoing.

93

Table of Contents

IV. PROGRAM DESCRIPTIONS IN OUR LOCALIZED REGENERATIVE THERAPEUTICS MODALITY
We designed our localized regenerative therapeutics modality to develop mRNA medicines to address injured or diseased tissues. Our mRNA technology in this modality allows for the local production of proteins that provide a therapeutic benefit in the targeted tissue. The development of our program in this modality, AZD8601 for the local production of VEGF-A, is being led by our strategic collaborator AstraZeneca. This program recently completed a Phase 1a/b clinical trial in which we observed both a dose-dependent protein production and a pharmacologic effect, as measured by changes in local blood flow in patients. We believe these data provide clinical proof of mechanism for our mRNA technology outside of the vaccine setting as a potential therapeutic.
Our pipeline is shown in two formats, with a cell map illustrating the diversity of biology addressed by our mRNA pipeline programs, and a traditional format that shows the current stages of development of our pipeline programs, in the section of this Annual Report on Form 10-K titled “Business—Our Pipeline.”
Localized regenerative therapeutics modality: Opportunity
There are multiple applications for tissue regeneration. With AstraZeneca, we have focused on ischemic heart failure for the first program. Coronary artery disease, the primary cause of ischemic heart failure, affects the arteries providing blood supply to the cardiac muscle. In 2015, coronary artery disease resulted in 366,000 deaths in the United States, and 8.9 million deaths globally.
VEGF-A (AZD8601): Program summary
Addressing ischemic heart failure—VEGF-A as a localized therapeutic in collaboration with AstraZeneca
Heart disease is the leading cause of death in the United States, accounting for one in every four deaths, and is often due to the inability of adult humans to regenerate heart tissue. Current approved therapies do not specifically address heart regeneration. Previous attempts at cardiac regeneration have included stem cell grafting and gene therapy, but have faced challenges with safety or efficacy. In collaboration with AstraZeneca, we are pioneering a unique approach to treating ischemic heart failure, a condition where the cardiac muscle does not get enough blood supply to perform its contractile function. Vascular Endothelial Growth Factor A, or VEGF-A, can promote cardiac tissue revascularization. The goal of this program is to promote recovery of cardiac function through partial tissue regeneration. The mRNA in this program is in a saline formulation without LNPs and is expected to act locally. Our strategic collaborator AstraZeneca has conducted a Phase 1a/b clinical study in diabetic patients in Europe. The study has met its primary objectives of describing safety and tolerability and secondary objectives of dose-dependent protein production and changes in blood flow. AstraZeneca has moved this program to a Phase 2a trial that is being conducted in Europe and is designed to test safety and tolerability of epicardial injections for patients undergoing coronary artery bypass grafting surgery.
VEGF-A (AZD8601): Disease overview
VEGF-A can promote blood vessel growth to potentially address ischemic heart failure
Heart disease is the leading cause of death in the United States, accounting for one in every four deaths. Coronary artery disease, or CAD, the primary cause of ischemic heart failure, affects the arteries providing blood supply to the cardiac muscle. CAD resulted in 366,000 deaths in the United States, and 8.9 million deaths globally in 2015.
Several treatments are available for patients with ischemic heart failure. Current treatments include revascularization of the coronary arteries to relieve symptoms and improve cardiac function; and therapies that reduce blood pressure or potentially help eliminate excess fluids in congested tissues, including: beta-blockers, angiotensin-converting enzyme inhibitors, angiotensin II inhibitors, and aldosterone receptor blockers as diuretics. However, adult humans are unable to regenerate myocardium tissue following injury and the treatment options described above cannot compensate for this.
VEGF-A is a potent angiogenic factor that promotes growth of blood vessels. Preclinical data suggests that expression of this growth factor in the ischemic heart could increase blood flow and partially restore cardiac function.
VEGF-A (AZD8601): Our product concept
Local delivery of VEGF-A mRNA to increase local concentration of VEGF-A protein while reducing systemic distribution of therapeutic VEGF-A protein
VEGF-A protein acts as a powerful promoter of blood vessel growth. Systemic injection of VEGF-A protein increases VEGF-A exposure throughout the body, which can lead to side effects, but is very short-lived in circulation. Therefore, any therapy involving VEGF-A needs to be localized to elevate local protein concentration and drive revascularization while minimizing systemic side effects. AstraZeneca has opted to pursue the localized application of VEGF-A mRNA in a simple saline formulation in the heart muscle to elevate local protein concentration for longer periods due to increased local protein production. This

94

Table of Contents

potentially allows for an extended pharmacodynamic effect at the specific site of injection compared to systemic or local administration of a recombinant protein version of VEGF-A. Some of the early animal work for mRNA VEGF-A was published by our academic co-founder Dr. Kenneth Chien in Nature Biotechnology in 2013, showing improved cardiac function with increased survival with treatment.
VEGF-A (AZD8601): Preclinical information
AstraZeneca has observed the activity of VEGF-A for ischemic heart failure in several preclinical animal models
Preclinical work has been conducted at AstraZeneca in models of ischemic heart failure. In mouse, rat, and pig models of myocardial infarction, direct injection in the heart muscle (myocardium) of VEGF-A mRNA led to elevated cardiac VEGF-A protein levels and improved cardiac function. The data have been published by AstraZeneca in Molecular Therapy in 2018. The table below illustrates the beneficial effects of AZD8601 in the mini pig, two months after the myocardial infarct procedure and injection of the VEGF-A mRNA. In this table, left ventricular ejection fraction, or LVEF, was measured using echocardiography two months after intracardial mRNA administered 7 days after myocardial infarction. The data are means ± standard error of the means.
Significant improvement in LVEF with VEGF mRNA measured 2 months after administration in mini pig study
 
LVEF, %
 
p-value
Control—Citrate saline
47.0 ± 0.8
 
 
AZD8601 1 mg dose
51.0 ± 0.9
 
<0.01
AZD8601 10 mg dose
52.0 ± 1.0
 
<0.01
VEGF-A (AZD8601): Clinical data
AstraZeneca has completed a Phase 1a/b trial in Germany; A Phase 2a trial is currently ongoing in Finland and an additional clinical trial application has been filed in the Netherlands for this study.
The Phase1a/b clinical trial for the AZD8601 program has met its primary objectives of describing safety and tolerability and secondary objectives of protein production and changes in blood flow post AZD8601 administration. AstraZeneca has moved this program to a Phase 2a trial.
The Phase 1a/b study was a randomized, double-blind, placebo-controlled study in men with type 2 diabetes mellitus. VEGF-A mRNA was administered by intradermal injection into the forearm skin in single ascending doses. The study was conducted in Europe. The primary objective was to evaluate the safety and tolerability of the drug product into the forearm skin, with safety follow-up for 6 months.
The study was divided into Part A (single ascending-dose cohorts) and Part B (pharmacodynamic cohort). There were three treatment regimens in Part A. Regimens were either AZD8601 at site 1 and placebo at site 2, placebo at site 1 and AZD8601 at site 2, or placebo at both sites. Each regimen comprised six 50 µL injections at one site and six 50 µL injections at a second site on the forearm. In part B, the regimen comprised one 50 µL intradermal injection of either AZD8601 or placebo at each of four sites on the forearm.
There were 27 patients in Part A with 18 receiving AZD8601 in at least one site of the forearm and 9 patients receiving placebo. There were three dose cohorts in Part A, each with 9 patients. In the first cohort, AZD8601 dose was at 24 µg per patient (4 µg per injection). The AZD8601 dose was increased to 72 µg and 360 µg in the next two dose cohorts. There were 15 patients in Part B receiving AZD8601 in at least two sites on the forearm per patient. In Part B, each patient received 200 µg of AZD8601 or placebo.
VEGF-A protein post injection of mRNA was produced at a high level, above the set expected threshold, as shown in the figure below. Expression was measured by skin microdialysis. At each sampling time, mean VEGF-A protein levels across all mRNA treated sites from patients across all cohorts were higher than that of placebo up to the 24-26 hour time point. Data are means with error bars showing standard error of the mean, or SEM. Asterisk indicates p-value <0.05.

95

Table of Contents

VEGF-A protein levels in patients in Part A of the Phase 1a/b trial
a0001193125183449821_image92.jpg
The bioactivity of the VEGF-A protein post injection of mRNA was observed by an increase in blood flow at injection sites up to 7 days following a single injection, as shown in the figure below. Measurements were made using laser doppler imaging 7 and 14 days after administration (study part A, n = 27). Data shown are means with error bars showing SEM. Asterisk indicates p-value <0.05.
VEGF-A led to increase in blood flow at day 7 and day 14 in patients in the Phase 1a/b trial
a0001193125183449821_image93.jpg
As shown above, administration of AZD8601 demonstrated protein production and changes in local blood flow in diabetic patients. Tolerability of our mRNA injected intradermally was demonstrated for all dose levels. The only causally treatment-related adverse events were mild injection-site reactions, occurring in 32 of 33 participants receiving VEGF-A mRNA across both parts of the study design. All adverse events of injection-site reaction were of mild intensity. No deaths, serious adverse events, or adverse events leading to discontinuation occurred. A list of adverse events is provided in the table below.

96

Table of Contents

Adverse events for the Phase 1a/b trial for AZD8601
 
 
 
 
 
 
 
Part A (n = 27)
 
Part B (n = 15)
 
Placebo
only (1)
(n = 9)
 
VEGF-A mRNA/
placebo (1)  (n =  18)
 
VEGF-A mRNA/
placebo (2)  (n =  15)
Participants with any AE, n (%)
5 (55.6)
 
18 (100.0)
 
14 (93.3)
Causally treatment-related, n (%)
0
 
18 (100.0)
 
14 (93.3)
Treatment-unrelated, n (%)
5 (55.6)
 
0
 
0
Participants with causally treatment-related AEs, n (%)
 
 
 
 
 
Injection-site reaction [mild]
0
 
18 (100.0)
 
14 (93.3)
Participants with treatment-unrelated AEs, n (%)
 
 
 
 
 
Injection-site reaction [mild]
1 (11.1)
 
0
 
0
Injection-site erythema [mild]
1 (11.1)
 
2 (11.1)
 
0
Asthenia [mild]
0
 
1 (5.6)
 
0
Tinea pedis [mild]
0
 
0
 
1 (6.7)
Arthropod bite [mild]
0
 
1 (5.6)
 
1 (6.7)
Injury [moderate]
0
 
1 (5.6)
 
0
Skin abrasion [mild]
0
 
1 (5.6)
 
0
Muscle spasms [mild]
0
 
1 (5.6)
 
0
Back pain [mild or moderate]
2 (22.2)
 
0
 
0
Myalgia [moderate]
0
 
0
 
1 (6.7)
Dizziness [mild]
0
 
1 (5.6)
 
0
Headache [mild]
1 (11.1)
 
0
 
0
Pruritus [mild]
0
 
1 (5.6)
 
0
Tooth extraction [mild]
0
 
1 (5.6)
 
0
Nasopharyngitis [moderate]
1 (11.1)
 
0
 
0
(1) 
There are two injection sites and it can be either VEGF-A mRNA/placebo, placebo/VEGF-A mRNA, or placebo/placebo at injection sites 1/2.
(2) 
Randomized order of VEGF-A and placebo injections.
The program is currently in a Phase 2a clinical trial. It is a randomized, double-blind, placebo-controlled, multi-center, Phase 2a study to evaluate safety and tolerability of epicardial injections of AZD8601 during coronary artery bypass grafting surgery. Some of the outcomes to be monitored in the Phase 2a study include adverse and serious adverse events, electrocardiogram, or ECG, and LVEF. The study is being conducted in Europe. The study is intentionally designed to provide initial safety and tolerability data in about 24 coronary artery bypass patients.

97

Table of Contents

V. PROGRAM DESCRIPTIONS IN OUR SYSTEMIC SECRETED AND CELL SURFACE THERAPEUTICS MODALITY
We designed our systemic secreted and cell surface therapeutics modality to increase levels of desired proteins in circulation or in contact with the extracellular environment. We aim to use cells in the human body to produce proteins encoded by mRNA that are secreted to achieve a therapeutic effect in one or more tissues or cell types. The goal of this modality is to provide secreted proteins, such as antibodies or enzyme replacement therapies across a wide range of diseases, such as heart failure, infectious diseases, and rare genetic diseases. This modality has benefitted from our strategic alliances with AstraZeneca, DARPA, and the Bill & Melinda Gates Foundation.
In early 2020, we changed the name of the systemic secreted therapeutics modality to the systemic secreted & cell surface therapeutics modality. Like our prophylactic vaccine modality, we have designated this as a core modality based on the Phase 1 clinical data we have reported, specifically in our antibody against the chikungunya virus (mRNA-1944) program.

This modality currently has five programs. Our pipeline is shown in two formats, with a cell map illustrating the diversity of biology addressed by our mRNA pipeline programs, and a traditional format that shows the current stages of development of our pipeline programs, in the section of this Annual Report on Form 10-K titled “Business—Our Pipeline.”
Systemic secreted and cell surface therapeutics modality: Opportunity
The ability to systemically deliver mRNA for a therapeutic effect would allow us to address a number of diseases of high unmet medical need. Systemically delivered, secreted therapeutics address conditions often treated with recombinant proteins that are typically administered to the blood stream. These current therapies include:
Enzyme replacement therapies, or ERTs, for rare diseases;
Antibodies for membrane and extracellular soluble targets; and
Circulating modulation factors for common and rare diseases such as growth factors and insulin.
Our approach
Our systemic secreted and cell surface therapeutics modality comprises programs where mRNAs instruct various cells of the human body to secrete proteins for therapeutic effect. For systemic therapeutic programs that utilize cells in the liver, the liver is a highly productive tissue for secreted protein production. The human liver can make tens of grams of proteins per day, well above the amounts necessary for the pharmacologic effect for virtually all protein therapeutics. We have demonstrated that mRNA can make and secrete monoclonal antibodies and soluble modulating factors in non-human primates. These proteins made in non-human primates can exert their pharmacological activity by binding to targets with biological effect.
The antibody against Chikungunya virus is our first systemic secreted therapeutic and patients are currently being dosed in a Phase 1 study. It will help us understand the fundamental relationship between mRNA dose and secreted protein production. The secreted human antibody is also a protein complex, not ordinarily made by the liver, which will be a test case for making human proteins in liver normally made by other cell types.
This modality also includes engineered proteins such as our Relaxin and PKU programs and is not limited to native forms of proteins. Recombinant protein therapeutics, which focus on secreted proteins, generate over $200 billion in annual worldwide sales.
Antibody against Chikungunya virus (mRNA-1944): Summary
Systemic mRNA administration to instruct cells to secrete antibodies, in this case for passive immunization to prevent Chikungunya infection
We are using this program to help understand how mRNA can be used to make complex secreted proteins in the human body and to address the potential health threat of Chikungunya virus, particularly for the military and others exposed to this virus. This program highlights a potentially important advancement of our platform and expansion of our modalities.
Chikungunya is a serious health problem with and is estimated to have caused at least three million cases during the 2005-2015 epidemic. There are no vaccines or prophylactic treatments for this disease. This virus can cause severe arthritic-like conditions in approximately 15% of the infected people. This program offers a passive immunization approach using antibodies to prevent infection, to complement our vaccine approach. In this program, we utilize two mRNAs encoding for light chain and heavy chain of an antibody against the envelope glycoprotein E. We plan to administer these mRNAs encapsulated in our proprietary LNPs

98

Table of Contents

intravenously to people to prevent infection by the Chikungunya virus. We are being financially supported for specific activities by DARPA and have an open IND for mRNA-1944.
Antibody against Chikungunya virus (mRNA-1944): Disease overview
Addressing a significant global health need
Chikungunya virus is a mosquito-borne alphavirus posing a significant public health problem in tropical and subtropical regions. While Chikungunya has been present in Africa for centuries, recent outbreaks and epidemics in new regions have arisen due to the expanding distribution of the Aedes mosquito in which it resides. A Chikungunya epidemic beginning in 2004 in Kenya spread to India and was exported to nearly all regions of the world and brought Chikungunya to the attention of the western world. As of April 2016, Chikungunya cases had been reported in 103 countries and territories around the world, including 46 countries and territories throughout the Americas. Chikungunya virus infection is characterized by an acute onset of fever, rash, myalgia, and sometimes debilitating polyarthralgia, giving the virus its name, which means “that which bends up” when translated from Makonde. It is rarely fatal, but neurological sequelae such as Guillain-Barre syndrome and chronic arthritis have been recognized.
Chikungunya virus is an alphavirus of the Togaviridae family with a positive-strand RNA genome. The viral structural proteins are naturally expressed as a single polyprotein followed by subsequent cleavage by viral and cellular proteases into capsid (C) and envelope (E) glycoproteins E3, E2, 6k, and E1. The E proteins are major targets of protective neutralizing antibody responses that can be tested for in assays.
There are currently no effective therapies or approved vaccines to treat or prevent Chikungunya infection or disease, and effective mosquito control has proven challenging, even in higher income countries. Currently, infected individuals are treated with non-steroidal anti-inflammatory drugs to relieve some symptoms. Therefore, in addition to an effective prophylactic vaccine, we believe there is a need for systemic secreted antibody for passive immunity to the Chikungunya virus.
Antibody against Chikungunya virus (mRNA-1944): Our product concept
A systemically delivered mRNA instructing cells to secrete an antibody to glycoprotein E to neutralize Chikungunya
The mRNA-1944 development candidate contains two mRNAs that encode the heavy and light chains of the Chikungunya antibody and utilizes our proprietary LNPs. The mRNA-1944 development candidate encodes a fully human IgG antibody isolated from B cells of a patient with a prior history of Chikungunya infection. Thus mRNA-1944 encodes a fully human IgG antibody against the envelope protein E2. The systemic antibody against Chikungunya virus titers can be evaluated in clinical trials by enzyme-linked immunosorbent assay, or ELISA, to quantify the amount of expressed IgG. A neutralization assay can be used to ensure that the mRNA expressed antibody was properly folded and functional.
Antibody against Chikungunya virus (mRNA-1944): Preclinical information
Systemic mRNA administration results in antibody production and protection from Chikungunya infection in animals
In immunodeficient AG129 mice (lacking the IFN-α/ß and -γ receptors) Chikungunya causes a lethal disease and mice succumb to infection within 3-4 days with ruffled fur and weight loss. Protection in this model is mediated by antibodies against the Chikungunya viral proteins that must provide complete protection or sterilizing immunity. Therefore, this challenge model was used to establish a correlate of protection using activity and systemic IgG concentration data.
An in vivo study in AG129 mice was completed to determine the activity of mRNA encoded antibody against Chikungunya virus. The test article was administered to mice as prophylaxis at 0.02, 0.1, and 0.5 mg/kg by IV tail injection. A subset of animals (n=10) were challenged 24 hours post prophylaxis with Chikungunya virus strain LR006 and monitored for morbidity and mortality. Complete survival of mice was observed after treatment with the highest dose of 0.5 mg/kg of mRNA-1944.
In addition, the pharmacokinetics were evaluated in cynomolgus monkeys through intravenous infusion at 0.3, 1.0, and 3.0 mg/kg. The average serum antibody level was quantified at various time points to demonstrate a half-life of 23 days. The maximum serum concentration of the antibody was found to be 16.2 µg/mL with dose 1 and 28.8 µg/mL with dose 2, as shown in the figure below.

99

Table of Contents

Expression of antibody against Chikungunya virus with repeat dosing of mRNA-1944 or placebo in non-human primate study
a0001193125183449821_image95.jpg
In addition, mRNA-1944 was tested in rats and non-human primates in a repeat-dose study via IV infusion up to 5 and 3 mg/kg, respectively. There were no dose-limiting toxicities related to mRNA-1944 observed and all other observations were generally reversible.
Antibody against Chikungunya virus (mRNA-1944): Clinical data
We recently announced positive interim data from the first analysis of safety and activity in the Phase 1 study of mRNA-1944 administered via intravenous infusion in healthy adults.
We are conducting a Phase 1 dose-escalation study in healthy adults that is randomized and placebo-controlled. The objective is to evaluate the safety and tolerability of escalating doses (0.1, 0.3, 0.6, mg/kg dose levels, without dexamethasone included in the premedication regimen, a dose level cohort at 0.6 mg/kg dose level, with dexamethasone included in the premedication regimen, with 8 subjects per cohort) of mRNA-1944 administered via intravenous infusion. In addition, there is a dose level cohort in which subjects will be administered two IV infusions of 0.3mg/kg, one infusion on Day 1 and another subsequent infusion on Day 8, without dexamethasone in the premedication regimen. No further dose escalation beyond 0.6 mg/kg is planned. Other objectives are to determine the pharmacokinetics of all dose levels of mRNA-1944, to determine if the antibodies produced are sufficiently active to neutralize viral infection in assays and to determine the pharmacodynamics of anti-Chikungunya virus IgG levels. Each of the dose level cohorts initially doses three sentinel subjects, with a seven-day interval between each sentinel subject. Safety data on each sentinel subject as well as cumulative safety data are reviewed by the internal safety team, or IST, seven days following infusion of mRNA-1944 prior to the second and third sentinel subjects are dosed, as per the schematic described below. The IST will also review safety data for the three sentinels and recommend expansion to five subjects at that dose level with an overall randomization ratio of 3:2 (mRNA-1944:placebo). The safety monitoring committee, or SMC, reviews the safety data for the dose level and recommend escalation to the next dose level. A schematic of the trial design is shown below.

100

Table of Contents

slide4pptx.jpg
As of February 12, 2020, dose level cohorts 0.1, 0.3, 0.6 mg/kg without dexamethasone in the premedication regimen and dose level cohort 0.6 mg/kg with dexamethasone in the premedication regimen have been completed.
As of September 2019, at all dose levels tested (0.1, 0.3 and 0.6 mg/kg), all participants exceeded the levels of antibody expected to be protective against chikungunya infection (> 1 μg/mL) following a single dose, with the middle and high doses projected to maintain antibody levels above protective levels for at least 16 weeks as shown in the panel below. The average serum antibody level was quantified at various time points to demonstrate a half-life of 62 days. No significant adverse events were observed at the low and middle doses; infusion-related adverse events were observed at the high dose, which resolved spontaneously without treatment.









101

Table of Contents

Mean serum concentration of antibody against Chikungunya virus (mRNA_1944) at three dose levels without steroid premedication in Phase 1 clinical trial
bx21.gif

102

Table of Contents

Relaxin (AZD7970): Summary
In collaboration with AstraZeneca we are developing a secreted systemic engineered protein for heart failure
Chronic heart failure continues to be a leading cause of death worldwide. While numerous treatments are currently available, the needs of many heart failure patients are not met. Relaxin is a well-studied natural protein hormone that is known to have cardiovascular protective effects. Earlier attempts at developing relaxin as a protein therapeutic have failed. Serelaxin, a recombinant relaxin protein therapeutic with a short 30 minute half-life recently failed to meet its primary endpoints in a Phase 3 trial. We believe that engineering the Relaxin protein for a longer duration and repeat dosing might overcome the shortcomings of earlier attempts. In collaboration with AstraZeneca, we use mRNA encoding for a relaxin protein designed for a long duration of action. It is also designed to be produced by the body with human post-translational modifications.
Relaxin (AZD7970): Disease overview
Heart failure continues to be a major health concern despite multiple treatment options
Heart failure is the inability of the heart to pump blood efficiently and presents itself as either an impairment of ejection of the blood (systolic heart failure) or defective ventricular filling (diastolic heart failure). It is associated with fluid retention in peripheral tissues, including the lungs, leading to tissue congestion, dyspnea, fatigue, and ultimately death. Heart failure is a major unmet medical need as it is the leading cause of hospitalization in the elderly worldwide and accounts for 1.1 million cases annually in the United States. The aging population and the improved survival rates from myocardial infarcts have increased the lifetime risk of developing heart failure to one in five.
Current treatments for heart failure include therapies that reduce blood pressure or potentially help eliminate the excess of fluid in congested tissues (beta-blockers, angiotensin-converting enzyme inhibitors, angiotensin II inhibitors, and aldosterone receptor blockers). Despite long-term combined treatments, the needs for these patients are often unmet, as evidenced by the high mortality rate in this patient population (i.e., 36.5% in a median 3-year follow-up).
Relaxin is a naturally occurring hormone, present in both men and women, that has been shown to promote vasodilation and angiogenesis, regulate extracellular matrix turnover, and suppress arrhythmias post myocardial infarction. Though prior studies have failed to demonstrate long-term benefit in clinical studies, we believe that our novel approach can overcome potential flaws of previous approaches.
Relaxin (AZD7970): Our product concept
We have engineered a long-acting Relaxin to extend its otherwise short half-life
AZD7970 is an mRNA encoding a human relaxin protein designed and engineered to have an extended half-life. We have also utilized our proprietary LNPs to enable repeat dosing. We believe AZD7970 can address the short half-life of serelaxin. AZD7970 is intended for IV-administered repeat dosing.
Relaxin (AZD7970): Preclinical information
We have observed extended exposure with our mRNA encoding for an engineered version of Relaxin
We have observed that relaxin mRNA gives rise to a long-lasting systemic and functional protein following IV dosing with proprietary LNPs. Prolonged duration of relaxin protein production was observed both in rodents and non-human primates. Systemic protein levels of the Relaxin protein in plasma of IV dosed cynomolgus monkeys following a single injection of mRNA were assessed using a commercially available antibody. Exposure to the fusion protein made from our mRNA was considerably extended (up to 10 days), as shown in the figure below. In contrast, earlier published studies described the half-life of relaxin administered as a recombinant protein to be of a few minutes. An IND-enabling GLP toxicology program for Relaxin (AZD7970) is ongoing.

103

Table of Contents

Relaxin protein levels in serum upon administration of mRNA encoding for
relaxin in our proprietary LNP in non-human primate study
a0001193125183449821_image97.jpg
Relaxin (AZD7970): Clinical plan
AstraZeneca may conduct a Phase 1 trial.
Fabry disease (mRNA-3630): Summary
Our approach to Fabry disease with a secreted alpha galactosidase protein
Fabry disease is an X-linked hereditary defect in glycosphingolipid metabolism caused by mutations in the GLA gene, which encodes for the lysosomal protein alpha galactosidase, or α-GAL. It is one of several lysosomal storage diseases. Decreased activity of α-GAL results in the lysosomal accumulation of substrates (Gb3 and Lyso-Gb3) within cells and tissues, ultimately impairing cell/tissue function. Currently, there are several approved therapies for the treatment of Fabry disease including enzyme replacement therapy, or ERT, and chaperone therapy. However, patients continue to suffer from renal decline and have immunogenic side effects with ERT usage. In addition, patient eligibility with chaperone therapy is limited to amenable mutation status. With our platform technology, the cells in the human body can be instructed to produce α-GAL from the liver and other tissues to properly target α-GAL into lysosomes. Additionally, these tissues can secrete it into circulation for delivery to the lysosomes of other tissues. We are developing an intravenously administered mRNA that encodes α-GAL enzyme and we plan to conduct a Phase 1/2 clinical trial to evaluate the safety and efficacy of mRNA-3630 in Fabry patients.
Fabry disease (mRNA-3630): Disease overview
Fabry disease is a lysosomal storage disorder
Fabry disease is a progressive, multiorgan, X-linked lysosomal storage disorder with an annual incidence of approximately 1:80,000. Affected individuals have a deficiency in α-GAL, resulting in a reduced or complete inability to metabolize glycosphingolipids in the lysosomes. Thus, patients accumulate glycosphingolipids such as Gb3 within lysosomes, which ultimately results in cellular and tissue dysfunction. In Fabry patients, multiple organs are impacted including the vasculature, kidney, heart; and the gastrointestinal and neurological systems. The severity of the disease is related to the lack of enzyme activity in patient cells. Classic Fabry patients are the most affected individuals, and generally retain <1% of normal enzyme activity. Diagnosis of Fabry disease occurs generally during childhood, but in some patients, it is diagnosed later in life, usually after the patient presents with a stroke or renal complications.
Currently, there are several approved therapies for the treatment of Fabry disease. Agalsidase beta, which is marketed as Fabrazyme by Sanofi Genzyme, and Agalsidase alpha, which is approved and marketed as Replagal outside the United States by Shire, are enzyme replacement therapies, or ERTs, administered to most Fabry patients. Both of those therapies are versions of α-GAL ERTs that are administered intravenously, often require long infusion times and can lead to undesired immune reactions. These enzymes are effective at decreasing substrate accumulation in some tissues and slowing disease progression, however patients that have been on ERTs for 10 years still have renal function decline at a rate greater than normal healthy individuals. In addition to ERTs, Amicus Therapeutics has received marketing approval in many jurisdictions including the United States and European Union for migalastat, a small molecule chaperone therapy which treats a subset of patients.

104

Table of Contents

Fabry disease (mRNA-3630): Our product concept
We intend to utilize the cells in the human body to produce and secrete α-GAL
The mRNA encoding α-GAL is designed to instruct the cells of the human body to produce complex functional intracellular proteins for utilization in the lysosome and secretion out of the cell for uptake by other tissues. This is intended to replace the enzyme α-GAL insufficient or missing in Fabry patients. Our mRNA-3630 program consists of an mRNA encoding human α-GAL encapsulated in our proprietary LNP. The mRNA sequence is optimized for protein expression. mRNA-3630 will be administered intravenously to encode enzymatically-active α-GAL protein to restore this deficient or defective enzyme.
An illustration of our approach is shown in the figure below. The mRNA encoding for α-GAL, once inside the cell, is translated to α-GAL protein by ribosomes and translocated to the endoplasmic reticulum. The protein sequences traverse the secretory pathway of the cell. The protein is either sent to the lysosome where it reduces the level of Gb3 in target cells or is directed for secretion outside the cells, allowing for broad distribution of the protein.
a0001193125183449821_image98.jpg
Fabry disease (mRNA-3630): Preclinical information
With a single dose of our mRNA encoding for α-GAL, we observed a sustained reduction in lyso-Gb3
We have conducted several in vivo pharmacology studies to demonstrate nonclinical proof-of-concept for α-GAL therapy. Administration of proprietary LNP formulated α-GAL mRNA to the Fabry mouse model resulted in a significant and durable reduction of globotriaosylsphingosine, or lyso-Gb3, in tissue and serum for 12 weeks following a single dose, as shown in the figure below. In this study, there were 3 Fabry GLA -/- mice per group. Data was normalized to the control sequence group for the specific time point.
Reduction in lyso-Gb3 in tissue with single administration of α-GAL mRNA in mouse model study
a10kimage99.jpg

105

Table of Contents

In addition, we have evaluated plasma α-GAL in non-human primates following IV administration of 0.5 mg/kg mRNA-3630 every other week for four doses. There were four animals per group. These data indicate consistent circulation of enzyme in circulation following repeated administrations as shown in the figure below.

106

Table of Contents

Repeat dosing of α-GAL mRNA in non-human primate study
a0001193125183449821_imagf01.jpg
Anti α-GAL antibodies were not detected in these animals. Non-human primate tissues were examined after the last dose and showed greater than wild-type levels of enzyme as determined by activity assessment and shown in the figure below. The IND-enabling GLP toxicology program for mRNA-3630 is ongoing.
Increase in α-Galactosidase level in key tissues after repeat dosing of α-GAL mRNA in non-human primate study
a000119312518344982_001.jpg
Fabry disease (mRNA-3630): Clinical plan
We plan to conduct a Phase 1/2 open label clinical trial with multiple ascending doses to evaluate the safety, tolerability, and efficacy of our development candidate in patients.
Autoimmune Therapeutic Area (mRNA-6981 and mRNA-6231) Introduction
Our company strategy continues to be to invest in our platform technology and scalable infrastructure to pursue a pipeline of potential medicines that reflect the breadth of the mRNA opportunity. In January 2020, we announced the entry into a fifth therapeutic area, autoimmune diseases, building on the clinical validation of the systemic delivery of mRNA provided by the Phase 1 clinical proof of concept of the chikungunya antibody program. Autoimmune diseases are characterized by immune activation in response to antigens normally present in the body, reflecting a loss of tolerance. Within this therapeutic area, we are developing two potential medicines, mRNA-6981 and mRNA-6231, designed to engage peripheral tolerance pathways to dampen autoimmune activation and help restore immune homeostasis, thereby reducing autoimmune pathology. In this modality, mRNA is delivered systemically to create proteins that are either secreted or expressed on the cell surface.

107

Table of Contents

Our approach to the treatment of autoimmune diseases is to leverage mechanisms of peripheral tolerance to modulate the immune system’s reaction to self-antigens.
Scientific and technical advances enable our expansion into new therapeutic areas, the latest of which is autoimmune disease. Autoimmune diseases are defined by pathology resulting from an adaptive immune response against an antigen or antigens normally present within the body. Pathology is present in a variety of organs across autoimmune diseases such as rheumatoid arthritis, systemic lupus erythematosus, inflammatory bowel disease, psoriasis, type 1 diabetes, multiple sclerosis, autoimmune hepatitis and related disorders such as graft vs host disease. Autoimmune diseases affect millions of patients worldwide, many of whose disease is not well-controlled by existing treatment options, and represent billions of dollars in healthcare costs.
In healthy people, autoimmune reactions are prevented or controlled by mechanisms of tolerance. Lymphocytes (e.g., T and B cells) that are reactive against self-antigens are deleted during development, thus establishing central tolerance. Central tolerance is not completely protective, and so other mechanisms, collectively known as peripheral tolerance, act on any self-reactive lymphocytes that escape central tolerance to control potential autoimmune pathology. These mechanisms of peripheral tolerance include induction of a reversible state of cellular non-responsiveness in self-reactive cells called anergy, and expression of inhibitory receptors or cytokines by other cells, such as dendritic cells, macrophages, and regulatory T cells (“Tregs”). The immune system works constantly to maintain balance between a state of immune activation and immune tolerance, sometimes called homeostasis. We are developing two potential medicines we believe have the potential to engage peripheral tolerance mechanisms to dampen autoimmune activation and help restore immune homeostasis. PD-L1 (mRNA-6981) aims to induce the expression of this inhibitory receptor on myeloid cells, and IL-2 (mRNA-6231) aims to preferentially increase the number of Tregs.
PD-L1 (mRNA-6981): Mechanistic overview
PD-L1 is a co-inhibitory receptor that can induce anergy in programmed cell death protein 1 (“PD-1”)-expressing T cells.
Antigen presenting cells, such as dendritic cells, form stable cell-cell junctions with T and B cells, called immune synapses, to communicate in three ways: Signal 1 (antigen presentation and recognition), Signal 2 (co-stimulatory signals to activate the cell) and Signal 3 (cytokines, chemokines, and certain metabolites to activate, repress, or modulate the immune response). When immune synapses occur in the context of high levels of co-inhibition, such as high levels of PD-L1 expressed on antigen presenting cells, this may result in the induction of peripheral regulatory T cells, induction of a reversible non-responsive state called anergy, or death of autoreactive lymphocytes due to removal of critical survival signals. Given their role in adaptive immune responses and their involvement in autoimmune disorders, dendritic cells and other myeloid populations have become a target of recent immunotherapies.
 
The PD-L1/PD-1 pathway has a critical function in immune regulation and promotes development and function of Tregs. PD-L1 is a transmembrane protein expressed on antigen presenting cells, such as dendritic cells and macrophages, activated T cells, B cells, and monocytes as well as peripheral tissues. Its cognate receptor, PD-1, is a co-inhibitory transmembrane protein expressed on T cells, B cells, natural killer cells and thymocytes. Engagement of PD-1 to PD-L1 results in decreased IL-2 production and glucose metabolism, with continued engagement leading to induction of T cell anergy or conversion of naïve cells into peripheral regulatory T cells. Engagement of PD-L1 with PD-1 also inhibits T cell proliferation, cytotoxic activity and cytokine production, and suppresses the reactivation of previously activated T effector cells.
Preclinical mouse models deficient in PD-1 spontaneously develop a variety of autoimmune diseases such as arthritis, myocarditis, lupus-like glomerulonephritis and type 1 diabetes, demonstrating the critical role of the PD-L1/PD-1 interaction in maintaining tolerance to self-antigens. Additionally, treatment of cancer patients with PD-1 or PD-L1 inhibitors sometimes results in immune-related adverse events, including the development of hepatitis, dermatitis and colitis, demonstrating the role of PD-1/PD-L1 in human autoimmune reactions.
We believe our PD-L1 therapy may augment PD-L1 expression on cell types similar to those that endogenously express it, and by reducing immune activation, potentially reduce the clinical manifestations of a variety of autoimmune diseases.
PD-L1 (mRNA-6981): Our product concept
We intend to induce expression of PD-L1 on myeloid cells to send a tolerizing signal to immune cells in their environment in order to treat autoimmune diseases.
Our intent is to use our platform to influence myeloid cells, including dendritic cells, to provide additional co-inhibitory signals by augmenting endogenous expression of PD-L1. We believe that this tolerizing signal to lymphocytes may limit autoreactivity in the context of ongoing autoimmune pathology without severe and global suppression of the immune system. Given that our platform allows us to modify myeloid cells in situ, our approach to the creation of a tolerogenic environment may provide unique benefits in

108

Table of Contents

treating autoimmune diseases by seeking to restore immune homeostasis. We believe the platform technologies used have already been substantially validated in humans; mRNA-6981 employs the same delivery technology used in clinical trials for our chikungunya antibody therapeutic, mRNA-1944. Results with mRNA-1944 demonstrate predictable dose-dependent pharmacology that translated effectively from preclinical species into humans.
 

chart9.jpg


109

Table of Contents

PD-L1 (mRNA-6981): Preclinical information
We have observed disease modification in a range of preclinical models.
We have investigated the effect of mRNA-6981 in multiple disease models. In one example we evaluated mRNA-6981 in a rat model of arthritis. Animals were given a single injection of chicken collagen type II in incomplete Freund’s adjuvant in order to induce chronic arthritis-like symptoms. mRNA-6981 was dosed subcutaneously at four times per week and compared to a negative PBS control and a positive control of daily high dose dexamethasone (Dex). Arthritis-like symptoms included paw swelling and joint rigidity, which were scored as a proxy for disease severity. Compared to animals treated with PBS, animals treated with PD-L1 mRNA presented with consistently less severe disease similar to animals treated daily with dexamethasone for at least three weeks.
Collagen-Induced Arthritis model
chart10.jpg

We have investigated mRNA-6981 in a range of other preclinical models of autoimmune and related diseases, including type 1 diabetes, colitis and graft-versus-host disease, and observed disease-modifying activity.
PD-L1 (mRNA-6981): Clinical plan
We are planning a Phase 1 clinical trial for patients with type 1 autoimmune hepatitis (“AIH”).
AIH is an autoimmune condition involving inflammation in the liver, which over time can lead to cirrhosis and liver failure. Type 1 AIH is characterized by a specific autoantibody profile and afflicts more than 75,000 patients in the U.S. Type 1 AIH is typically treated with steroids and azathioprine but some patients either do not respond to these treatments or are unable to tolerate them and are therefore in need of alternatives. A specific role for PD-L1 therapy in treating type 1 AIH is supported by clinical observations in cancer patients receiving PD-1/PD-L1 checkpoint inhibitor treatment: a noted adverse event is the development of AIH, which responds to discontinuation of checkpoint inhibitor therapy and treatment with corticosteroids. Checkpoint inhibitor-induced AIH has an identical histological and clinical manifestation compared to non-drug induced type 1 AIH. We believe that mRNA-6981 may provide benefit to type 1 AIH patients by increasing PD-L1 expression and plan to pursue proof-of-concept in type 1 AIH as a first step to addressing a range of autoimmune indications. We are planning a clinical trial to evaluate the safety, tolerability, pharmacology, and duration of the effect of mRNA-6981 in type 1 AIH patients refractory or intolerant to the standard of care
IL-2 Mutein (mRNA-6231): Mechanistic overview
IL-2 is a critical cytokine for Treg activation and expansion.
Cytokines are potent modulators of the immune system, directing function and homeostasis. IL-2 is critically important to T cell survival and function. IL-2 acts through a receptor complex that can be dimeric, IL-2Rß (“CD122”) plus the common γ chain (“CD132”), or trimeric, which is formed through the addition of IL-2Rα (“CD25”) to the dimeric form. The trimeric form has 10-

110

Table of Contents

fold to 100-fold greater affinity for IL-2. Under low or homeostatic IL-2 conditions, those cells which preferentially express the trimeric receptor, or IL-2R, such as Tregs and very recently activated effector T cells, are activated. Conversely, those cells that express the dimeric form, such as naïve or antigen-experienced cytotoxic T cells and natural killer cells (“NK cells”), are only activated by much higher concentrations of IL-2. Tregs play an obligate role in maintaining peripheral tolerance through the control of effector T cell responses, and several strategies are being developed to exploit IL-2 to treat autoimmune disease by selectively enhancing Treg function. These include recombinant protein forms of IL-2/mAb complexes, IL-2 Muteins and low-dose IL-2.
IL-2 Mutein (mRNA-6231): Our product concept
We intend to utilize subcutaneous mRNA administration to produce a version of IL-2 that is potentially longer acting and more selective for the trimeric IL-2 receptor (“IL-2R”) in order to treat autoimmune diseases.
IL-2-based therapeutics are being clinically evaluated for a wide range of immune-mediated disorders, including rheumatoid arthritis, systemic lupus erythematosus, graft versus host disease, inflammatory bowel diseases, and autoimmune hepatitis. We believe that our platform can be exploited to produce a modified IL-2 for the treatment of autoimmune conditions. Our modified IL-2 is engineered with mutations that selectively decrease binding to the dimeric IL-2 receptor present on CD4+ and CD8+ T effector cells and NK cells, and increase reliance upon CD25 of the trimeric IL-2 receptor complex to trigger the signaling cascade in regulatory T cells. Our modified IL-2 is also expressed as a fusion protein to extend its half-life in the serum. This will be the first demonstration of subcutaneous administration of the delivery technology used in clinical trials for our chikungunya antibody therapeutic, mRNA-1944.
chart11.jpg

111

Table of Contents

IL-2 Mutein (mRNA-6231): Preclinical information
We have observed preferential expansion of Tregs in non-human primates.
Preclinical work has been conducted using mouse homologs as well as cynomolgus monkeys. In one example, monkeys were dosed subcutaneously with a single dose of mRNA-6231 and T cells in the peripheral blood were monitored on days 1, 3, 5, 8, and 14. The percentage of Tregs (CD4+ T cells that were also FoxP3+) increased about 12-fold (average across N=4 animals) at their maximum (day 8 post-dosing). Conversely, the percentage of activated CD8+ conventional T cells (that co-express CD25) did not significantly increase over baseline at any time during the monitoring period, illustrating the preferential expansion of Tregs by the IL-2 Mutein.
chart12.jpg
IL-2 Mutein (mRNA-6231): Clinical plan
We are planning a Phase 1 clinical trial in normal healthy volunteers to assess safety, tolerability, pharmacokinetics and pharmacodynamics.
We plan to conduct a Phase 1 dose escalation study of mRNA-6231 in adult healthy volunteers. The objectives of this study are to evaluate the safety and tolerability of mRNA-6231, to assess the pharmacodynamic response through Treg selective expansion, activation and duration, and to characterize the pharmacokinetic profile of mRNA-6231 in expressing IL-2 in the serum following subcutaneous administration.


 


112

Table of Contents

VI. PROGRAM DESCRIPTIONS IN OUR SYSTEMIC INTRACELLULAR THERAPEUTICS MODALITY
We designed our systemic intracellular therapeutics modality to increase levels of intracellular proteins. We aim to use cells in the human body to produce proteins encoded by mRNA that are located in the cytosol or specific organelles of the cell to achieve a therapeutic effect in one or more tissues or cell types. The goal of this modality is to provide intracellular proteins, such as intracellular enzymes and organelle-specific proteins, as safe, tolerable, and efficacious therapies. Our initial focus within this modality is on rare genetic diseases.
This modality currently has four programs. Our pipeline is shown in two formats, with a cell map illustrating the diversity of biology addressed by our mRNA pipeline programs, and a traditional format that shows the current stages of development of our pipeline programs, in the section of this Annual Report on Form 10-K titled “Business—Our Pipeline.”
Systemic intracellular therapeutics modality: Opportunity
Systemically delivered, intracellular therapeutics focus on areas currently not addressable with recombinant proteins, which are typically administered systemically and cannot reach the inside of the cell. Objectives for potential new therapies in this area include increasing the levels of:
intracellular pathway proteins;
soluble organelle-specific proteins; and
organelle-specific membrane proteins.
Methylmalonic acidemia (mRNA-3704): Summary
Program aims to produce an intracellular, mitochondrial enzyme to treat a pediatric, genetic, metabolic disorder
Isolated methylmalonic academia, or MMA, is a rare, life-threatening, inherited metabolic disorder that is primarily caused by a defect in the mitochondrial enzyme methylmalonyl-coenzyme A mutase, or MUT. It primarily affects the pediatric population. There is no approved therapy that addresses the underlying disorder, including no approved enzyme replacement therapy, due to the complexity of the protein and its mitochondrial localization. Liver or combined liver-kidney transplant is one option for severely affected individuals. Our platform may allow the cells in the human body to produce these and other complex mitochondrial enzymes. Therefore, we are developing an intravenously (IV)-administered mRNA encoding MUT in our proprietary LNP, in order to restore this deficient or defective mitochondrial enzyme in the liver and other cells. We have observed preclinical proof-of-concept in two different MMA mouse models, notably with a marked improvement in survival and reduction of biochemical abnormalities in a severe MMA mouse model. We have received Rare Pediatric Disease Designation and Orphan Drug Designation from the FDA and Orphan Drug Designation from the European Commission. The FDA has also designated the investigation of mRNA-3704 for the treatment of isolated MMA due to MUT deficiency as a Fast Track development program. We have initiated a Phase 1/2 clinical trial in MMA patients with MUT deficiency, and as of February 12, 2020, we have enrolled the first patient in the trial. This patient has entered an observational period prior to treatment, which evaluates the patient’s baseline disease prior to starting the treatment period.
Methylmalonic acidemia (mRNA-3704): Disease overview
MMA is a rare, life-threatening pediatric disorder with no approved therapies that address the underlying defect
MMA associated with MUT deficiency is a serious inborn error of metabolism disorder with significant morbidity and mortality. There are approximately 500-2,000 MMA MUT deficiency patients in the United States based on estimated birth prevalence (0.3-1.2:100,000 newborns) and mortality rates. Mortality is significant, with mortality rates of 50% for MMA patients with complete MUT deficiency (mut 0) (median age of death 2 years) and 40% for MMA patients with partial MUT deficiency (mut -) (median age of death 4.5 years) reported in a large European study.
MMA mainly affects the pediatric population and usually presents in the first few days or weeks of life. The occurrence of acute metabolic decompensations is the hallmark of the disorder and decompensations are typically more frequent in the first few years of life. Each decompensation is life-threatening and often requires hospitalization and management at an intensive care unit. Surviving patients often suffer from numerous complications including chronic renal failure and neurologic complications such as movement disorders, developmental delays, and seizures. Consequently, the health-related quality of life for MMA patients and their families is significantly impaired.
The disorder is autosomal recessive and primarily caused by loss-of-function mutations in the gene encoding MUT, a mitochondrial enzyme that metabolizes certain proteins and fats, resulting in complete (mut 0) or partial (mut -) enzyme deficiency.

113

Table of Contents

Over 250 mutations have been reported to date for MUT, with many MMA patients carrying private mutations. The most frequent mutations include p.N219Y and p.R369H, occurring with allelic frequencies of 8% in a large European cohort (n=151). Population-specific mutations have been reported, such as the p.R108C and p.G717V mutations identified in Hispanic and African-American patients, respectively. Due to a deficiency in the MUT enzyme resulting in a blockage in a metabolic pathway, the disorder is biochemically characterized by the accumulation of toxic metabolites such as methylmalonic acid in all body fluids and tissues.
There are currently no approved therapies that address the underlying defect for MMA. Carglumic acid (marketed as Carbaglu) is approved in the EU for the acute treatment of hyperammonemia due to various organic acidemias including MMA. Liver transplant and combined liver-kidney transplant have emerged as effective treatment options for severely affected individuals, resulting in substantial reductions in metabolic decompensations and circulating methylmalonic acid concentrations.
Methylmalonic acidemia (mRNA-3704): Our product concept
We are utilizing our ability to produce a complex intracellular enzyme (MUT) that is localized to the mitochondria
MUT is a complex intracellular enzyme that exists as a homodimer, and requires mitochondrial localization and engagement with its cofactor (a derivative of vitamin B 12 ) to be enzymatically active. mRNA has the capability to encode any type of protein, including a functional, intracellular protein that is trafficked to the proper subcellular localization within target cells.
We are developing an mRNA encoding human MUT encapsulated in our proprietary LNPs for intravenous, or IV, administration for the treatment of isolated MMA associated with MUT deficiency. The sequence has been engineered to improve protein translation. To function, the mRNA-encoded MUT protein is translocated to its site of action in the mitochondria as shown in the figure below.
a10kimage102a01.jpg
Methylmalonic acidemia (mRNA-3704): Preclinical information
We have observed pronounced improvement in survival due to mRNA treatment in an MMA mouse model
We have conducted a series of in vitro and in vivo pharmacology studies to demonstrate preclinical proof-of-concept for human MUT mRNA in two different mouse models of MMA representing the spectrum of MUT deficiency (mut 0 and mut - ) as published by us in Cell Reports in 2017. As an example, a 12-week repeat-dose study in MMA mut 0 mice (Mut -/-; Tg INS-MCK- Mut) at 0.5 mg/kg IV every other week has shown a pronounced improvement in survival due to human MUT mRNA treatment, with all treated mice surviving 12 weeks in contrast to control mice which all perished within a few weeks. The figure below shows the Kaplan-Meier curve of PBS-injected (n=6 mice) and human MUT mRNA (n=6 mice) treated MMA mut 0 mice and PBS-injected (n=6 mice) healthy heterozygote mice. The three asterisks indicate p-value < 0.001 for human MUT mRNA vs. PBS-injected MMA mut0 mice from the log-rank test.

114

Table of Contents

Improved survival in a 12-week study with mRNA encoding for human MUT in mouse disease model study
a10kimage103a01.jpg
In addition, the data indicated that the treated MMA mut0 mice doubled their body weights and approached the body weights of PBS-injected healthy mice in this 12-week repeat dose study. In contrast, surviving PBS-injected MMA mut 0 mice did not gain weight.
Increase in body weight in a 12-week study with mRNA encoding human MUT in mouse disease model study
a10kimage104a01.jpg
hMUT mRNA treated MMA mut0 mice showed significant and sustained reductions in the toxic disease metabolites, including plasma methylmalonic acid, compared to pre-treatment levels, in a 6-week repeat dose study in MMA mut0 mice. This is shown in the figure below. Arrows denote weekly IV administration of human MUT mRNA (0.2 mg/kg). Plasma was collected 4 days prior to treatment and 3 days after each dose administration. Washout levels were for the 10-day washout following 5 th dose administration of human MUT mRNA. The asterisk indicates a p-value < 0.01 from paired t-tests of post-treatment vs. pre-treatment levels.

115

Table of Contents

Decrease in plasma methylmalonic acid in 6-week repeat dose study with mRNA encoding for human MUT in MMA mut 0 mouse model study
a10kimage105a01.jpg
Additionally, a pharmacokinetic study performed in wild type mice demonstrated that human MUT can be elevated above wild type level MUT levels. Specifically, human MUT protein expression in liver peaked at 16 hours after a single IV injection of human MUT mRNA (0.5 mg/kg) with a concentration of 85 ng/mg protein, ~2-3 fold higher than endogenous human and mouse MUT in liver.
There were no dose-limiting toxicities related to mRNA-3704 in juvenile rats and immature non-human primates in a repeat IV dose one-month IND-enabling GLP toxicology study up to the top doses tested. An independent IND-enabling GLP cardiovascular safety study in non-human primates also indicated mRNA-3704 showed no dose-limiting toxicities.
Methylmalonic acidemia (mRNA-3704): Clinical plan
We are conducting a global natural history study and a Phase 1/2 clinical trial in the United States and Europe
We are conducting a global natural history study in methylmalonic acidemia, or MMA, and propionic acidemia, or PA, that was initiated in 2018. Some of the patients participating in the natural history study may enter our interventional clinical trials.
Our natural history study aims to identify and correlate clinical and biomarker endpoints for both MMA and PA. We also have a PA program (mRNA-3927) that addresses a disease closely related to MMA. There is synergy in combining the natural history study for MMA and PA. The natural history study is a global, multi-center, non-interventional study for patients with confirmed diagnosis of MMA due to MUT deficiency or PA. Up to 60 MMA patients and up to 60 PA patients in the United States and Europe will be followed prospectively for 1-3 years. Enrollment in the study has been completed. Retrospective data are also being collected as available.
We have initiated an open-label, multi-center, dose escalation Phase 1/2 study of multiple ascending doses of mRNA-3704 in patients with isolated MMA due to MUT deficiency between 1 to 18 years of age with elevated plasma methylmalonic acid concentrations. The objectives of this study are to evaluate the safety, pharmacodynamics (as assessed by changes in plasma methylmalonic acid), and pharmacokinetic profile of mRNA-3704 in patients affected by MMA.
During the dose-escalation phase, three dose levels of mRNA-3704 are planned to be investigated in this study. The first dose level will enroll adolescents aged 8 and older. Once safety and tolerability is determined, we intend to enroll patients aged 1 and older. An additional cohort to evaluate a fourth dose level may be considered. Patients will receive twelve doses of mRNA-3704 administered via IV infusion every 3 weeks.
Three patients will be enrolled sequentially within each dose level cohort. Enrollment of the first three patients within each dose cohort will be staggered by 21 days using a sentinel dosing strategy approach to allow for safety observation after dosing. For the evaluation of safety data prior to escalation to the next dose level, a modified 3+3 design using predefined dose limiting toxicity criteria will be used. Dose escalation recommendations to open the next dose level cohort will be made by an independent SMC and will include review of safety and pharmacodynamic activity through at least 21 days following the first dose administration of mRNA-3704, the dose limiting toxicity window, for all patients.
Upon establishment of a dose with acceptable safety and pharmacodynamic activity in dose escalation, additional patients will be enrolled in a dose-expansion phase to allow for further characterization of the safety and pharmacodynamic activity of

116

Table of Contents

mRNA-3704. Patients in both phases of study will enter into a pre-dosing observational period to characterize baseline (pre-treatment) biomarker levels, followed by a treatment period, and then a two-year follow-up period after withdrawal of treatment. A schematic of the trial is shown in the figure below. We have enrolled the first patient in the trial. This patient has entered an observational period prior to treatment, which evaluates the patient’s baseline disease prior to starting the treatment period.
a190312capture.jpg
Propionic acidemia (mRNA-3927): Summary
We aim to produce an intracellular, mitochondrial enzyme complex to treat a pediatric metabolic disorder
Propionic acidemia, or PA, is a rare, life-threatening, inherited metabolic disorder due to a defect in the mitochondrial enzyme propionyl-CoA carboxylase, or PCC. It primarily affects the pediatric population. There is no approved therapy for PA, including no approved enzyme replacement therapy, due to the complexity of the enzyme, which comprises six copies each of two different subunits (PCCA and PCCB), and its mitochondrial localization. The only effective treatment for severely affected individuals is liver transplant, aimed at increasing enzyme activity to reduce the occurrence of life-threatening acute metabolic crises. Our platform is uniquely positioned to potentially address this disease by enabling synthesis of this complex enzyme that is localized in the mitochondria of the cell. We are developing an IV-administered mRNA therapeutic comprising two different mRNAs encoding PCCA and PCCB in our proprietary LNP to replace the defective PCC enzyme with functional enzyme in liver and other cells. We have received Rare Pediatric Disease Designation and Orphan Drug Designation from the FDA and Orphan Drug Designation from the European Commission for the PA program. The FDA has also granted Fast Track designation to mRNA-3927.
We expect to initiate a Phase 1/2 clinical trial in PA patients.
Propionic acidemia (mRNA-3927): Disease overview
PA is an inherited metabolism disorder with significant morbidity and mortality and no approved therapy
PA is a serious inborn error of metabolism disorder, closely related to MMA, with significant morbidity and mortality. There are approximately 325-2,000 PA patients in the United States based on estimated birth prevalence (0.2-1.2:100,000 newborns) and mortality rates. The vast majority of patients present with life-threatening metabolic crises during the first days or weeks of life, with mortality rates ranging from 13-53% during the neonatal period. Similar to MMA, the cardinal feature of the disorder is the occurrence of life-threatening acute metabolic decompensations that are more frequent in the first few years of life. Longer term sequelae include cardiac complications (cardiomyopathy, arrhythmias) and severe neurologic complications.
The disorder is caused by a defect or deficiency in PCC, an enzyme that is one step upstream in the same metabolic pathway as the MUT enzyme that is deficient in MMA. PCC is a complex hetero-dodecamer enzyme composed of six alpha subunits (PCCA) and six beta subunits (PCCB). The disorder is autosomal recessive, with PA patients generally having loss-of-function mutations in either PCCA or PCCB (and in rare instances, mutations in both PCCA and PCCB). To date, over 100 mutations have been identified for both PCCA and PCCB genes and, similar to MMA, most of the mutations are private. Also similar to MMA, due to this enzyme deficiency resulting in a metabolic block, the disorder is biochemically characterized by the accumulation of toxic metabolites such as 3-hydroxypropionic acid and 2-methylcitrate, among others, and these metabolites may be used as biomarkers of disease.
There is no approved therapy for PA to treat the underlying defect, including no enzyme replacement therapy, due to the complexity of PCC and mitochondrial localization. Carglumic acid (marketed as Carbaglu) is approved in the EU for the acute treatment of hyperammonemia due to various organic acidemias, including PA. Management of the disorder is otherwise limited to strict dietary restrictions and other supportive measures similar to MMA. Liver transplant is a radical yet effective treatment, with the aim of increasing PCC enzyme activity in liver for severely affected individuals.

117

Table of Contents

Propionic acidemia (mRNA-3927): Our product concept
We are utilizing the strength of our platform to produce a complex enzyme comprising two different proteins that localize to the mitochondria
The ability of our platform to encode for large, multimeric complexes such as PCC and enable production of intracellular, mitochondrial proteins makes mRNA especially suited to potentially address PA. We are developing an IV-administered combination mRNA approach, which contains two mRNAs, one for each of the subunits of PCC (PCCA and PCCB) encapsulated in our proprietary LNP. The intent is to potentially treat the entire PA population, regardless of whether an individual has a defect or deficiency in the PCC alpha or beta subunit. The mRNA sequences have been engineered to improve protein translation and encode enzymatically-active PCC with the proper subcellular localization in the mitochondria. An illustration of our approach is shown in the figure below.
a10kimage106a01.jpg
Propionic acidemia (mRNA-3927): Preclinical information
We have demonstrated activity in a PA mouse model in a long-term repeat dose study
A series of in vitro and in vivo pharmacology studies have been performed to demonstrate preclinical proof-of-concept for the combined PCCA and PCCB mRNA therapy. PCCA and PCCB mRNAs administered in PA patient fibroblasts (both PCCA and PCCB-deficient) showed production of active PCC enzyme with the proper subcellular localization in mitochondria at concentrations above wild-type levels. In vivo studies in PA (PCCA -/- [A138T]) mice have resulted in a dose-dependent increase in hepatic PCC activity with a concomitant decrease in disease biomarkers. Notably, a reduction in plasma ammonia levels was observed 3-4 weeks after a single IV administration (1 mg/kg) of PCCA and PCCB mRNA encapsulated in our proprietary LNP in PA mice (n=4-5/group). The data are shown in panel A of the figure below. Additionally, a 6-month repeat-dose study in PA mice showed decreased heart weight (normalized to body weight) in mice treated with monthly IV administration of PCCA and PCCB mRNA (1 mg/kg) compared to control mRNA (n=6/group). This is shown in panel B of the figure below. Data in both panels is presented as mean ± standard deviation.

118

Table of Contents

Reduction in plasma ammonia with PCCA+PCCB mRNA in PA mouse model study
a10kimage107a01.jpg
Panel (A)
Decrease in heart weight with PCCA+PCCB mRNA in 6 month repeat dose study in PA mouse model study
a10kimage108a01.jpg
Panel (B)
In the 6-month repeat dose study in PA mice, a significant and sustained lowering of additional disease biomarkers (e.g., 2-methylcitrate, or 2MC) was observed throughout the duration of the 6-month study. A comparison of 2-methylcitrate levels as a result of monthly IV administration of PCCA and PCCB mRNAs (0.5-1 mg/kg) compared to control mice injected with a control (luciferase) mRNA is shown in the figure below (n=6/group). Data are presented as mean ± standard deviation. The IND-enabling GLP toxicology program for PA (mRNA-3927) has been completed.

119

Table of Contents

Plasma 2-methylcitrate levels with repeat dosing of PCCA+PCCB mRNA in PA mouse model study
a10kimage109a01.jpg
Propionic acidemia (mRNA-3927): Clinical plan
We are conducting a global natural history study and are planning a Phase 1/2 clinical trial
The clinical development plan for mRNA-3927 includes a global, natural history study that was initiated in 2018 and a planned Phase 1/2 study in pediatric patients diagnosed with PA.
We have launched a natural history study aimed at identifying and correlating clinical and biomarker endpoints. This is a global, multi-center, non-interventional study for patients with confirmed diagnosis of PA or MMA due to MUT deficiency. Up to 60 PA and 60 MMA patients in the United States and Europe will be followed prospectively for 1-3 years. Enrollment in this study has been completed. Retrospective data are being collected as available.
We plan to conduct an open-label, multi-center, dose escalation Phase 1/2 study of multiple ascending doses of mRNA-3927 in pediatric patients with PA in the United States and Europe. The objectives of this study are to evaluate the safety and tolerability of mRNA-3927 administered via IV infusion, to assess the pharmacodynamic response from changes in plasma biomarkers, to characterize the pharmacokinetic profile of mRNA-3927.
Phenylketonuria (mRNA-3283): Summary
Our approach to Phenylketonuria with an mRNA encoding for an intracellular protein
Phenylketonuria, or PKU, is a rare inherited metabolic disease resulting from a deficiency in the metabolism of phenylalanine, or PHE, due to mutations within the enzyme phenylalanine hydroxylase, or PAH. The most effective treatment is a restrictive diet of low protein, which controls PHE intake. Approximately 20-56% of PKU patients respond to sapropterin dihydrochloride (marketed as Kuvan in the United States), a synthetic BH4 cofactor for PAH which improves PHE metabolism, but does not fully cure patients. In addition, Biomarin has received approval for pegylated phenylalanine lyase, or PAL, marketed as Palynziq. Palynziq is a pegylated recombinant bacterial enzyme which metabolizes PHE in the blood. We believe the immune risk is, at least in part, driven by bacterial PAL. With our mRNA technology, cells in the human body can be instructed to produce functional PAH, decreasing PHE levels in the blood and restoring production of tyrosine. We are developing an intravenously administered mRNA which encodes for the PAH enzyme and is encapsulated in our proprietary LNP. We plan to conduct a Phase 1 clinical trial for mRNA-3283.
Phenylketonuria (mRNA-3283): Disease overview
There are options to treat PKU which are not widely applicable, and efforts by other companies are likely to face hurdles
PKU occurs in approximately 1:10,000-15,000 live births in the United States. Based on current population estimates that would translate into approximately 21,000-32,000 PKU patients in the United States. Affected individuals have a deficiency in the enzyme PAH, resulting in a reduced or complete inability to metabolize the essential amino acid phenylalanine into tyrosine. Thus,

120

Table of Contents

PKU patients suffer from a phenylalanine intoxication and a subsequent deprivation of tyrosine, leading to severe mental disability if left untreated.
PAH is expressed as a monomer, but functions as a tetramer and requires tetrahydrobiopterin (BH4) as a cofactor to complete the conversion of PHE to tyrosine, thereby maintaining adequate PHE:TYR ratios within circulation. To date, greater than 950 gene variants have been identified in the PAH gene, resulting in PKU.
Diagnosis of PKU occurs primarily through newborn screening in available countries, followed by genetic confirmation. Newly diagnosed patients receive medical formulas containing protein with low PHE content to control blood PHE and provide adequate nutrition for growing infants. As patients age they are tested for sensitivity to synthetic BH4 and may transition to Kuvan. Approximately 20% of patients respond favorably to Kuvan, which can aid in PHE control. Nonresponsive patients are treated mainly with restricted diet; however, adherence to the diet is challenging, resulting in poor compliance. When PHE levels are not adequately controlled, patients begin to show multiple signs of disease, including depression, anxiety, poor executive function, and attention deficit hyperactivity disorder, or ADHD. In May 2018, Biomarin received approval to market Palynziq.
One option for PKU patients may be treatment with gene therapy. We believe there are potential advantages for mRNA therapeutics for this disorder over gene therapy as described in the systemic intracellular therapeutics modality section.
Phenylketonuria (mRNA-3283): Our product concept
We intend to utilize the cells in the human body to produce PAH intracellularly
We believe mRNA therapy is a viable therapeutic modality for PKU patients due to its ability to instruct cells in the human body to produce complex functional intracellular proteins such as PAH. Our program mRNA-3283 consists of an mRNA encoding human PAH encapsulated in our proprietary LNPs. The mRNA sequence is optimized for protein synthesis and contains a microRNA binding site to reduce or potentially eliminate synthesis of protein outside of the target tissues. mRNA-3283 is designed to be administered intravenously to encode enzymatically-active PAH protein in liver to restore this deficient or defective enzyme as illustrated in the figure below.
a10kimage110a01.jpg
Phenylketonuria (mRNA-3283): Preclinical information
We have demonstrated the ability to impact PHE levels by repeat dosing of our mRNA in preclinical studies
We have conducted several in vitro and in vivo pharmacology studies to demonstrate preclinical proof-of-concept for PAH therapy. A PKU mouse model demonstrated a significant reduction of blood PHE levels post dose as shown in the figure below. The study included IV administration of PAH mRNA every 7 days at 0.5 mg/kg in a PAH-/- mouse model. Data point with asterisk is marked zero since it was not collected due to a snow storm. PHE level was measured using liquid chromatography with a combination of two mass analyzers (LC-MS/MS). The IND-enabling GLP toxicology program for PKU (mRNA-3283) is ongoing.

121

Table of Contents

PHE reduction with repeat dosing of PAH mRNA in PKU mouse model study
a10kimage111a01.jpg
Phenylketonuria (mRNA-3283): Clinical plan
We plan to conduct a Phase 1 open label clinical trial with single ascending dose to evaluate the safety, tolerability, and activity of our development candidate in patients.
Glycogen storage disease type 1a (mRNA-3745): Summary

Our approach to glycogen storage disease type 1a using an mRNA encoding for intracellular human glucose 6-phosphatase

Glycogen storage disease type 1a ("GSD1a") is an inherited metabolic disease caused by the deficiency in the catalytic activity of glucose 6-phosphatase (“G6Pase”), which is encoded by the glucose 6-phosphatase gene (“G6PC”). The G6Pase enzyme is involved in the metabolic pathways of glycogenolysis and gluconeogenesis which allow the liver and kidney to release glucose into the blood. Those affected by GSD1a present with life-threatening hypoglycemia and a wide range of severe metabolic derangements and long-term complications such as hyperlipidemia, lactic acidemia, hepatomegaly, hepatocellular adenomas, and end-stage renal disease. The standard of care consists of strict diet control. Enzyme replacement therapy (“ERT”) is not an option for these patients due to challenges associated with delivering an enzyme inside the cell. Strict diet control via the frequent consumption of uncooked cornstarch is effective in improving hypoglycemia. However, the underlying pathologies continue and its efficacy in preventing the long-term metabolic complications has yet to be established. With our mRNA platform, cells in the liver may be instructed to produce functional G6Pase, with the goal of restoring the homeostasis of glycogenolysis and gluconeogenesis pathways and correcting the underlying pathologies. We are developing an intravenously administered mRNA which encodes for G6Pase and is encapsulated in our proprietary lipid nanoparticle ("LNP"). We have demonstrated activity in mouse models in the form of reduction in both liver and serum biomarkers and improvements in liver morphology. We plan to conduct a Phase 1 clinical trial for mRNA-3745.

Glycogen storage disease type 1a (mRNA-3745): Disease overview

There are no approved therapies for GSD1a that address the enzymatic deficiency

GSD1a is an inherited metabolic disorder caused by a deficiency in the catalytic activity of G6Pase, an enzyme encoded by G6PC gene and involved in two metabolic pathways associated with glucose homeostasis. G6Pase catalyzes the hydrolysis of glucose-6-phosphate to glucose and inorganic phosphate, the final step of glycogenolysis and gluconeogenesis that mainly takes place in liver and kidney. GSD1a patients suffer from severe fasting hypoglycemia, hepatomegaly, nephromegaly, lactic acidemia, hypertriglyceridemia, hyperuricemia, hypercholesterolemia, hepatic steatosis, and growth retardation. In addition, hepatocellular adenomas occur in 70% to 80% of GSD1a patients by their third decade of life and carries risk of transformation into hepatocellular carcinomas. Proteinuria has been observed in over half of patients above 25 years of age.
GSD1a occurs in approximately 1:100,000 live births in the United States and European Union but is more common in Ashkenazi Jews where the incidence is reported to be 1:20,000 live births. There are an estimated 2,500 people in the United States and over

122

Table of Contents

4,000 people in the European Union with GSD1a. Although strict diet therapy, including frequent feeding with uncooked cornstarch, allows GSD1a patients to live into adulthood by preventing hypoglycemia, the underlying pathological processes remain uncorrected resulting in the development of many long-term complications including liver adenomas and hepatocellular carcinoma. While gene therapy is being investigated for treatment of GSD1a, we believe there are potential advantages for mRNA therapeutics for this disorder over gene therapy.

Glycogen storage disease type 1a (mRNA-3745): Our product concept

We intend to utilize the cells in the human body to produce G6Pase intracellularly

We believe that our platform can address GSD1a with its ability to instruct cells in the human body to produce complex functional intracellular membrane proteins such as G6Pase. Our program, mRNA-3745, consists of an mRNA encoding for modified human G6Pase encapsulated in our proprietary LNPs. The human G6Pase sequence is modified for improved protein production and G6Pase activity. mRNA-3745 is designed to be administered intravenously and encodes G6Pase protein to restore this deficient or defective enzyme as illustrated in the figure below.
bx24.gif
Glycogen storage disease type 1a (mRNA-3745): Preclinical information

We have demonstrated the ability to improve hypoglycemia and other metabolic abnormalities associated with GSD1a in a mouse model

We have conducted several in vitro and in vivo pharmacology studies to demonstrate preclinical proof-of-concept for GSD1a therapy. mRNA encoding for G6Pase introduced in human cells resulted in robust production of active G6Pase with subcellular localization into endoplasmic reticulum. We have examined the activity of mRNA encoding for human G6Pase in a liver-specific G6Pase -/- mouse model (G6PC.LKO). Like GSD1a patients, the G6PC.LKO mice are unable to produce endogenous glucose, leading to severe hypoglycemia during the fasting state.
In a dose-response study performed in G6PC.LKO mice, we treated the mice with three different doses of 0.2, 0.5, and 1 mg/kg of G6Pase mRNA encapsulated in our proprietary LNP and examined fasting glucose, serum triglycerides, and liver enzymes (n=5-8). Of note, mice treated with G6Pase mRNA showed a dose-dependent improvement in fasting glycemia and a reduction in serum triglycerides, without a significant increase in liver enzymes (e.g. alanine transaminase - ALT). Fasting blood glucose and triglycerides are shown in the figure below. Each bar represents the mean ± standard deviation. Single and double asterisk denotes p < 0.05 and p < 0.0001, respectively, by one-way ANOVA, followed by Dunnett’s post-hoc test for multiple comparisons.
Serum biomarkers after single dose of G6Pase mRNA in G6PC.LKO mice

123

Table of Contents

bx25.gif
In the same study, a reduction in liver weight compared to the control-treated group was observed after 24 hours of administration of G6Pase encoded mRNA in LNP. The reduction in liver weight was associated with significant improvement in liver morphology presumably due to reduction in liver glucose 6-phosphate, glycogen, and triglycerides.

Reduction in liver weight 24 hours after IV administration of G6Pase mRNA in G6PC.LKO mice

bx26.gif
In addition, data for a 7-week repeat-dose study in G6PC.LKO mice receiving G6Pase mRNA in LNP at 0.25 mg/kg IV every other week have shown a pronounced improvement in fasting glycemia, in comparison with the G6PC.LKO mice receiving a control mRNA treatment as shown below (n=7-9).


124

Table of Contents

Restoration of blood glucose above therapeutic threshold with repeat dosing of G6Pase mRNA in G6PC.LKO mice
bx28.gif
Glycogen storage disease type 1a (mRNA-3745): Clinical plan

We are planning a Phase 1 clinical trial

We plan to conduct an open-label, dose escalation Phase 1 study of mRNA-3745 in adolescent and adult patients with GSD1a in the United States. The objectives of this study are to evaluate the safety and tolerability of mRNA-3745, to assess the pharmacodynamic response through changes in maintenance of euglycemia, and to characterize the pharmacokinetic profile of mRNA-3745.



125

Table of Contents

MANUFACTURING (PRODUCT SUPPLY AND TECHNICAL DEVELOPMENT)
We believe manufacturing plays a critical role in our value chain and ability to develop a new class of medicines. Our manufacturing capabilities currently support the Research Engine and the Early Development Engine, while in connection with preparing for our upcoming Phase 3 clinical trial with our CMV vaccine, we are establishing capabilities to support the Late Stage Development and Commercial Engine. Within the Research Engine, our manufacturing provides mRNA drug substance and formulated drug product for platform research and therapeutic area drug discovery. For the Early Development Engine, we manufacture mRNA and drug product for IND-enabling GLP toxicology studies and initial human clinical studies. For Late Stage Development, we manufacture mRNA and drug product for phase 3 studies. Our approach to date has been to proactively build capacity in anticipation of demand from internal research and development, as well as from our strategic collaborators. We have done so by making significant investments in our internal manufacturing capability and in a network of external manufacturing partners.
Overview of our manufacturing operating model
Our manufacturing activities focus on the following:
Manufacturing Technology. Our manufacturing technology development includes state-of-the-art technologies for mRNA and drug product manufacturing and testing to attain robust, consistent supply that matches target product profiles. Manufacturing technology also needs to support scale-up and industrialization of products for ultimate commercial approval.
Supply. The product supply for the Research Engine enables platform research and drug discovery in our therapeutic areas. Within the Early Development Engine, supply is directed towards IND-enabling GLP toxicology programs or current good manufacturing practice, or cGMP, supplies for early clinical studies of our investigational medicines.
We have invested in a dedicated in-house manufacturing facility in Norwood, MA, Moderna Technology Center (MTC), given our expectations for significant ongoing pipeline expansion and the long lead time required in building manufacturing infrastructure. The facility is approximately 200,000 square feet; can scale up to 100 cGMP lots per year; and can accommodate over 200 of our employees. This facility is expected to support our Research Engine supply, IND-enabling GLP toxicology study supplies, our Phase 1 and Phase 2 pipeline activities, later-stage clinical development activities, particularly in connection with our Phase 3 CMV vaccine clinical trials, as well as certain commercial activities.
The MTC includes the following areas:
five cGMP suites for the manufacture of mRNA drug substance and bulk drug product;
dedicated cGMP suites for sterile filling;
cGMP suites for the manufacture of personalized cancer vaccines, or PCVs;
cGMP suites for the manufacture of critical raw materials;
space for packaging, labeling, and storage of vialed products;
temperature-controlled warehouse for incoming and outgoing products;
quality control laboratories;
pilot scale manufacturing space for scale-up and manufacture of toxicology supplies;
space for the manufacture of research grade mRNA; and
clean utilities including purified water and water for injection generation and controlled distribution.
The facility has been designed with a high level of automation and digital integration of manufacturing records and data. In addition, we have deployed an automated material and resource management system, a manufacturing execution system, a laboratory execution system, a laboratory information management system, and an asset and document management system, to ensure the digital integration of our manufacturing, product testing and release, and regulatory filings.
Manufacturing technology development
In order to support our broad pipeline of products spanning multiple therapeutic areas and multiple routes of administration, the technology underpinning product manufacturing is critical to our success. Over the last few years, we have invested heavily in this technology to enable the breadth and depth of our pipeline, and to prepare us to meet future needs and requirements as our programs enter later phases of development and commercialization.

126

Table of Contents

Our technology efforts are intended to span the development of robust and consistent manufacturing processes, assays to fully characterize the product, and fit-for-purpose formulations and product presentations. In addition, manufacturing activities include the development of novel hardware platforms that incorporate significant automation and robotics which are applicable broadly across programs but also specifically to personalized cancer vaccines. All of these activities are being developed with a focus on achieving appropriate cost of goods and scalability.
Our advances over the last few years have enabled us to more efficiently scale our mRNA and drug product manufacturing at successfully larger production yields. We have made significant investments in analytical characterization to determine critical product quality attributes and enable manufacturing site and scale changes over the course of development. In addition, pharmaceutical readiness of our drug product has enabled a wide variety of routes of administration (e.g., intramuscular, intratumoral, and intravenous).
We have also invested in the establishment of technology for the manufacture of some of our key raw materials, including DNA plasmid and many small molecules. This vertical integration allows us to exert significant control over the value chain, though we will continue to use a combination of internal and external manufacture of these raw materials.
Supply of mRNA for the Research Engine and Early Development Engine
Supply for the Research Engine
We believe that our internal manufacturing capacity is key to the advancement of our platform technology development and therapeutic area discovery efforts. High throughput automation and custom-engineered equipment enable us to produce multiple high quality mRNA and formulated constructs within a limited timeframe from order to delivery. We currently have infrastructure capable of producing up to 1,000 lots of mRNA sequences and formulations per month with a turnaround time of a few weeks from sequence to final product. The typical scale of mRNA manufactured by this team is 1-1000 mg.
Supply for the Early Development Engine
Analogous to the Research Engine, we have proactively established manufacturing capabilities for the Early Development Engine. We started supplying product to enable IND-enabling GLP toxicology studies, and for human clinical studies, meeting required cGMP standards, with a combination of internal manufacturing at our Cambridge headquarters and external manufacturing at well-established contract manufacturing organizations, or CMOs. Our MTC facility has the capability and capacity to produce research and clinical supply for our programs as well as to enable technology development and scale-up for future needs. We will continue to selectively use CMOs to complement our internal capacity to provide supply contingency and expanded capability where needed.
This extensive capacity has helped enable our broad pipeline of 24 development candidates, including the significant output necessary to supply our toxicological and human clinical studies. Though the underpinnings of the technology utilized across these 23 programs are the same, each program typically requires customization driven in part by its target product profile. These custom features range from varying molecular architecture to different routes of administration, and often necessitate multivalent products. For example, our CMV vaccine (mRNA-1647) requires six different mRNA sequences to be manufactured for inclusion in an intramuscular mRNA medicine, whereas OX40L (mRNA-2416) requires a single mRNA sequence for inclusion in an intratumoral mRNA medicine. All programs, with the exception of PCV, require that we scale up supply over time to meet the clinical demand required in the different phases of development and prepare the process for regulatory approval and eventually commercial supply, where bigger batch sizes will be required. In contrast, the PCV program is designed to provide each patient with a cancer vaccine that is designed and manufactured for that specific patient, thus increasing the number of batches to match the number of patients treated. As we scale the manufacturing output for particular programs, we plan to continuously improve yield, purity, and the pharmaceutical properties of our development candidates from IND-enabling GLP toxicology studies through commercial launch, including improvement to shelf life stability and solubility properties of drug product and drug substance. Typically after a change in process, more time may be required for pharmaceutical property testing, such as 6- or 12-month stability testing. This time lag may necessitate resupplying clinical materials, or making additional cGMP batches to meet clinical trial demand, before such pharmaceutical property testing is completed.
Supply of mRNA and formulated product for toxicology studies: Early on, we established the internal capability to produce mRNA and formulated product for IND-enabling GLP toxicology studies for our development candidates under GLP standards.
Supply of cGMP mRNA and formulated product for human clinical studies: We have incrementally built the capability to produce and supply mRNA drug product for clinical development. In our early years, we outsourced cGMP supply. We selected specialized CMOs to support a total of five programs by the end of 2015. In 2016, we built and qualified two cGMP suites in our Cambridge facility for the manufacture of mRNA drug substance and formulated drug product. While we had the internal capability to produce drug product, we continued to work with our external CMO network for redundant capacity and to provide sterile filling capability.
cGMP manufacture of PCV: Due to the specialized nature of personalized medicine, in which a batch is specifically manufactured for a single patient, the PCV program has unique requirements. In this program, we digitally integrate patient-specific data from

127

Table of Contents

sequencing tumor samples and automatically design PCVs for patients. We have developed proprietary bioinformatics design algorithms, and have linked them to an automated manufacturing process for rapid production of formulated mRNA that can be turned around in a matter of weeks. The PCV manufacturing capability is termed Personalized Vaccine Unit, or PVU. PCV manufacturing is conducted using custom automated and engineering solutions utilizing single-use systems with fast “needle-to-needle” turnaround time. We have operationalized PCV manufacture within our external CMO network to meet our Phase 1 supply needs, while in parallel working to internalize manufacturing. Unlike traditional process development, where the product is scaled up in quantity for later phases of development and commercialization, each PCV is manufactured for a single patient and thus scaled-out with extensive use of automation and robotics for the larger numbers of patients involved in later phases of development and commercialization.
Supply for the Late Stage Development and Commercialization Engine
As our pipeline advances to later stage development and potential commercialization, we will need to evolve our manufacturing suites and other capabilities at our MTC facility. The modular nature of the MTC suites is permitting us to manufacture drug substance and drug product for our upcoming phase 3 CMV clinical trial and potentially other registrational trials, and potentially drug substance and drug product for commercialization for certain rare disease indications. In other instances, we may build additional capabilities to support our Late Stage Development and Commercialization Engine.
Quality unit
Quality is core to the way we operate. We seek to ensure quality at Moderna through a combination of a robust Quality Management System, or QMS, our quality culture, and through our people. In accordance with applicable regulations we have established, documented, and implemented a QMS to assure continued compliance with the requirements therein. The QMS facilitates cGMP compliance by implementing practices that identify the various processes required by the QMS, their application throughout the organization, and the sequence of interaction of these processes.
The primary mode of documenting these key practices is through policies, standard operating procedures, forms, and other quality records, which include an overarching Quality Policy and Quality Manual. We have implemented measurement tools and metrics to monitor, measure, and analyze these practices to support cGMP operations, achieve planned results, and support continuous improvement. We monitor these quality metrics through formal governance processes, including Quality Management Review, or QMR, and our Quality Council to enable continuous improvement. We have also established an independent Quality Unit that fulfills quality assurance and quality control responsibilities.
While the Quality Unit is ultimately accountable and responsible for quality, quality is everyone’s responsibility. All cGMP personnel are empowered to ensure quality systems are appropriately maintained and executed.
We have established a culture that encourages transparency, accountability, and ownership of quality at all levels in the organization. As we scale the quality organization, we have focused on hiring the best talent with the required experience, training, and education.
Supply chain unit
We have established a robust supply chain to enable sufficient supply of the raw materials used to produce our mRNAs and components of our formulations. We have worked with our supply chain vendors to characterize critical raw materials and to understand their impact on the quality of mRNA drug substance and formulated drug product. We have also assessed the quality system and performance of our supply chain vendors and worked with them to comply with regulatory requirements.


128

Table of Contents

DIGITAL INFRASTRUCTURE
We believe that digital technologies, such as robotics, automation, artificial intelligence, and cloud computing, are critical to operationalize our strategy, accelerate our pace of learning and execute at scale. Our approach to bring these digital technologies into our workflows and processes has involved the following:
utilization of a consistent set of digital building blocks;
application of digital technologies in multiple business processes; and
rapid iterations for maximum optimization.
We have seen several benefits from our investments in digitization, most importantly through the depth of our platform technology and breadth of our pipeline. Other benefits include:
Quality: Reduction in human errors by enabling automation, repeatability, and seamless integration;
Scalability: Growth in our pipeline to 23 programs;
Speed: Rapid manufacture of research-grade mRNA from the Research Engine; and
Cost efficiencies: Digital infrastructure utilized across our platform, drug discovery, clinical development, and manufacturing to maximize efficiencies.
Our digital building blocks
We utilize six building blocks for our digital infrastructure:
Cloud enablement is a critical component of our digital infrastructure. We are at the forefront of mRNA technology. We generate complex data sets, and our scientists need computational power and agility to operate without being limited by traditional computing technology. Maintaining digital infrastructure in the cloud provides the benefits of lower costs by simplifying provisioning and administration, flexibility, scalability, ease of maintenance, disaster recovery, and information security.
Integration of business processes enables us to streamline processes and bring data together in a consistent manner, avoiding caches of information and manual intervention. This efficient flow of data between systems enables the automation of our business processes.
Internet of things allows for smart interconnected devices that provide real-time synchronization of operations. The data from equipment provides real-time guidance to our scientists and engineers.
Automation allows us to scale our operations reliably and reproducibly. With the help of custom hardware solutions and state-of-the-art robotics, we can continue to increase our operating efficiency, reduce errors, and improve our quality and compliance.
Advanced analytics enable us to draw insights from our data. We are constantly generating large data sets that can provide important insights if mined appropriately and regularly.
Artificial intelligence, or AI, is enabling key breakthroughs in predictive modeling. It will allow us to improve our mRNA design algorithms based on machine learning, and will provide us with critical insights into research, supply chain, manufacturing, and other processes.
Digital technologies to enable our Research Engine
We have deployed multiple digital technologies across our Research Engine to drive a rapid pace of learning, enable efficient workflows and business processes, and draw insights from vast amounts of data. Our aim is to provide our platform and discovery scientists with access to an environment that helps them through each step of their research cycle.
Drug Design Studio: Our proprietary in-house digital application suite contains a Sequence Designer module to tailor an entire mRNA, with ever-improving rule sets that contain our accumulated learning about mRNA design. Drug Design Studio utilizes cloud-based computational capacity to run various algorithms we have developed to design each mRNA sequence. The utility of cloud-based capacity allows us to provide flexible computational capacity on demand, allowing the Research Engine to power parallel intake and design of multiple mRNA sequences. Once a sequence is designed, it can be ordered digitally using an internal order form application within Drug Design Studio.

129

Table of Contents


Manufacture of research grade mRNA: Once an order is optimized, the mRNA production process is triggered. We have developed proprietary interfaces that allow the manufacturing team to track production orders at every stage. We have automated several manufacturing steps using both off-the-shelf and custom automation. The equipment used in the manufacture of research-grade mRNA is integrated with the digital interfaces to capture, extract, and interpret the data generated at each step of the manufacturing process, building digital traceability on each mRNA order. We have also embedded real-time algorithms and analytics tools to allow for automated decision-making at some stages, accelerate the quality control workflows, and provide for continuous improvement of manufacturing processes.
Dispatching and shipping mRNA: Because we produce large quantities of research-grade mRNA, we require digital tools to track their shipment to our scientists and to external contract research organizations, or CROs, conducting in vivo studies. Our dispatching and shipping application automatically generates bar-coded labels, allowing for traceability of product.
Inventory and registry: Material used in research and created in production, including mRNA, cell lines, chemicals, and reagents, is tracked in our Inventory application. This application supports numerous workflow tools such as consumption, aliquoting, material transfer, and stock alerts. Critical material types are assigned unique registry identification by our Registry application.
Study design: Using our Drug Design Studio, our scientists can design their in vivo studies using our proprietary Study Design application. This application captures in vivo study protocol design parameters, including dose amount, number of doses, frequency, samples, and assays for each sample. This application serves two purposes. It allows our scientists to maintain and track their in vivo study designs and associated research grade mRNA. Our Study Design application also allows our in vivo pharmacology teams to track the various ongoing studies and leverage external CROs to manage the in vivo demand as needed.
Experiment management: We have deployed Electronic Lab Notebooks for experiment management, allowing our scientists to streamline documentation of their experiments and track it in a standardized, searchable repository. We have also integrated Electronic Lab Notebooks further with our other research tools to connect inventory, in vivo studies, and instrument data.
Advanced analytics and AI to accelerate the pace of learning: We utilize AI to enable various parts of our platform and drug discovery. Examples include:
Neural networks for protein engineering: One way to optimize the efficacy of the proteins encoded by our mRNA is to engineer the sequence of the protein itself. We use neural networks to analyze and model protein sequences. We train these models by inputting orthologous sequences from thousands of organisms, from which we can generate potential protein sequences optimized for specific attributes.
Neural networks for mRNA engineering: The redundancy in the genetic code allows for a large number of mRNA sequences that encode the same protein. mRNA sequence may impact translation, thereby impacting the amount of protein produced in circulation. We are developing AI tools to predict mRNA sequences that can enhance protein expression.
Bayesian AI for sequencing mRNA: We analyze the mRNA sequence produced in our Research Engine as part of our quality control requirements. Analysis of sequencing data can be cumbersome and time-consuming. We are developing Bayesian models to accelerate the assessment of sequencing data and more rapidly provide our scientists with high quality mRNA.
Digital technologies to enable our Early Development Engine
We have deployed multiple digital technologies across our Early Development Engine to drive the rapid pace of advancement, in parallel, of our development candidates into the clinic.
Digital systems for cGMP manufacture: We are committed to having integrated systems connected with robotics to drive our manufacturing in a paperless environment, and have designed and deployed automation to drive efficient manufacturing operations. We have also deployed digital tools within manufacturing process development that give us the ability to track, analyze, and rapidly deploy manufacturing process improvements. Additionally, we have implemented several digital systems across manufacturing process development, quality, supply chain, and operations, including:
enterprise Quality Management System, or QMS, to electronically manage deviations, investigation, and correction and preventive actions;
Laboratory Information Management System, or LIMS, to manage our analytical development data and automate our manufacturing quality control;
computerized maintenance management system to manage equipment maintenance and calibration; and

130

Table of Contents

SAP/S4 Hana system for enterprise resource planning, or ERP, manufacturing execution system, and manufacturing control system to manage inventories, track raw material consumption, digitally integrate equipment with manufacturing recipes in batch records, and control automated equipment.
Digital systems for clinical development and clinical operations: In order to track the timelines of various development candidates through the Early Development Engine, we have created a set of integrated applications. Workflows include timelines for regulatory filings, planning for IND-enabling GLP toxicology studies, scheduling for cGMP manufacturing, and clinical operations management. Below is a summary of our applications:
Our portfolio application is a digital interface that maintains and tracks the timelines across multiple workstreams for each of our development candidates.
The supply application manages the manufacturing schedule of IND-enabling GLP toxicology supplies and cGMP manufacture of clinical supplies to support our programs. This application helps us see how the manufacturing schedule changes over time, identifies supply/demand mismatches, and enables resource planning with real-time alerts should we have any issues.
The GLP toxicology application tracks the planned and ongoing IND-enabling GLP toxicology studies and allows us to manage timelines with our external vendors.
The regulatory application tracks timelines related to regulatory affairs including, pre-IND meetings, IND/CTA submission dates, and other planned regulatory interactions.
Our clinical operations application allows us to track our ongoing trials by accessing clinical operations information in real-time from our CROs. It also has multiple tools and analytics to draw key insights, including, for example, enrollment by trial and enrollment by site to maintain our program timelines.
Digital systems for PCV: The PCV program aims to design, manufacture, and deliver a drug product that includes an mRNA sequence encoding for each patient’s specific neoantigens. The personalized nature of the PCV program adds additional steps and complexity in the overall patient treatment process. We have addressed those additional steps and complexity by digitizing and automating steps within the process, as described below.
Each patient is provided a unique identifier. We track the entire workflow using a single integrated tracker based on this unique identifier. This is one of many ways we ensure that each patient receives the specific drug product lot manufactured for them.
We use neural networks to design the mRNA sequences for the PCV program. Our proprietary vaccine design algorithm selects the top twenty neoantigens to be used and determines their amino acid sequences to trigger the desired immune response.
We utilize Monte Carlo simulations of PCV supply/demand to manage our capacity. Since each drug product lot is personalized to a patient, there is a need to manage supply and demand to avoid bottlenecks at any stage of the workflow.
Digital technologies to support our business processes
We have deployed several digital systems across finance, manufacturing, and human resources to automate our business processes and drive efficiencies. We have implemented the SAP S4/Hana system for ERP. In December 2016 we implemented the finance, procurement and inventory management modules and further scaled the ERP to support manufacturing, quality and supply chain in September 2017 and added the MTC facility and processes in July 2018. We have implemented various cloud-based solutions to improve business processes and drive efficiencies. For example, we have implemented the Workday system for human resource planning and management and integrated various applications across payroll, 401k services, equity plan management and expense reporting.

131

Table of Contents



THIRD-PARTY STRATEGIC ALLIANCES
Strategic alliances
To accelerate the discovery and advancement of potential mRNA medicines across therapeutic areas, we have entered into, and intend to seek other opportunities to form, alliances with a diverse group of strategic collaborators. We have forged productive strategic alliances with pharmaceutical and biotechnology companies, government agencies, academic laboratories, foundations and research institutes with therapeutic area expertise and resources in an effort to advance our discovery and development programs, while leveraging our platform and our Research and Early Development Engines.
One key principle of our approach to strategic alliances is to share the rewards and risks of developing a new mRNA modality, where we may have early research data and desire a strategic collaborator to join us in advancing early development candidates within such modality into the clinic. Representative relationships and associated programs include the following:
AstraZeneca for the localized regenerative therapeutics modality, such as the VEGF-A program (AZD8601) currently in Phase 2a;
AstraZeneca for the intratumoral immuno-oncology modality, such as the IL-12 program (MEDI1191) currently in Phase 1;
AstraZeneca for the systemic secreted therapeutics modality, such as the Relaxin program (AZD7970);
Merck for the prophylactic vaccines modality, such as the RSV vaccine program (mRNA-1172) currently in Phase 1;
Merck for the cancer vaccines modality, such as the personalized cancer vaccine program (mRNA-4157) currently in Phase 2 using a workflow that enables a rapid turnaround time to bring personalized vaccines to patients, and the KRAS vaccine program (mRNA-5671) currently in Phase 1;
DARPA for the systemic secreted therapeutics modality, such as the antibody against Chikungunya virus program (mRNA-1944) currently in Phase 1; and
Vertex for the lung delivery modality, such as the cystic fibrosis, or CF, and cystic fibrosis transmembrane conductance regulator, or CFTR program currently in research.
We view strategic alliances as important drivers for accelerating execution of our goal of rapidly developing mRNA medicines to treat patients across a wide range of medical and disease challenges. To maintain the integrity of our platform, the terms of our agreements with our strategic collaborators generally provide that our strategic collaborators receive rights to develop and commercialize potential mRNA medicines that we design and manufacture, as opposed to rights to use our platform to generate new mRNA, and that we generally own mRNA-related intellectual property arising from research activities performed under the strategic alliance.
We plan to continue to identify potential strategic collaborators who can contribute meaningful resources and insights to our programs and allow us to more rapidly expand our impact to broader patient populations.
AstraZeneca (NYSE: AZN)—Strategic Alliances in Cardiovascular and Oncology
We have three alliances with AstraZeneca. Our first strategic alliance established in 2013 and amended and restated in 2018, was to discover, develop, and commercialize potential mRNA medicines for the treatment of cardiovascular and cardiometabolic diseases, as well as selected targets for cancer. The relationship with AstraZeneca was expanded in 2016 by entering into a new immuno-oncology strategic alliance which is now focused on the joint development of an mRNA investigational medicine to make the IL-12 protein. It was further expanded in 2017 by entering into another strategic alliance which is focused on the joint development of a potential mRNA medicine to make the relaxin protein, following discovery and preclinical development of the relevant development candidate internally. Additionally, AstraZeneca has made several equity investments in Moderna, which total approximately $290.0 million through December 31, 2019.
2013 Agreements with AstraZeneca, amended and restated in 2018
In March 2013, we entered into an Option Agreement and a related Services and Collaboration Agreement with AstraZeneca, which were amended and restated in June 2018. We refer to these amended and restated agreements as the 2018 A&R Agreements. Under the

132

Table of Contents

2018 A&R Agreements, we granted AstraZeneca certain exclusive rights and licenses to research, develop and commercialize potential therapeutic mRNA medicines directed at certain targets for the treatment of cardiovascular and cardiometabolic diseases and cancer, and agreed to provide related services to AstraZeneca. The activities to be performed by the parties under the 2018 A&R Agreements are limited to defined biological targets in the cardiovascular and cardiometabolic fields and one defined target in the cancer field.
Pursuant to the 2018 A&R Agreements, AstraZeneca is responsible for all research, development and commercialization activities and associated costs, while we provide specified research and manufacturing services, at AstraZeneca’s expense, during a research and evaluation period, as described below, to further AstraZeneca’s activities conducted pursuant to an agreed upon services plan. AstraZeneca may request we provide additional services, at AstraZeneca’s expense. Subject to customary “back-up” supply rights granted to AstraZeneca, we exclusively manufacture (or have manufactured) mRNA for all research, development and commercialization purposes under the 2018 A&R Agreements until, on a product-by-product basis, the expiration of the time period for which we are entitled to receive earn-out payments with respect to such product pursuant to the 2018 A&R Agreements.
As of the effective date of the original Option Agreement and Services and Collaboration Agreement in 2013, and as further reflected in the 2018 A&R Agreements, AstraZeneca acquired forty options that it may exercise to obtain exclusive rights to clinically develop and commercialize identified development candidates (and related back-up candidates) directed to specified targets that arise during the research and evaluation period. During the research and evaluation period for research candidates, AstraZeneca may elect to designate a limited number of research candidates as development candidates in order to continue preclinical development on such development candidates (and related back-up candidates). From such pool of development candidates designated by AstraZeneca, during a specified option exercise period, AstraZeneca may then exercise one of its options to obtain exclusive rights to clinically develop and commercialize an identified development candidate (and related back-up candidates) in certain fields. If AstraZeneca does not exercise one of its options to acquire exclusive rights to clinically develop and commercialize a particular development candidate during the defined option exercise period for such development candidate, AstraZeneca’s rights to exercise an option and other rights granted under the 2018 A&R Agreements with respect to such development candidate (and related back-up candidates) will terminate, all rights to exploit such development candidate (and related back-up candidates) will be returned to us and all data and results generated by AstraZeneca with respect to such development candidate (and related back-up candidates) will be either assigned or licensed to us. Upon the earlier of termination of the 2018 A&R Agreements for any reason and a specified anniversary of the effective date of the original Option Agreement and Services and Collaboration Agreement in 2013, all unexercised options, and the right to exercise any and all options if not previously exercised by AstraZeneca, will automatically terminate.
On a target-by-target basis, we and AstraZeneca have agreed to certain defined exclusivity obligations under the 2018 A&R Agreements with respect to the research, development and commercialization of mRNA medicines for such target in certain fields. In addition, we and AstraZeneca have agreed to certain defined exclusivity obligations with respect to the research, development and commercialization of mRNA medicines coding for the same polypeptide as any development candidate being developed under the 2018 A&R Agreements.
As of the effective date of the original Option Agreement and Services and Collaboration Agreement in 2013, AstraZeneca made upfront cash payments to us totaling $240.0 million in exchange for the acquired options and our performance of certain research-related services, each as described above. AstraZeneca will pay us a $10.0 million option exercise payment with respect to each development candidate (and related back-up candidates) for which it exercises an option. We are also eligible to receive, on a product-by-product basis, up to $400.0 million in aggregate contingent option exercise payments upon the achievement of certain development, regulatory and commercial milestone events. Additionally, we are entitled to receive, on a product-by-product basis, earn-out payments on worldwide net sales of products ranging from a high-single digit percentage to 12%, subject to certain reductions, with an aggregate minimum floor. As of December 31, 2019, we have received from AstraZeneca an option exercise payment of $10.0 million and a clinical milestone payment of $30.0 million with respect to AstraZeneca’s VEGF-A product (AZD8601) that is currently being developed in a Phase 2a clinical trial in the cardiovascular and cardiometabolic fields. Additionally, as of December 31, 2019, we have received $120.0 million from AstraZeneca under the 2018 A&R Agreements for the achievement of specified technical milestones.
Unless earlier terminated, the 2018 A&R Agreements will continue until the expiration of AstraZeneca’s earn-out and contingent option exercise payment obligations for optioned product candidates. Either party may terminate the 2018 A&R Agreements upon the other party’s material breach, either in its entirety or in certain circumstances, with respect to relevant candidates, subject to a defined materiality threshold and specified notice and cure provisions. If AstraZeneca has the right to terminate the 2018 A&R Agreements for our material breach, then AstraZeneca may elect, in lieu of terminating the 2018 A&R Agreements, in their entirety or with respect to such candidates, to have the 2018 A&R Agreements remain in effect, subject to reductions in certain payments we are eligible to receive and certain adjustments to AstraZeneca’s obligations under the 2018 A&R Agreements. AstraZeneca may terminate the 2018 A&R Agreements in full, without cause, upon 90 days’ prior notice to us.

133

Table of Contents

2016 Strategic Alliance with AstraZeneca—IL-12
In January 2016, we entered into a new Strategic Drug Development Collaboration and License Agreement, which we refer to as the 2016 AZ Agreement, with AstraZeneca to discover, develop and commercialize potential mRNA medicines for the treatment of a range of cancers.
Under the terms of the 2016 AZ Agreement, we and AstraZeneca have agreed to work together on an immuno-oncology program focused on the intratumoral delivery of a potential mRNA medicine to make the IL-12 protein. The 2016 AZ Agreement initially included research activities with respect to a second discovery program. During a limited period of time, each party had an opportunity to propose additional discovery programs to be conducted under the 2016 AZ Agreement. We are responsible for conducting and funding all discovery and preclinical development activities under the 2016 AZ Agreement in accordance with an agreed upon discovery program plan for the IL-12 program and any other discovery program the parties agree to conduct under the 2016 AZ Agreement. For the IL-12 program and any other discovery program the parties agree to conduct under the 2016 AZ Agreement, during a defined election period that commenced as of the effective date of the 2016 AZ Agreement (for the IL-12 program) and otherwise will commence on initiation of any such new discovery program, AstraZeneca may elect to participate in the clinical development of a development candidate arising under the 2016 AZ Agreement from such program. If AstraZeneca so elects (as it has for the IL-12 program), AstraZeneca will lead clinical development activities worldwide and we will be responsible for certain activities, including being solely responsible for manufacturing activities, all in accordance with an agreed upon development plan. AstraZeneca will be responsible for funding all Phase 1 clinical development activities (including costs associated with our manufacture of clinical materials in accordance with the development plan), and Phase 2 clinical development activities (including costs associated with our manufacture of clinical materials in accordance with the development plan) up to a defined dollar threshold. We and AstraZeneca will equally share the costs of Phase 2 clinical development activities in excess of such dollar threshold, all Phase 3 clinical development activities and certain other costs of late-stage clinical development activities, unless we elect not to participate in further development and commercialization activities and instead receive tiered royalties, as described below.
We and AstraZeneca will co-commercialize products in the United States in accordance with an agreed upon commercialization plan and budget, and on a product-by-product basis will equally share the U.S. profits or losses arising from such commercialization. Notwithstanding, on a product-by-product basis, prior to a specified stage of development of a given product, we have the right to elect not to participate in the further development and commercialization activities for such product. If we make such election, instead of participating in the U.S. profits and losses share with respect to such product, we are obligated to discuss future financial terms with AstraZeneca. If we are unable to agree on future financial terms within a short defined period of time, we are entitled to receive tiered royalties at default rates set forth in the 2016 AZ Agreement, ranging from percentages in the mid-single digits to 20% on worldwide net sales of products, subject to certain reductions with an aggregate minimum floor. AstraZeneca has sole and exclusive responsibility for all ex-U.S. commercialization efforts. Unless we have elected to not to participate in further development (in which case royalties on ex-U.S. net sales will be at the default rates as described above, unless otherwise agreed by the parties), we are entitled to tiered royalties at rates ranging from 10% to 30% on ex-U.S. net sales of the products, subject to certain reductions with an aggregate minimum floor. Subject to customary “back-up” supply rights granted to AstraZeneca, we exclusively manufacture (or have manufactured) products for all development and commercialization purposes. We and AstraZeneca have agreed to certain defined exclusivity obligations with each other under the 2016 AZ Agreement with respect to the development and commercialization of mRNA medicines for IL-12.
Unless earlier terminated, our strategic alliance under the 2016 AZ Agreement will continue on a product-by-product basis (i) until both parties cease developing and commercializing such product without the intention to resume, if we have not elected our right not to participate in further development and commercialization of such product or (ii) on a country-by-country basis, until the end of the applicable royalty term for such product in such country, if we have elected our right not to participate in further development and commercialization of such product.
Either party may terminate the 2016 AZ Agreement upon the other party’s material breach, subject to specified notice and cure provisions. Each party may also terminate the 2016 AZ Agreement in the event the other party challenges such party’s patent rights, subject to certain defined exceptions. AstraZeneca has the right to terminate the 2016 AZ Agreement in full or with respect to any program for scientific, technical, regulatory or commercial reasons at any time upon 90 days’ prior written notice to us. On a product-by-product basis, we have the right to terminate the 2016 AZ Agreement in certain cases if AstraZeneca has suspended or is no longer proceeding with the development or commercialization of such product for a period of twelve consecutive months, subject to specified exceptions, including tolling for events outside of AstraZeneca’s control. On a product-by-product basis, if the 2016 AZ Agreement is terminated with respect to a given product, AstraZeneca’s rights in such product will terminate and, to the extent we terminated for AstraZeneca’s breach, patent challenge or cessation of development or AstraZeneca terminated in its discretion, AstraZeneca will grant us reversion licenses and take certain other actions so as to enable us to continue developing and commercializing such product in the oncology field.

134

Table of Contents

If we continue developing and commercializing a given product following termination of the 2016 AZ Agreement by AstraZeneca in its discretion with respect to such product, AstraZeneca is entitled to receive a mid-single digit royalty on our worldwide net sales of such product and a high-single digit percentage of the amounts received by us from a third party in consideration of a license to such third party to exploit such product, in each case, until AstraZeneca recovers an amount equal to specified development costs incurred by AstraZeneca under the 2016 AZ Agreement with respect to such product prior to such termination. Such percentages increase by a low to mid-single digit amount to the extent such termination occurs after such product achieves a specified stage of development.
2017 Strategic Alliance with AstraZeneca—Relaxin
In October 2017, we entered a new Collaboration and License Agreement, which we refer to as the 2017 AZ Agreement, under which AstraZeneca may clinically develop and commercialize a development candidate, now known as AZD7970, which is comprised of an mRNA construct for the relaxin protein designed by us and encapsulated in one of our proprietary LNPs. We discovered and performed preclinical development activities for AZD7970 prior to the initiation of the strategic alliance with AstraZeneca under the 2017 AZ Agreement.
Under the terms of the 2017 AZ Agreement, we will fund and be responsible for conducting preclinical development activities for AZD7970 through completion of IND-enabling GLP toxicology studies and AstraZeneca will lead pharmacological studies, each in accordance with an agreed upon discovery program plan. During a defined election period that commences as of the effective date of the 2017 AZ Agreement, AstraZeneca may elect to participate in further development and commercialization of AZD7970. Upon such election, AstraZeneca will lead clinical development activities for AZD7970 worldwide and we will be responsible for manufacturing AZD7970, certain regulatory matters and any other development activities that we agree to perform and that are set forth in an agreed upon development plan. AstraZeneca will be responsible for funding Phase 1 clinical development activities (including costs associated with our manufacture of clinical materials in accordance with the development plan, up to a cap above which such costs are shared), and Phase 2 clinical development activities (including costs associated with our manufacture of clinical materials in accordance with the development plan, up to a cap above which such costs are shared) up to a defined dollar threshold. Thereafter, we and AstraZeneca will equally share the costs of Phase 2 clinical development activities in excess of such defined dollar threshold, all Phase 3 clinical development activities and certain other costs of late-stage clinical development activities, unless we elect not to participate in further development and commercialization activities and instead receive tiered royalties as described below. If the development candidate is determined to be IND-ready, and AstraZeneca does not timely elect to participate in the clinical development of AZD7970, AstraZeneca is obligated to reimburse us for certain costs we incurred in the manufacture and development of AZD7970 since execution of the 2017 AZ Agreement.
We and AstraZeneca will co-commercialize AZD7970 in the United States in accordance with an agreed upon commercialization plan and budget, and will equally share U.S. profits or losses arising from such commercialization. Notwithstanding, prior to a specified stage of development of AZD7970, we have the right to elect not to participate in the further development and commercialization activities for AZD7970. If we make such election, instead of participating in the U.S. operating profits and losses share with respect to AZD7970, we are obligated to discuss future financial terms with AstraZeneca. If we are unable to agree on future financial terms within a short, defined period of time, we are entitled to receive tiered royalties at default rates set forth in the 2017 AZ Agreement, ranging from percentages in the mid-single digits to the low 20s on worldwide net sales by AstraZeneca of AZD7970, subject to certain reductions with an aggregate minimum floor. AstraZeneca has sole and exclusive responsibility for all ex-U.S. commercialization efforts. Unless we have elected not to participate in further development (in which case royalties on ex-U.S. net sales will be at the default rates as described above, unless otherwise agreed by the parties), we are entitled to receive tiered royalties at rates ranging from 10% to 30% on annual ex-U.S. net sales of AZD7970, subject to certain reductions, with an aggregate minimum floor. Subject to customary “back-up” supply rights granted to AstraZeneca, we exclusively manufacture (or have manufactured) products for all development and commercialization purposes. Additionally, we and AstraZeneca have agreed to certain defined exclusivity obligations under the 2017 AZ Agreement with respect to the development and commercialization of mRNA medicines for Relaxin.
Unless earlier terminated, our strategic alliance under the 2017 AZ Agreement will continue (i) until the expiration of AstraZeneca’s election period, if it does not elect to participate in the clinical development of AZD7970, (ii) until both parties cease developing and commercializing AZD7970 without the intention to resume, if we have not elected our right not to participate in further development and commercialization of AZD7970, (iii) on a country-by-country basis, until the end of the applicable royalty term for AZD7970 in such country, if we have elected our right not to participate in further development or commercialization of AZD7970 or (iv) following completion of IND-enabling studies with respect to AZD7970, if we provide AstraZeneca with written notice that we do not reasonably believe that the product is IND-ready.
Either party may terminate the 2017 AZ Agreement upon the other party’s material breach, subject to specified notice and cure provisions. Each party may also terminate the 2017 AZ Agreement in the event the other party challenges the validity or enforceability of such party’s patent rights, subject to certain defined exceptions. AstraZeneca has the right to terminate the 2017 AZ Agreement in

135

Table of Contents

full for scientific, technical, regulatory or commercial reasons at any time upon 90 days’ prior written notice to us. We have the right to terminate the 2017 AZ Agreement in certain cases if AstraZeneca has suspended or is no longer proceeding with the development or commercialization of AZD7970 for a period of twelve consecutive months, subject to specified exceptions, including tolling for events outside of AstraZeneca’s control. If AstraZeneca does not timely elect to participate in clinical development of AZD7970, or the Agreement is terminated, AstraZeneca’s rights in AZD7970 will terminate and, to the extent we terminated for AstraZeneca’s breach, patent challenge or cessation of development or AstraZeneca terminated in its discretion, AstraZeneca will grant us reversion licenses and take certain other actions so as to enable us to continue developing and commercializing AZD7970 in the cardiovascular and cardiometabolic fields.
If we continue developing and commercializing AZD7970 following a termination of the 2017 AZ Agreement by AstraZeneca in its discretion, AstraZeneca is entitled to receive a mid-single digit royalty on our worldwide net sales of AZD7970 and a high-single digit percentage of the amounts received by us from a third party in consideration for a license to such third party to exploit AZD7970, in each case until AstraZeneca recovers an amount equal to specified development costs incurred by AstraZeneca under the 2017 AZ Agreement with respect to AZD7970 prior to such termination. Such percentages increase by a low to mid-single digit amount to the extent such termination occurs after such product achieves a specified stage of development.
Merck (NYSE: MRK)—Strategic Alliances in Infectious Diseases and Cancer Vaccines
We have established a multi-faceted relationship with Merck Sharp & Dohme Corp., or Merck, that includes distinct strategic alliances directed to the research, development, and commercialization of mRNA medicines for the prevention and treatment of viral infections and for the treatment of cancer. Merck has also made several equity investments in Moderna totaling approximately $182.0 million.
2015 Strategic Alliance with Merck—Infectious Disease
In January 2015, we entered into a Master Collaboration and License Agreement with Merck, which we refer to as the 2015 Merck Agreement, to research, develop, and commercialize potential mRNA medicines for the prevention and treatment of infections by RSV. As a part of the May 2019 amendment of the 2015 Merck Agreement, we and Merck agreed to conclude the collaboration as it relates to development of potential mRNA medicines for other viruses, including mRNA-1278 for the prevention of VZV infection. Pursuant to the 2015 Merck Agreement, Merck is primarily responsible for research, development and commercialization activities and associated costs. We are responsible for designing and, at Merck's cost, manufacturing all mRNA constructs for preclinical and Phase 1 and Phase 2 clinical development purposes. Responsibility for manufacturing mRNA constructs for late stage clinical development and commercialization purposes is to be determined.
The focus of the initial four-year period of the 2015 Merck Agreement, which ended in January 2019, was the discovery and development of mRNA vaccines and antibodies directed to the four viruses that were the subject of the 2015 Merck Agreement. The 2015 Merck Agreement also includes an additional three-year period during which Merck may continue to preclinically and clinically develop product candidates using mRNA constructs that were initially developed during the initial four-year research period. Merck may, prior to January 12, 2022, elect to exclusively develop and commercialize up to five product candidates.
During the four-year discovery and development phase of the alliance, we and Merck agreed to work exclusively with each other to develop potential mRNA medicines for the prevention and treatment of infections by the four viruses that were the subject of the 2015 Merck Agreement. Additionally, we and Merck have agreed to certain defined exclusivity obligations following the four-year discovery and development phase of the alliance. As part of the May 2019 amendment of the 2015 Merck Agreement, we and Merck agreed to certain exceptions to the existing exclusivity obligations, pursuant to which we will no longer be restricted from researching, developing, and commercializing an mRNA investigational medicine for the prevention of a specific set of respiratory infections, including RSV, for the pediatric population.
Under the terms of the 2015 Merck Agreement, we received a $50.0 million upfront payment. We are eligible to receive, on a product-by-product basis, up to $300.0 million in aggregate milestone payments upon the achievement of certain development, regulatory and commercial milestone events. To date, we have received from Merck a clinical milestone payment of $5.0 million with respect to the initiation of a Phase 1 clinical trial for a Merck RSV vaccine product candidate. On a product-by-product basis, we are also entitled to receive royalties on Merck’s net sales of products at rates ranging from the mid-single digits to low teens, subject to certain reductions, with an aggregate minimum floor. Additionally, concurrent with entering into the 2015 Merck Agreement, Merck made a $50.0 million equity investment in us.
Unless earlier terminated, the 2015 Merck Agreement will continue on a product-by-product and country-by-country basis for so long as royalties are payable by Merck on a given product in a given country. Either party may terminate the 2015 Merck Agreement upon the other party’s material breach, either in its entirety or with respect to a particular program, product candidate, product or country, subject to specified notice and cure provisions. Merck may terminate the 2015 Merck Agreement in full or with respect to a particular

136

Table of Contents

product candidate or product upon certain advance notice to us for any reason, or earlier if Merck determines the alliance or product is no longer commercially practicable. If Merck has the right to terminate the 2015 Merck Agreement, in its entirety or with respect to a program, product candidate or product, for our material breach, then Merck may elect, in lieu of terminating the 2015 Merck Agreement, to have the 2015 Merck Agreement remain in effect, subject to reductions in certain payments we are eligible to receive with respect to the terminable rights. Upon a termination of the 2015 Merck Agreement with respect to a program, all licenses and other rights granted to Merck with respect to such program will terminate and the continued development and commercialization of product candidates and products will revert to us. If the 2015 Merck Agreement is terminated with respect to a given product candidate or product, all licenses and other rights granted to Merck with respect to such product candidate or product will terminate and, to the extent we terminated for Merck’s breach, Merck will grant us licenses under select Merck technology for our continued development and commercialization of such product candidate or product.
2016 Expansion of the Infectious Disease Strategic Alliance with Merck
In January 2016, we expanded our infectious disease strategic alliance with Merck. Specifically, we and Merck agreed to amend the original 2015 Merck Agreement to include the research, development, and commercialization of mRNA medicines for the prevention and treatment of infection by the varicella zoster virus in place of one of the viruses initially included under the 2015 Merck Agreement. Under the terms of the amended 2015 Merck Agreement, we received an upfront payment of $10.0 million from Merck for the inclusion of the new program and we agreed with Merck to increase the tiered royalty rates ranging from the mid-single digits to low-teens for net sales of products directed to this virus.
2016 Cancer Vaccine Strategic Alliance—Personalized mRNA Cancer Vaccines with Merck
In June 2016, we entered into a personalized mRNA cancer vaccines (PCV) Collaboration and License Agreement with Merck, which we refer to as the PCV Agreement, to develop and commercialize PCVs for individual patients using our mRNA vaccine and formulation technology. Under the strategic alliance, we identify genetic mutations present in a particular patient’s tumor cells, synthesize mRNA for these mutations, encapsulate the mRNA in one of our proprietary LNPs and administer to each patient a unique mRNA cancer vaccine designed to specifically activate the patient’s immune system against her or his own cancer cells.
Pursuant to the PCV Agreement, we are responsible for designing and researching PCVs, providing manufacturing capacity and manufacturing PCVs, and conducting Phase 1 and Phase 2 clinical trials for PCVs, alone and in combination with KEYTRUDA (pembrolizumab), Merck’s anti-PD-1 therapy, all in accordance with an agreed upon development plan and budget. We received an upfront payment of $200.0 million from Merck, which we will use to fund the performance of our activities set forth in the agreed upon development plan and budget. In November 2017, we and Merck announced the achievement of a key milestone for the first-in-human dosing of a PCV (mRNA-4157) as a part of the alliance.
Until the expiration of a defined period of time following our completion of Phase 1 and Phase 2 clinical trials for PCVs under the PCV Agreement and delivery of an associated data package to Merck, Merck has the right to elect to participate in future development and commercialization of PCVs by making a $250.0 million participation payment to us. If Merck exercises its election and pays the participation payment, then the parties will equally co-fund subsequent clinical development of PCVs, with Merck primarily responsible for conducting clinical development activities under a jointly agreed development plan and budget. Each party may also conduct additional clinical trials for PCVs that are not included in the jointly agreed development plan and budget, in which case the non-conducting party will reimburse the conducting party for half of the total costs for such trials, plus interest, from its share of future profits resulting from sales of such PCVs, if any. Merck will lead worldwide commercialization of PCVs, subject to Moderna’s option to co-promote PCVs in the United States, and the parties will equally share the profits or losses arising from worldwide commercialization. Until a PCV becomes profitable, we may elect to defer payment of our share of the commercialization and related manufacturing costs and instead reimburse Merck for such costs, plus interest, from our share of future profits resulting from sales of such PCV, if any. Subject to customary “back-up” supply rights granted to Merck, we will manufacture (or have manufactured) PCVs for preclinical and clinical purposes. Manufacture of PCVs for commercial purposes will be determined by the parties in accordance with the terms of the PCV Agreement.
If Merck does not exercise its right to participate in future development and commercialization of PCVs, then we will retain the exclusive right to develop and commercialize PCVs developed during the strategic alliance, subject to Merck’s rights to receive a percentage in the high teens to the low 20s, subject to reductions, of our net profits on sales of such PCVs. During a limited period following such non-exercise, Merck has the right to perform clinical trials of such PCVs in combination with KEYTRUDA, for which we agree to use reasonable efforts to supply such PCVs. During such limited period, we also have the right to perform clinical studies of PCVs in combination with KEYTRUDA, for which Merck agrees to use reasonable efforts to supply KEYTRUDA. In addition, following its non-exercise, Merck is also entitled to receive a percentage in the high teens to the low 20s, subject to reductions, of our net profits on sales of certain PCVs first developed by us following such non-exercise and reaching a specified development stage within a defined period of time.

137

Table of Contents

We and Merck have agreed to certain defined, limited exclusivity obligations with respect to the development and commercialization of PCVs.
2018 Expansion of the Cancer Vaccine Strategic Alliance with Merck—Shared Neoepitope Cancer Vaccines
In April 2018, we and Merck agreed to expand our cancer vaccine strategic alliance to include the development and commercialization of our KRAS vaccine development candidate, mRNA-5671, and potentially other shared neoantigen mRNA cancer vaccines (SAVs). We preclinically developed mRNA-5671 prior to its inclusion in the cancer vaccine strategic alliance and it is comprised of a novel mRNA construct designed by us and encapsulated in one of our proprietary LNPs. The PCV Agreement was amended and restated to include the new SAV strategic alliance, which we refer to as the PCV/SAV Agreement.
We and Merck have agreed to certain exclusivity obligations with respect to SAVs and particular SAV programs, which obligations are subject to termination or expiration upon certain triggering events.
Under the PCV/SAV Agreement, Merck will be responsible for conducting Phase 1 and Phase 2 clinical trials for mRNA-5671 and for all costs associated with such activities, in accordance with a jointly agreed development plan and budget, and we will be responsible for manufacturing and supplying all mRNA-5671 required to conduct such trials and for all costs and expenses associated with such manufacture and supply. Under the PCV/SAV Agreement, our budgeted commitment for PCVs increased to $243.0 million. Until the expiration of a defined period of time following our completion of Phase 1 and Phase 2 clinical trials for mRNA-5671 under the PCV/SAV Agreement and delivery of an associated data package to Merck, Merck has the right to elect to participate in future development and commercialization of mRNA-5671 by making a participation payment to us. If Merck exercises its participation rights, then the parties will equally co-fund subsequent clinical development of mRNA-5671, with Merck primarily responsible for conducting clinical development activities under a jointly agreed development plan and budget. If Merck declines to participate in future development and commercialization activities following the initial Phase 1 and Phase 2 clinical trials for mRNA-5671, then we will retain the rights to develop and commercialize mRNA-5671. If Merck elects to participate in future development and commercialization of mRNA-5671, Merck may also conduct additional clinical trials for mRNA-5671 that are not included in the jointly agreed development plan and budget, in which case we will reimburse Merck for half of the total development costs for such clinical trials, plus interest, from our share of future profits resulting from sales of mRNA-5671, if any. Merck will lead worldwide commercialization of mRNA-5671, subject to our option to co-promote mRNA-5671 in the United States, and the parties will equally share the profits or losses arising from worldwide commercialization. Until mRNA-5671 becomes profitable, we may elect to defer payment of our share of the commercialization and related manufacturing costs and instead reimburse Merck for such costs, plus interest, from our share of future profits resulting from sales of mRNA-5671, if any. Subject to “back-up” supply rights granted to Merck, we will manufacture (or have manufactured) mRNA-5671 and other SAVs for preclinical and clinical purposes. After Merck exercises its right to participate in future development and commercialization of mRNA-5671 and other SAVs, the parties are obligated to discuss responsibility for future manufacturing, giving consideration to applicable criteria.
Pursuant to the PCV/SAV Agreement, for a defined period of time, either party may propose that the parties conduct additional programs for the research and development of SAVs directed to different shared neoantigens. If the parties agree to conduct any such programs, then we will be responsible for conducting and funding pre-clinical discovery and research activities for such SAVs, and otherwise the programs would be conducted on substantially the same terms as the mRNA-5671 program. If we or Merck propose a new SAV program and the other party does not agree to conduct such program, then the PCV/SAV Agreement includes provisions allowing the proposing party to proceed with such development, at the proposing party’s expense. In such case, the non-proposing party will have the right to opt-in to such SAV program any time before the proposing party commits to performing Good Laboratory Practice (GLP)-toxicity studies. Until the expiration of a defined period of time following our completion of Phase 1 and Phase 2 clinical trials for any SAV program mutually agreed by the parties under the PCV/SAV Agreement and delivery of an associated data package to Merck, Merck has the right to elect to participate in future development and commercialization of such SAV by making a participation payment to us.
Unless earlier terminated, the PCV/SAV Agreement will continue on a program-by-program basis until Merck terminates its participation in such program. Following any such termination, we will retain the exclusive right to develop and commercialize PCVs or SAVs developed as a part of such program, subject to restrictions and certain limited rights retained by Merck.
In connection with the amendment of the PCV Agreement to include the development and commercialization of mRNA-5671 and potentially other SAVs, Merck made a $125.0 million equity investment in us.
Vertex (Nasdaq: VRTX)—2016 Strategic Alliance in Cystic Fibrosis
In July 2016, we entered into a Strategic Collaboration and License Agreement, with Vertex Pharmaceuticals Incorporated, and Vertex Pharmaceuticals (Europe) Limited, together, Vertex, which we refer to as the Vertex Agreement. The Vertex Agreement is aimed at the

138

Table of Contents

discovery and development of potential mRNA medicines for the treatment of cystic fibrosis, or CF, by enabling cells in the lungs of people with CF to produce functional CFTR proteins.
Pursuant to the Vertex Agreement, we lead discovery efforts during an initial research period that currently extends until March 2020, leveraging our Platform technology and mRNA delivery expertise along with Vertex’s scientific experience in CF biology and the functional understanding of CFTR. Vertex is responsible for conducting development and commercialization activities for candidates and products that arise from the strategic alliance, including the costs associated with such activities. Vertex is also obligated to pay us for research services in connection with our performance of activities during the research period in accordance with a jointly agreed research plan. Subject to customary “back-up” supply rights granted to Vertex, we exclusively manufacture (or have manufactured) mRNA for pre-clinical, clinical, and commercialization purposes.
Under the terms of the Vertex Agreement, we received a $20.0 million upfront payment from Vertex. In July 2019, Vertex elected to extend the initial research period by six months by making a $2.0 million payment to us pursuant to the 2019 Vertex Amendment. Vertex has the right to extend the initial research period by an additional 18-month period by making an additional payment to us. Vertex has rights to further extend the research period for two additional one-year periods by making an additional payment to us for each one-year extension. We are eligible to receive up to $275.0 million in aggregate milestone payments upon the achievement of certain development and regulatory milestone events, and Vertex will also pay us tiered royalties at rates ranging from the low- to high-teens on worldwide net sales of products arising from the strategic alliance, subject to certain reductions, with an aggregate minimum floor. In connection with the strategic alliance, Vertex also made a $20.0 million equity investment in us.
During the term of the Vertex Agreement, we and Vertex have agreed to certain defined exclusivity obligations under the Vertex Agreement with respect to the development and commercialization of certain mRNA medicines.
Unless earlier terminated, the Vertex Agreement will continue until the expiration of all royalty terms. Vertex may terminate the Vertex Agreement for convenience upon 90 days’ prior written notice, except if termination relates to a product in a country where Vertex has received marketing approval, which, in such case, Vertex must provide 180 days’ prior written notice. Either party may terminate the Vertex Agreement upon the other party’s material breach, subject to specified notice and cure provisions. Each party may also terminate the Vertex Agreement in the event that the other party challenges the validity or enforceability of such party’s patent rights, subject to certain exceptions, or if the other party becomes insolvent.
Strategic alliances with government organizations and foundations
Defense Advanced Research Projects Agency (DARPA)
In October 2013, DARPA awarded Moderna up to approximately $24.6 million under Agreement No. W911NF-13-1-0417 to research and develop potential mRNA medicines as a part of DARPA’s Autonomous Diagnostics to Enable Prevention and Therapeutics, or ADEPT, program, which is focused on assisting with the development of technologies to rapidly identify and respond to threats posed by natural and engineered diseases and toxins. As of December 31, 2019, $19.7 million of the award amount has been funded. This award followed an initial award from DARPA of approximately $1.4 million given in March 2013 under Agreement No. W31P4Q-13-1-0007. The DARPA awards have been deployed primarily in support of our vaccine and antibody programs to protect against Chikungunya infection.
Biomedical Advanced Research and Development Authority (BARDA)
In September 2016, we received an award of up to approximately $125.8 million under Agreement No. HHSO100201600029C from BARDA, a component of the Office of the Assistant Secretary for Preparedness and Response, or ASPR, within the U.S. Department of Health and Human Services, or HHS, to help fund our Zika vaccine program. Under the terms of the agreement with BARDA, an initial base award of approximately $8.2 million supported toxicology studies, a Phase 1 clinical trial, and associated manufacturing activities. Additionally, four contract options were awarded under the agreement with BARDA. Three out of four of these options have been exercised, bringing the total current award to approximately $117.6 million to support an additional Phase 1 study of an improved Zika vaccine candidate, Phase 2 and Phase 3 clinical studies, as well as large-scale manufacturing for the Zika vaccine.
The Bill & Melinda Gates Foundation
In January 2016, we entered a global health project framework agreement with the Bill & Melinda Gates Foundation to advance mRNA-based development projects for various infectious diseases. The Bill & Melinda Gates Foundation has committed up to $20.0 million in grant funding to support our initial project related to the evaluation of antibody combinations in a preclinical setting as well as the conduct of a first-in-human Phase 1 clinical trial of a potential mRNA medicine to help prevent human immunodeficiency virus, or HIV, infections. Follow-on projects which could bring total potential funding under the framework agreement up to $100.0 million

139

Table of Contents

(including the HIV antibody project) to support the development of additional mRNA-based projects for various infectious diseases can be proposed and approved until the sixth anniversary of the framework agreement, subject to the terms of the framework agreement, including our obligation to grant to the Bill & Melinda Gates Foundation certain non-exclusive licenses.


140

Table of Contents

INTELLECTUAL PROPERTY
Our patent estate and approach, a strategic asset
Since our inception, we have considered the creation and building of our intellectual property, or IP, portfolio as a critical part of our mission. In a relatively short amount of time, we have built a significant patent estate that includes over 560 world-wide pending patent applications and over 210 issued or allowed U.S. and foreign patents covering key components of our proprietary platform technology, investigational medicines, and development candidates. The figure below shows our internally developed estate and indicates the number of patents approved since 2010.
ipchart.jpg
We regularly identify inventions and trade secrets as we surmount various challenges with our platform to create modalities. We seek to protect our proprietary position by, among other means, filing U.S. and certain foreign patent applications related to our platform, modality, and program inventions. Our company trade secrets and know-how are appropriately guarded to maintain our business advantage. We also seek to identify and obtain third party licenses where useful to maintain our advantageous IP position in the mRNA medicines field. We seek to obtain and maintain, and intend to strategically enforce, patents in appropriate jurisdictions for our platform technologies, modalities, and programs, in particular, in instances where insurmountable business competition threatens advancement of future commercial products. 
Protecting our platform, modality, and program investments: Building an expansive, multi-layered IP estate
We have built a substantial IP estate that includes numerous patents and patent applications related to the development and commercialization of mRNA vaccine and therapeutic development candidates, including related platform technologies. Our platform IP protects advances in mRNA design and engineering, proprietary LNP components, delivery systems, processes for the manufacture and purification of drug substances and products, and analytical methods. A significant portion of our platform IP estate further provides multi-layered protection for our modalities and programs.
With respect to our IP estate, our solely-owned patent portfolio consists of more than 115 issued or allowed U.S. patents or patent applications and more than 100 granted or allowed patents in jurisdictions outside of the U.S. covering certain of our proprietary platform technology, inventions, and improvements, and covering key aspects of our clinical and most advanced development candidates. Additional patent applications are also pending that, in many cases, are counterparts to the foregoing U.S. and foreign patents.
Most of the patents and applications (if issued) in our portfolio have or will have expiry dates extending out to 2033 at the earliest and at least 2040-2041 for patents ultimately granting based on our more recently filed patent applications.
We also rely on trademarks, trade secrets, and know-how relating to our proprietary technology and programs, continuing innovation, and in-licensing opportunities to develop, strengthen, and maintain our proprietary position in the field of mRNA therapeutic and vaccine technologies. We additionally plan to rely on data exclusivity, market exclusivity, and patent term extensions when available, and plan to seek and rely on regulatory protection afforded through orphan drug designations. We also possess substantial proprietary know-how associated with related manufacturing processes and expertise.
IP protecting our platform
We have a broad IP estate covering key aspects of our platform. This estate provides multiple layers of protection covering the making and use of the mRNA drug substance and delivery technologies.

141

Table of Contents

With respect to our platform, we have a portfolio that includes approximately 90 issued or allowed U.S. patents or patent applications, and approximately 100 granted foreign patents and pending foreign patent applications covering platform innovations that are directly related to the design, formulation and manufacturing of mRNA medicines.
For example, these patents and patent applications include claims directed to:
mRNA chemistry imparting improved properties for vaccine and therapeutic uses;
methods for mRNA sequence optimization to enhance the levels and fidelity of proteins expressed from our mRNA medicines;
methods for identifying epitopes having superior suitability in cancer vaccine contexts;
engineering elements tailored to enhance stability and the in vivo performance of mRNA medicines;
proprietary lipid nanoparticle, or LNP, delivery systems, including novel lipid components designed for optimal expression of both therapeutic and vaccine mRNAs, in particular, prophylactic infectious disease and cancer vaccine mRNAs, intratumoral immuno-oncology therapeutics, local regenerative therapeutics, systemic secreted therapeutics, and systemic intracellular therapeutics; and
innovative processes for the manufacture and analysis of mRNA drug substance and formulated drug product.

IP protection for modalities

Our IP estate provides protection for the multiple programs within our modalities both at the product-specific level and at various broader levels. For example, we have patent coverage for LNP-encapsulated mRNAs having specific chemical modification suited for vaccine and therapeutic mRNA use. Our estate also includes IP covering certain LNP-encapsulated mRNAs coding for infectious disease antigens for use in prophylactic vaccination. Our mRNA chemistry, formulation and manufacturing patent applications and related know-how and trade secrets may also provide us with additional IP protection relating to our development candidates.
Our patent portfolio for our investigational medicines and development candidates features at least 25 issued or scheduled-to-issue patents, with many additional pending applications in the U.S. and foreign jurisdictions directed to our development candidates.

Prophylactic vaccines

For programs within our prophylactic vaccines modality, we typically pursue patent protection featuring composition of matter and method of use claims. Our global patent protection strategy may vary based on the unique geographic prevalence of various infectious diseases.

One of our earliest investigational medicines in the infectious disease pipeline, a vaccine containing mRNA encoding the H7 HA antigen for the prevention of human infection with the influenza H7N9 avian influenza A virus is protected by a patent family that includes two issued U.S. patents, three pending U.S. patent applications and pending patent applications in Europe, Canada, Australia, Brazil, China, Hong Kong, India, Japan, Russia, and Singapore. Issued U.S. Patent No. 9,872,900 includes claims to H7 mRNA vaccine compositions. Issued U.S. Patent No. 10,022,435 features claims directed to methods of vaccinating subjects against infection with lipid nanoparticle-encapsulated mRNAs encoding infectious disease antigens. Also pending are patent applications in the U.S., China and Europe covering certain prophylactic vaccination methods relating to our influenza H7N9 mRNA vaccine.

We filed patent applications in several jurisdictions covering RSV vaccines. At least two U.S. and two European patent applications are pending, as are applications in several African, Asian, European, Middle Eastern, South American, and other jurisdictions. Also pending is a provisional application featuring our pediatric RSV vaccine.

Patent coverage for our human CMV vaccine, which includes mRNAs encoding several surface glycoproteins of the CMV virus, can be found in pending applications in Australia, Canada, Europe and Japan. In the United States, our CMV vaccine is covered in issued U.S. Patent No. 10,064,935, in issued U.S. Patent No. 10,383,937, and in two recently allowed and soon to be issued U.S. patent applications.

Patent applications directed to our hMPV/PIV3 vaccine are pending in the United States, Europe and Hong Kong. Three U.S. patents have issued featuring hMPV/PIV3 vaccines with U.S. Patent No. 10,064,934 having claims covering LNP-encapsulated mRNA vaccines that encode the PIV3 and hMPV fusion proteins, U.S. Patent No. 10,272,150 having claims covering administration methods for these LNP-encapsulated mRNA vaccines, and U.S. Patent No. 10,543,269 having claims covering vaccines that include HMPV-encoding mRNA formulated in LNPs.


142

Table of Contents

Our Zika mRNA vaccine is covered in a series of patent families directed to mosquito-borne viruses. These patent families include two issued U.S. Patents that cover our Zika vaccines, U.S. Patent No. 10,124,055 and U.S. Patent No. 10,449,244, several pending U.S. patent applications, one of which is recently allowed and soon to be issued as a U.S. patent, and pending European and Hong Kong patent applications.

Cancer vaccines

Composition of matter and method claims also protect programs within our cancer vaccines modality. Proprietary methods around the making and therapeutic use of our PCVs and resulting vaccine compositions are described and claimed in three pending U.S. patent applications, two pending PCT applications, three pending European patent applications, two pending patent applications in each of Australia, Canada, China, and Japan, and a pending patent application in each of South Korea, New Zealand, Russia, Singapore and South Africa. These applications also relate to various vaccine design formats, in particular, polyepitopic vaccine formats, and methods of treating cancer with such personalized cancer vaccines. We also possess substantial know-how and trade secrets relating to the development and commercialization of our cancer vaccine programs, including related manufacturing process and technology.

Likewise, our KRAS antigen cancer vaccine and methods of treating cancer featuring such vaccines are covered in a pending U.S. patent application and pending applications in Australia, Canada, Europe, and Japan, as well as in several other European, South American, Asian and Middle Eastern jurisdictions.

Intratumoral immuno-oncology

To protect programs within our intratumoral immuno-oncology modality, we have filed numerous patent applications featuring claims to mRNAs encoding immune-stimulatory proteins and methods of treating cancer using such compositions.

Three of our immuno-oncology programs are designed to be administered intratumorally to alter the tumor microenvironment in favor of mounting an immune response against tumors. Our OX40L mRNA program and our mRNA program that includes mRNAs that encode OX40L, IL-23 and IL-36γ are covered by eight issued U.S. patents, U.S. Patent Nos. 10,143,723, 10,172,808, 10,285,950, 10,322,090, 10,322,191, 10,379,767, 10,383,951 and 10,406,113, by several pending U.S. patent applications, and by several pending patent applications in foreign jurisdictions including European, Asian, South American and other jurisdictions. These applications feature claims to the mRNA therapeutics as compositions of matter, formulations that include such mRNAs and methods of reducing tumors and treating cancer featuring these development candidates. Similar claims cover our IL-12 development candidate which can be found in a pending patent applications in the United States, Australia, Canada, China, Europe and Japan, as well as several other jurisdictions in Asia, South America and the Middle East.

Localized regenerative therapeutics

Our localized regenerative therapeutics modality is focused on regenerative therapeutics. Our sole program, VEGF-A, is being developed in collaboration with AstraZeneca and is covered by a pending U.S. patent application and by several national phase patent applications filed in South American, Asian and Middle Eastern jurisdictions. The VEGF patent applications are solely-owned by Moderna.

Systemic intracellular therapeutics

Within our systemic intracellular therapeutics modality, we have four programs featuring expression of intracellular enzymes for the treatment of rare diseases. For our rare disease programs, we generally pursue patent protection featuring composition of matter and method of use claims, for example, pharmaceutical composition and method of treatment claims. Our most advanced rare disease development candidate, MMA, is covered by a patent family that includes two issued U.S. Patents, U.S. Patent No. 10,406,112 and U.S. Patent No. 10,426,738, two pending U.S. patent applications, a pending U.S. provisional patent application, and foreign patent applications filed in Australia, Canada, Japan, Europe and the Middle East.

For our PA development candidate, we have two pending PCT patent applications covering mRNA encoding the alpha and beta subunits of the enzyme propionyl-CoA carboxylase (PCCA and PCCB, respectively), for the treatment of PA.

For our PKU development candidate, we have a pending PCT patent application covering mRNA encoding phenylalanine hydroxylase, or PAH, for the treatment of PKU.

For our Glycogen Storage Disorder, Type 1a (GSD1a) development candidate, we have 2 pending PCT patent applications covering mRNA encoding glucose 6-phosphatase (G6Pase) for the treatment of this disorder.


143

Table of Contents

Any U.S. and foreign patents that may issue from these four patent families would be expected to expire in 2036 for the earliest of the MMA patents and 2038-2039 for the remaining MMA, PA, PKU and GSD1a patents, excluding any patent term adjustments and any patent term extensions.

As further described below, we have filed or intend to file patent applications on these and other aspects of our technology and development candidates, and as we continue the development of our intended products, we plan to identify additional means of obtaining patent protection that would potentially enhance commercial success, including protection for additional methods of use, formulation, or manufacture.

Systemic secreted and cell-surface therapeutics

Our systemic secreted and cell-surface therapeutics modality features programs directed to expression of secreted or cell-surface proteins including antibodies, circulating modulation factors, secreted enzymes and transmembrane proteins. Our mRNA-encoded antibody against Chikungunya virus reported positive interim Phase 1 results in clinical trials and utilizes the same lipid nanoparticle (LNP) formulation being advanced for our MMA program and other rare disease programs. Patent protection for mRNA-encoded antibody against Chikungunya virus is being sought by way of a pending PCT patent application, in which we share joint ownership rights.

Our Relaxin development candidate is being developed in collaboration with AstraZeneca and is covered by several pending foreign patent applications outside the United States, for example, in several Asian, European, Middle Eastern, South American and other jurisdictions, and by a pending U.S. application undergoing accelerated examination in the USPTO.

For our Fabry development candidate, we have two issued U.S. patents, U.S. Patent No. 10,494,636 and U.S. Patent No. 10,519,455, as well as pending applications in the United States, Australia, Canada, Europe and Japan covering mRNA encoding alpha-galactosidase A.

Our PD-L1 and IL-2 development candidates are covered in three recently filed U.S. provisional patent applications.

Trademarks

Our registered trademark portfolio currently contains approximately 100 registered trademarks, consisting of at least 10 registrations in the United States and approximately 90 registrations in Australia, Canada, China, the EU, Japan, Singapore, Sweden, and under the Madrid Protocol. In addition, we have other pending trademark applications, consisting of trademark applications in the United States, Australia, Canada, China, the EU, Japan, Singapore, and under the Madrid Protocol.

In-licensed intellectual property
While we develop and manufacture our potential mRNA medicines using our internally created mRNA technology platform, we also seek out and evaluate third party technologies and IP that may be complementary to our platform.
Patent sublicense agreements with Cellscript and mRNA RiboTherapeutics
The Trustees of the University of Pennsylvania, or Penn, owns several issued U.S. patents, granted European patents and pending U.S. patent applications directed, in part, to nucleoside-modified mRNAs and their uses, or the Penn Modified mRNA Patents. mRNA RiboTherapeutics, Inc., or MRT, obtained an exclusive license to the Penn Modified mRNA Patents and granted its affiliate, Cellscript, LLC, or Cellscript, a sublicense to the Penn Modified mRNA Patents in certain fields of use.
In June 2017, we entered into two sublicense agreements, one with Cellscript, and one with MRT, which agreements we collectively refer to as the Cellscript-MRT Agreements. Together, the Cellscript-MRT Agreements grant us a worldwide, sublicensable sublicense to the Penn Modified mRNA Patents to research, develop, make, and commercialize products covered by the Penn Modified mRNA Patents, or licensed products, for all in vivo uses in humans and animals, including therapeutic, prophylactic, and diagnostic applications. The Cellscript-MRT Agreements are non-exclusive, although Cellscript and MRT are subject to certain time restrictions on granting additional sublicenses for in vivo uses in humans under the Penn Modified mRNA Patents.
We paid Cellscript and MRT aggregate sublicense grant fees of $28 million upon entering into the Cellscript-MRT Agreements, $25 million in early 2018, and $22 million in early 2019. Cellscript and MRT are collectively eligible to receive, on a licensed product-by-licensed product basis, milestone payments totaling up to $0.5 million upon the achievement of certain regulatory-based events for diagnostic products, and milestone payments totaling up to $1.5 million upon the achievement of certain development and regulatory-based events for either therapeutic or prophylactic products, and up to $24 million upon the achievement of certain commercial-based events for either therapeutic or prophylactic products. The Cellscript-MRT Agreements require us to pay royalties

144

Table of Contents

based on annual net sales of licensed products at rates in the low single digits for therapeutic, prophylactic, and diagnostic uses, and royalties based on annual net sales of licensed products sold for research uses at rates in the mid-single digits, subject to certain reductions, with an aggregate minimum floor. Following the first commercial sale of licensed products under a Cellscript-MRT Agreement, we are required to pay Cellscript or MRT, as applicable, minimum annual royalties ranging from $10,000—$400,000 depending on the use of such licensed product, with all such payments creditable against earned royalties on net sales.
The Cellscript-MRT Agreements will expire upon the expiration or abandonment of the last to expire or become abandoned of the Penn Modified mRNA Patents. Cellscript or MRT, as applicable, may terminate its respective Cellscript-MRT Agreement if we fail to make required payments or otherwise materially breach the applicable agreement, subject to specified notice and cure provisions. Cellscript or MRT, as applicable, may also terminate the applicable Cellscript-MRT Agreement upon written notice in the event of our bankruptcy or insolvency or if we challenge the validity or enforceability of the Penn Modified mRNA Patents. We have the right to terminate each Cellscript-MRT Agreement at will upon 60 days’ prior notice to Cellscript or MRT, as applicable, provided that we cease all development and commercialization of licensed products upon such termination. If rights to MRT or Cellscript under the Penn Modified mRNA Patents are terminated (e.g., due to bankruptcy of MRT or Cellscript), the terminated party will assign its interest in the respective Cellscript-MRT Agreement to the licensor from which it received rights under the Penn Modified mRNA Patents and our rights will continue under the new licensor.
Formulation technology in-licenses
Our development candidates use internally developed formulation technology that we own. We do, however, have rights to use and exploit multiple issued and pending patents covering formulation technologies under licenses from other entities. If in the future we elect to use or to grant our strategic collaborators sublicenses to use these in-licensed formulation technologies, we or our strategic collaborators may be liable for milestone and royalty payment obligations arising from such use. We consider the commercial terms of these licenses and their provisions regarding diligence, insurance, indemnification and other similar matters, to be reasonable and customary for our industry.
In addition, we have entered into material transfer agreements that have provided us with opportunities to evaluate third party delivery systems.


145

Table of Contents

EMPLOYEES
We have approximately 830 full-time employees, 51% of whom hold Ph.D., M.D., J.D., or Master’s degrees. Among our employees, 45% identify as female, 54% identify as male, and 1% have chosen not to identify themselves or selected other. None of our employees is represented by a labor union, and none of our employees has entered into a collective bargaining agreement with us. We consider our employee relations to be good.
We believe that our employees are highly engaged, and we and our employees have been recognized by surveys conducted by external groups. Science magazine ranked us as a top employer for the last five years; we were ranked #7 in 2015, #3 in 2016, #6 in 2017, #4 in 2018 and #11 in 2019.
Our approach to attracting and retaining talent within Moderna
We are committed to ensuring that our employees find that their careers at Moderna are filled with purpose, growth and fulfillment. We believe that a career at Moderna provides opportunity for:
Impact: Our people will have the opportunity to do work that is unparalleled in terms of its innovation and scope of impact on people’s lives.
Growth: For the intellectually curious, we provide incredible opportunities for growth. We invest in the development of our people as scientists and as leaders.
Wellness: We are committed to the health and wellbeing of our employees and their families by providing family friendly benefits and opportunities to be healthy.
Inclusive environment: We believe in the benefits of bringing together a diverse set of perspectives and backgrounds, and creating an environment where differences are celebrated and leveraged.
Compelling rewards: To attract and retain the best talent, we provide competitive rewards that help to drive groundbreaking work and allow employees to share in the value we will create together.
Our approach to training our employees
We have established a structured training curriculum for our employees called Moderna University and have a full-time team dedicated to developing the curriculum and conducting activities for Moderna University. The objective of Moderna University is for every employee to be deeply familiar with our core technology and able to learn about technologies that might further enable our science. In addition, Moderna University is also focused on creating strong leaders within the company through management and leadership training. There are four core areas within Moderna University including:
Professional development: Includes on-site training programs for our employees including for example, leadership, tools to improve interpersonal communication, and project management.
Digital learning library: We have built an online library of videos of a variety of scientific material that our employees can access flexibly. This content includes:
Presentations by external speakers to scientific seminars conducted in-house;
Scientific courses at external universities; and
Peer-to-peer video series in which in-house experts provide an introductory view of complex topics they tackle within their teams.
Learning management system: We have deployed a digital system to track and administer training programs for each of our employees. Training content is developed digitally and offered to our employees.
New hire orientation: This program is designed to onboard all new employees. During this training program, new employees meet with the management team and senior functional leaders to learn about the Company and functional activities.
Our systems to support our people
We have implemented the Workday system to provide an integrated platform to support employee benefits, payroll, and performance management. In addition, as described in the previous section, we have deployed a digital learning management system to deploy various training programs.

146

Table of Contents

CORPORATE SOCIAL RESPONSIBILITY
In pursuit of our mission to deliver on the promise of mRNA science to create a new generation of transformative medicines for patients, we have scaled our operations, invested in research, and hired top-tier talent. As we continue to mature, we believe it is important to develop long-term programs that underscore our commitment to corporate social responsibility. Please refer to the “Citizenship” section of our website, which can be found at www.modernatx.com, for a description of some of the measures we have taken to support our commitment to corporate social responsibility.

COMPETITION
The biotechnology and pharmaceutical industries utilize rapidly advancing technologies and are characterized by intense competition. There is also a strong emphasis on intellectual property and proprietary products.
We believe that mRNA as a medicine coupled with our capabilities across mRNA technology, drug discovery, development, and manufacturing provide us with a competitive advantage. However, we will continue to face competition from different sources including major pharmaceutical companies, biotechnology companies, academic institutions, government agencies, and public and private research institutions. For any products that we eventually commercialize, we will not only compete with existing therapies but also compete with new therapies that may become available in the future.
We compete in the segment of pharmaceutical and biotechnology industries. There are additional companies that are working on potential mRNA medicines. Companies with clinical programs with mRNA include BioNTech, CureVac, eTheRNA Immunotherapies, and Translate Bio and those with preclinical programs include Arcturus Therapeutics, Ethris, Genevant Sciences, Stemirna Therapeutics and GlaxoSmithKline.
GOVERNMENT REGULATION
Government authorities in the United States at the federal, state and local level and in other countries regulate, among other things, the research, development, testing, manufacture, quality control, approval, labeling, packaging, storage, record-keeping, promotion, advertising, distribution, post-approval monitoring and reporting, marketing and export and import of drug and biological products, such as our investigational medicines and any future investigational medicines. Generally, before a new drug or biologic can be marketed, considerable data demonstrating its quality, safety and efficacy must be obtained, organized into a format specific for each regulatory authority, submitted for review and approved by the regulatory authority.
U.S. drug and biological product development
In the United States, the FDA regulates drugs under the Federal Food, Drug, and Cosmetic Act, or FDCA, and its implementing regulations and biologics under the FDCA, the Public Health Service Act, or PHSA, and their implementing regulations. Both drugs and biologics also are subject to other federal, state and local statutes and regulations. The process of obtaining regulatory approvals and the subsequent compliance with applicable federal, state and local statutes and regulations requires the expenditure of substantial time and financial resources. Failure to comply with the applicable U.S. requirements at any time during the product development process, approval process or following approval may subject an applicant to administrative or judicial sanctions. These sanctions could include, among other actions, the FDA’s refusal to approve pending applications, withdrawal of an approval, license revocation, a clinical hold, untitled or warning letters, voluntary or mandatory product recalls, market withdrawals, product seizures, total or partial suspension of production or distribution, injunctions, fines, refusals of government contracts, restitution, disgorgement and civil or criminal penalties. Any agency or judicial enforcement action could have a material adverse effect on us.
Our investigational medicines and any future investigational medicines must be approved by the FDA through a biologics license application, or BLA, or new drug application, NDA process before they may be legally marketed in the United States. The process generally involves the following:
completion of extensive preclinical studies in accordance with applicable regulations, including studies conducted in accordance with GLP requirements;
submission to the FDA of an IND application, which must become effective before human clinical trials may begin;
approval by an institutional review board, or IRB, or independent ethics committee at each clinical trial site before each trial may be initiated;
performance of adequate and well-controlled human clinical trials in accordance with applicable IND regulations, good clinical practice, or GCP, requirements and other clinical trial-related regulations to establish the safety and efficacy of the investigational product for each proposed indication;
submission to the FDA of a BLA or an NDA;

147

Table of Contents

a determination by the FDA within 60 days of its receipt of a BLA or an NDA to accept the filing for review;
satisfactory completion of one or more FDA pre-approval inspections of the manufacturing facility or facilities where the biologic or drug will be produced to assess compliance with cGMP requirements to assure that the facilities, methods and controls are adequate to preserve the biologic or drug’s identity, strength, quality and purity;
potential FDA audit of the clinical trial sites that generated the data in support of the BLA or NDA;
payment of user fees for FDA review of the BLA or NDA; and
FDA review and approval of the BLA or NDA, including consideration of the views of any FDA advisory committee, prior to any commercial marketing or sale of the biologic or drug in the United States.
The preclinical and clinical testing and approval process requires substantial time, effort and financial resources, and we cannot be certain that any approvals for our investigational medicines and any future investigational medicines will be granted on a timely basis, or at all.
Preclinical studies
Before testing any biological or drug candidate, including our product candidates, in humans, the product candidate must undergo rigorous preclinical testing. Preclinical studies include laboratory evaluation of product chemistry and formulation, as well as in vitro and animal studies to assess the potential for adverse events and in some cases to establish a rationale for therapeutic use. The conduct of preclinical studies is subject to federal regulations and requirements, including GLP regulations for safety/toxicology studies. An IND sponsor must submit the results of the preclinical tests, together with manufacturing information, analytical data, any available clinical data or literature and plans for clinical studies, among other things, to the FDA as part of an IND. An IND is a request for authorization from the FDA to administer an investigational product to humans and must become effective before human clinical trials may begin. Some long-term preclinical testing may continue after the IND is submitted. An IND automatically becomes effective 30 days after receipt by the FDA, unless before that time the FDA raises concerns or questions related to one or more proposed clinical trials and places the trial on clinical hold. In such a case, the IND sponsor and the FDA must resolve any outstanding concerns before the clinical trial can begin. As a result, submission of an IND may not result in the FDA allowing clinical trials to commence.
Clinical trials
The clinical stage of development involves the administration of the investigational product to healthy volunteers or patients under the supervision of qualified investigators, generally physicians not employed by or under the trial sponsor’s control, in accordance with GCP requirements, which include the requirement that all patients provide their informed consent for their participation in any clinical trial. Clinical trials are conducted under protocols detailing, among other things, the objectives of the clinical trial, dosing procedures, subject selection and exclusion criteria and the parameters to be used to monitor subject safety and assess efficacy. Each protocol, and any subsequent amendments to the protocol, must be submitted to the FDA as part of the IND. Furthermore, each clinical trial must be reviewed and approved by an IRB for each institution at which the clinical trial will be conducted to ensure that the risks to individuals participating in the clinical trials are minimized and are reasonable in relation to anticipated benefits. The IRB also approves the informed consent form that must be provided to each clinical trial subject or his or her legal representative and must monitor the clinical trial until completed. There also are requirements governing the reporting of ongoing clinical trials and completed clinical trial results to public registries. Information about certain clinical trials, including clinical trial results, must be submitted within specific timeframes for publication on the www.clinicaltrials.gov website.
In addition to the submission of an IND to the FDA before initiation of a clinical trial in the United States, certain human clinical trials involving recombinant or synthetic nucleic acid molecules had historically been subject to review by the Recombinant DNA Advisory Committee, or RAC, of the National Institutes of Health, or NIH, Office of Biotechnology Activities, or the OBA, pursuant to the NIH Guidelines for Research Involving Recombinant DNA Molecules, or NIH Guidelines. On August 17, 2018, the NIH issued a notice in the Federal Register and issued a public statement proposing changes to the oversight framework for gene therapy trials, including changes to the applicable NIH Guidelines to modify the roles and responsibilities of the RAC with respect to human clinical trials of gene therapy products, and requesting public comment on its proposed modifications. During the public comment period, which closed October 16, 2018, the NIH announced that it will no longer accept new human gene transfer protocols for review as a part of the protocol registration process or convene the RAC to review individual clinical protocols. In April 2019, NIH announced the updated guidelines, which reflect these proposed changes, and clarified that these trials will remain subject to the FDA’s oversight and other clinical trial regulations, and oversight at the local level will continue as set forth in the NIH Guidelines. Specifically, under the NIH Guidelines, supervision of human gene transfer trials includes evaluation and assessment by an institutional biosafety committee, or IBC, a local institutional committee that reviews and oversees research utilizing recombinant or synthetic nucleic acid molecules at that institution. The IBC assesses the safety of the research and identifies any potential risk to public health or the environment, and such review may result in some delay before initiation of a clinical trial. While the NIH Guidelines are not mandatory unless the

148

Table of Contents

research in question being conducted at or sponsored by institutions receiving NIH funding of recombinant or synthetic nucleic acid molecule research, many companies and other institutions not otherwise subject to the NIH Guidelines voluntarily follow them.

A sponsor who wishes to conduct a clinical trial outside of the United States may, but need not, obtain FDA authorization to conduct the clinical trial under an IND. If a foreign clinical trial is not conducted under an IND, the sponsor may submit data from the clinical trial to the FDA in support of a BLA or NDA. The FDA will accept a well-designed and well-conducted foreign clinical study not conducted under an IND if the study was conducted in accordance with GCP requirements, and the FDA is able to validate the data through an onsite inspection if deemed necessary.
Clinical trials generally are conducted in three sequential phases, known as Phase 1, Phase 2 and Phase 3, and may overlap.
Phase 1 clinical trials generally involve a small number of healthy volunteers or disease-affected patients who are initially exposed to a single dose and then multiple doses of the product candidate. The primary purpose of these clinical trials is to assess the metabolism, pharmacologic action, side effect tolerability, and safety of the product candidate.
Phase 2 clinical trials generally involve studies in disease-affected patients to evaluate proof of concept and/or determine the dosing regimen(s) for subsequent investigations. At the same time, safety and further pharmacokinetic and pharmacodynamic information is collected, possible adverse effects and safety risks are identified, and a preliminary evaluation of efficacy is conducted.
Phase 3 clinical trials generally involve a large number of patients at multiple sites and are designed to provide the data necessary to demonstrate the effectiveness of the product for its intended use, its safety in use and to establish the overall benefit/risk relationship of the product, and provide an adequate basis for product labeling.
In August 2018, the FDA released a draft guidance entitled “Expansion Cohorts: Use in First-In-Human Clinical Trials to Expedite Development of Oncology Drugs and Biologics,” which outlines how drug developers can utilize an adaptive trial design commonly referred to as a seamless trial design in early stages of oncology drug development, i.e., the first-in-human clinical trial, to compress the traditional three phases of trials into one continuous trial called an expansion cohort trial. Information to support the design of individual expansion cohorts are included in IND applications and assessed by FDA. Expansion cohort trials can potentially bring efficiency to drug development and reduce developmental costs and time.
Post-approval trials, sometimes referred to as Phase 4 clinical trials, may be conducted after initial marketing approval. These trials are used to gain additional experience from the treatment of patients in the intended therapeutic indication and are commonly intended to generate additional safety data regarding use of the product in a clinical setting. In certain instances, the FDA may mandate the performance of Phase 4 clinical trials as a condition of approval of a BLA or NDA.
Progress reports detailing the results of the clinical trials, among other information, must be submitted at least annually to the FDA and written IND safety reports must be submitted to the FDA and the investigators 15 calendar days after the trial sponsor determines the information qualifies for reporting for serious and unexpected suspected adverse events, findings from other studies or animal or in vitro testing that suggest a significant risk for human subjects and any clinically important increase in the rate of a serious suspected adverse reaction over that listed in the protocol or investigator brochure. The sponsor also must notify the FDA of any unexpected fatal or life-threatening suspected adverse reaction as soon as possible but in no case later than seven calendar days after the sponsor’s initial receipt of the information.
Phase 1, Phase 2, Phase 3, and other types of clinical trials may not be completed successfully within any specified period, if at all. The FDA or the sponsor may suspend or terminate a clinical trial at any time on various grounds, including a finding that the patients are being exposed to an unacceptable health risk. Similarly, an IRB can suspend or terminate approval of a clinical trial at its institution if the clinical trial is not being conducted in accordance with the IRB’s requirements or if the drug or biologic has been associated with unexpected serious harm to patients. Additionally, some clinical trials are overseen by an independent group of qualified experts organized by the clinical trial sponsor, known as a data safety monitoring board or committee. This group provides authorization for whether a trial may move forward at designated check points based on access to certain data from the trial. Concurrent with clinical trials, companies usually complete additional animal studies and also must develop additional information about the chemistry and physical characteristics of the drug or biologic as well as finalize a process for manufacturing the product in commercial quantities in accordance with cGMP requirements. The manufacturing process must be capable of consistently producing quality batches of the product and, among other things, companies must develop methods for testing the identity, strength, quality, and purity of the final product. Additionally, appropriate packaging must be selected and tested and stability studies must be conducted to demonstrate that the investigational medicines do not undergo unacceptable deterioration over their shelf life.
FDA review process
Following completion of the clinical trials, data are analyzed to assess whether the investigational product is safe and effective for the proposed indicated use or uses. The results of preclinical studies and clinical trials are then submitted to the FDA as part of a BLA or

149

Table of Contents

NDA, along with proposed labeling, chemistry, and manufacturing information to ensure product quality and other relevant data. A BLA is a request for approval to market a biologic for one or more specified indications and must contain proof of the biologic’s safety, purity, and potency. An NDA for a new drug must contain proof of the drug’s safety and efficacy. The marketing application may include both negative and ambiguous results of preclinical studies and clinical trials, as well as positive findings. Data may come from company-sponsored clinical trials intended to test the safety and efficacy of a product’s use or from a number of alternative sources, including studies initiated by investigators. To support marketing approval, the data submitted must be sufficient in quality and quantity to establish the safety and efficacy of the investigational product to the satisfaction of the FDA. FDA approval of a BLA or NDA must be obtained before a biologic or drug may be marketed in the United States.
Under the Prescription Drug User Fee Act, or PDUFA, as amended, each BLA or NDA must be accompanied by a user fee. The FDA adjusts the PDUFA user fees on an annual basis. Fee waivers or reductions are available in certain circumstances, including a waiver of the application fee for the first application filed by a small business. Additionally, no user fees are assessed on BLAs or NDAs for products designated as orphan drugs, unless the product also includes a non-orphan indication.
The FDA reviews all submitted BLAs and NDAs before it accepts them for filing and may request additional information rather than accepting the BLA or NDA for filing. The FDA must make a decision on accepting a BLA or NDA for filing within 60 days of receipt, and such decision could include a refusal to file by the FDA. Once the submission is accepted for filing, the FDA begins an in-depth review of the BLA or NDA. Under the goals and policies agreed to by the FDA under PDUFA, the FDA has 10 months, from the filing date, in which to complete its initial review of an original BLA or NDA for a new molecular entity and respond to the applicant, and six months from the filing date of an original BLA or NDA designated for priority review. The FDA does not always meet its PDUFA goal dates for standard and priority BLAs and NDAs, and the review process is often extended by FDA requests for additional information or clarification.
Before approving a BLA or NDA, the FDA will conduct a pre-approval inspection of the manufacturing facilities for the new product to determine whether they comply with cGMP requirements. The FDA will not approve the product unless it determines that the manufacturing processes and facilities are in compliance with cGMP requirements and adequate to assure consistent production of the product within required specifications.
The FDA also may audit data from clinical trials to ensure compliance with GCP requirements. Additionally, the FDA may refer applications for novel products or products which present difficult questions of safety or efficacy to an advisory committee, typically a panel that includes clinicians and other experts, for review, evaluation and a recommendation as to whether the application should be approved and under what conditions, if any. The FDA is not bound by recommendations of an advisory committee, but it considers such recommendations when making decisions on approval. The FDA likely will reanalyze the clinical trial data, which could result in extensive discussions between the FDA and the applicant during the review process. After the FDA evaluates a BLA or NDA, it will issue an approval letter or a Complete Response Letter. An approval letter authorizes commercial marketing of the biologic or drug with specific prescribing information for specific indications. A Complete Response Letter indicates that the review cycle of the application is complete, and the application will not be approved in its present form. A Complete Response Letter usually describes all of the specific deficiencies in the BLA or NDA identified by the FDA. The Complete Response Letter may require additional clinical data, additional pivotal Phase 3 clinical trial(s), and/or other significant and time-consuming requirements related to clinical trials, preclinical studies, or manufacturing. If a Complete Response Letter is issued, the applicant may either resubmit the BLA or NDA, addressing all of the deficiencies identified in the letter, or withdraw the application or request an opportunity for a hearing. Even if such data and information are submitted, the FDA may decide that the BLA or NDA does not satisfy the criteria for approval. Data obtained from clinical trials are not always conclusive and the FDA may interpret data differently than we interpret the same data.
Orphan drug designation
Under the Orphan Drug Act, the FDA may grant orphan designation to a drug or biological product intended to treat a rare disease or condition, which is generally a disease or condition that affects fewer than 200,000 individuals in the United States, or more than 200,000 individuals in the United States and for which there is no reasonable expectation that the cost of developing and making the product available in the United States for this type of disease or condition will be recovered from sales of the product.
Orphan drug designation must be requested before submitting a BLA or NDA. After the FDA grants orphan drug designation, the identity of the therapeutic agent and its potential orphan use are disclosed publicly by the FDA. Orphan drug designation on its own does not convey any advantage in or shorten the duration of the regulatory review and approval process.
If a product that has orphan designation subsequently receives the first FDA approval for the disease or condition for which it has such designation, the product is entitled to orphan drug exclusivity, which means that the FDA may not approve any other applications to market the same drug for the same indication for seven years from the date of such approval, except in limited circumstances, such as a showing of clinical superiority to the product with orphan exclusivity by means of greater effectiveness, greater safety, or providing a major contribution to patient care, or in instances of drug supply issues. Competitors, however, may receive approval of either a different product for the same indication or the same product for a different indication; in the latter case, because health care professionals are free to prescribe products for off-label uses, the competitor’s product could be used for the orphan indication despite

150

Table of Contents

our orphan exclusivity. Orphan drug exclusivity also could block the approval of one of our products for seven years if a competitor obtains approval before we do for the same drug and same indication, as defined by the FDA, for which we are seeking approval, or if our product is determined to be contained within the scope of the competitor’s product for the same indication or disease. If we pursue marketing approval for an indication broader than the orphan drug designation we have received, we may not be entitled to orphan drug exclusivity. Orphan drug status in the European Union, or EU, has similar, but not identical, requirements and benefits.
Expedited development and review programs
The FDA has a fast track program that is intended to expedite or facilitate the process for reviewing new drugs and biologics that meet certain criteria. Specifically, new drugs and biologics are eligible for fast track designation if they are intended to treat a serious or life-threatening condition and preclinical or clinical data demonstrate the potential to address unmet medical needs for the condition. Fast track designation applies to both the product and the specific indication for which it is being studied. The sponsor can request the FDA to designate the product for fast track status any time before receiving BLA or NDA approval, but ideally no later than the pre-BLA or pre-NDA meeting. Any product submitted to the FDA for marketing, including under a fast track program, may be eligible for other types of FDA programs intended to expedite development and review, such as priority review and accelerated approval. Any product is eligible for priority review if it treats a serious or life-threatening condition and, if approved, would provide a significant improvement in safety and effectiveness compared to available therapies. The FDA will attempt to direct additional resources to the evaluation of an application for a new drug or biologic designated for priority review in an effort to facilitate the review.
A product may also be eligible for accelerated approval, if it treats a serious or life-threatening condition and generally provides a meaningful advantage over available therapies. In addition, it must demonstrate an effect on a surrogate endpoint that is reasonably likely to predict clinical benefit or on a clinical endpoint that can be measured earlier than irreversible morbidity or mortality, or IMM, that is reasonably likely to predict an effect on IMM or other clinical benefit. As a condition of approval, the FDA may require that a sponsor of a drug or biologic receiving accelerated approval perform adequate and well-controlled post-marketing clinical trials. If the FDA concludes that a drug or biologic shown to be effective can be safely used only if distribution or use is restricted, it will require such post-marketing restrictions, as it deems necessary to assure safe use of the product. If the FDA determines that the conditions of approval are not being met, the FDA can withdraw its accelerated approval for such drug or biologic.
Additionally, a drug or biologic may be eligible for designation as a breakthrough therapy if the product is intended, alone or in combination with one or more other drugs or biologics, to treat a serious or life-threatening condition and preliminary clinical evidence indicates that the product may demonstrate substantial improvement over currently approved therapies on one or more clinically significant endpoints. The benefits of breakthrough therapy designation include the same benefits as fast track designation, plus intensive guidance from the FDA to ensure an efficient drug development program.
Even if a product qualifies for one or more of these programs, the FDA may later decide that the product no longer meets the conditions for qualification or the time period for FDA review or approval may not be shortened. Furthermore, fast track designation, priority review, accelerated approval, and breakthrough therapy designation do not change the standards for approval, but may expedite the development or approval process.
Pediatric information
Under the Pediatric Research Equity Act, as amended, a BLA or NDA or supplement to a BLA or NDA must contain data to assess the safety and efficacy of the drug for the claimed indications in all relevant pediatric subpopulations and to support dosing and administration for each pediatric subpopulation for which the product is safe and effective. The FDA may grant deferrals for submission of pediatric data or full or partial waivers. A sponsor who is planning to submit a marketing application for a drug that includes a new active ingredient, new indication, new dosage form, new dosing regimen, or new route of administration must submit an initial Pediatric Study Plan, or PSP, within 60 days of an end-of-Phase 2 meeting or, if there is no such meeting, as early as practicable before the initiation of the Phase 3 or Phase 2/3 study. The initial PSP must include an outline of the pediatric study or studies that the sponsor plans to conduct, including study objectives and design, age groups, relevant endpoints, and statistical approach, or a justification for not including such detailed information, and any request for a deferral of pediatric assessments or a full or partial waiver of the requirement to provide data from pediatric studies along with supporting information. The FDA and the sponsor must reach an agreement on the PSP. A sponsor can submit amendments to an agreed-upon initial PSP at any time if changes to the pediatric plan need to be considered based on data collected from preclinical studies, early phase clinical trials, and/or other clinical development programs.
Post-marketing requirements
Following approval of a new product, the manufacturer and the approved product are subject to continuing regulation by the FDA, including, among other things, monitoring and record-keeping activities, reporting of adverse experiences, complying with promotion and advertising requirements, which include restrictions on promoting products for unapproved uses or patient populations (known as ‘‘off-label use’’), and limitations on industry-sponsored scientific and educational activities. Although physicians may prescribe legally available products for off-label uses, manufacturers may not market or promote such uses. Prescription drug and biologic

151

Table of Contents

promotional materials must be submitted to the FDA in conjunction with their first use. Further, if there are any modifications to the drug or biologic, including changes in indications, labeling or manufacturing processes or facilities, the applicant may be required to submit and obtain FDA approval of a new BLA or NDA or BLA or NDA supplement, which may require the development of additional data or preclinical studies and clinical trials.
The FDA may also place other conditions on approvals including the requirement for a Risk Evaluation and Mitigation Strategy, or REMS, to assure the safe use of the product. If the FDA concludes a REMS is needed, the sponsor of the BLA or NDA must submit a proposed REMS. The FDA will not approve the BLA or NDA without an approved REMS, if required. A REMS could include medication guides, physician communication plans, or elements to assure safe use, such as restricted distribution methods, patient registries, and other risk minimization tools. Any of these limitations on approval or marketing could restrict the commercial promotion, distribution, prescription or dispensing of products. Newly discovered or developed safety or effectiveness data may require changes to a drug’s approved labeling, including the addition of new warnings and contraindications, and also may require the implementation of other risk management measures, including a REMS or the conduct of post-marketing studies to assess a newly discovered safety issue. Product approvals may be withdrawn for non-compliance with regulatory standards, or if problems occur following initial marketing.
FDA regulations require that products be manufactured in specific approved facilities and in accordance with cGMP regulations. In addition to our own manufacturing facilities, we rely, and expect to continue to rely, on third parties for the production of certain clinical and commercial quantities of our products in accordance with cGMP regulations. We, and these manufacturers must comply with cGMP regulations that require, among other things, quality control and quality assurance, the maintenance of records and documentation, and the obligation to investigate and correct any deviations from cGMP. Manufacturers and other entities involved in the manufacture and distribution of approved drugs or biologics are required to register their establishments with the FDA and certain state agencies, and are subject to periodic unannounced inspections by the FDA and certain state agencies for compliance with cGMP requirements and other laws. Accordingly, manufacturers must continue to expend time, money, and effort in the area of production and quality control to maintain cGMP compliance. The discovery of violative conditions, including failure to conform to cGMP regulations, could result in enforcement actions, and the discovery of problems with a product after approval may result in restrictions on a product, manufacturer, or holder of an approved BLA or NDA, including recall.
U.S. patent term restoration and marketing exclusivity
Depending upon the timing, duration, and specifics of FDA approval of our investigational medicines and any future investigational medicines, some of our U.S. patents may be eligible for limited patent term extension under the Drug Price Competition and Patent Term Restoration Act of 1984, commonly referred to as the Hatch Waxman Amendments. The Hatch Waxman Amendments permit restoration of the patent term of up to five years as compensation for patent term lost during product development and FDA regulatory review process. Patent term restoration, however, cannot extend the remaining term of a patent beyond a total of 14 years from the product’s approval date. The patent term restoration period is generally one half the time between the effective date of an IND and the submission date of a BLA or NDA, plus the time between the submission date of a BLA or NDA and the approval of that application, except that the review period is reduced by any time during which the applicant failed to exercise due diligence. Only one patent applicable to an approved drug is eligible for such an extension and the application for the extension must be submitted prior to the expiration of the patent. The USPTO, in consultation with the FDA, reviews and approves the application for any patent term extension or restoration. In the future, we may apply for restoration of patent term for our currently owned or licensed patents to add patent life beyond the current expiration date, depending on the expected length of the clinical trials and other factors involved in the filing of the relevant BLA or NDA.
Marketing exclusivity provisions under the FDCA can also delay the submission or the approval of certain marketing applications. The FDCA provides three years of marketing exclusivity for an NDA, or supplement to an existing NDA, if new clinical investigations, other than bioavailability studies, that were conducted or sponsored by the applicant are deemed by the FDA to be essential to the approval of the application, for example for new indications, dosages, or strengths of an existing drug. This three-year exclusivity covers only the modification for which the drug received approval on the basis of the new clinical investigations and does not prohibit the FDA from approving abbreviated new drug applications, or ANDAs, for drugs containing the active agent for the original indication or condition of use. The FDCA also provides a five-year period of non-patent marketing exclusivity within the United States to the first applicant to obtain approval of an NDA for a new chemical entity. A drug is a new chemical entity if the FDA has not previously approved any other new drug containing the same active moiety, which is the molecule or ion responsible for the action of the drug substance.
During the exclusivity period, the FDA may not accept for review an ANDA or a 505(b)(2) NDA submitted by another company for another drug based on the same active moiety, regardless of whether the drug is intended for the same indication as the original innovator drug or for another indication, where the applicant does not own or have a legal right of reference to all the data required for approval. However, an application may be submitted after four years if it contains a certification of patent invalidity or non-infringement to one of the patents listed with the FDA by the innovator NDA holder. Three-year and five-year exclusivity will not delay the submission or approval of a full NDA. However, an applicant submitting a full NDA would be required to conduct or obtain

152

Table of Contents

a right of reference to all of the nonclinical studies and adequate and well-controlled clinical trials necessary to demonstrate safety and efficacy.
An abbreviated approval pathway for biological products shown to be biosimilar to, or interchangeable with, an FDA-licensed reference biological product was created by the Biologics Price Competition and Innovation Act of 2009, or BPCI Act. This amendment to the PHSA, in part, attempts to minimize duplicative testing. Biosimilarity, which requires that the biological product be highly similar to the reference product notwithstanding minor differences in clinically inactive components and that there be no clinically meaningful differences between the product and the reference product in terms of safety, purity, and potency, can be shown through analytical studies, animal studies, and a clinical trial or trials. Interchangeability requires that a biological product be biosimilar to the reference product and that the product can be expected to produce the same clinical results as the reference product in any given patient and, for products administered multiple times to an individual, that the product and the reference product may be alternated or switched after one has been previously administered without increasing safety risks or risks of diminished efficacy relative to exclusive use of the reference biological product without such alternation or switch.
A reference biological product is granted 12 years of data exclusivity from the time of first licensure of the product and the FDA will not accept an application for a biosimilar or interchangeable product based on the reference biological product until four years after the date of first licensure of the reference product. ‘‘First licensure’’ typically means the initial date the particular product at issue was licensed in the United States. Date of first licensure does not include the date of licensure of (and a new period of exclusivity is not available for) a biological product if the licensure is for a supplement for the biological product or for a subsequent application by the same sponsor or manufacturer of the biological product (or licensor, predecessor in interest, or other related entity) for a change (not including a modification to the structure of the biological product) that results in a new indication, route of administration, dosing schedule, dosage form, delivery system, delivery device or strength, or for a modification to the structure of the biological product that does not result in a change in safety, purity, or potency.
Pediatric exclusivity is another type of regulatory market exclusivity in the United States. Pediatric exclusivity, if granted, adds six months to existing regulatory exclusivity periods. This six month exclusivity may be granted based on the voluntary completion of a pediatric trial in accordance with an FDA issued ‘‘Written Request’’ for such a trial.
European Union drug development
In the EU, our future products also may be subject to extensive regulatory requirements. As in the United States, medicinal products can be marketed only if a marketing authorization from the competent regulatory agencies has been obtained.
Similar to the United States, the various phases of preclinical and clinical research in the European Union are subject to significant regulatory controls. Although the EU Clinical Trials Directive 2001/20/EC has sought to harmonize the EU clinical trials regulatory framework, setting out common rules for the control and authorization of clinical trials in the EU, the EU Member States have transposed and applied the provisions of the Directive differently. This has led to significant variations in the member state regimes. Under the current regime, before a clinical trial can be initiated it must be approved in each of the EU countries where the trial is to be conducted by two distinct bodies: the National Competent Authority, or NCA, and one or more Ethics Committees, or ECs. Under the current regime all suspected unexpected serious adverse reactions to the investigated drug that occur during the clinical trial have to be reported to the NCA and ECs of the Member State where they occurred.
The EU clinical trials legislation currently is undergoing a transition process mainly aimed at harmonizing and streamlining clinical trial authorization, simplifying adverse event reporting procedures, improving the supervision of clinical trials, and increasing their transparency. In April 2014, the EU adopted a new Clinical Trials Regulation (EU) No 536/2014, which is set to replace the current Clinical Trials Directive 2001/20/EC. It is expected that the new Clinical Trials Regulation (EU) No 536/2014 will apply following confirmation of full functionality of the Clinical Trials Information System (CTIS), the centralized EU portal and database for clinical trials foreseen by the regulation, through an independent audit. The regulation becomes applicable six months after the European Commission publishes notice of this confirmation. It will overhaul the current system of approvals for clinical studies in the EU. Specifically, the new regulation, which will be directly applicable in all Member States (and so does not require national implementing legislation in each Member State), aims at simplifying and streamlining the approval of clinical studies in the EU. For instance, the new Clinical Trials Regulation provides for a streamlined application procedure via a single point and strictly defined deadlines for the assessment of clinical study applications.

Pediatric investigation plan
An application for marketing authorization of a medicinal product for human use which is not yet authorized in the EU shall be considered valid only if it includes a Pediatric Investigational Plan, or PIP, according to Regulation (EC) No. 1901/2006. The PIP or the application for waiver shall be submitted with a request for agreement, except in duly justified cases, early during the product development phase and not later than upon completion of the human pharmacokinetic studies in healthy subjects. The end of Phase 1

153

Table of Contents

pharmacokinetic studies can coincide with the initial tolerability studies, or the initiation of the adult Phase 2 studies (proof-of-concept studies); in any case, submission of the PIP cannot be after initiation of pivotal trials or confirmatory (Phase 3) trials.
The Pediatric Committee, a scientific committee established at the Community level, shall assess the content of any PIP, waivers, and deferrals for a medicinal product submitted to it in accordance with the regulation on medicinal products for pediatric use and formulate an opinion thereon.
European Union drug review and approval
In the European Economic Area, or EEA, which is comprised of the 27 Member States of the EU and Norway, Iceland and Liechtenstein, medicinal products can only be commercialized after obtaining a Marketing Authorization, or MA. There are two types of marketing authorizations.
The Community MA is issued by the European Commission through the Centralized Procedure, based on the opinion of the Committee for Medicinal Products for Human Use, or CHMP, of the EMA, and is valid throughout the entire territory of the EEA. The Centralized Procedure is mandatory for certain types of products, such as biotechnology medicinal products, orphan medicinal products, advanced therapy medicines such as gene therapy, somatic cell therapy or tissue engineered medicines, and medicinal products containing a new active substance indicated for the treatment of HIV, AIDS, cancer, neurodegenerative disorders, diabetes, autoimmune, and other immune dysfunctions and viral diseases. For those products for which the use of the Centralized Procedure is not mandatory, applicants may elect to use the Centralized Procedure where either the product contains a new active substance not yet authorized in the EEA, or where the applicant can show that the product constitutes a significant therapeutic, scientific, or technical innovation or for which the Centralized Procedure is in the interest of patients at a European level.
National MAs, which are issued by the competent authorities of the Member States of the EEA and only cover their respective territory, are available for products not falling within the mandatory scope of the Centralized Procedure. Where a product has already been authorized for marketing in a Member State of the EEA, this National MA can be recognized in another Member State through the Mutual Recognition Procedure. If the product has not received a National MA in any Member State at the time of application, it can be approved simultaneously in various Member States through the Decentralized Procedure. Under the Decentralized Procedure an identical dossier is submitted to the competent authorities of each of the Member States in which the MA is sought, one of which is selected by the applicant as the Reference Member State, or RMS. The competent authority of the RMS prepares a draft assessment report, a draft summary of the product characteristics, or SPC, and a draft of the labeling and package leaflet, which are sent to the other Member States (referred to as the Concerned Member States) for their approval. If the Concerned Member States raise no objections, based on a potential serious risk to public health, in relation to the assessment, SPC, labeling, or packaging proposed by the RMS, the product is subsequently granted a national MA in all the Member States (i.e., in the RMS and the Concerned Member States).
Under the above described procedures, before granting the MA, the EMA or the competent authorities of the Member States of the EEA make an assessment of the risk benefit balance of the product on the basis of scientific criteria concerning its quality, safety, and efficacy.
European Union exclusivity
In the EU, new innovative products authorized for marketing (i.e., reference products) qualify for eight years of data exclusivity and an additional two years of market exclusivity upon the grant of a marketing authorization. During the period of data exclusivity regulatory authorities in the EU may not reference the innovator’s data to assess a generic or biosimilar application for eight years, after which a generic or biosimilar marketing application can be submitted, and the innovator’s data may be referenced, but not approved for two years. The overall 10-year period will be extended to a maximum of 11 years if, during the first eight years of those 10 years, the marketing authorization holder obtains an authorization for one or more new therapeutic indications which, during the scientific evaluation prior to their authorization, are determined to bring a significant clinical benefit in comparison with currently approved therapies.

European Union orphan designation and exclusivity
In the EU, the EMA’s Committee for Orphan Medicinal Products grants orphan drug designation to promote the development of products that are intended for the diagnosis, prevention, or treatment of life threatening or chronically debilitating conditions affecting not more than five in 10,000 persons in the EU community (or where it is unlikely that the development of the medicine would generate sufficient return to justify the investment) and for which no satisfactory method of diagnosis, prevention, or treatment has been authorized (or, if a method exists, the product would be a significant benefit to those affected).
In the EU, orphan drug designation entitles a party to financial incentives such as reduction of fees or fee waivers and 10 years of market exclusivity is granted following medicinal product approval. This period may be reduced to six years if the orphan drug designation criteria are no longer met, including where it is shown that the product is sufficiently profitable not to justify maintenance

154

Table of Contents

of market exclusivity. Orphan drug designation must be requested before submitting an application for marketing approval. Orphan drug designation does not convey any advantage in, or shorten the duration of, the regulatory review and approval process.
European data collection
The collection and use of personal health data in the EU is governed by the provisions of the Data Protection Directive, and as of May 2018 the General Data Protection Regulation, or GDPR. This directive imposes several requirements relating to the consent of the individuals to whom the personal data relates, the information provided to the individuals, notification of data processing obligations to the competent national data protection authorities, and the security and confidentiality of the personal data. The Data Protection Directive and GDPR also impose strict rules on the transfer of personal data out of the EU to the United States. Failure to comply with the requirements of the Data Protection Directive, the GDPR, and the related national data protection laws of the EU Member States may result in fines and other administrative penalties. The GDPR introduces new data protection requirements in the EU and substantial fines for breaches of the data protection rules. The GDPR regulations may impose additional responsibility and liability in relation to personal data that we process and we may be required to put in place additional mechanisms ensuring compliance with the new data protection rules. This may be onerous and adversely affect our business, financial condition, results of operations, and prospects.
European Union drug marketing
Much like the Anti-Kickback Statute prohibition in the United States, the provision of benefits or advantages to physicians to induce or encourage the prescription, recommendation, endorsement, purchase, supply, order, or use of medicinal products is also prohibited in the EU. Infringement of relevant EU laws could result in substantial fines and imprisonment.
Payments may be made to physicians in limited circumstances, and in certain EU Member States such payments must be publicly disclosed. Moreover, agreements with physicians for the provision of services often must be the subject of prior notification and approval by the physician’s employer, his or her competent professional organization, and/or the regulatory authorities of the individual EU Member States. These requirements are provided in the national laws, industry codes, or professional codes of conduct, applicable in the EU Member States. Failure to comply with these requirements could result in reputational risk, public reprimands, administrative penalties, fines, or imprisonment.
Brexit and the Regulatory Framework in the United Kingdom

On June 23, 2016, the electorate in the United Kingdom voted in favor of leaving the EU (commonly referred to as “Brexit”). Thereafter, on March 29, 2017, the country formally notified the EU of its intention to withdraw pursuant to Article 50 of the Lisbon Treaty. The United Kingdom formally left the EU on January 31, 2020. A transition period began on February 1, 2020, during which EU pharmaceutical law remains applicable to the United Kingdom. This transition period is due to end on December 31, 2020. Since the regulatory framework for pharmaceutical products in the United Kingdom covering quality, safety and efficacy of pharmaceutical products, clinical trials, marketing authorization, commercial sales and distribution of pharmaceutical products is derived from EU directives and regulations, Brexit could materially impact the future regulatory regime which applies to products and the approval of product candidates in the United Kingdom. It remains to be seen how Brexit will impact regulatory requirements for product candidates and products in the United Kingdom.

Rest of the world regulation
For other countries outside of the EU and the United States, such as countries in Eastern Europe, Latin America, Middle East, or Asia, the requirements governing the conduct of clinical trials, product licensing, pricing, and reimbursement vary from country to country. Additionally, the clinical trials must be conducted in accordance with GCP requirements and the applicable regulatory requirements and the ethical principles that have their origin in the Declaration of Helsinki.
If we fail to comply with applicable foreign regulatory requirements, we may be subject to, among other things, fines, suspension or withdrawal of regulatory approvals, product recalls, seizure of products, operating restrictions, or criminal prosecution.
Other healthcare laws
Healthcare providers, physicians, and third party payors will play a primary role in the recommendation and prescription of any products for which we obtain marketing approval. Our future arrangements with third party payors, healthcare providers, and physicians may expose us to broadly applicable fraud and abuse and other healthcare laws and regulations that may constrain the business or financial arrangements and relationships through which we market, sell, and distribute any drugs for which we obtain marketing approval. In the United States, these laws include, without limitation, state and federal anti-kickback, false claims, physician transparency, and patient data privacy and security laws and regulations, including but not limited to those described below.

155

Table of Contents

The Anti-Kickback Statute, or AKS, makes it illegal for any person, including a prescription drug manufacturer (or a party acting on its behalf), to knowingly and willfully solicit, receive, offer, or pay any remuneration, directly or indirectly, in cash or in kind, that is intended to induce or reward referrals, including the purchase, recommendation, order or prescription of a particular drug or any other good or service, for which payment may be made under a federal healthcare program, such as Medicare or Medicaid. Violations of this law are punishable by up to five years in prison, criminal fines, administrative civil money penalties, and exclusion from participation in federal healthcare programs. In addition, a person or entity does not need to have actual knowledge of the statute or specific intent to violate it.
The federal False Claims Act imposes civil penalties, including through civil whistleblower or qui tam actions, against individuals or entities (including manufacturers) for, among other things, knowingly presenting, or causing to be presented, false or fraudulent claims for payment by a federal healthcare program or making a false statement or record material to payment of a false claim or avoiding, decreasing, or concealing an obligation to pay money to the federal government. The government may deem manufacturers to have “caused” the submission of false or fraudulent claims by, for example, providing inaccurate billing or coding information to customers or promoting a product off-label. Claims which include items or services resulting from a violation of the federal Anti-Kickback Statute are false or fraudulent claims for purposes of the False Claims Act. Our future marketing and activities relating to the reporting of wholesaler or estimated retail prices for our products, the reporting of prices used to calculate Medicaid rebate information, and other information affecting federal, state, and third-party reimbursement for our products, and the sale and marketing of our product and any future investigational medicines, are subject to scrutiny under this law.
Health Insurance Portability and Accountability Act of 1996, or HIPAA, imposes criminal and civil liability for, among other things, knowingly and willfully executing a scheme, or attempting to execute a scheme, to defraud any healthcare benefit program, including private payors, or falsifying, concealing, or covering up a material fact or making any materially false statements in connection with the delivery of or payment for healthcare benefits, items or services. Similar to the federal Anti-Kickback Statute, a person or entity does not need to have actual knowledge of the statute or specific intent to violate it in order to have committed a violation.
HIPAA, as amended by the Health Information Technology for Economic and Clinical Health Act of 2009, or HITECH, and their respective implementing regulations, impose, among other things, specified requirements on covered entities and their business associates relating to the privacy and security of individually identifiable health information, including mandatory contractual terms and required implementation of technical safeguards of such information. HITECH also created new tiers of civil monetary penalties, amended HIPAA to make civil and criminal penalties directly applicable to business associates, and gave state Attorneys General new authority to file civil actions for damages or injunctions in federal courts to enforce the federal HIPAA laws and seek attorneys’ fees and costs associated with pursuing federal civil actions.
The Physician Payments Sunshine Act, enacted as part of Act, the ACA, imposed new annual reporting requirements for certain manufacturers of drugs, devices, biologics, and medical supplies for which payment is available under Medicare, Medicaid, or the Children’s Health Insurance Program, for certain payments and “transfers of value” provided to physicians (defined to include doctors, dentists, optometrists, podiatrists and chiropractors) and teaching hospitals, as well as ownership and investment interests held by physicians and their immediate family members. Effective January 1, 2022, these reporting obligations will extend to include transfers of value made to certain non-physician providers such as physician assistants and nurse practitioners.
Analogous state and foreign fraud and abuse laws and regulations, such as state anti-kickback and false claims laws, which may be broader in scope and apply regardless of payor impose a variety of obligations on. Such laws are enforced by various state agencies and through private actions. Some state laws require pharmaceutical companies to comply with the pharmaceutical industry’s voluntary compliance guidelines and the relevant federal government compliance guidance, require drug manufacturers to report information related to payments and other transfers of value to physicians and other healthcare providers, and restrict marketing practices or require disclosure of marketing expenditures. State and foreign laws also govern the privacy and security of health information in some circumstances. Such data privacy and security laws may differ from each other in significant ways and often are not pre-empted by HIPAA, thus complicating compliance efforts. For example, in California the California Consumer Protection Act (“CCPA”), which went into effect on January 1, 2020, establishes a new privacy framework for covered businesses by creating an expanded definition of personal information, establishing new data privacy rights for consumers in the State of California, imposing special rules on the collection of consumer data from minors, and creating a new and potentially severe statutory damages framework for violations of the CCPA and for businesses that fail to implement reasonable security procedures and practices to prevent data breaches. While clinical trial data and information governed by HIPAA are currently exempt from the current version of the CCPA, other personal information may be applicable and possible changes to the CCPA may broaden its scope.

156

Table of Contents

The scope and enforcement of each of these laws is uncertain and subject to rapid change in the current environment of healthcare reform, especially in light of the lack of applicable precedent and regulations. Federal and state enforcement bodies have recently increased their scrutiny of interactions between healthcare companies and healthcare providers, which has led to a number of investigations, prosecutions, convictions, and settlements in the healthcare industry. It is possible that governmental authorities will conclude that our business practices do not comply with current or future statutes, regulations, or case law involving applicable fraud and abuse or other healthcare laws and regulations. If our operations are found to be in violation of any of these laws or any other related governmental regulations that may apply to us, we may be subject to significant civil, criminal, and administrative penalties, damages, fines, imprisonment, disgorgement, exclusion of drugs from government funded healthcare programs, such as Medicare and Medicaid, reputational harm, additional oversight, and reporting obligations if we become subject to a corporate integrity agreement or similar settlement to resolve allegations of non-compliance with these laws and the curtailment or restructuring of our operations. If any of the physicians or other healthcare providers or entities with whom we expect to do business is found to be not in compliance with applicable laws, they may be subject to similar actions, penalties, and sanctions. Ensuring business arrangements comply with applicable healthcare laws, as well as responding to possible investigations by government authorities, can be time- and resource-consuming and can divert a company’s attention from the business.
Current and future healthcare reform legislation
In the United States and foreign jurisdictions, there have been a number of legislative and regulatory changes and proposed changes regarding the healthcare system that could prevent or delay marketing approval of our investigational medicines, restrict or regulate post-approval activities, and affect our ability to profitably sell any investigational medicines for which we obtain marketing approval. We expect that current laws, as well as other healthcare reform measures that may be adopted in the future, may result in more rigorous coverage criteria and in additional downward pressure on the price that we, or any strategic collaborators, may receive for any approved products.
The ACA, for example, contains provisions that subject biological products to potential competition by lower-cost biosimilars and may reduce the profitability of drug products through increased rebates for drugs reimbursed by Medicaid programs, extension of Medicaid rebates to Medicaid managed care plans, mandatory discounts for certain Medicare Part D beneficiaries and, annual fees based on pharmaceutical companies’ share of sales to federal health care programs. With the current presidential administration and Congress, there may be additional administrative or legislative changes, including modification, repeal, or replacement of all, or certain provisions of, the ACA, which may impact reimbursement for drugs and biologics. Since its enactment, there have been numerous judicial, administrative, executive, and legislative challenges to certain aspects of the ACA, and we expect there will be additional challenges and amendments to the ACA in the future. For example, various portions of the ACA are currently undergoing legal and constitutional challenges in the Fifth Circuit Court and the United States Supreme Court, and the Trump Administration has issued various Executive Orders which eliminated cost sharing subsidies and various provisions that would impose a fiscal burden on states or a cost, fee, tax, penalty or regulatory burden on individuals, healthcare providers, health insurers, or manufacturers of pharmaceuticals or medical devices. Additionally, Congress has introduced several pieces of legislation aimed at significantly revising or repealing the ACA. It is unclear whether the ACA will be overturned, repealed, replaced, or further amended. We cannot predict what affect further changes to the ACA would have on our business.

Additionally, other federal health reform measures have been proposed and adopted in the United States since the ACA was enacted:
The Budget Control Act of 2011, among other things, created measures for spending reductions by Congress. A Joint Select Committee on Deficit Reduction, tasked with recommending a targeted deficit reduction of at least $1.2 trillion for the years 2013 through 2021, was unable to reach required goals, thereby triggering the legislation’s automatic reduction to several government programs. These changes included aggregate reductions to Medicare payments to providers of up to 2% per fiscal year, which went into effect in April 2013 and will remain in effect through 2029 unless additional Congressional action is taken.
The American Taxpayer Relief Act of 2012, among other things, reduced Medicare payments to several providers, and increased the statute of limitations period for the government to recover overpayments to providers from three to five years.
Further, there has been heightened governmental scrutiny over the manner in which manufacturers set prices for their marketed products, which have resulted in several recent Congressional inquiries and proposed bills designed to, among other things, bring more transparency to product pricing, review the relationship between pricing and manufacturer patient programs, and reform government program reimbursement methodologies for products. In addition, the federal government, state legislatures, and foreign governments have shown significant interest in implementing cost containment programs, including price-controls, restrictions on reimbursement, and requirements for substitution of generic products for branded prescription drugs to limit the growth of government paid health care costs. For example, the federal government has passed legislation requiring pharmaceutical manufacturers to provide rebates and discounts to certain entities and governmental payors to participate in federal healthcare programs. Additionally, the

157

Table of Contents

current administration released a “Blueprint” to lower drug prices and reduce out of pocket costs of drugs that contains additional proposals to increase manufacturer competition, increase the negotiating power of certain federal healthcare programs, incentivize manufacturers to lower the list price of their products and reduce the out of pocket costs of drug products paid by consumers. While any proposed measures will require authorization through additional legislation to become effective, Congress and the administration have each indicated that it will continue to seek new legislative and/or administrative measures to control drug costs.
Individual states in the United States have also become increasingly aggressive in passing legislation and implementing regulations designed to control pharmaceutical and biological product pricing, including price or patient reimbursement constraints, discounts, restrictions on certain product access and marketing cost disclosure and transparency measures, and, in some cases, designed to encourage importation, from other countries and bulk purchasing.
Packaging and distribution in the United States
If our products are made available to authorized users of the Federal Supply Schedule of the General Services Administration additional laws and requirements apply. Products must meet applicable child-resistant packaging requirements under the U.S. Poison Prevention Packaging Act. Manufacturing, sales, promotion, and other activities also are potentially subject to federal and state consumer protection and unfair competition laws.
The distribution of pharmaceutical products is subject to additional requirements and regulations, including extensive record-keeping, licensing, storage, and security requirements intended to prevent the unauthorized sale of pharmaceutical products.
The failure to comply with any of these laws or regulatory requirements subjects firms to possible legal or regulatory action. Depending on the circumstances, failure to meet applicable regulatory requirements can result in criminal prosecution, fines or other penalties, injunctions, exclusion from federal healthcare programs, requests for recall, seizure of products, total or partial suspension of production, denial or withdrawal of product approvals, or refusal to allow a firm to enter into supply contracts, including government contracts. Any action against us for violation of these laws, even if we successfully defend against it, could cause us to incur significant legal expenses and divert our management’s attention from the operation of our business. Prohibitions or restrictions on sales or withdrawal of future products marketed by us could materially affect our business in an adverse way.
Changes in regulations, statutes, or the interpretation of existing regulations could impact our business in the future by requiring, for example: (i) changes to our manufacturing arrangements; (ii) additions or modifications to product labeling; (iii) the recall or discontinuation of our products; or (iv) additional record-keeping requirements. If any such changes were to be imposed, they could adversely affect the operation of our business.
Other U.S. environmental, health, and safety laws and regulations
We may be subject to numerous environmental, health, and safety laws and regulations, including those governing laboratory procedures and the handling, use, storage, treatment, and disposal of hazardous materials and wastes. From time to time and in the future, our operations may involve the use of hazardous and flammable materials, including chemicals and biological materials, and may also produce hazardous waste products. Even if we contract with third parties for the disposal of these materials and waste products, we cannot completely eliminate the risk of contamination or injury resulting from these materials. In the event of contamination or injury resulting from the use or disposal of our hazardous materials, we could be held liable for any resulting damages, and any liability could exceed our resources. We also could incur significant costs associated with civil or criminal fines and penalties for failure to comply with such laws and regulations.
We maintain workers’ compensation insurance to cover us for costs and expenses we may incur due to injuries to our employees, but this insurance may not provide adequate coverage against potential liabilities. However, we do not maintain insurance for environmental liability or toxic tort claims that may be asserted against us.
In addition, we may incur substantial costs in order to comply with current or future environmental, health, and safety laws and regulations. Current or future environmental laws and regulations may impair our research, development or production efforts. In addition, failure to comply with these laws and regulations may result in substantial fines, penalties or other sanctions.

CORPORATE INFORMATION
We were incorporated under the laws of the State of Delaware on July 22, 2016. We are the successor in interest to Moderna LLC, a limited liability company formed under the laws of the State of Delaware in 2013. Moderna LLC was the successor in interest to Moderna Therapeutics, Inc., a Delaware corporation incorporated in 2009 as Newco LS18, Inc. by Flagship Pioneering. In August 2018, we changed our name from Moderna Therapeutics, Inc. to Moderna, Inc. Our principal corporate office is located at 200 Technology Square, Cambridge, MA 02139, and our telephone number is (617) 714-6500. Our website address is www.modernatx.com. The information on our website is not incorporated by reference in this Annual Report on Form 10-K or in any other filings we make with the Securities and Exchange Commission, or SEC.

158

Table of Contents

We make available on or through our website certain reports and amendments to those reports that we file with or furnish to the SEC in accordance with the Securities Exchange Act of 1934, as amended, or the Exchange Act. These include our Annual Reports on Form 10-K, our Quarterly Reports on Form 10-Q, and our Current Reports on Form 8-K, and amendments to those reports filed or furnished pursuant to Section 13(a) or 15(d) of the Exchange Act. We make this information available on or through our website free of charge as soon as reasonably practicable after we electronically file the information with, or furnish it to, the SEC.
The SEC also maintains a website that contains reports, proxy and information statements, and other information regarding us and other issuers that file electronically with the SEC. The SEC’s Internet website address is http://www.sec.gov.

159

Table of Contents



Item 1A. Risk Factors
Investing in our common stock involves a high degree of risk. You should carefully consider the following risks and uncertainties, together with all other information in this Annual Report on Form 10-K, including our consolidated financial statements and related notes and “Management’s Discussion and Analysis of Financial Condition and Results of Operations,” before investing in our common stock. Any of the risk factors we describe below could adversely affect our business, financial condition or results of operations. The market price of our common stock could decline if one or more of these risks or uncertainties actually occur, causing you to lose all or part of the money you paid to buy our common stock. Additional risks that we currently do not know about or that we currently believe to be immaterial may also impair our business. Certain statements in this Annual Report on Form 10-K are forward-looking statements. See the section of this Annual Report on Form 10-K titled “Special Note Regarding Forward-Looking Statements”.
Risks related to our business and creating a new class of medicines
Our pursuit of mRNA-1273, a potential vaccine for the novel coronavirus (“SARS-CoV-2”), is at an early stage.  We have not previously tested our rapid response capability and may be unable to produce a vaccine that successfully treats the virus in a timely manner, if at all.
In response to the global outbreak of coronavirus, we are pursuing the rapid manufacture of mRNA-1273 in collaboration with the Vaccine Research Center and Division of Microbiology and Infectious Diseases of the National Institute of Allergy and Infectious Diseases (“NIAID”), part of the National Institutes of Health, (“NIH”). The Coalition for Epidemic Preparedness Innovations (“CEPI”) has agreed to fund the cGMP manufacture of the preliminary clinical batches of the vaccine, and NIAID plans to conduct investigational new drug-enabling (“IND-enabling”) studies and use such clinical batches to run a Phase 1 clinical study in the United States.  Our development of the vaccine is in early stages, and we may be unable to produce a vaccine that successfully treats the virus in a timely manner, if at all.  Additionally, our ability to develop an effective vaccine depends on the success of our rapid response capability, which we have not previously tested and which will need to be funded by third parties in order to enable us to have sufficient capacity to respond to a global health challenge.  If the outbreak is effectively contained or the risk of coronavirus infection is diminished or eliminated before we can successfully develop and manufacture mRNA-1273, NIAID or CEPI could de-prioritize their support for the development of our vaccine.  We are also committing financial resources and personnel to the development of mRNA-1273 which may cause delays in or otherwise negatively impact our other development programs, despite uncertainties surrounding the longevity and extent of coronavirus as a global health concern.  Our business could be negatively impacted by our allocation of significant resources to a global health threat that is unpredictable and could rapidly dissipate or against which our vaccine, if developed, may not be partially or fully effective.  In addition, another party may be successful in producing a more efficacious vaccine or other treatment for SARS-CoV-2 which may also lead to the diversion of governmental and quasi-governmental funding away from us and toward other companies.
If we are successful in producing a vaccine against SARS-CoV-2, we may need to devote significant resources to its scale-up and development, including for use by the U.S. government.
In the event that the Phase 1 clinical trials for mRNA-1273 that are to be conducted by NIAID are perceived to be successful, we may need to work toward the large scale technical development, manufacturing scale-up and larger scale deployment of this potential vaccine through a variety of U.S. government mechanisms such as an Expanded Access Program or an Emergency Use Authorization program. In this case we may need to divert significant resources to this program, which would require diversion of resources from our other programs. In addition, since the path to licensure of any vaccine against SARS-CoV-2 is unclear, we may have a widely used vaccine in circulation in the United States or another country prior to our receipt of marketing approval. Unexpected safety issues in these circumstances could lead to significant reputational damage for Moderna and our technology platform going forward and other issues, including delays in our other programs, the need for re-design of our clinical trials and the need for significant additional financial resources.

We will need to seek and secure significant funding through financings or from other sources. Clinical data or trial execution that creates delays, setbacks, or failures in one or more of our programs or modalities or the entire pipeline could result in an impaired ability or inability to finance or fund the Company in the future.
We are currently advancing our pipeline of 24 development candidates across our 23 programs, of which 12 development candidates are in clinical studies and another one has an open investigational new drug application (“IND”). Discovering development candidates and developing investigational medicines is expensive, and we expect to continue to spend substantial amounts to (i) perform basic research, perform preclinical studies, and conduct clinical trials of our current and future programs, (ii) continue to develop and expand our platform and infrastructure and supply preclinical studies and clinical trials with appropriate grade materials (including cGMP materials), (iii) seek regulatory approvals for our investigational medicines, and (iv) launch and commercialize any

160

Table of Contents

products for which we receive regulatory approval, including building our own commercial sales, marketing, and distribution organization.

As of December 31, 2019, we had approximately $1.26 billion in cash, cash equivalents, and investments. We expect that our existing cash, cash equivalents, and investments will be sufficient to fund our current operations through at least the next twelve months. However, our operating plan may change as a result of many factors currently unknown to us, and we may need to seek additional funds sooner than planned, through public or private equity or debt financings, government or other third-party funding, sales of assets, marketing and distribution arrangements, other collaborations and licensing arrangements, or a combination of these approaches. In any event, we will require additional capital to obtain regulatory approval for, and to commercialize, our investigational medicines. Even if we believe we have sufficient funds for our current or future operating plans, we may seek additional capital if market conditions are favorable or if we have specific strategic considerations. Our spending will vary based on new and ongoing development and corporate activities. Because the length of time and activities associated with discovery of development candidates and development of our investigational medicines are highly uncertain, we are unable to estimate the actual funds we will require for development, marketing, and commercialization activities. Our future funding requirements, both near and long term, will depend on many factors, including, but not limited to:
the initiation, progress, timing, costs, and results of preclinical or nonclinical studies and clinical trials for our development candidates and investigational medicines;
the results of research and our other platform activities;
the clinical development plans we establish for our investigational medicines;
the terms of any agreements with our current or future strategic collaborators;
the number and characteristics of development candidates and investigational medicines that we develop or may in-license;
the outcome, timing, and cost of meeting regulatory requirements established by the U.S. Food and Drug Administration (the “FDA” the European Medicines Agency (the “EMA”) and other comparable foreign regulatory authorities;
the cost of filing, prosecuting, defending, and enforcing our patent claims and other intellectual property (“IP”) rights, including patent infringement actions brought by third parties against us regarding our investigational medicines or actions by us challenging the patent or IP rights of others;
the effect of competing technological and market developments, including other products that may compete with one or more of our development candidates or investigational medicines;
the cost and timing of completion and further expansion of clinical and commercial scale manufacturing activities sufficient to support all of our current and future programs, whether in-house or outsourced; and
the cost of establishing sales, marketing, and distribution capabilities for any investigational medicines for which we may receive marketing approval and reimbursement in regions where we choose to commercialize our medicines on our own.
To date, we have financed our operations primarily through the sale of equity securities and revenue from strategic alliances and we cannot be certain that additional funding will be available on favorable terms, or at all. Until we can generate sufficient product or royalty revenue to finance our operations, which we may never do, we expect to finance our future cash needs through a combination of public or private equity offerings, structured financings, debt financings, collaborations, strategic alliances, sales of assets, licensing arrangements, and other marketing or distribution arrangements. Any fundraising efforts may divert our management from their day-to-day activities, which may adversely affect our ability to develop and commercialize our investigational medicines. In addition, we cannot guarantee that future financing will be available in sufficient amounts, at the right time, on favorable terms, or at all. Negative clinical trial data or setbacks, or perceived setbacks, in our programs or with respect to our technology could impair our ability to raise additional financing on favorable terms, or at all. Moreover, the terms of any financing may adversely affect the holdings or the rights of our stockholders and the issuance of additional securities, whether equity or debt, by us, or the possibility of such issuance, may cause the market price of our shares to decline. If we raise additional funds through public or private equity offerings, the terms of these securities may include liquidation or other preferences that may adversely affect our stockholders’ rights.
Further, to the extent that we raise additional capital through the sale of common stock or securities convertible or exchangeable into common stock, your ownership interest will be diluted. If we raise additional capital through debt financing, we would be subject to fixed payment obligations and may be subject to covenants limiting or restricting our ability to take specific actions, such as incurring additional debt, making capital expenditures, or declaring dividends. If we raise additional capital through marketing and distribution arrangements, sales of assets or other collaborations, strategic alliances, or licensing arrangements with third parties, we may have to relinquish certain valuable rights to our development candidates and investigational medicines, technologies, future revenue streams, or research programs. We also could be required to seek strategic collaborators for one or more of our current or future investigational

161

Table of Contents

medicines at an earlier stage than otherwise would be desirable or relinquish our rights to development candidates, investigational medicines, or IP that we otherwise would seek to develop or commercialize ourselves. If we are unable to raise additional capital in sufficient amounts, at the right time, on favorable terms, or at all, we may have to significantly delay, scale back, or discontinue the development or commercialization of one or more of our products or investigational medicines, or one or more of our other research and development initiatives. Any of the above events could significantly harm our business, prospects, financial condition, and results of operations, cause the price of our common stock to decline, and negatively impact our ability to fund operations.
We attempt to distribute our technology, biology, execution, and financing risks across a wide variety of therapeutic areas, disease states, programs, and technologies. However, our assessment of, and approach to, risk may not be comprehensive or effectively avoid delays or failures in one or more of our programs or modalities. Failures in one or more of our programs or modalities could adversely impact other programs or modalities in our pipeline and have a material adverse impact on our business, results of operations, and ability to fund our business.
We are creating a new class of medicines based on mRNA, to improve the lives of patients. From the beginning, we designed our strategy and operations to realize the full potential value and impact of mRNA over a long time horizon across a broad array of human diseases. We have made investments in our platform, infrastructure, and clinical capabilities that have enabled us to establish a pipeline of 24 development candidates across our 23 programs, of which 12 development candidates are in clinical studies and another one has an open IND. As our development candidates and investigational medicines progress, we or others may determine: that certain of our risk allocation decisions were incorrect or insufficient; that we made platform level technology mistakes; that individual programs or our mRNA science in general has technology or biology risks that were unknown or underappreciated; that our choices on how to develop our infrastructure to support our scale will result in an inability to manufacture our investigational medicines for clinical trials or otherwise impair our manufacturing; or that we have allocated resources in such a way that large investments are not recovered and capital allocation is not subject to rapid re-direction. All of these risks may relate to our current and future programs sharing similar science (including mRNA science) and infrastructure, and in the event material decisions in any of these areas turn out to have been incorrect or under-optimized, we may experience a material adverse impact on our business and ability to fund our operations and we may never realize what we believe is the potential of mRNA.
No mRNA drug has been approved in this new potential class of medicines, and may never be approved as a result of efforts by others or us. mRNA drug development has substantial clinical development and regulatory risks due to the novel and unprecedented nature of this new class of medicines.
As a potential new class of medicines, no mRNA medicines have been approved to date by the FDA or other regulatory agency. Successful discovery and development of mRNA medicines by either us or our strategic collaborators is highly uncertain and depends on numerous factors, many of which are beyond our or their control. We have made and will continue to make a series of business decisions and take calculated risks to advance our development efforts and pipeline, including those related to mRNA technology, delivery technology, and manufacturing processes, which may be shown to be incorrect based on further work by us, our strategic collaborators, or others. To date, there has never been a Phase 3 trial or a commercialized product in which mRNA is the primary active ingredient. Our mRNA medicines that appear promising in the early phases of development may fail to advance, experience delays in the clinic, experience clinical holds, or fail to reach the market for many reasons, including:
discovery efforts at identifying potential mRNA medicines may not be successful;
nonclinical or preclinical study results may show potential mRNA medicines to be less effective than desired or to have harmful or problematic side effects;
clinical trial results may show potential mRNA medicines to be less effective than expected (e.g., a clinical trial could fail to meet one or more endpoint(s)) or to have unacceptable side effects or toxicities;
adverse effects in any one of our clinical programs or adverse effects relating to our mRNA, or LNPs, may lead to delays in or termination of one or more of our programs;
the insufficient ability of our translational models to reduce risk or predict outcomes in humans, particularly given that each component of our investigational medicines and development candidates may have a dependent or independent effect on safety, tolerability, and efficacy, which may, among other things, be species-dependent;
manufacturing failures or insufficient supply of cGMP materials for clinical trials, or higher than expected cost could delay or set back clinical trials, or make mRNA-based medicines commercially unattractive;
our improvements in the manufacturing processes for this new class of potential medicines may not be sufficient to satisfy the clinical or commercial demand of our investigational medicines or regulatory requirements for clinical trials;
changes that we make to optimize our manufacturing, testing or formulating of cGMP materials could impact the safety, tolerability, and efficacy of our investigational medicines and development candidates;

162

Table of Contents

pricing or reimbursement issues or other factors that delay clinical trials or make any mRNA medicine uneconomical or noncompetitive with other therapies;
failure to timely advance our programs or receive the necessary regulatory approvals or a delay in receiving such approvals, due to, among other reasons, slow or failure to complete enrollment in clinical trials, withdrawal by trial participants from trials, failure to achieve trial endpoints, additional time requirements for data analysis, data integrity issues, BLA or the equivalent application, discussions with the FDA or EMA, a regulatory request for additional nonclinical or clinical data, or safety formulation or manufacturing issues may lead to our inability to obtain sufficient funding; and
the proprietary rights of others and their competing products and technologies that may prevent our mRNA medicines from being commercialized.
Currently, mRNA is considered a gene therapy product by the FDA. Unlike certain gene therapies that irreversibly alter cell DNA and could act as a source of side effects, mRNA-based medicines are designed to not irreversibly change cell DNA; however, side effects observed in gene therapy could negatively impact the perception of mRNA medicines despite the differences in mechanism. In addition, because no product in which mRNA is the primary active ingredient has been approved, the regulatory pathway for approval is uncertain. The number and design of the clinical and preclinical studies required for the approval of these types of medicines have not been established, may be different from those required for gene therapy products, or may require safety testing like gene therapy products. Moreover, the length of time necessary to complete clinical trials and to submit an application for marketing approval for a final decision by a regulatory authority varies significantly from one pharmaceutical product to the next, and may be difficult to predict.
We have incurred significant losses since our inception and anticipate that we will continue to incur significant losses for the foreseeable future.
We have incurred net losses in each year since our inception in 2009, including net losses of $514.0 million, $384.7 million and $255.9 million for the years ended December 31, 2019, 2018 and 2017, respectively. As of December 31, 2019, we had an accumulated deficit of $1.50 billion.
We have devoted most of our financial resources to research and development, including our clinical and preclinical development activities and the development of our platform. To date, we have financed our operations primarily through the sale of equity securities and proceeds from strategic alliances and, to a lesser extent, through grants from governmental and private organizations. The amount of our future net losses will depend, in part, on the rate of our future expenditures and our ability to obtain funding through equity or debt financings, sales of assets, strategic alliances, or additional grants. We have not commenced or completed pivotal clinical studies for any of our programs in clinical trials, or investigational medicines, and it will be several years, if ever, before we or our strategic collaborators have an investigational medicine ready for commercialization. Even if we obtain regulatory approval to market an investigational medicine, our future revenues will depend upon the size of any markets in which our investigational medicines have received approval, and our ability to achieve sufficient market acceptance, reimbursement from third-party payors, and adequate market share in those markets. We may never achieve profitability.
We expect to continue to incur significant expenses and increasing operating losses for the foreseeable future. We anticipate that our expenses will increase substantially if and as we:
continue or expand our research or development of our programs in preclinical development;
continue or expand the scope of our mRNA clinical studies for our investigational medicines;
initiate additional preclinical, clinical, or other studies for our development candidates and investigational medicines, including under our strategic alliance agreements;
continue to invest in our platform to conduct research to identify novel mRNA technology improvements, including identifying novel methods of mRNA delivery, such as LNPs that improve distribution and uptake of mRNA to specific tissues;
change or add to internal manufacturing capacity or capability;
change or add additional manufacturers or suppliers;
add additional infrastructure to our quality control and quality assurance groups to support our operations as we progress our investigational medicines toward commercialization;
attract and retain skilled personnel, particularly in Cambridge and Norwood, Massachusetts;

163

Table of Contents

create additional infrastructure to support our operations as a public company and our product development and planned future commercialization efforts, including new sites in the United States and abroad;
seek marketing approvals and reimbursement for our investigational medicines;
establish a sales, marketing, and distribution infrastructure to commercialize any products for which we may obtain marketing approval;
seek to identify and validate additional development candidates and investigational medicines;
acquire or in-license other development candidates, investigational medicines, and technologies;
make milestone or other payments under any in-license agreements;
maintain, protect, and expand our IP portfolio; and
experience any delays or encounter issues with any of the above.
Our quarterly and annual operating results may fluctuate in the future. As a result, we may fail to meet or exceed the expectations of research analysts or investors, which could cause our stock price to decline and negatively impact our financing or funding ability as well as negatively impact our ability to exist as a standalone company.
Our financial condition and operating results have varied in the past and will continue to fluctuate from quarter-to-quarter and year-to-year in the future due to a variety of factors, many of which are beyond our control. Factors relating to our business that may contribute to these fluctuations include the following, as well as other factors described elsewhere in this Annual Report on Form 10-K:
delays or failures in advancement of existing or future development candidates into the clinic or investigational medicines in clinical trials;
the feasibility of developing, manufacturing, and commercializing our programs;
our ability to manage our growth;
the outcomes of research programs, clinical trials, or other product development or approval processes conducted by us and our strategic collaborators;
our ability to develop or successfully commercialize mRNA medicines;
the ability of our strategic collaborators to develop and successfully commercialize mRNA medicines or other products developed from our IP;
our relationships, and any associated exclusivity terms, with strategic collaborators;
our contractual or other obligations to provide resources to fund our development candidates and investigational medicines, and to provide resources to our strategic collaborators or to the strategic alliances themselves;
our operation in a net loss position for the foreseeable future;
risks associated with the international aspects of our business including the conduct of clinical trials in multiple locations and potential commercialization in such locations;
our ability to consistently manufacture our development candidates and investigational medicines;
our ability to accurately report our financial results in a timely manner;
our dependence on, and the need to attract and retain, key management and other personnel;
our ability to obtain, protect, and enforce our IP rights;
our ability to prevent the theft or misappropriation of our IP, know-how, or technologies;
advantages that our competitors and potential competitors may have in securing funding, obtaining the rights to critical IP or developing competing technologies or products;
our ability to obtain additional capital that may be necessary to expand our business;

164

Table of Contents

our strategic collaborators’ ability to obtain additional capital that may be necessary to develop and commercialize products under our strategic alliance agreements;
business interruptions such as power outages, strikes, acts of terrorism, or natural disasters; and
our ability to use our net operating loss carryforwards to offset future taxable income.
Due to the various factors mentioned herein, and others, the results of any of our prior quarterly or annual periods should not be relied upon as indications of our future operating performance.
The net losses we incur may fluctuate significantly from quarter-to-quarter and year-to-year, such that a period-to-period comparison of our results of operations may not be a good indication of our future performance. In any particular quarter or quarters, our operating results could be below the expectations of securities analysts or investors, which could cause our stock price to decline. We do not control the timing of disclosure of any such milestones related to any of our programs that are managed by our strategic collaborators. Any disclosure by our strategic collaborators or competitors of data or other events that are perceived as negative, whether or not such data are related to other data that we or others release, may have a material adverse impact on our stock price or overall valuation. Our stock price may decline as a result of unexpected clinical trial results in one or more of our programs, including adverse safety events reported for any of our programs.
Our business is highly dependent on the clinical advancement of our programs and modalities. Delay or failure to advance programs or modalities could adversely impact our business.
Using our platform, we are developing product features for medicines based on mRNA. Over time, our platform work led to commonalities, where a specific combination of mRNA technologies, delivery technologies, and manufacturing processes generated a set of product features shared by multiple programs. This is what we call a “modality.” We have historically utilized, and expect to continue to utilize, earlier programs in a modality to understand the technology risks within the modality, including manufacturing and pharmaceutical properties. Even if our earlier programs in a modality are successful in any phase of development any of such earlier programs may fail at a later phase of development, and other programs within the same modality may still fail at any phase of development including at phases where earlier programs in that modality were successful. This may be a result of technical challenges unique to that program or due to biology risk, which is unique to every program. As we progress our programs through clinical development, there may be new technical challenges that arise that cause an entire modality to fail.
While we aim to segregate risk using modalities, there may be foreseen and unforeseen risks across modalities in whole or in part. These include, but are not limited to, mRNA, chemical modifications, and LNPs and their components. In addition, if any one or more of our clinical programs encounter safety, tolerability, or efficacy problems, developmental delays, regulatory issues, or other problems, our platform approach and business could be significantly harmed. We may believe that a particular modality has been de-risked but later determine that new and different risks exist with respect to such modality.
In addition, the biology risk across the majority of our pipeline represents targets and pathways not clinically validated by one or more approved drugs. While we believe we have made progress in seeking to reduce biology risk in certain settings, such as for vaccine targets for which we and others have shown the utility of neutralizing antibodies, the risk that the targets or pathways that we have selected may not be effective will continue to apply across the majority of our current and future programs.
While we attempt to diversify our risks by developing one or more programs in each modality, there are risks that are unique to each modality and risks that are applicable across modalities. These risks may impair our ability to advance one or more of our programs in clinical development, obtain regulatory approval, or ultimately commercialize our programs, or cause us to experience significant delays in doing so, any of which may materially harm our business.
Certain features in our development candidates and investigational medicines, including those related to mRNA, chemical modifications, surface chemistries, LNPs, and their components, may result in foreseen and unforeseen risks that are active across some or all of our modalities. Any such portfolio spanning risks, whether known or unknown, if realized in any one of our programs would have a material and adverse effect on our other programs and on our business as a whole.
There are specific additional risks to certain of our modalities and our programs as a whole. For example, prophylactic vaccines typically require clinical testing in thousands to tens of thousands of healthy volunteers to define an approvable benefit-risk profile. The need to show a high degree of safety and tolerability when dosing healthy individuals could result in rare and even spurious safety findings, negatively impacting a program prior to or after commercial launch. While we believe that certain safety, tolerability, and levels of immunogenicity we have observed in the early-stage clinical trials in our prophylactic vaccine programs are sufficient to initiate additional trials, there can be no assurance that we will observe acceptable safety or efficacy profiles in later-stage trials required for approval of these programs. For neoantigen cancer vaccines, to date, no molecular (non-cell-based) therapeutic protein vaccine has been shown to be effective against cancer and there are many clinical and manufacturing challenges to personalized medicines, including cell-based therapies and vaccines. These risks include: a rapid production turn-around time that is measured in weeks in order to supply patients in our clinical trials before further progression and mutation of their tumors, the significant costs

165

Table of Contents

incurred in making individualized vaccines, and potential lack of immune responses potentially due to the biology of the tumor or immune status of the patient. These and other risks apply to our PCV and other neoepitope investigational medicine programs. Additionally, there may be challenges in delivering an adequate quantity of active pharmaceutical ingredient (“API”) required to drive efficacy due to the limitation in volume of API that can be delivered to a specific location, like a tumor or injured tissue. Our therapies for local injections often require specialized skills for conducting a clinical trial that could delay trials or slow or impair commercialization of an approved investigational medicine due to the poor adoption of injected local therapeutics or intratumoral therapies. In addition, the uncertain translatability of target selection from preclinical animal models, including mouse and non-human primate models, to successful clinical trial results may be impossible, particularly for immuno-oncology and systemic therapies, and cancer vaccines. In general, several biological steps are required for delivery of mRNA to translate into therapeutically active medicines. These processing steps may differ between individuals or tissues, and this could lead to variable levels of therapeutic protein, variable activity, immunogenicity, or variable distribution to tissues for a therapeutic effect. Gene therapies and mRNA-based medicines may activate one or more immune responses against any and all components of the drug product (e.g., the mRNA or the delivery vehicle, such as an LNP) as well as against the encoded protein, giving rise to potential immune reaction related adverse events. Eliciting an immune response against the encoded protein may impede our ability to achieve a pharmacologic effect upon repeat administration or a side effect. These risks apply to all of our programs, including our systemic secreted therapeutics and systemic intracellular therapeutics modalities.
Risks related to the research, development, regulatory review, and approval of our existing and future pipeline
Preclinical development is lengthy and uncertain, especially for a new class of medicines such as mRNA, and therefore our preclinical programs or development candidates may be delayed, terminated, or may never advance to the clinic, any of which may affect our ability to obtain funding and may have a material adverse impact on our platform or our business.
Much of our pipeline is in preclinical development, and these programs could be delayed or not advance into the clinic. Before we can initiate clinical trials for a development candidate, we must complete extensive preclinical studies, including IND-enabling GLP toxicology testing, that support our planned INDs in the United States, or similar applications in other jurisdictions. We must also complete extensive work on Chemistry, Manufacturing, and Controls (“CMC”), activities (including yield, purity and stability data) to be included in the IND filing. CMC activities for a new class of medicines such as mRNA require extensive manufacturing processes and analytical development, which is uncertain and lengthy. For instance, batch failures as we scale up our manufacturing have occurred and may continue to occur. In addition, we have in the past and may in the future have difficulty identifying appropriate buffers and storage conditions to enable sufficient shelf life of batches of our preclinical or clinical development candidates. If we are required to produce new batches of our development candidates due to insufficient shelf life, it may delay the commencement or completion of preclinical studies or clinical trials of such development candidates. For example, we cannot be certain of the timely completion or outcome of our preclinical testing and studies and cannot predict if the FDA or other regulatory authorities will accept the results of our preclinical testing or our proposed clinical programs or if the outcome of our preclinical testing, studies, and CMC activities will ultimately support the further development of our programs. As a result, we cannot be sure that we will be able to submit INDs or similar applications for our preclinical programs on the timelines we expect, if at all, and we cannot be sure that submission of INDs or similar applications will result in the FDA or other regulatory authorities allowing clinical trials to begin.
Clinical development is lengthy and uncertain, especially with a new class of medicines such as mRNA medicines. Clinical trials of our investigational medicines may be delayed, and certain programs may never advance in the clinic or may be more costly to conduct than we anticipate, any of which could affect our ability to fund the Company and would have a material adverse impact on our platform or our business.
Clinical testing is expensive and complex and can take many years to complete, and its outcome is inherently uncertain. We may not be able to initiate, may experience delays in, or may have to discontinue clinical trials for our investigational medicines. We and our strategic collaborators also may experience numerous unforeseen events during, or as a result of, any clinical trials that we or our strategic collaborators conduct that could delay or prevent us or our strategic collaborators from successfully developing our investigational medicines, including:
the FDA, other regulators, IRBs, or ethics committees may not authorize us or our investigators to commence a clinical trial or conduct a clinical trial at a prospective trial site for any number of reasons, including concerns regarding safety and aspects of the clinical trial design;
we may experience delays in reaching, or fail to reach, agreement on favorable terms with prospective trial sites and prospective CROs, the terms of which can be subject to extensive negotiation and may vary significantly among different CROs and trial sites;
we have in the past and intend to continue to optimize our manufacturing processes, including through changes to the scale and site of manufacturing, which may lead to potentially significant changes in our clinical trial designs, requiring additional cost and time, and, as a consequence, lead to a delay in plans for progressing one or more investigational medicines;

166

Table of Contents

the outcome of our preclinical studies and our early clinical trials may not be predictive of the success of later clinical trials, and interim results of a clinical trial do not necessarily predict final results;
we may be unable to establish clinical endpoints that applicable regulatory authorities would consider clinically meaningful;
in an effort to optimize product features, we have in the past and may continue to make changes to our investigational medicines after we commence clinical trials of an investigational medicine, which may require us to repeat earlier stages of clinical testing or delay later stage testing of the investigational medicine;
clinical trials of any investigational medicines may fail to show safety or efficacy, or produce negative or inconclusive results, and we may decide, or regulators may require us, to conduct additional nonclinical studies or clinical trials, or we may decide to abandon product development programs;
differences in trial design between early-stage clinical trials and later-stage clinical trials make it difficult to extrapolate the results of earlier clinical trials to later clinical trials;
preclinical and clinical data are often susceptible to varying interpretations and analyses, and many investigational medicines believed to have performed satisfactorily in preclinical studies and clinical trials have nonetheless failed to obtain marketing approval;
our investigational medicines may have undesirable side effects, such as the immunogenicity of the LNPs or their components, the immunogenicity of the protein made by the mRNA, or degradation products, any of which could lead to serious adverse events, or other effects. One or more of such effects or events could cause regulators to impose a clinical hold on the applicable trial, or cause us or our IRBs or ethics committees to suspend or terminate the trial of that investigational medicine or any other of our investigational medicines for which a clinical trial may be ongoing;
the number of trial participants required for clinical trials of any investigational medicines may be larger than we anticipate, identification of trial participants for such trials may be limited, enrollment in these clinical trials may be slower than we anticipate due to perceived adverse effects, competitive trials, size of the patient population, or other reasons, or participants may withdraw from clinical trials or fail to return for post-treatment follow-up at a higher rate than we anticipate;
our third-party contractors may fail to comply with regulatory requirements or meet their contractual obligations to us in a timely manner, or at all, or may deviate from the clinical trial protocol or withdraw from the trial, which may require that we add new clinical trial sites;
regulators may elect to impose a clinical hold, or we or our investigators, IRBs, or ethics committees may elect to suspend or terminate clinical research or trials for various reasons, including noncompliance with regulatory requirements or a finding that the participants are being exposed to unacceptable benefit risk ratio;
the cost of preclinical or nonclinical testing and studies and clinical trials of any investigational medicines may be greater than we anticipate;
the supply or quality of our investigational medicines or other materials necessary to conduct clinical trials may be insufficient or inadequate;
safety and efficacy concerns regarding one or more of our investigational medicines will be considered by us and by the FDA and other global regulations as we pursue clinical trials of new investigational medicines, develop effective informed consent documentation and work with IRBs and scientific review committees (“SRCs”);
safety or efficacy concerns regarding our investigational medicines may result from any safety or efficacy concerns arising from nonclinical or clinical testing of other therapies targeting a similar disease state or other therapies, such as gene therapy, that are perceived as similar to ours; and
the FDA or other regulatory authorities may require us to submit additional data such as long-term toxicology studies, or impose other requirements before permitting us to initiate a clinical trial.
We could also encounter delays if a clinical trial is suspended or terminated by us, the FDA or other regulatory authorities, ethics committees, or the IRBs of the institutions in which such trials are being conducted, or if such trial is recommended for suspension or termination by the data safety monitoring board for such trial. We have in the past, and may in the future, be delayed in gaining clearance from the FDA or other regulators to initiate clinical trials through the imposition of a clinical hold in order to address comments from such regulators on our clinical trial design or other elements of our clinical trials. The clinical trials of other companies working on mRNA medicines have been put on clinical hold by the FDA. A suspension or termination may be imposed due

167

Table of Contents

to a number of factors, including failure to conduct the clinical trial in accordance with regulatory requirements or our clinical protocols, inspection of the clinical trial operations or trial site by the FDA or other regulatory authorities resulting in the imposition of a clinical hold, unforeseen safety issues, or adverse side effects, including those experienced by other investigational medicines in the same class as our investigational medicines, failure to demonstrate a benefit, or adequate benefit risk ratio, from using an investigational medicine, failure to establish or achieve clinically meaningful trial endpoints, changes in governmental regulations or administrative actions, or lack of adequate funding to continue the clinical trial. Many of the factors that cause, or lead to, a delay in the commencement or completion of clinical trials may also ultimately lead to the denial of regulatory approval of our investigational medicines. We must also complete extensive CMC activities that require extensive manufacturing processes and analytical development, which is uncertain and lengthy. For instance, batch failures as we scale up our manufacturing have occurred and may continue to occur. In addition, we have in the past and may in the future have difficulty identifying appropriate buffers and storage conditions to enable sufficient shelf life of batches of our clinical development candidates or investigational medicines. If we are required to produce new batches of our development candidates or investigational medicines due to insufficient shelf life, it may delay the commencement or completion of clinical trials of such development candidates or investigational medicines.
Moreover, the FDA has indicated that prior to commencing later-stage clinical trials for our programs we will need to develop assays to measure and predict the potency of a given dose of our investigational medicines. Any delay in developing assays that are acceptable to the FDA or other regulators could delay the start of future clinical trials. Further, the FDA or other regulatory authorities may disagree with our clinical trial design and our interpretation of data for our clinical trials, or may change the requirements for approval even after they have reviewed and commented on the design for our clinical trials.
Significant preclinical or nonclinical testing and studies or clinical trial delays for our investigational medicines also could allow our competitors to bring products to market before we do, potentially impairing our ability to successfully commercialize our investigational medicines and harming our business and results of operations. Any delays in the development of our investigational medicines may harm our business, financial condition, and prospects significantly.
We may experience delays in identifying and enrolling participants in our clinical trials which would delay the progress of our investigational medicines and result in increased expenses.
We depend on enrollment of participants in our clinical trials for our investigational medicines. We may find it difficult to enroll trial participants in our clinical studies, which could delay or prevent clinical studies of our investigational medicines. Identifying and qualifying trial participants to participate in clinical studies of our investigational medicines is critical to our success. The timing of our clinical studies depends on the speed at which we can recruit trial participants to participate in testing our investigational medicines. Delays in enrollment may result in increased costs or may affect the timing or outcome of the planned clinical trials, which could prevent completion of these trials and adversely affect our ability to advance the development of our investigational medicines. If trial participants are unwilling to participate in our studies because of negative publicity from adverse events in our trials or other trials of similar products, or those related to specific therapeutic area, or for other reasons, including competitive clinical studies for similar patient populations, the timeline for recruiting trial participants, conducting studies, and obtaining regulatory approval of potential products may be delayed. These delays could result in increased costs, delays in advancing our product development, delays in testing the effectiveness of our product, or termination of the clinical studies altogether.
We may not be able to identify, recruit, and enroll a sufficient number of trial participants, or those with required or desired characteristics to achieve diversity in a study, to complete our clinical studies in a timely manner. Patient and subject enrollment is affected by factors including:
severity of the disease under investigation;
complexity and design of the study protocol;
size of the patient population;
eligibility criteria for the study in question, including age-based eligibility criteria limiting subject enrollment to adolescent or pediatric populations;
proximity and availability of clinical study sites for prospective trial participants;
availability of competing therapies and clinical studies, including between our own clinical trials;
efforts to facilitate timely enrollment in clinical studies;
patient referral practices of physicians;
ability to monitor trial participants adequately during and after treatment;
ability to recruit clinical trial investigators with the appropriate competencies and experience;

168

Table of Contents

clinicians’ and trial participants’ perceptions as to the potential advantages and side effects of the investigational medicine being studied in relation to other available therapies, including any new drugs or treatments that may be approved for the indications we are investigating;
the need, in the case of our personalized cancer vaccine, to wait for the manufacture of the personalized drug product; and
our ability to obtain and maintain participant informed consent.
 
In addition, our clinical trials will compete with other clinical trials for investigational medicines that are in the same therapeutic areas as our investigational medicines, and this competition will reduce the number and types of trial participants available to us, because some trial participants who might have opted to enroll in our trials may instead opt to enroll in a trial being conducted by a third party. Since the number of qualified clinical investigators is limited, we expect to conduct some of our clinical trials at the same clinical trial sites that some of our competitors use, which will reduce the number of trial participants who are available for our clinical trials at such clinical trial sites. Moreover, because in some cases our investigational medicines represent a departure from more traditional methods for disease treatment and prevention, potential trial participants and their doctors may be inclined to use conventional therapies or other new therapies rather than enroll trial participants in any future clinical trial involving mRNA investigational medicines. Additionally, if new investigational medicines, such as gene editing therapies, show encouraging results, potential trial participants and their doctors may be inclined to enroll trial participants in clinical trials using those investigational medicines. If such new investigational medicines show discouraging results or other adverse safety indications, potential trial participants and their doctors may be less inclined to enroll trial participants in our clinical trials. We also have entered into strategic alliances under which our strategic collaborators control the development of certain of our investigational medicines, which may provide us limited or no ability to influence the enrollment rate of our clinical trials.

Even if we are able to enroll trial participants, there is no guarantee that they will ultimately be dosed as part of, or complete, a clinical trial. For example, although we have announced that the first patient has been enrolled in the Phase 1/2 study of mRNA-3704 in patients with isolated methylmalonic acidemia (“MMA”) due to MUT deficiency, there is no guarantee that this patient will ultimately be dosed as part of, or complete, the Phase 1/2 study.
mRNA medicines are a novel approach, and negative perception of the efficacy, safety, or tolerability of any investigational medicines that we develop could adversely affect our ability to conduct our business, advance our investigational medicines, or obtain regulatory approvals.
As a potential new class of medicines, no mRNA medicines have been approved to date by the FDA or other regulators. Adverse events in clinical trials of our investigational medicines or in clinical trials of others developing similar products and the resulting publicity, as well as any other adverse events in the field of mRNA medicine, or other products that are perceived to be similar to mRNA medicines, such as those related to gene therapy or gene editing, could result in a decrease in the perceived benefit of one or more of our programs, increased regulatory scrutiny, decreased confidence by patients and clinical trial collaborators in our investigational medicines, and less demand for any product that we may develop. Our large pipeline of development candidates and investigational medicines could result in a greater quantity of reportable adverse events, including suspected unexpected serious adverse reactions (“SUSARs”), other reportable negative clinical outcomes, manufacturing reportable events or material clinical events that could lead to clinical delay or hold by the FDA or applicable regulatory authority or other clinical delays, any of which could negatively impact the perception of one or more of our programs, as well as our business as a whole. In addition, responses by U.S., state, or foreign governments to negative public perception may result in new legislation or regulations that could limit our ability to develop any investigational medicines or commercialize any approved products, obtain or maintain regulatory approval, or otherwise achieve profitability. More restrictive statutory regimes, government regulations, or negative public opinion would have an adverse effect on our business, financial condition, results of operations, and prospects and may delay or impair the development of our investigational medicines and commercialization of any approved products or demand for any products we may develop.
Because we are developing some of our development candidates or investigational medicines for the treatment of diseases in which there is little clinical experience and, in some cases, using new endpoints or methodologies, the FDA or other regulatory authorities may not consider the endpoints of our clinical trials to provide clinically meaningful results.
There are no pharmacologic therapies approved to treat the underlying causes of many diseases that we currently attempt to address or may address in the future. For instance, for MMA or PA few clinical trials have been attempted. In addition, there has been limited clinical trial experience for the development of pharmaceuticals to treat these rare diseases in general, and we are not aware of a registrational trial that led to approval of a drug to treat these diseases. There have been some historical trials with other agents to address organic acidemias which may have utilized clinical endpoints that are less applicable to our efforts with our MMA and PA programs that address the underlying defect. As a result, the design and conduct of clinical trials of investigational medicines for the treatment of these disorders and other disorders may take longer, be more costly, or be less effective as part of the novelty of development in these diseases.

169

Table of Contents

Even if the FDA does find our success criteria to be sufficiently validated and clinically meaningful, we may not achieve the pre-specified endpoint to a degree of statistical significance in any pivotal or other clinical trials we or our strategic collaborators may conduct for our programs. Further, even if we do achieve the pre-specified criteria, our trials may produce results that are unpredictable or inconsistent with the results of the more traditional efficacy endpoints in the trial. The FDA also could give overriding weight to other efficacy endpoints over a primary endpoint, even if we achieve statistically significant results on that endpoint, if we do not do so on our secondary efficacy endpoints. The FDA also weighs the benefits of a product against its risks and the FDA may view the efficacy results in the context of safety as not being supportive of licensure. Other regulatory authorities in Europe and other countries may make similar findings with respect to these endpoints.
Some of our investigational medicines are classified as gene therapies by the FDA and the EMA, and the FDA has indicated that our investigational medicines will be reviewed within its Center for Biologics Evaluation and Research (“CBER”). Even though our mRNA investigational medicines are designed to have a different mechanism of action from gene therapies, the association of our investigational medicines with gene therapies could result in increased regulatory burdens, impair the reputation of our investigational medicines, or negatively impact our platform or our business.
There have been few approvals of gene therapy products in the United States or foreign jurisdictions, and there have been well-reported significant adverse events associated with their testing and use. Gene therapy products have the effect of introducing new DNA and potentially irreversibly changing the DNA in a cell. In contrast, mRNA is highly unlikely to localize to the nucleus, integrate into the DNA, or otherwise make any permanent changes to cell DNA. Consequently, we expect that our investigational medicines will have a different potential side effect profile from gene therapies.
Regulatory requirements governing gene and cell therapy products have evolved and may continue to change in the future, and the implications for mRNA-based therapies is unknown. For example, the FDA has established the Office of Tissues and Advanced Therapies within CBER to consolidate the review of gene therapy and related products, and convenes the Cellular, Tissue and Gene Therapies Advisory Committee to advise CBER on its review. In the EU, mRNA has been characterized as a Gene Therapy Medicinal Product. In certain countries, mRNA therapies have not yet been classified or any such classification is not known to us, specifically, in Japan, the Pharmaceuticals and Medical Devices Agency has not taken a position on the regulatory classification. Notwithstanding the differences between our mRNA investigational medicines and gene therapies, the classification of some of our mRNA investigational medicines as gene therapies in the United States, the EU, and potentially other countries could adversely impact our ability to develop our investigational medicines, and could negatively impact our platform and our business. For instance, a clinical hold on gene therapy products across the field due to risks associated with altering cell DNA irreversibly may apply to our mRNA investigational medicines irrespective of the mechanistic differences between gene therapies and mRNA.
Adverse events reported with respect to gene therapies or genome editing therapies could adversely impact one or more of our programs. Although our mRNA development candidates and investigational medicines are designed not to make any permanent changes to cell DNA, regulatory agencies or others could believe that adverse effects of gene therapies products caused by introducing new DNA and irreversibly changing the DNA in a cell could also be a risk for our mRNA investigational therapies, and as a result may delay one or more of our trials or impose additional testing for long-term side effects. Any new requirements and guidelines promulgated by regulatory review agencies may have a negative effect on our business by lengthening the regulatory review process, requiring us to perform additional or larger studies, or increasing our development costs, any of which could lead to changes in regulatory positions and interpretations, delay or prevent advancement or approval and commercialization of our investigational medicines, or lead to significant post-approval studies, limitations, or restrictions. As we advance our investigational medicines, we will be required to consult with these regulatory agencies and advisory committees and comply with applicable requirements and guidelines. If we fail to do so, we may be required to delay or discontinue development of some or all of our investigational medicines.
A breakthrough therapy designation or fast track designation by the FDA for a drug may not lead to a faster development or regulatory review or approval process, and it would not increase the likelihood that the drug will receive marketing approval.
We may seek a breakthrough therapy designation for one or more of our investigational medicines. A breakthrough therapy is defined as a drug that is intended, alone or in combination with one or more other drugs, to treat a serious or life-threatening disease or condition, and preliminary clinical evidence indicates that the drug may demonstrate substantial improvement over existing therapies on one or more clinically significant endpoints, such as substantial treatment effects observed early in clinical development. For drugs that have been designated as breakthrough therapies, interaction and communication between the FDA and the sponsor of the trial can help to identify the most efficient path for clinical development while minimizing the number of patients placed in ineffective control regimens. Drugs designated as breakthrough therapies by the FDA are also eligible for priority review if supported by clinical data at the time of the submission of the BLA.
Designation as a breakthrough therapy is at the discretion of the FDA. Accordingly, even if we believe that one of our investigational medicines meets the criteria for designation as a breakthrough therapy, the FDA may disagree and instead determine not to make such

170

Table of Contents

designation. In any event, the receipt of a breakthrough therapy designation for a drug may not result in a faster development process, review, or approval compared to drugs considered for approval under conventional FDA procedures and it would not assure ultimate approval by the FDA. Even if we are successful in obtaining accelerated approval in the U.S. or under comparable pathways in other jurisdictions, we may face requirements and limitations that will adversely affect our prospects. For example, we may be approved only for a very limited indication, we may not successfully complete required post-approval trials, such trials may not confirm the clinical benefit of our drug, or approval of the drug may be withdrawn. In addition, even if one or more of our investigational medicines qualify as breakthrough therapies, the FDA may later decide that the investigational medicine no longer meets the conditions for qualification or it may decide that the time period for FDA review or approval will not be shortened.
We have received Fast Track Designation for some of our investigational medicines and may see Fast Track Designation for others. If a therapy is intended for the treatment of a serious or life-threatening condition and the therapy demonstrates the potential to address significant unmet medical needs for this condition, the drug sponsor may apply for Fast Track Designation. The FDA has broad discretion whether or not to grant this designation, and even if we believe a particular investigational medicine is eligible for this designation, we cannot assure you that the FDA would decide to grant it. Even if we do receive Fast Track Designation, we may not experience a faster development process, review, or approval compared to conventional FDA procedures. The FDA may withdraw Fast Track Designation if it believes that the designation is no longer supported by data from our clinical development program. Fast Track Designation alone does not guarantee qualification for the FDA’s priority review procedures.
We may fail to obtain and maintain orphan drug designations from the FDA for our future investigational medicines, as applicable.
Our strategy includes filing for orphan drug designation where available for our investigational medicines, and we have received orphan drug designation from both the FDA and the European Commission for MMA (mRNA-3704) and PA (mRNA-3927). Under the Orphan Drug Act, the FDA may grant orphan drug designation to a drug or biologic intended to treat a rare disease or condition, which is defined as one occurring in a patient population of fewer than 200,000 in the United States, or a patient population greater than 200,000 in the United States where there is no reasonable expectation that the cost of developing the drug or biologic will be recovered from sales in the United States. In the United States, orphan drug designation entitles a party to financial incentives, such as opportunities for grant funding toward clinical trial costs, tax advantages, and user-fee waivers. However, orphan drug designation neither shortens the development time or regulatory review time of a drug, nor gives the drug any advantage in the regulatory review or approval process. If a product that has orphan drug designation subsequently receives the first FDA approval for the disease for which it has such designation, the product is entitled to orphan drug exclusivity, which means that the FDA may not approve any other applications, including a full NDA, or BLA, to market the same drug or biologic for the same indication for seven years, except in limited circumstances, such as a showing of clinical superiority to the product with orphan drug exclusivity or where the original manufacturer is unable to assure sufficient product quantity.
In addition, exclusive marketing rights in the United States may be limited if we seek approval for an indication broader than the orphan-designated indication or may be lost if the FDA later determines that the request for designation was materially defective. Further, even if we obtain orphan drug exclusivity for a product, that exclusivity may not effectively protect the product from competition because different drugs with different active moieties may receive and be approved for the same condition, and only the first applicant to receive approval will receive the benefits of marketing exclusivity. Even after an orphan-designated product is approved, the FDA can subsequently approve a later drug with the same active moiety for the same condition if the FDA concludes that the later drug is clinically superior if it is shown to be safer, more effective, or makes a major contribution to patient care. In addition, while we may seek additional orphan drug designation for our investigational medicines, we may never receive such further designations.
Our investigational medicines may face competition from biosimilars approved through an abbreviated regulatory pathway.
The Patient Protection and Affordable Care Act, as amended by the Health Care and Education Reconciliation Act of 2010 (collectively, the “ACA”), includes a subtitle called the Biologics Price Competition and Innovation Act of 2009 (“BPCIA”), which created an abbreviated approval pathway for biological products that are biosimilar to or interchangeable with an FDA-approved reference biological product. Under the BPCIA, an application for a biosimilar product may not be submitted to the FDA until four years following the date that the reference product was first approved by the FDA. In addition, the approval of a biosimilar product may not be made effective by the FDA until 12 years from the date on which the reference product was first approved. During this 12-year period of exclusivity, another company may still market a competing version of the reference product if the FDA approves a BLA for the competing product containing the sponsor’s own preclinical data and data from adequate and well-controlled clinical trials to demonstrate the safety, purity, and potency of the other company’s product. The law is complex and is still being interpreted and implemented by the FDA. As a result, its ultimate impact, implementation, and meaning are subject to uncertainty.
We believe that any of our investigational medicines approved as a biological product under a BLA should qualify for the 12-year period of exclusivity. However, there is a risk that this exclusivity could be shortened due to Congressional action or otherwise, or that

171

Table of Contents

the FDA will not consider our investigational medicines to be reference products for competing products, potentially creating the opportunity for generic competition sooner than anticipated. Other aspects of the BPCIA, some of which may impact the BPCIA exclusivity provisions, have also been the subject of recent litigation. Moreover, the extent to which a biosimilar, once approved, will be substituted for any one of our reference products in a way that is similar to traditional generic substitution for non-biological products is not yet clear, and will depend on a number of marketplace and regulatory factors that are still developing.
Any clinical trials of our oncology-related products that we conduct with a seamless trial design may not be acceptable to regulatory authorities in the form submitted, or at all, which may delay our clinical development and limit or change the type of information we may gather from our clinical trials.
We may pursue a development program for our oncology-related products that relies upon a seamless trial design, which presents additional risks compared to traditional three-phase development programs. A seamless trial design can be achieved through a first-in-human (“FIH”) multiple expansion cohort trial, which has a single protocol with an initial dose-escalation phase and also contains three or more additional patient cohorts with cohort-specific objectives. FIH multiple expansion cohort trials are intended to expedite development by seamlessly proceeding from initial determination of a potential effective dose to individual cohorts that have trial objectives typical of Phase 2 trials. Challenges and risks associated with such seamless trial designs include challenges in the timely dissemination of new safety information to investigators, IRBs, and regulators, exposing a large number of patients across cohorts to potentially suboptimal or toxic doses of an investigational drug, exposing more patients than is needed to achieve the cohort’s objectives, and missed interpretations of preliminary trial results and unplanned analyses which can lead to delays in clinical development. Regulatory authorities may find our seamless trial designs unacceptable based on these and other risks of utilizing such designs.
If we are not able to obtain, or if there are delays in obtaining, required regulatory approvals, we will not be able to commercialize, or will be delayed in commercializing, investigational medicines we may develop, and our ability to generate revenue will be materially impaired.
Even if we complete the necessary preclinical studies and clinical trials, the marketing approval process is expensive, time-consuming, and uncertain, and may prevent us from obtaining approvals for the commercialization of any development candidates and investigational medicines we may develop. Any mRNA medicine we may develop and the activities associated with its development and commercialization, including design, testing, manufacture, recordkeeping, labeling, storage, approval, advertising, promotion, sale, and distribution, are subject to comprehensive regulation by the FDA and by comparable global health authorities. To obtain the requisite regulatory approvals to commercialize any of our investigational medicines, we and our strategic collaborators must demonstrate through extensive preclinical studies and clinical trials that our products are safe, pure, and potent or effective in humans, including the target population. Successful completion of clinical trials is a prerequisite to submitting a BLA to the FDA, a Marketing Authorization Application (“MAA”) to the EMA, and similar marketing applications to comparable global regulatory authorities, for each investigational medicine and, consequently, the ultimate approval and commercial marketing of any investigational medicines.
Failure to obtain marketing approval for an investigational medicine will prevent us from commercializing the investigational medicine in a given jurisdiction. We have not received approval to market any investigational medicines from regulatory authorities in any jurisdiction, and it is possible that none of our investigational medicines or any investigational medicines we may seek to develop in the future will ever obtain regulatory approval. We have limited experience in filing and supporting the applications necessary to gain marketing approvals and may need to rely on third-party CROs or regulatory consultants to assist us in this process. To our knowledge, there is no current precedent for an mRNA-based medicine such as the types we are developing being approved for sale by the FDA or any other global regulatory agency. Although we expect to submit BLAs for our mRNA-based investigational medicines in the United States, other jurisdictions may consider our mRNA-based investigational medicines to be new drugs, not biologics, and require different marketing applications. Securing regulatory approval requires the submission of extensive preclinical and clinical data and supporting information to the various regulatory authorities for each therapeutic indication to establish the investigational medicine’s safety and efficacy. Securing regulatory approval also requires the submission of information about the product manufacturing process to, and inspection of manufacturing facilities by, the relevant regulatory authority. Any investigational medicines we develop may not be effective, may be only moderately effective, or may prove to have undesirable or unintended side effects, toxicities, or other characteristics that may preclude our obtaining marketing approval or prevent or limit commercial use.
The process of obtaining marketing approvals, both in the United States and abroad, is expensive, may take many years if additional clinical trials are required, if approval is obtained at all, and can vary substantially based upon a variety of factors, including the type, complexity, and novelty of the investigational medicines involved. Changes in marketing approval policies during the development period, changes in or the enactment of additional statutes or regulations, or changes in regulatory review for each submitted product application, may cause delays in the approval or rejection of an application. The FDA and comparable authorities in other countries have substantial discretion in the approval process and may refuse to accept any application or may decide that our data are insufficient for approval and require additional preclinical, clinical, or other studies. In addition, varying interpretations of the data obtained from preclinical and clinical testing could delay, limit, or prevent marketing approval of an investigational medicine. Any

172

Table of Contents

marketing approval we ultimately obtain may be limited or subject to restrictions or post-approval commitments that render the approved product not commercially viable. Additional delays or non-approval may result if an FDA Advisory Committee or other regulatory authority recommends non-approval or restrictions on approval. In addition, we may experience delays or rejections based upon additional government regulation from future legislation or administrative action, or changes in regulatory agency policy during the period of product development, clinical studies, and the review process.
Regulatory agencies also may approve an mRNA medicine for fewer or more limited indications than requested or may grant approval subject to the performance of post-marketing studies. In addition, regulatory agencies may not approve the labeling claims that are necessary or desirable for the successful commercialization of our investigational medicines.
The FDA and other regulatory agencies review the CMC section of regulatory filings. Any aspects found unsatisfactory by regulatory agencies may result in delays in clinical trials and commercialization. In addition, the regulatory agencies conduct pre-approval inspections at the time of a BLA. Any findings by regulatory agencies and failure to comply with requirements may lead to delay in approval and failure to commercialize the potential mRNA investigational medicine.
If we experience delays in obtaining approval or if we fail to obtain approval of any investigational medicines we may develop, the commercial prospects for those investigational medicines will be harmed, and our ability to generate revenues will be materially impaired.
We may never obtain EMA or other foreign regulatory body approval for any of our investigational medicines, and even if we do, we may never be able to commercialize any of our investigational medicines in any other jurisdiction, which would limit our ability to realize their full market potential.
Approval by the FDA in the United States, if obtained, does not ensure approval by regulatory authorities in other countries or jurisdictions. In order to eventually market any of our investigational medicines in any particular foreign jurisdiction, we must establish and comply with numerous and varying regulatory requirements on a jurisdiction-by-jurisdiction basis regarding safety and efficacy. In addition, clinical trials conducted in one country may not be accepted by regulatory authorities in other countries, and regulatory approval in one country does not guarantee regulatory approval in any other country. Approval processes vary among countries and can involve additional product testing and validation and additional administrative review periods.
Seeking foreign regulatory approval could result in difficulties and costs for us and require additional preclinical studies or clinical trials which could be costly and time consuming. Regulatory requirements can vary widely from country-to-country and could delay or prevent the introduction of our products in those countries. The foreign regulatory approval process involves all of the risks associated with FDA approval. We do not have any investigational medicines approved for sale in any jurisdiction, including international markets, and we do not have experience in obtaining regulatory approval in international markets. If we fail to comply with regulatory requirements in international markets or to obtain and maintain required approvals, or if regulatory approvals in international markets are delayed, our target market will be reduced and our ability to realize the full market potential of our products will be unrealized.
Our planned clinical trials or those of our strategic collaborators may reveal significant adverse events not seen in our preclinical or nonclinical studies and may result in a safety profile that could delay or terminate clinical trials, or delay or prevent regulatory approval or market acceptance of any of our investigational medicines.
There is typically an extremely high rate of attrition for product candidates across categories of medicines proceeding through clinical trials. These product candidates may fail to show the desired safety and efficacy profile in later stages of clinical trials despite having progressed through nonclinical studies and initial clinical trials. A number of companies in the biopharmaceutical industry have suffered significant setbacks in later-stage clinical trials due to lack of efficacy or unacceptable safety profiles, notwithstanding promising results in earlier trials. Most investigational medicines that commence clinical trials are never approved as products and there can be no assurance that any of our current or future clinical trials will ultimately be successful or support further clinical development of any of our investigational medicines.
Some of our investigational medicines are developed or intended to be co-administered with other developmental therapies or approved medicines. For example, our PCV investigational medicine (mRNA-4157) and our KRAS investigational medicine (mRNA-5671) in collaboration with Merck may be co-administered with Merck’s anti-PD-1 therapy, pembrolizumab. Our IL-12 investigational medicine (MEDI1191) in collaboration with AstraZeneca is being developed to be co-administered with checkpoint inhibitors (e.g., anti-PD-L1, anti-CTLA4). These combinations may have additional side effects. The uncertainty resulting from the use of our investigational medicines in combination with other therapies may make it difficult to accurately predict side effects in future clinical trials.

173

Table of Contents

Some of our development candidates and investigational medicines are developed or intended for adolescent and/or pediatric patients under the age of eighteen. For example, we have clinical trial sites open for and have enrolled a patient in our MMA development candidate (mRNA-3704) for a first-in-human Phase 1/2 trial in patients between one and eighteen years of age. If successfully dosed, these will be the first of our investigational medicines given to subjects eighteen years of age or younger and mRNA-3704 will be the first of our investigational medicines from our systemic intracellular therapeutics modality dosed in humans. The uncertainty resulting from the first dosing of young, human subjects with an investigational medicine from our systemic intracellular therapeutics modality makes it difficult to accurately predict if significant adverse events or other side effects will be observed.
Most of our investigational medicines are formulated and administered in an LNP which, when administered, may lead to systemic side effects related to the components of the LNP, some of which may not have been previously tested in humans. While we have continued to optimize our LNPs, there can be no assurance that our LNPs will not have undesired effects. Our LNPs could contribute, in whole or in part, to one or more of the following: immune reactions, infusion reactions, complement reactions, opsonization reactions, antibody reactions, or reactions to PEG. Certain aspects of our investigational medicines may induce immune reactions from either the mRNA or the lipid as well as adverse reactions within liver pathways or degradation of the mRNA or the LNP, any of which could lead to significant adverse events in one or more of our clinical trials. Many of these types of side effects have been seen for previously developed LNPs. There may be resulting uncertainty as to the underlying cause of any such adverse event, which would make it difficult to accurately predict side effects in future clinical trials and would result in significant delays in our programs.
If significant adverse events or other side effects are observed in any of our current or future clinical trials, we may have difficulty recruiting trial participants to any of our clinical trials, trial participants may withdraw from trials, or we may be required to abandon the trials or our development efforts of one or more development candidates or investigational medicines altogether. We, the FDA or other applicable regulatory authorities, or an IRB, may impose a clinical hold or suspend or terminate clinical trials of an investigational medicine at any time for various reasons, including a belief that participants in such trials are being exposed to unacceptable health risks or adverse side effects. Some potential therapeutics developed in the biotechnology industry that initially showed therapeutic promise in early-stage trials have later been found to cause side effects that prevented their further development. Even if the side effects do not preclude the drug from obtaining or maintaining marketing approval, unfavorable benefit risk ratio may inhibit market acceptance of the approved product due to its tolerability versus other therapies. Any of these developments could materially harm our business, financial condition, and prospects.
 
Even if we obtain regulatory approval for an investigational medicine, our products will remain subject to regulatory scrutiny.
Even if we obtain regulatory approval in a jurisdiction, the applicable regulatory authority may still impose significant restrictions on the indicated uses or marketing of our product, or impose ongoing requirements for potentially costly post-approval studies or post-market surveillance. For example, the holder of an approved BLA is obligated to monitor and report adverse events and any failure of a product to meet the specifications in the BLA. The holder of an approved BLA must also submit new or supplemental applications and obtain FDA approval for certain changes to the approved product, product labeling, or manufacturing process. Advertising and promotional materials must comply with FDA rules and are subject to FDA review, in addition to other potentially applicable federal and state laws.
If we fail to comply with applicable regulatory requirements following approval of any of our investigational medicines, a regulatory agency may:
issue a warning letter asserting that we are in violation of the law;
seek an injunction or impose civil or criminal penalties or monetary fines;
suspend or withdraw regulatory approval or revoke a license;
suspend any ongoing clinical studies;
refuse to approve a pending BLA or supplements to a BLA submitted by us;
seize product; or
refuse to allow us to enter into supply contracts, including government contracts.
Any government investigation of alleged violations of law could require us to expend significant time and resources in response and could generate negative publicity. The occurrence of any event or penalty described above may inhibit our ability to commercialize any approved products and generate revenues.
If any of our investigational medicines cause undesirable side effects, it could delay or prevent their regulatory approval, limit the commercial potential, or result in significant negative consequences following any potential marketing approval. Investigational medicines we may develop may be associated with an adverse immune response or other serious adverse events, undesirable side effects, or unexpected characteristics. In addition to serious adverse events or side effects caused by any of our investigational

174

Table of Contents

medicines, the administration process or related procedures also can cause undesirable side effects. If any such events occur, the clinical trials of any of our investigational medicines could be suspended or terminated.
If in the future we are unable to demonstrate that such adverse events were caused by factors other than our investigational medicine, the FDA, the EMA, or other regulatory authorities could order us to cease further development of, or deny approval of, any of our investigational medicines for any or all targeted indications. Even if we are able to demonstrate that all future serious adverse events are not product-related, such occurrences could affect patient recruitment or the ability of enrolled trial participants to complete the trial. Moreover, if we elect, or are required, to delay, suspend, or terminate any clinical trial of any of our investigational medicines, the commercial prospects of such investigational medicines may be harmed and our ability to generate product revenues from any of these investigational medicines may be delayed or eliminated. Any of these occurrences may harm our ability to identify and develop investigational medicines, and may harm our business, financial condition, result of operations, and prospects significantly.
Additionally, if we successfully obtain regulatory approval for an investigational medicine, the FDA or other regulatory authority could require us to adopt a REMS to ensure that the benefits of treatment with such investigational medicine outweigh the risks for each potential patient, which may include, among other things, a medication guide outlining the risks of the product for distribution to patients, a communication plan to health care practitioners, extensive patient monitoring, or distribution systems and processes that are highly controlled, restrictive, and more costly than what is typical for the industry. Furthermore, if we or others later identify undesirable side effects caused by any product that we develop, several potentially significant negative consequences could result, including:
regulatory authorities may suspend or withdraw approvals or revoke licenses of such product;
regulatory authorities may require additional warnings on the label;
we may be required to change the way a product is administered or conduct additional clinical trials;
we could be sued and held liable for harm caused to patients and their children; and
our reputation may suffer.
Any of these events could prevent us from achieving or maintaining market acceptance of any products we may identify and develop and could have a material adverse impact on our business, financial condition, results of operations, and prospects.
If we are successful in gaining approval for any of our investigational medicines we will continue to face significant regulatory oversight of the manufacturing and distribution of our products. Product manufacturers and their facilities are subject to payment of user fees and continual review and periodic inspections by the FDA and other regulatory authorities for compliance with cGMP and adherence to commitments made in the BLA. If we or a regulatory agency discovers previously unknown problems with a product such as adverse events of unanticipated severity or frequency, or problems with the facility where the product is manufactured, a regulatory agency may impose restrictions relative to that product or the manufacturing facility, including requiring recall or withdrawal of the product from the market or suspension of manufacturing.
Our ability to generate product revenue is dependent on the success of one or more of our development candidates or investigational medicines, each of which is at an early-stage of development and will require significant additional development and clinical testing before we can seek marketing approval and begin commercial sales.
Our ability to generate product revenue is highly dependent on our or our strategic collaborators’ ability to develop, obtain regulatory approval of, and successfully commercialize one or more of our development candidates or investigational medicines. Our development candidates and investigational medicines are in the early stages of development and will require additional clinical and nonclinical development, regulatory review, and approval in each jurisdiction in which we intend to market the products. In addition, substantial investment, access to sufficient commercial manufacturing capacity, and significant marketing efforts will be required before we can generate any revenue from product sales. Before obtaining marketing approval from regulatory authorities for the sale of our investigational medicines, we must conduct extensive clinical studies to demonstrate the safety and efficacy of the investigational medicines in humans. We cannot be certain that any of our investigational medicines will be successful in clinical studies and they may not receive regulatory approval even if they are successful in clinical studies. Even if approved, our investigational medicines also need to demonstrate health economic benefit in order to establish pricing and reimbursement. We may also need to conduct additional evaluation of safety and health outcomes in a post-approval setting.

Risks related to the manufacturing of our development candidates, investigational medicines and our future pipeline
Our mRNA development candidates and investigational medicines are based on novel technologies and any development candidates and investigational medicines we develop may be complex and difficult to manufacture. We may encounter difficulties in manufacturing, product release, shelf life, testing, storage, supply chain management, or shipping. If we or any of our third-

175

Table of Contents

party manufacturers encounter such difficulties, our ability to supply material for clinical trials or any approved product could be delayed or stopped.
The manufacturing processes for our development candidates and investigational medicines are novel and complex. There are no mRNA medicines commercialized to date or manufactured at such scale. Due to the novel nature of this technology and limited experience at larger scale production, we may encounter difficulties in manufacturing, product release, shelf life, testing, storage, supply chain management, or shipping. These difficulties could be due to any number of reasons including, but not limited to, complexities of producing batches at larger scale, equipment failure, choice and quality of raw materials and excipients, analytical testing technology, and product instability. In an effort to optimize product features, we have in the past and may in the future make changes to our development candidates or investigational medicines in their manufacturing and stability formulation and conditions. This has in the past resulted in and may in the future result in our having to resupply batches for preclinical or clinical activities when there is insufficient product stability during storage and insufficient supply. Insufficient stability or shelf life of our development candidates and investigational medicines could materially delay our or our strategic collaborators’ ability to continue the clinical trial for that development candidate or investigational medicine or require us to begin a new clinical trial with a newly formulated drug product, due to the need to manufacture additional preclinical or clinical supply.
Our rate of innovation is high, which has resulted in and will continue to cause a high degree of technology change that can negatively impact product comparability during and after clinical development. Furthermore, technology changes may drive the need for changes in, modification to, or the sourcing of new manufacturing infrastructure or may adversely affect third-party relationships.
The process to generate mRNA investigational medicines encapsulated in LNPs is complex and, if not developed and manufactured under well-controlled conditions, can adversely impact pharmacological activity. Furthermore, we have not manufactured mRNA medicines at commercial scale. We may encounter difficulties in scaling up our manufacturing process, thereby potentially impacting clinical and commercial supply.
We are scaling up our batch size to accommodate the clinical supply requirements of some of our programs. However, in many cases, we may have to utilize multiple batches of drug substance and drug product to meet the clinical supply requirement of a single clinical trial. Failure in our ability to scale up batch size or failure in any batch may lead to a substantial delay in our clinical trials.
As we continue developing new manufacturing processes for our drug substance and drug product, the changes we implement to manufacturing process may in turn impact specification and stability of the drug product. Changes in our manufacturing processes may lead to failure of batches and this could lead to a substantial delay in our clinical trials. Our mRNA investigational medicines may prove to have a stability profile that leads to a lower than desired shelf life of the final approved mRNA medicine. This poses risk in supply requirements, wasted stock, and higher cost of goods.
We are dependent on a number of equipment providers who are also implementing novel technology. Further, we have developed our own custom manufacturing equipment for certain of our investigational medicines. If such equipment malfunctions or we encounter unexpected performance issues, we could encounter delays or interruptions to clinical and commercial supply. Due to the number of different programs, we may have cross contamination of products inside of our factories, CROs, suppliers, or in the clinic that affect the integrity of our products.
As we scale the manufacturing output for particular programs, we plan to continuously improve yield, purity, and the pharmaceutical properties of our development candidates from IND-enabling studies through commercial launch, including shelf life stability, and solubility properties of drug product and drug substance. Because of continuous improvement in manufacturing processes, we may switch processes for a particular program during development. However, after the change in process, more time is required for pharmaceutical property testing, such as 6 or 12 month stability testing. That may require resupplying clinical material or making additional cGMP batches to keep up with clinical trial demand before such pharmaceutical property testing is completed.
We are utilizing a number of raw materials and excipients that have a single source of supply, are new to the pharmaceutical industry, and are being employed in a novel manner. Some of these raw materials and excipients have not been scaled to a level to support commercial supply and could experience unexpected manufacturing or testing failures, or supply shortages. Such issues with raw materials and excipients could cause delays or interruptions to clinical and commercial supply of our investigational medicines.
We have established a number of analytical assays, and may have to establish several more, to assess the quality of our mRNA investigational medicines. We may identify gaps in our analytical testing strategy that might prevent release of product or could require product withdrawal or recall. For example, we may discover new impurities that have an impact on product safety, efficacy, or stability. This may lead to an inability to release mRNA investigational medicines until the manufacturing or testing process is rectified.
Our product and product intermediates are extremely temperature sensitive, and we may learn that any or all of our products are less stable than desired. We may also find that transportation conditions negatively impact product quality. This may require changes to the formulation or manufacturing process for one or more of our investigational medicines and result in delays or interruptions to clinical

176

Table of Contents

or commercial supply. In addition, the cost associated with such transportation services and the limited pool of vendors may also add additional risks of supply disruptions.
As our drug development pipeline increases and matures, the increased demand for clinical and commercial supplies from our facilities and third parties may impact our ability to operate. We will require increased capacity across our entire supply chain. Furthermore, we rely on many service providers, including those that provide manufacturing or testing services, all of whom have inherent risks in their operations that may adversely impact our operations.
We currently utilize, and expect to continue to utilize, third parties to, among other things, manufacture raw materials, components, parts, and consumables, and to perform quality testing. If the field of mRNA and other nucleic acid medicines continues to expand, we may encounter increasing competition for these materials and services. Demand for third-party manufacturing or testing facilities may grow at a faster rate than their existing capacity, which could disrupt our ability to find and retain third-party manufacturers capable of producing sufficient quantities of such raw materials, components, parts, and consumables required to manufacture our mRNA investigational medicines. The use of service providers and suppliers could expose us to risks, including, but not limited to:
termination or non-renewal of supply and service agreements with third parties in a manner or at a time that is costly or damaging to us;
disruptions to the operations of these suppliers and service providers caused by conditions unrelated to our business or operations, including the bankruptcy of the supplier or service provider; and
inspections of third-party facilities by regulatory authorities that could have a negative outcome and result in delays to or termination of their ability to supply our requirements.
We are subject to regulatory and operational risks associated with the physical and digital infrastructure at both our internal manufacturing facilities and at those of our external service providers.
In 2018, we completed construction of a new manufacturing facility, Moderna Technology Center (“MTC”), in Norwood, Massachusetts that, among other things, is intended for cGMP manufacture of drug substance and drug product. While the design of the facility is based on current standards for biotechnology facilities, it has not been reviewed or pre-approved by any regulatory agency, nor has the facility been inspected by any regulatory agency such as the FDA. We have only recently begun producing drug substance and drug product at the MTC for our preclinical and clinical use. We could incur delays in implementing the full operational state of the facility, causing delays to clinical supply or extended use of third-party service providers, resulting in unplanned expenses. In constructing the MTC facility, we have incurred substantial expenditures, and expect to incur significant additional expenditures in validating and operating the facility in the future.
We have designed the MTC to incorporate a significant level of automation of equipment with integration of several digital systems to improve efficiency of operations. We have attempted to achieve a high level of digitization for a clinical manufacturing facility relative to industry standards. While this is meant to improve operational efficiency, this may pose additional risk of process equipment malfunction and even overall manufacturing system failure or shutdown due to internal or external factors including, but not limited to, design issues, system compatibility, or potential cybersecurity breaches. This may lead to delay in supply or shutdown of our facility. Any disruption in our manufacturing capabilities at the MTC could cause delays in our production capacity for our drug substances or drug products, impose additional costs, or may require us to identify, qualify, and establish an alternative manufacturing site, the occurrence of which could have a material adverse effect on our business, financial condition, results of operations, and prospects.
As we expand our development and commercial capacity, we may establish additional manufacturing capabilities inside the MTC footprint or expand to other locations or geographies, which may lead to regulatory delays or prove costly. If we fail to select the correct location, complete the construction in an efficient manner, recruit the required personnel, and generally manage our growth effectively, the development and production of our investigational medicines could be delayed or curtailed. Additional investments may be needed if changes in our manufacturing process lead to required changes in the MTC’s infrastructure.
There are risks inherent in pharmaceutical manufacturing operations that could affect our ability and the ability of our third-party manufacturers or contract manufacturing organizations to meet our delivery requirements or provide adequate amounts of material.
The convergence of process and analytical technology, raw materials, consumables, equipment, physical infrastructure, including a clean room environment, and air handling and other utilities, results in complex procedures and systems that have to work effectively to manufacture our investigational medicines. Failure or process defects in any of the interrelated systems at either our manufacturing facilities or those of our third-party providers, could adversely impact our ability to manufacture and supply our investigational medicines.

177

Table of Contents

Our investigational medicines are inherently sensitive to shipping and storage conditions, which, in some cases, requires cold-chain logistics and could subject our investigational medicines to risk of loss or damage.
Our investigational medicines are sensitive to temperature, storage, and handling conditions. Loss in investigational medicines could occur if the product or product intermediates are not stored or handled properly. Shelf life for our investigational medicines may vary by product and is not fully quantified and is expected to be variable, and it is possible that our investigational medicines could be lost due to expiration prior to use. Cold-chain logistics are required for certain of our investigational medicines. If we do not effectively maintain our cold-chain supply logistics, then we may experience an unusual number of returned or out of date products.
 
Failure to effectively maintain our cold-chain supply logistics, by us or third parties, has in the past and could in the future lead to additional manufacturing costs and delays in our ability to supply required quantities for clinical trials or otherwise.

We are subject to significant regulatory oversight with respect to manufacturing our mRNA investigational medicines. Our manufacturing facilities or the manufacturing facilities of our third-party manufacturers or suppliers may not meet regulatory requirements. Failure to meet cGMP requirements set forth in regulations promulgated by the FDA, EMA, and other global health authorities could result in significant delays in and costs of our products.
The manufacturing of vaccines and therapeutics for clinical trials or commercial sale is subject to extensive regulation. Components of a finished product approved for commercial use or used in clinical trials must be manufactured in accordance with cGMP requirements. These regulations govern manufacturing processes and procedures, including record keeping, and the implementation and operation of quality systems to control and assure the quality of products and materials used in clinical trials. Poor control of the cGMP production processes can lead to product quality failures that can impact our ability to supply product, resulting in cost overruns and delays to clinical timelines, which could be extensive. Such production process issues include but are not limited to:
critical deviations in the manufacturing process;
facility and equipment failures;
contamination of the product due to an ineffective quality control strategy;
facility contamination as assessed by the facility and utility environmental monitoring program;
ineffective process, equipment, or analytical change management, resulting in failed lot release criteria;
raw material failures due to ineffective supplier qualification or regulatory compliance issues at critical suppliers;
ineffective product stability;
failed lot release or facility and utility quality control testing;
ineffective corrective actions or preventative actions taken to correct or avoid critical deviations due to our developing understanding of the manufacturing process as we scale; and
failed or defective components or consumables.
We must supply all necessary documentation in support of a BLA or other marketing authorization application on a timely basis and must adhere to the FDA’s, EMA’s, and other countries’ cGMP requirements which are enforced, in the case of the FDA, in part through its facilities inspection program.
Regulatory authorities typically require representative manufacturing site inspections to assess adequate compliance with cGMPs and manufacturing controls as described in the filing. If either we or one of our third-party manufacturing sites fails to provide sufficient quality assurance or control, the product approval to commercialize may not be granted. Inspections by regulatory authorities may occur at any time during the development or commercialization phase of products. The inspections may be product specific or facility specific for broader cGMP inspections or as a follow up to market or development issues that the regulatory agency may identify. Deficient inspection outcomes may influence the ability of our third-party manufacturers or suppliers to fulfill their supply obligations, impacting or delaying supply or delaying programs.
The manufacturing process for any products that we may develop is subject to the FDA and foreign regulatory authority approval process, and we may need to contract with manufacturers who we believe can meet applicable FDA and foreign regulatory authority requirements on an ongoing basis. If we or our third-party manufacturers are unable to reliably produce investigational medicines to specifications acceptable to the FDA or other regulatory authorities, we or our strategic collaborators may not obtain or maintain the approvals we or they need to commercialize such products. Even if we or our strategic collaborators obtain regulatory approval for any of our mRNA medicines, there is no assurance that either we or our contract manufacturing organizations will be able to

178

Table of Contents

manufacture the approved medicine to specifications acceptable to the FDA or other regulatory authorities, to produce it in sufficient quantities to meet the requirements for the potential launch of the product, or to meet potential future demand. Any of these challenges could delay completion of clinical trials, require bridging clinical trials or the repetition of one or more clinical trials, increase clinical trial costs, delay approval of our investigational medicines, impair commercialization efforts, or increase our cost of goods. The occurrence of any of the foregoing could have an adverse effect on our business, financial condition, results of operations, and prospects.
In addition, we may not have direct control over the ability of our contract manufacturers to maintain adequate quality control, quality assurance, and qualified personnel. Furthermore, all of our contract manufacturers are engaged with other companies to supply or manufacture materials or products for such companies, which exposes our contract manufacturers to regulatory risks for the production of such materials and products. As a result, failure to meet the regulatory requirements for the production of those materials and products may generally affect the regulatory status of our contract manufacturers’ facility. Our failure, or the failure of our third-party manufacturers, to comply with applicable regulations could result in sanctions being imposed on us, including clinical holds, fines, injunctions, civil penalties, delays, suspension or withdrawal of approvals, license revocation, seizures or recalls of investigational medicines or products, operating restrictions, and criminal prosecutions, any of which could significantly and adversely affect supplies of our products and investigational medicines (including those of our strategic collaborators) and our overall business operations. Our potential future dependence upon others for the manufacture of our investigational medicines and raw materials may adversely affect our future profit margins and our ability to commercialize any products that receive regulatory approval on a timely and competitive basis.
The FDA, the EMA, and other foreign regulatory authorities may require us to submit product samples of any lot of any approved product together with the protocols showing the results of applicable tests at any time. Under some circumstances, the FDA, the EMA, or other foreign regulatory authorities may require that we do not distribute a lot or lots until the relevant agency authorizes such release. Deviations in the manufacturing process, including those affecting quality attributes and stability, may result in unacceptable changes in the product that could result in lot failures or product recalls. Our third-party contract manufacturers have, in the past, experienced lot failures and some may have experienced product recalls. Lot failures have in the past caused, and lot failures or product recalls in the future with respect to product produced by either our own facilities or those of our third-party manufacturers could cause, us and our strategic collaborators to delay clinical trials or product launches, which could be costly to us and otherwise harm our business, financial condition, results of operations, and prospects.
We also may encounter problems hiring and retaining the experienced scientific, quality-control, and manufacturing personnel needed to operate our manufacturing processes and operations, which could result in delays in production or difficulties in maintaining compliance with applicable regulatory requirements. While we will train and qualify all personnel around the appropriate handling of our products and materials, we may not be able to control for or ultimately detect intentional sabotage or negligence by any employee or contractor.
Risks specific to certain investigational medicines
Our PCV investigational medicine is uniquely manufactured for each patient using a novel, complex manufacturing process and we may encounter difficulties in production.
We custom design and manufacture PCVs that are unique and tailored specifically for each patient. Manufacturing unique lots of PCVs is susceptible to product loss or failure due to issues with:
logistics associated with the collection of a patient’s tumor, blood, or other tissue sample;
shipping such samples to a facility for genetic sequencing;
next generation sequencing of the tumor mRNA;
identification of appropriate tumor-specific mutations;
the use of a software program, including proprietary and open source components, which is hosted in the cloud and a part of our investigational medicine, to assist with the design of the patient-specific mRNA, which software must be maintained and secured;
effective design of the patient-specific mRNA that encodes for the required neoantigens;
batch specific manufacturing failures or issues that arise due to the uniqueness of each patient-specific batch that may not have been foreseen;
quality control testing failures;
unexpected failures of batches placed on stability;

179

Table of Contents

shortages or quality control issues with single-use assemblies, consumables, or critical parts sourced from third-party vendors that must be changed out for each patient-specific batch;
significant costs associated with individualized manufacturing that may adversely affect our ability to continue development;
successful and timely manufacture and release of the patient-specific batch;
shipment issues encountered during transport of the batch to the patient site of care; and
the ability to define a consistent safety profile at a given dose when each participant receives a unique vaccine.
We have built and installed custom manufacturing equipment for PCV that has been incorporated into a personalized vaccine unit in the MTC. This unit is currently operational and we are producing batches of PCV from our location and a third-party supplier's. This equipment may not function as designed which may lead to deviations in the drug product being produced. This can lead to increased batch failure and the inability to supply patients enrolled in the clinical trial. If our clinical development plans are expanded, due to the custom nature of the equipment and single-use assemblies, we may not be able to supply this expanded need reliably without significant investments. In addition, there will be considerable time to scale up our facilities or build new facilities before we can begin to meet any commercial demand if our PCV product is approved. This expansion or addition of new facilities could also lead to product comparability issues which can further delay introduction of new capacity.
Because our PCVs are manufactured for each individual patient, we will be required to maintain a chain of identity with respect to each patient’s tissue sample, sequence data derived from such tissue sample, results of analysis of such patient’s genomic analysis, and the custom manufactured product for each patient. Maintaining such a chain of identity is difficult and complex, and failure to do so has in the past and may in the future result in product mix up, adverse patient outcomes, loss of product, or regulatory action including withdrawal of any approved products from the market. Further, as our PCV investigational medicine is developed through early-stage clinical studies to later-stage clinical trials towards approval and commercialization, we expect that multiple aspects of the complicated collection, analysis, manufacture, and delivery process will be modified in an effort to optimize processes and results. These changes may not achieve the intended objectives, and any of these changes could cause our PCVs to perform differently than we expect, potentially affecting the results of clinical trials.
Risks related to our reliance on third parties
We have in the past entered into, and in the future may enter into, strategic alliances with third parties to develop investigational medicines. If these strategic alliances are not successful, our business could be adversely affected.
We have limited resources to conduct clinical operations and have not yet established infrastructure for sales, marketing, or distribution. Accordingly, we have entered into strategic alliances under which our strategic collaborators have provided, and may in the future provide, funding and other resources for developing and potentially commercializing our investigational medicines. We expect to enter into additional strategic alliances to access additional funding, capabilities, and expertise in the future. Our existing strategic alliances, and any future strategic alliances we enter into, may pose a number of risks, including the following:
strategic collaborators may not perform their obligations as expected;
the clinical trials conducted as part of such strategic alliance may not be successful;
strategic collaborators may not pursue development and commercialization of any investigational medicines that achieve regulatory approval or may elect not to continue or renew development or commercialization of programs based on clinical trial results, changes in the strategic collaborators’ focus or available funding, or external factors, such as an acquisition, that divert resources or create competing priorities;
strategic collaborators may delay clinical trials, provide insufficient funding for clinical trials, stop a clinical trial, abandon an investigational medicine, repeat or conduct new clinical trials, or require a new formulation of an investigational medicine for clinical testing;
strategic collaborators could independently develop, or develop with third parties, products that compete directly or indirectly with our investigational medicines if the strategic collaborators believe that competitive products are more likely to be successfully developed or can be commercialized under terms that are more economically attractive than ours;
investigational medicines developed in strategic alliances with us may be viewed by our strategic collaborators as competitive with their own investigational medicines or products, which may cause strategic collaborators to cease to devote resources to the development or commercialization of our investigational medicines;

180

Table of Contents

a strategic collaborator with marketing and distribution rights to one or more of our investigational medicines that achieve regulatory approval may not commit sufficient resources to the marketing and distribution of any such product;
disagreements with strategic collaborators, including disagreements over proprietary rights, contract interpretation, or the preferred course of development of any investigational medicines, may cause delays or termination of the research, development, or commercialization of such investigational medicines, may lead to additional responsibilities for us with respect to such investigational medicines, or may result in litigation or arbitration, any of which would be time-consuming and expensive;
strategic collaborators may not properly maintain or defend our IP rights or may use our proprietary information in such a way as to invite litigation that could jeopardize or invalidate our IP or proprietary information or expose us to potential litigation;
disputes may arise with respect to the ownership of IP developed pursuant to our strategic alliances;
strategic collaborators may infringe the IP rights of third parties, which may expose us to litigation and potential liability;
strategic alliances may be terminated for the convenience of the strategic collaborator and, if terminated, the development of our investigational medicines may be delayed, and we could be required to raise additional capital to pursue further development or commercialization of the applicable investigational medicines;
future relationships may require us to incur non-recurring and other charges, increase our near- and long-term expenditures, issue securities that dilute our existing stockholders, or disrupt our management and business;
we could face significant competition in seeking appropriate strategic collaborators and the negotiation process is time-consuming and complex; and
our international operations through any future collaborations, acquisitions, or joint ventures may expose us to certain operating, legal, and other risks not encountered in the United States.
If our strategic alliances do not result in the successful development and commercialization of programs, or if one of our strategic collaborators terminates its agreement with us, we may not receive any future research funding or milestone, earn-out, royalty, or other contingent payments under the strategic alliances. If we do not receive the funding we expect under these agreements, our development of investigational medicines could be delayed and we may need additional resources to develop our investigational medicines. In addition, in general our strategic collaborators have the right to terminate their agreements with us for convenience. A strategic collaborator has in the past terminated its agreement with us. If one of our strategic collaborators terminates its agreement with us, we may find it more difficult to attract new strategic collaborators and the perception of us in the business and financial communities could be adversely affected. All of the risks relating to product development, regulatory approval, and commercialization described in this Annual Report on Form 10-K apply to the activities of our strategic collaborators.
Our strategic collaborators control aspects of our clinical trials, regulatory activities, and other aspects of our strategic alliances, which could result in delays and other obstacles in the development and commercialization of our proposed products and materially harm our results of operations.
For some programs, we depend on strategic collaborators to design and conduct clinical trials for our investigational medicines. As a result, we may not control the manner or time schedule in which these clinical trials are conducted, which may negatively impact our business operations. In addition, if any of our strategic collaborators withdraws support for one or more of our programs or proposed products or otherwise impairs their development, our business could be negatively affected.
We may seek to establish additional strategic alliances and, if we are not able to establish them on commercially reasonable terms, we may have to alter our development and commercialization plans. Certain of our strategic alliance agreements may restrict our ability to develop certain products.
Our development programs and the potential commercialization of our development candidates and investigational medicines will require substantial additional cash to fund expenses. For some of our investigational medicines, we may decide to collaborate with pharmaceutical and biotechnology companies for the development and potential commercialization of those investigational medicines.
We face significant competition in seeking appropriate strategic collaborators. Whether we reach a definitive agreement for any additional strategic alliances will depend, among other things, upon our assessment of the strategic collaborator’s resources and expertise, the terms and conditions of the proposed strategic alliance, and the proposed strategic collaborator’s evaluation of a number of factors. Those factors may include the design or results of clinical trials, the likelihood of approval by the FDA or similar regulatory authorities outside the United States, the potential market for the subject investigational medicine, the costs and complexities of manufacturing and delivering such investigational medicine to trial participants, the potential of competing drugs, the existence of

181

Table of Contents

uncertainty with respect to our ownership of technology, which can exist if there is a challenge to such ownership without regard to the merits of the challenge, and industry and market conditions generally. The strategic collaborator may also consider alternative investigational medicines or technologies for similar indications that may be available to collaborate on and whether such a collaboration could be more attractive than the one with us for our investigational medicine. The terms of any additional strategic alliances or other arrangements that we may establish may not be favorable to us.
We are also restricted under our existing strategic alliance agreements from entering into certain future agreements on certain terms with potential strategic collaborators to pursue other targets on our own. These restrictions on working with targets, polypeptides, routes of administration, and fields could limit our ability to enter into strategic collaborations with future strategic collaborators or to pursue certain potentially valuable development candidates or investigational medicines.
We may not be able to negotiate additional strategic alliances on a timely basis, on favorable terms, or at all. Strategic alliances are complex and time-consuming to negotiate and document. If we are unable to negotiate and enter into new strategic alliances, we may have to curtail the development of the investigational medicine for which we are seeking to collaborate, reduce or delay its development program or one or more of our other development programs, delay its potential commercialization or reduce the scope of any sales or marketing activities, or increase our expenditures and undertake development or commercialization activities at our own expense. If we elect to increase our expenditures to fund development or commercialization activities on our own, we may need to obtain additional capital, which may not be available to us on favorable terms or at all. If we do not have sufficient funds, we may not be able to further develop our investigational medicines or bring them to market and generate product revenue.
We are dependent on single-source suppliers for some of the components and materials used in, and the processes required to develop, our development candidates and investigational medicines.
We currently depend on single-source suppliers for some of the components and materials used in, and manufacturing processes required to develop, our development candidates and investigational medicines. We cannot ensure that these suppliers or service providers will remain in business, have sufficient capacity or supply to meet our needs, or that they will not be purchased by one of our competitors or another company that is not interested in continuing to work with us. Our use of single-source suppliers of raw materials, components, key processes, and finished goods exposes us to several risks, including disruptions in supply, price increases, or late deliveries. There are, in general, relatively few alternative sources of supply for substitute components. These vendors may be unable or unwilling to meet our future demands for our clinical trials or commercial sale. Establishing additional or replacement suppliers for these components, materials, and processes could take a substantial amount of time and it may be difficult to establish replacement suppliers who meet regulatory requirements. Any disruption in supply from any single-source supplier or service provider could lead to supply delays or interruptions which would damage our business, financial condition, results of operations, and prospects.
If we have to switch to a replacement supplier, the manufacture and delivery of our development candidates or investigational medicines could be interrupted for an extended period, which could adversely affect our business. Establishing additional or replacement suppliers for any of the components or processes used in our investigational medicines, if required, may not be accomplished quickly. If we are able to find a replacement supplier, the replacement supplier would need to be qualified and may require additional regulatory authority approval, which could result in further delay. While we seek to maintain adequate inventory of the single-source components and materials used in our products, any interruption or delay in the supply of components or materials, or our inability to obtain components or materials from alternate sources at acceptable prices in a timely manner, could impair our ability to meet the demand for our investigational medicines.
In addition, as part of the FDA’s approval of our investigational medicines, we will also require FDA review of the individual components of our process, which include the manufacturing processes and facilities of our single-source suppliers.
Our reliance on these suppliers, service providers, and manufacturers subjects us to a number of risks that could harm our reputation, business, and financial condition, including, among other things:
delays to the development timelines for our development candidates or investigational medicines;
interruption of supply resulting from modifications to or discontinuation of a supplier’s operations;
delays in product shipments resulting from uncorrected defects, reliability issues, or a supplier’s variation in a component;
a lack of long-term supply arrangements for key components with our suppliers;
inability to obtain adequate supply in a timely manner, or to obtain adequate supply on commercially reasonable terms;
difficulty and cost associated with locating and qualifying alternative suppliers for our components in a timely manner;

182

Table of Contents

production delays related to the evaluation and testing of components from alternative suppliers, and corresponding regulatory qualifications;
delay in delivery due to our suppliers’ prioritizing other customer orders over ours;
damage to our reputation caused by defective components produced by our suppliers; and
fluctuation in delivery by our suppliers due to changes in demand from us or their other customers.
If any of these risks materialize, costs could significantly increase and our ability to meet demand for our products could be impacted.
We rely on and expect to continue to rely on third parties to conduct aspects of our research, preclinical studies, protocol development, and clinical trials for our development candidates or investigational medicines. If these third parties do not perform satisfactorily, comply with regulatory requirements, or meet expected deadlines, we may not be able to obtain regulatory approval for or commercialize our investigational medicines and our business could be substantially harmed.
We currently rely and expect to continue to rely on third parties, such as CROs, clinical data management organizations, medical institutions, and clinical investigators, to conduct our clinical trials. We currently rely and expect to continue to rely on third parties to conduct certain research and preclinical testing activities. In some cases, these third parties may terminate their engagements with us. If we need to enter into alternative arrangements, it would delay our discovery or product development activities.
Our reliance on these third parties for research and development activities will reduce our control over these activities but will not relieve us of our regulatory or contractual responsibilities. We will be responsible for ensuring that each of our preclinical studies and clinical trials is conducted in accordance with the applicable protocol, legal and regulatory requirements, and scientific standards. For example, we will remain responsible for ensuring that each of our clinical trials is conducted in accordance with the general investigational plan and protocols for the trial. Moreover, the FDA requires us to comply with regulations, commonly referred to as GCPs for conducting, recording, and reporting the results of clinical trials to assure that data and reported results are credible and accurate and that the rights, integrity, and confidentiality of trial participants are protected. We also are required to register ongoing clinical trials and post the results of completed clinical trials on a government-sponsored database, ClinicalTrials.gov, within certain timeframes. Failure to do so can result in fines, adverse publicity, and civil and criminal sanctions. For any violations of laws and regulations during the conduct of our preclinical studies and clinical trials, we could be subject to warning letters or enforcement action that may include civil penalties up to and including criminal prosecution.
We and our CROs will be required to comply with regulations, including GCPs, for conducting, monitoring, recording, and reporting the results of preclinical studies and clinical trials to ensure that the data and results are scientifically credible and accurate and that the trial participants are adequately informed, among other things, of the potential risks of participating in clinical trials. We also are responsible for ensuring that the rights of our clinical trial participants are protected. These regulations are enforced by the FDA, the Competent Authorities of the Member States of the European Economic Area, and comparable foreign regulatory authorities for any investigational medicines in clinical development. The FDA enforces GCP regulations through periodic inspections of clinical trial sponsors, principal investigators, and trial sites. If we or our CROs fail to comply with applicable GCPs, the clinical data generated in our clinical trials may be deemed unreliable and the FDA or comparable foreign regulatory authorities may require us to perform additional clinical trials before approving our marketing applications. We cannot assure you that, upon inspection, the FDA will determine that any of our future clinical trials will comply with GCPs. In addition, our clinical trials must be conducted with investigational medicines produced in accordance with the requirements in cGMP regulations. Our failure or the failure of our CROs to comply with these regulations may require us to repeat clinical trials, which would delay the regulatory approval process and could also subject us to enforcement action.
Although we intend to design the clinical trials for certain of our investigational medicines, our strategic collaborators will design the clinical trials that they are managing (in some cases, with our input) and in the case of clinical trials controlled by us, we expect that CROs will conduct all of the clinical trials. As a result, many important aspects of our development programs, including their conduct and timing, will be outside of our direct control. Our reliance on third parties to conduct future preclinical studies and clinical trials will also result in less direct control over the management of data developed through preclinical studies and clinical trials than would be the case if we were relying entirely upon our own staff. Communicating with outside parties can also potentially lead to mistakes as well as difficulties in coordinating activities. Outside parties may:
have staffing difficulties;
fail to comply with contractual obligations;
experience regulatory compliance issues;
undergo changes in priorities or become financially distressed;

183

Table of Contents

form relationships with other entities, some of which may be our competitors;
have human errors; or
be subject to cyber-attacks.
These factors may materially adversely affect the willingness or ability of third parties to conduct our preclinical studies and clinical trials and may subject us to unexpected cost increases that are beyond our control. If the CROs do not perform preclinical studies and clinical trials in a satisfactory manner, breach their obligations to us or fail to comply with regulatory requirements, the development, regulatory approval, and commercialization of our investigational medicines may be delayed, we may not be able to obtain regulatory approval and commercialize our investigational medicines, or our development programs may be materially and irreversibly harmed. If we are unable to rely on preclinical and clinical data collected by our CROs, we could be required to repeat, extend the duration of, or increase the size of any clinical trials we conduct and this could significantly delay commercialization and require significantly greater expenditures.
We also expect to rely on other third parties to transport, store, and distribute the required materials for our clinical trials. In the past certain of our third-party vendors have mishandled our materials, resulting in loss of full or partial lots of material. Any further performance failure on the part of these third parties could result in damaged products and could delay clinical development or marketing approval of any investigational medicines we may develop or commercialization of our medicines, if approved, producing additional losses and depriving us of potential product revenue, causing us to default on our contractual commitments, result in losses that are not covered by insurance, and damage our reputation and overall perception of our products in the marketplace.
Risks related to our intellectual property
Other companies or organizations may challenge our patent rights or may assert patent rights that prevent us from developing and commercializing our products.
mRNA medicines is a relatively new scientific field, the continued development and potential use of which has resulted in many different patents and patent applications from organizations and individuals seeking to obtain IP protection in the field. We have obtained grants and issuances of patents on mRNA medicines and our delivery technology. The issued patents and pending patent applications in the United States and in key markets around the world that we own, claim many different methods, compositions, and processes relating to the discovery, development, manufacture, and commercialization of mRNA medicines and our delivery technology, including LNPs.
As the field of mRNA therapeutics and vaccines is maturing, patent applications are being processed by national patent offices around the world. There is uncertainty about which patents will issue, and, if they do, as to when, to whom, and with what claims. It is likely that there will be significant litigation and other proceedings, such as interference, reexamination, and opposition proceedings, as well as inter partes and post-grant review proceedings introduced by provisions of the America Invents Act, which became available to third-party challengers on September 16, 2012, in various patent offices relating to patent rights in the mRNA field. We expect that oppositions will be filed in the European Patent Office (the “EPO”) and elsewhere relating to patents and patent applications in our portfolio. In many cases, the possibility of appeal exists for either us or our opponents, and it may be years before final, unappealable rulings are made with respect to these patents in certain jurisdictions. The timing and outcome of these and other proceedings is uncertain and may adversely affect our business if we are not successful in defending the patentability and scope of our pending and issued patent claims. For example, a third party request for reexamination has been granted against one of our U.S. patents, which relates to our infectious disease vaccine program. We cannot be certain that such patent will survive or that the claims will remain in the current form. In addition, third parties may attempt to invalidate our IP rights. Even if our rights are not directly challenged, disputes could lead to the weakening of our IP rights. Our defense against any attempt by third parties to circumvent or invalidate our IP rights could be costly to us, could require significant time and attention of our management, and could have a material adverse impact on our business and our ability to successfully compete in the field of mRNA therapeutics.
There are many issued and pending third-party patents that claim aspects of oligonucleotide delivery technologies that we may need for our mRNA therapeutic and vaccine candidates. There are also many issued third-party patents that claim targeting genes or portions of genes that may be relevant for mRNA medicines we wish to develop. For example, we are aware of a third-party patent directed to methods of using mRNA to treat Fabry disease. In addition, there may be issued and pending patent applications that may be asserted against us in a court proceeding or otherwise based upon the asserting party’s belief that we may need such patents for our mRNA therapeutic candidates. Thus, it is possible that one or more organizations will hold patent rights to which we may need a license, or hold patent rights which could be asserted against us. If those organizations refuse to grant us a license to such patent rights on reasonable terms or a court rules that we need such patent rights that have been asserted against us and we are not able to obtain a license on reasonable terms, we may be unable to perform research and development or other activities or market products covered by such patents.


184

Table of Contents

If we become involved in patent litigation or other proceedings related to a determination of rights, we could incur substantial costs and expenses, substantial liability for damages, or be required to stop our product development and commercialization efforts.
Our commercial success depends in part on our avoiding infringement of the patents and proprietary rights of third parties. There is a substantial amount of litigation, both within and outside the United States, involving patent and other IP rights in the biotechnology and pharmaceutical industries, including patent infringement lawsuits, interferences, oppositions, ex parte reexaminations, post-grant review, and inter partes review proceedings before the U.S. Patent and Trademark Office (the “USPTO”) and corresponding foreign patent offices. Numerous U.S. and foreign issued patents and pending patent applications, which are owned by third parties, exist in the fields in which we are pursuing development candidates. In certain instances, we have instituted and may in the future institute inter partes review proceedings against issued U.S. patents and opposition proceedings against European patents owned by third parties in the field of mRNA medicines. We have a number of these proceedings ongoing against third-party patents related to RNA vaccinations and mRNA delivery. If we are unsuccessful in invalidating certain of the third-party patents that we are currently challenging, those third parties may attempt to assert those patents against us should certain of our investigational medicines obtain regulatory approval. As the biotechnology and pharmaceutical industries expand and more patents are issued, the risk increases that our development candidates may be subject to claims of infringement of the patent rights of third parties.
Third parties may assert that we are employing their proprietary technology without authorization. There may be third-party patents or patent applications with claims to materials, formulations, methods of manufacture, or methods for treatment related to the use or manufacture of our investigational medicines. Because patent applications can take many years to issue, there may be currently pending patent applications which may later result in issued patents that our investigational medicines may infringe. In addition, third parties may obtain patents in the future and claim that our technologies infringe upon these patents. If any third-party patents were held by a court of competent jurisdiction to cover the manufacturing process of any of our investigational medicines, any molecules formed during the manufacturing process, or any final product itself, the holders of any such patents may obtain injunctive or other equitable relief, which could effectively block our ability to commercialize such investigational medicine unless we obtained a license under the applicable patents, or until such patents expire. Similarly, if any third-party patents were held by a court of competent jurisdiction to cover aspects of our formulations, processes for manufacture, or methods of use, including combination therapy, the holders of any such patents may be able to block our ability to develop and commercialize the applicable investigational medicine unless we obtained a license or until such patent expires. In either case, such a license may not be available on commercially reasonable terms or at all.
Defense of infringement and other claims, regardless of their merit, would involve substantial litigation expense and would be a substantial diversion of employee resources from our business. In the event of a successful claim of infringement against us, we may have to pay substantial damages, including treble damages and attorneys’ fees for willful infringement, pay royalties, redesign our infringing products, or obtain one or more licenses from third parties, which may not be made available on commercially favorable terms, if at all, or may require substantial time and expense.
In addition, such licenses are likely to be non-exclusive and, therefore, our competitors may have access to the same technology licensed to us. If we fail to obtain a required license and are unable to design around a patent, we may be unable to effectively market some of our technology and products, which could limit our ability to generate revenues or achieve profitability and possibly prevent us from generating revenue sufficient to sustain our operations. Moreover, we expect that a number of our collaborations will provide that royalties payable to us for licenses to our IP may be offset by amounts paid by our collaborators to third parties who have competing or superior IP positions in the relevant fields, which could result in significant reductions in our revenues from products developed through collaborations.
In addition, in connection with certain license and strategic alliance agreements, we have agreed to indemnify certain third parties for certain costs incurred in connection with litigation relating to IP rights or the subject matter of the agreements. The cost to us of any litigation or other proceeding relating to IP rights, even if resolved in our favor, could be substantial, and litigation would divert our management’s efforts. Some of our competitors may be able to sustain the costs of complex patent litigation more effectively than we can because they have substantially greater resources. Uncertainties resulting from the initiation and continuation of any litigation could delay our research and development efforts and limit our ability to continue our operations.
 
We may not be successful in obtaining or maintaining necessary IP rights to product components and manufacturing processes for our development pipeline.
Presently we have rights to certain IP, through licenses from third parties and under patents that we own, to develop our development candidates and investigational medicines. Because our pipeline may involve additional development candidates that could require the use of proprietary rights held by third parties, the growth of our business could depend in part on our ability to acquire, in-license, or use these proprietary rights. In addition, our development candidates and investigational medicines may require specific formulations to work effectively and efficiently and these rights may be held by others. We may be unable to acquire or in-license any compositions, methods of use, processes, or other third-party IP rights from third parties that we identify. The licensing and acquisition

185

Table of Contents

of third-party IP rights is a competitive area, and a number of more established companies are also pursuing strategies to license or acquire third-party IP rights that we may consider attractive. These established companies may have a competitive advantage over us due to their size, cash resources, and greater clinical development and commercialization capabilities.
For example, we sometimes collaborate with U.S. and foreign academic institutions to accelerate our preclinical research or development under written agreements with these institutions. Typically, these institutions provide us with an option to negotiate a license to any of the institution’s rights in technology resulting from the collaboration. Regardless of such right of first negotiation for IP, we may be unable to negotiate a license within the specified time frame or under terms that are acceptable to us. If we are unable to do so, the institution may offer the IP rights to other parties, potentially blocking our ability to pursue our program.
In addition, companies that perceive us to be a competitor may be unwilling to assign or license rights to us. We also may be unable to license or acquire third-party IP rights on terms that would allow us to make an appropriate return on our investment. If we are unable to successfully obtain rights to required third-party IP rights, our business, financial condition, and prospects for growth could suffer.
If we are not able to obtain and enforce patent protection for our discoveries, our ability to effectively compete using our development candidates will be harmed.
Our success depends, in part, on our ability to protect proprietary methods and technologies that we develop under the patent and other IP laws of the United States and other countries, so that we can prevent others from unlawfully using our inventions and proprietary information. However, we may not hold proprietary rights to some patents required for us to develop, manufacture, and commercialize our proposed products.
Because certain U.S. patent applications are confidential until the patents issue, such as applications filed prior to November 29, 2000, or applications filed after such date which will not be filed in foreign countries, third parties may have filed patent applications for technology covered by our pending patent applications without our being aware of those applications, and our patent applications may not have priority over those applications. For this and other reasons, we may be unable to secure desired patent rights, thereby losing exclusivity. Further, we may be required to obtain licenses under third-party patents to market our proposed products or conduct our research and development or other activities. If licenses are not available to us on favorable terms, we may not be able to market the affected products or conduct the desired activities.
Our strategy depends on our ability to rapidly identify and seek patent protection for our discoveries. In addition, we may rely on third-party strategic collaborators to file patent applications relating to proprietary technology that we develop jointly as a part of certain strategic alliances. The process of obtaining patent protection is expensive and time-consuming. If our present or future strategic collaborators fail to file and prosecute all necessary and desirable patent applications at a reasonable cost and in a timely manner, our business may be adversely affected. Despite our efforts and the efforts of our strategic collaborators to protect our proprietary rights, unauthorized parties may be able to obtain and use information that we regard as proprietary. While issued patents are presumed valid, this does not guarantee that the patent will survive a validity challenge or be held enforceable. Any patents we have obtained, or obtain in the future, may be challenged, invalidated, adjudged unenforceable, or circumvented by parties attempting to design around our IP. Moreover, third parties or the USPTO may commence interference proceedings involving our patents or patent applications. Any challenge to, finding of unenforceability or invalidation, or circumvention of, our patents or patent applications, would be costly, would require significant time and attention of our management, could reduce or eliminate royalty payments to us from third-party licensors, and could have a material adverse impact on our business.
Our pending patent applications may not result in issued patents. The patent position of pharmaceutical or biotechnology companies, including ours, is generally uncertain and involves complex legal and factual considerations. The standards that the USPTO and its foreign counterparts use to grant patents are not always applied predictably or uniformly and can change. Similarly, the ultimate degree of protection that will be afforded to biotechnology inventions, including ours, in the United States and foreign countries, remains uncertain and is dependent upon the scope of the protection decided upon by patent offices, courts, and lawmakers. Moreover, there are periodic discussions in the U.S. Congress and in international jurisdictions about modifying various aspects of patent law. For example, the America Invents Act, which took effect in March 2013, included a number of changes to the patent laws of the United States. If any of the enacted changes prevent us from adequately protecting our discoveries, including our ability to pursue infringers of our patents to obtain injunctive relieve or for substantial damages, our business could be adversely affected. One major provision of the America Invents Act changed U.S. patent practice from a first-to-invent to a first-to-file system. If we fail to file an invention before a competitor files on the same invention, we no longer have the ability to provide proof that we were in possession of the invention prior to the competitor’s filing date, and thus would not be able to obtain patent protection for our invention. There is also no uniform, worldwide policy regarding the subject matter and scope of claims granted or allowable in pharmaceutical or biotechnology patents. In certain countries, for example, methods for the medical treatment of humans are not patentable.
Accordingly, we do not know the degree of future protection for our proprietary rights or the breadth of claims that will be allowed in any patents issued to us or to others. We also rely to a certain extent on trade secrets, know-how, and technology, which are not

186

Table of Contents

protected by patents, to maintain our competitive position. If any trade secret, know-how, or other technology not protected by a patent were to be disclosed to or independently developed by a competitor, our business and financial condition could be materially adversely affected.
We license patent rights from third-party owners. If such owners do not properly or successfully obtain, maintain, or enforce the patents underlying such licenses, our competitive position and business prospects may be harmed.
We are a party to licenses that give us rights to third-party IP that is necessary or useful for our business. In particular, we have obtained licenses from Cellscript, LLC and its affiliates to patent rights covering modified mRNA chemistries and from certain other parties for IP useful in our formulation efforts. We may enter into additional licenses to third-party IP in the future.
Our success will depend in part on the ability of our licensors to obtain, maintain, and enforce patent protection for our licensed IP. Our licensors may not successfully prosecute the patent applications we license. Even if patents issue in respect of these patent applications, our licensors may fail to maintain these patents, may determine not to pursue litigation against other companies that are infringing these patents, or may pursue such litigation less aggressively than we would. Without protection for the IP we license, other companies might be able to offer substantially identical products for sale, which could adversely affect our competitive business position and harm our business prospects. In addition, we sublicense our rights under various third-party licenses to our strategic collaborators. Any impairment of these sublicensed rights could result in reduced revenues under our strategic alliance agreements or result in termination of an agreement by one or more of our strategic collaborators.
If we fail to comply with our obligations in the agreements under which we license IP rights from third parties or otherwise experience disruptions to our business relationships with our licensors, we could lose license rights that are important to our business.
Licensing of IP is important to our business and involves complex legal, business, and scientific issues and is complicated by the rapid pace of scientific discovery in our industry. We are a party to certain IP license agreements that are important to our business and expect to enter into additional license agreements in the future. Our existing license agreements impose, and we expect that future license agreements will impose, various diligence, milestone payment, royalty, and other obligations on us. If we fail to comply with our obligations under these agreements, or we are subject to a bankruptcy, the licensor may have the right to terminate the license, in which event we would not be able to market products covered by the license.
In some cases, patent prosecution of our licensed technology is controlled solely by the licensor. If our licensors fail to obtain and maintain patent or other protection for the proprietary IP we license from them, we could lose our rights to the IP and our competitors could market competing products using the IP. In certain cases, we control the prosecution of patents resulting from licensed technology. In the event we breach any of our obligations related to such prosecution, we may incur significant liability to our strategic collaborators. Disputes may arise regarding IP subject to a licensing agreement, including:
the scope of rights granted under the license agreement and other interpretation-related issues;
the extent to which our technology and processes that are not subject to the licensing agreement infringe on IP of the licensor;
the sublicensing of patent and other rights under our collaborative development relationships;
our diligence obligations under the license agreement and what activities satisfy those diligence obligations;
the ownership of inventions and know-how resulting from the joint creation or use of IP by our licensors and us and our strategic collaborators; and
the priority of invention of patented technology.
If disputes over IP that we have licensed prevent or impair our ability to maintain our current licensing arrangements on favorable terms, we may be unable to successfully develop and commercialize the affected development candidates or investigational medicines. We are generally also subject to all of the same risks with respect to protection of IP that we license, as we are for IP that we own, which are described below. If we or our licensors fail to adequately protect this IP, our ability to commercialize products could suffer.
 
If we are unable to protect the confidentiality of our trade secrets, our business and competitive position would be harmed.
In addition to patent protection, we rely heavily upon know-how and trade secret protection, as well as non-disclosure agreements and invention assignment agreements with our employees, consultants, and third parties, to protect our confidential and proprietary information, especially where we do not believe patent protection is appropriate or obtainable. In addition to contractual measures, we try to protect the confidential nature of our proprietary information using physical and technological security measures. Such measures may not, for example, in the case of misappropriation of a trade secret by an employee or third party with authorized access, provide

187

Table of Contents

adequate protection for our proprietary information. Our security measures may not prevent an employee or consultant from misappropriating our trade secrets and providing them to a competitor, and recourse we take against such misconduct may not provide an adequate remedy to protect our interests fully. Enforcing a claim that a party illegally disclosed or misappropriated a trade secret can be difficult, expensive, and time-consuming, and the outcome is unpredictable. In addition, trade secrets may be independently developed by others in a manner that could prevent legal recourse by us. If any of our confidential or proprietary information, such as our trade secrets, were to be disclosed or misappropriated, or if any such information was independently developed by a competitor, our competitive position could be harmed.
Certain former employees have obtained employment with companies or academic institutions that could be considered competitive with us and are operating their business in areas that are similar to ours, including in their business model, product discovery efforts, mRNA-based product development, or formulation technology such as our LNPs. This competition may be limited by contractual provisions which may or may not be enforceable by us in the Commonwealth of Massachusetts or other jurisdictions. In addition, we may not be aware of such competitive employment arrangements until after our trade secrets have been disclosed to potentially competitive companies.
We may be subject to claims that our employees, consultants, or independent contractors have wrongfully used or disclosed confidential information of third parties or that our employees have wrongfully used or disclosed alleged trade secrets of their former employers.
We employ individuals who were previously employed at universities or other biotechnology or pharmaceutical companies, including our competitors or potential competitors. Although we try to ensure that our employees, consultants, and independent contractors do not use the proprietary information or know-how of others in their work for us, from time to time we are subject to claims that we, or our employees, consultants, or independent contractors, have inadvertently or otherwise used or disclosed IP, including trade secrets or other proprietary information, of any of our employees’ former employers or other third parties. Litigation may be necessary to defend against these claims. If we fail in defending any such claims, in addition to paying monetary damages, we may lose valuable IP rights or personnel, which could adversely impact our business. Even if we are successful in defending against such claims, litigation could result in substantial costs and be a distraction to management and other employees.
We may be subject to claims challenging the inventorship or ownership of our patents and other IP.
We may be subject to claims that former employees, collaborators, or other third parties have an ownership interest in our patents or other IP. Ownership disputes may arise, for example, from conflicting obligations of consultants or others who are involved in developing our development candidates. Litigation may be necessary to defend against these and other claims challenging inventorship or ownership. If we fail in defending any such claims, in addition to paying monetary damages, we may lose valuable IP rights, such as exclusive ownership of, or right to use, valuable IP. Such an outcome could have a material adverse impact on our business. Even if we are successful in defending against such claims, litigation could result in substantial costs and be a distraction to management and other employees.
 
Obtaining and maintaining our patent protection depends on compliance with various procedural, document submission, fee payment, and other requirements imposed by governmental patent agencies, and our patent protection could be reduced or eliminated for non-compliance with these requirements.
Periodic maintenance fees, renewal fees, annuity fees, and various other governmental fees on patents or applications will be due to be paid to the USPTO and various governmental patent agencies outside of the United States in several stages over the lifetime of the patents or applications. We have systems in place to remind us to pay these fees, and we employ an outside firm and rely on our outside counsel to pay these fees due to non-U.S. patent agencies. The USPTO and various non-U.S. governmental patent agencies require compliance with a number of procedural, documentary, fee payment, and other similar provisions during the patent application process. We employ reputable law firms and other professionals to help us comply, and in many cases, an inadvertent lapse can be cured by payment of a late fee or by other means in accordance with the applicable rules. However, there are situations in which non-compliance can result in abandonment or lapse of the patent or patent application, resulting in partial or complete loss of patent rights in the relevant jurisdiction. In such an event, our competitors might be able to enter the market and this circumstance could have a material adverse impact on our business.
Issued patents covering our development candidates and investigational medicines could be found invalid or unenforceable if challenged in court.
If we or one of our strategic collaborators initiated legal proceedings against a third party to enforce a patent covering one of our development candidates or investigational medicines, the defendant could counterclaim that the patent covering our development candidate or investigational medicine is invalid or unenforceable. In patent litigation in the United States, defendant counterclaims alleging invalidity or unenforceability are commonplace. Grounds for a validity challenge could be an alleged failure to meet any of

188

Table of Contents

several statutory requirements, including patent eligible subject matter, lack of novelty, obviousness, or non-enablement. Grounds for an unenforceability assertion could be an allegation that someone connected with prosecution of the patent withheld relevant information from the USPTO, or made a misleading statement, during prosecution. Third parties may also raise similar claims before administrative bodies in the United States or abroad, even outside the context of litigation. Such mechanisms include reexamination, post-grant review, and equivalent proceedings in foreign jurisdictions (e.g., opposition proceedings). Such proceedings could result in revocation of or amendment to our patents in such a way that they no longer cover our development candidates or investigational medicines. The outcome following legal assertions of invalidity and unenforceability is unpredictable. With respect to the validity question, for example, there may be invalidating prior art that we and the patent examiner were unaware of during prosecution. If a defendant were to prevail on a legal assertion of invalidity and/or unenforceability, we would lose at least part of the patent protection for our development candidates and investigational medicines. Such a loss of patent protection could have a material adverse impact on our business.
Changes in U.S. patent law could diminish the value of patents in general, thereby impairing our ability to protect our products.
As is the case with other biotechnology companies, our success is heavily dependent on IP, particularly patents. Obtaining and enforcing patents in the biotechnology industry involve both technological and legal complexity, and therefore obtaining and enforcing biotechnology patents is costly, time-consuming and inherently uncertain. In addition, the United States has recently enacted and is currently implementing wide-ranging patent reform legislation. Recent U.S. Supreme Court rulings have narrowed the scope of patent protection available in certain circumstances and weakened the rights of patent owners in certain situations. In addition to increasing uncertainty with regard to our ability to obtain patents in the future, this combination of events has created uncertainty with respect to the value of patents, once obtained. Depending on decisions by the U.S. Congress, the federal courts, and the USPTO, the laws and regulations governing patents could change in unpredictable ways that would weaken our ability to obtain new patents or to enforce our existing patents and patents that we might obtain in the future.
 
We may not be able to protect our IP rights throughout the world.
Filing, prosecuting, and defending patents on development candidates and investigational medicines in all countries throughout the world would be prohibitively expensive, and our IP rights in some countries outside the United States can be less extensive than those in the United States. In addition, the laws of some foreign countries do not protect IP rights to the same extent as federal and state laws in the United States. Consequently, we may not be able to prevent third parties from practicing our inventions in all countries outside the United States, or from selling or importing products made using our inventions in and into the United States or other jurisdictions. Competitors may use our technologies in jurisdictions where we have not obtained patent protection to develop their own products and further, may export otherwise infringing products to territories where we have patent protection, but enforcement is not as strong as that in the United States. These products may compete with our products and our patents or other IP rights may not be effective or sufficient to prevent them from competing.
Many companies have encountered significant problems in protecting and defending IP rights in foreign jurisdictions. The legal systems of certain countries, particularly certain developing countries, do not favor the enforcement of patents, trade secrets and other IP protection, particularly those relating to biotechnology products, which could make it difficult for us to stop the infringement of our patents or marketing of competing products in violation of our proprietary rights generally. Proceedings to enforce our patent rights in foreign jurisdictions could result in substantial costs and divert our efforts and attention from other aspects of our business, could put our patents at risk of being invalidated or interpreted narrowly and our patent applications at risk of not issuing and could provoke third parties to assert claims against us. We may not prevail in any lawsuits that we initiate and the damages or other remedies awarded, if any, may not be commercially meaningful. Accordingly, our efforts to enforce our IP rights around the world may be inadequate to obtain a significant commercial advantage from the IP that we develop or license.
Our reliance on government funding and collaboration from government and quasi-governmental entities for certain of our programs adds uncertainty to our research and development efforts with respect to those programs and may impose requirements that increase the costs of development, commercialization and production of any programs developed under those government-funded programs.
The development of each of our Zika vaccine (mRNA-1893), our antibody against Chikungunya virus (mRNA-1944), and our Chikungunya vaccine (mRNA-1388) are currently being funded through subcontracts with funding from either the Biomedical Advanced Research and Development Authority (“BARDA”) or Defense Advanced Research Projects Agency (“DARPA”). Our SARS-CoV-2 vaccine (mRNA-1273) is being developed in collaboration with NIAID, and NIAID plans to conduct IND-enabling studies and a Phase 1 clinical study of mRNA-1273 in the United States. CEPI has agreed to fund the manufacture of the preliminary clinical batches of the mRNA-1273. Contracts and grants funded by the U.S. government and its agencies, including our agreements funded by BARDA and DARPA and our collaboration with NIAID, include provisions that reflect the government’s substantial rights and remedies, many of which are not typically found in commercial contracts, including powers of the government to:
terminate agreements, in whole or in part, for any reason or no reason;

189

Table of Contents

reduce or modify the government’s obligations under such agreements without the consent of the other party;
claim rights, including IP rights, in products and data developed under such agreements;
audit contract-related costs and fees, including allocated indirect costs;
suspend the contractor or grantee from receiving new contracts pending resolution of alleged violations of procurement laws or regulations;
impose U.S. manufacturing requirements for products that embody inventions conceived or first reduced to practice under such agreements;
suspend or debar the contractor or grantee from doing future business with the government;
control and potentially prohibit the export of products;
pursue criminal or civil remedies under the False Claims Act, False Statements Act, and similar remedy provisions specific to government agreements; and
 
limit the government’s financial liability to amounts appropriated by the U.S. Congress on a fiscal-year basis, thereby leaving some uncertainty about the future availability of funding for a program even after it has been funded for an initial period.
We may not have the right to prohibit the U.S. government from using certain technologies developed by us, and we may not be able to prohibit third-party companies, including our competitors, from using those technologies in providing products and services to the U.S. government. The U.S. government generally takes the position that it has the right to royalty-free use of technologies that are developed under U.S. government contracts.
In addition, government contracts and grants, and subcontracts and subawards awarded in the performance of those contracts and grants, normally contain additional requirements that may increase our costs of doing business, reduce our profits, and expose us to liability for failure to comply with these terms and conditions. These requirements include, for example:
specialized accounting systems unique to government contracts and grants;
mandatory financial audits and potential liability for price adjustments or recoupment of government funds after such funds have been spent;
public disclosures of certain contract and grant information, which may enable competitors to gain insights into our research program; and
mandatory socioeconomic compliance requirements, including labor standards, non-discrimination, and affirmative action programs, and environmental compliance requirements.

Further, under these agreements we are subject to the obligations to and the rights of the U.S. government set forth in the Bayh-Dole Act of 1980 (the “Bayh-Dole Act”). As a result, the U.S. government may have rights in certain inventions developed under these government-funded programs, including a non-exclusive, non-transferable, irrevocable worldwide license to use inventions for any governmental purpose. In addition, the U.S. government has the right to require us to grant exclusive, partially exclusive, or nonexclusive licenses to any of these inventions to a third party if it determines that: (i) adequate steps have not been taken to commercialize the invention; (ii) government action is necessary to meet public health or safety needs; or (iii) government action is necessary to meet requirements for public use under federal regulations, also referred to as “march-in rights.” While the U.S. government has sparingly used, and to our knowledge never successfully exercised, such march-in rights, any exercise of the march-in rights by the U.S. government could harm our competitive position, business, financial condition, results of operations, and prospects. If the U.S. government exercises such march-in rights, we may receive compensation that is deemed reasonable by the U.S. government in its sole discretion, which may be less than what we might be able to obtain in the open market. Intellectual property generated under a government funded program is also subject to certain reporting requirements, compliance with which may require us to expend substantial resources.

In addition, the U.S. government requires that any products embodying any invention generated through the use of U.S. government funding be manufactured substantially in the United States. The manufacturing preference requirement can be waived if the owner of the intellectual property can show that reasonable but unsuccessful efforts have been made to grant licenses on similar terms to potential licensees that would be likely to manufacture substantially in the United States or that under the circumstances domestic manufacture is not commercially feasible. This preference for U.S. manufacturers may limit our ability to contract with non-U.S. manufacturers for products covered by such intellectual property.

190

Table of Contents

As an organization, we are relatively new to government contracting and new to the regulatory compliance obligations that such contracting entails. If we fail to maintain compliance with those obligations, we may be subject to potential liability and to termination of our contracts.
As a U.S. government contractor, we are subject to financial audits and other reviews by the U.S. government of our costs and performance on their contracts, as well as our accounting and general business practices related to these contracts. Based on the results of its audits, the government may adjust our contract-related costs and fees, including allocated indirect costs. Although adjustments arising from government audits and reviews have not had a material adverse impact on our financial condition or results of operations in the past, we cannot assure you that future audits and reviews will not have those effects.
CEPI is a global organization that has publicly stated its intent to work with multiple global organizations on potential vaccines and therapies targeting the novel coronavirus, including other companies working on mRNA based approaches. There is a possibility that our confidential information may become exposed to others during this process, including the details and timing of our vaccine efforts.

Risks related to commercialization of our pipeline
We have no sales, distribution, or marketing experience, and may invest significant financial and management resources to establish these capabilities. If we are unable to establish such capabilities or enter into agreements with third parties to market and sell our future products, if approved, we may be unable to generate any revenues.
Given our stage of development, we have no sales, distribution, or marketing experience. To successfully commercialize any products that may result from our development programs, we will need to develop sales and marketing capabilities in the United States, Europe, or other regions, either on our own or with others. We may enter into strategic alliances with other entities to utilize their mature marketing and distribution capabilities, but we may be unable to enter into marketing agreements on favorable terms, if at all. If our future strategic collaborators do not commit sufficient resources to commercialize our future products, if any, and we are unable to develop the necessary marketing capabilities on our own, we may be unable to generate sufficient product revenue to sustain our business. We will be competing with many companies that currently have extensive and well-funded marketing and sales operations. Without a significant internal team or the support of a third party to perform marketing and sales functions, we may be unable to compete successfully against these more established companies.
The pharmaceutical market is intensely competitive. If we are unable to compete effectively with existing products, new treatment methods, and new technologies, we may be unable to commercialize successfully any products that we develop.
The pharmaceutical market is intensely competitive and rapidly changing. Many large pharmaceutical and biotechnology companies, academic institutions, governmental agencies, and other public and private research organizations are pursuing the development of novel products for the same diseases that we are targeting or expect to target. Many of our competitors have:
greater financial, technical, and human resources than we have at every stage of the discovery, development, manufacture, and commercialization of products;
more extensive experience in preclinical testing, conducting clinical trials, obtaining regulatory approvals, and in manufacturing, marketing, and selling products;
investigational medicines that are based on previously tested or accepted technologies;
products that have been approved or are in late stages of development; and
collaborative arrangements in our target markets with leading companies and research institutions.
We will face intense competition from products that have already been approved and accepted by the medical community for the treatment of the conditions for which we may develop products. We also expect to face competition from new products that enter the market. There are a number of products currently under development, which may become commercially available in the future, for the treatment of conditions for which we are trying, or may in the future try, to develop products. These products may be more effective, safer, less expensive, or marketed and sold more effectively, than any products we develop.

We anticipate competing with the largest pharmaceutical companies in the world, many of which are all currently conducting research in the fields of infectious diseases, immuno-oncology, rare genetic diseases, and cancer vaccines. Some of these companies have greater financial and human resources than we currently have. In addition to these large pharmaceutical companies, we may directly compete with fully-integrated biopharmaceutical companies and other immunotherapy-focused oncology companies, as well as a

191

Table of Contents

number of companies focused on mRNA medicines or shared tumor antigen and neoantigen therapeutics, some of which have entered into collaboration and funding agreements with larger pharmaceutical or biotechnology companies.
If we successfully develop investigational medicines, and obtain approval for them, we will face competition based on many different factors, including:
the safety and effectiveness of our products relative to alternative therapies, if any;
the ease with which our products can be administered and the extent to which patients accept relatively new routes of administration;
the timing and scope of regulatory approvals for these products;
the availability and cost of manufacturing, marketing, and sales capabilities;
the price of any approved mRNA medicine;
reimbursement coverage; and
patent position.
Our competitors may develop or commercialize products with significant advantages over any products we develop based on any of the factors listed above or on other factors. In addition, our competitors may develop strategic alliances with or receive funding from larger pharmaceutical or biotechnology companies, providing them with an advantage over us. Our competitors may therefore be more successful in commercializing their products than we are, which could adversely affect our competitive position and business. Competitive products may make any products we develop obsolete or noncompetitive before we can recover the expenses of developing and commercializing our products, if approved.
The commercial success of any current or future investigational medicine, if approved, will depend upon the degree of market acceptance by physicians, patients, third-party payors, and others in the medical community.
Ethical, social, and legal concerns about genetic research could result in additional regulations restricting or prohibiting the products and processes we may use. Even with the requisite approvals, the commercial success of our products will depend in part on the medical community, patients, and third-party or governmental payors accepting mRNA medicines in general, and our products in particular, as medically useful, cost-effective, and safe. Any product that we bring to the market may not gain market acceptance by physicians, trial participants, third-party payors, and others in the medical community. If these products do not achieve an adequate level of acceptance, we may not generate significant product revenue and may not become profitable. The degree of market acceptance of our investigational medicines, if approved for commercial sale, will depend on a number of factors, including:
the potential efficacy and potential advantages over alternative treatments;
the ability to offer our products, if approved, at competitive prices;
the prevalence and severity of any side effects, including any limitations or warnings contained in a product’s approved labeling;
the prevalence and severity of any side effects resulting from checkpoint inhibitors or other products or therapies with which our products are co-administered;
relative convenience and ease of administration;
any restrictions on the use of our products, if approved, together with other medications;
the willingness of the target patient population to try new therapies and of physicians to prescribe these therapies;
the strength of marketing and distribution support and timing of market introduction of competitive products;
publicity concerning our products or competing products and treatments; and
sufficient third-party insurance coverage or reimbursement, and patients’ willingness to pay out-of-pocket in the absence of third-party coverage or adequate reimbursement.
Even if a potential product displays a favorable efficacy and safety profile in preclinical and clinical studies, market acceptance of the product will not be known until after it is launched. Our efforts to educate the medical community and third-party payors on the benefits of the products may require significant resources and may never be successful. Our efforts to educate the marketplace may

192

Table of Contents

require more resources than are required by the conventional technologies marketed by our competitors due to the complexity and uniqueness of our programs.
Even if we are successful in obtaining marketing approval for any product, commercial success of any approved products will also depend in large part on the availability of coverage and adequate reimbursement from third-party payors, including government payors such as the Medicare and Medicaid programs, and entry into managed care organizations, which may be affected by existing and future healthcare reform measures designed to reduce the cost of healthcare. Third-party payors could require us to conduct additional studies, including post-marketing studies related to the cost effectiveness of a product, to qualify for reimbursement, which could be costly and divert our resources. If government and other healthcare payors do not provide adequate coverage and reimbursement levels for any of our products once approved, whether due to healthcare reform legislation or otherwise, market acceptance and commercial success would be reduced.
In addition, if any of our products are approved for marketing, we or a strategic collaborator will be subject to significant regulatory obligations regarding the submission of safety and other post-marketing information and reports for such product, and will need to continue to comply (or ensure that our third-party providers comply) with cGMP and current GCPs for any clinical trials that we or a strategic collaborator conduct post-approval. In addition, there is always the risk that we or a strategic collaborator or regulatory authority might identify previously unknown problems with a product post-approval, such as adverse events of unanticipated severity or frequency. Compliance with these requirements is costly, and any such failure to comply or other issues with our investigational medicines identified post-approval could have a material adverse impact on our business, financial condition, and results of operations.
We may market our products outside of the United States, and we will be subject to the risks of doing business outside of the United States.
Because we plan to market our products, if approved, outside of the United States, our business is subject to risks associated with doing business outside of the United States including, an increase in our expenses, diversion of our management’s attention from the acquisition or development of investigational medicines, or forgoing profitable licensing opportunities in these geographies. Accordingly, our business and financial results in the future could be adversely affected due to a variety of factors, including:
efforts to develop an international sales, marketing, and distribution organization;
changes in a specific country’s or region’s political and cultural climate or economic condition;
unexpected changes in foreign laws and regulatory requirements;
difficulty of effective enforcement of contractual provisions in local jurisdictions;
inadequate IP protection in foreign countries;
trade-protection measures, import or export licensing requirements such as Export Administration Regulations promulgated by the U.S. Department of Commerce and fines, penalties, or suspension or revocation of export privileges;
the effects of applicable foreign tax structures and potentially adverse tax consequences; and
significant adverse changes in foreign currency exchange rates.
In addition to FDA and related regulatory requirements in the United States and abroad, we are subject to extensive additional federal, state and foreign anti-bribery regulations, which include the U.S. Foreign Corrupt Practices Act, the U.K. Bribery Act, and similar laws in other countries outside of the United States. We are developing and implementing a corporate compliance program based on what we believe are current best practices in the pharmaceutical industry for companies similar to ours, but we cannot guarantee that we, our employees, our consultants, or our third-party contractors are or will be in compliance with all federal, state, and foreign regulations regarding bribery and corruption. Moreover, our strategic collaborators and third-party contractors located outside the United States may have inadequate compliance programs or may fail to respect the laws and guidance of the territories in which they operate. Even if we are not determined to have violated these laws, government investigations into these issues typically require the expenditure of significant resources and generate negative publicity, which could also have an adverse effect on our business, financial condition, and results of operations.
The insurance coverage and reimbursement status of newly-approved products, particularly in a new class of medicines, is uncertain. Failure to obtain or maintain adequate coverage and reimbursement for new or current products could limit our ability to market those products and decrease our ability to generate revenue.
The availability and extent of reimbursement by governmental and private payors is essential for most patients to be able to afford expensive treatments such as the medicines that we hope to develop and sell. Adequate coverage and reimbursement from governmental healthcare programs, such as Medicare and Medicaid, and commercial payors is critical to new product acceptance. In

193

Table of Contents

addition, because our personalized cancer vaccine and intratumoral immuno-oncology investigational medicines represent new approaches to the treatment of cancer, we cannot accurately estimate how these products would be priced, whether reimbursement could be obtained, or any potential revenue. Sales of our investigational medicines will depend substantially, both domestically and abroad, on the extent to which the costs of our investigational medicines will be paid by health maintenance, managed care, pharmacy benefit, and similar healthcare management organizations, or reimbursed by government health administration authorities, private health coverage insurers, and other third-party payors. If reimbursement is not available, or is available only to limited levels, we may not be able to successfully commercialize our investigational medicines. Even if coverage is provided, the approved reimbursement amount may not be high enough to allow us to establish or maintain pricing sufficient to realize a sufficient return on our investment in any of our products.
There is significant uncertainty related to the insurance coverage and reimbursement of newly approved products, including genetic medicines and coverage may be more limited than the purposes for which the medicine is approved by the FDA or comparable foreign regulatory authorities. In the United States, the principal decisions about reimbursement for new medicines are typically made by the Centers for Medicare & Medicaid Services (“CMS”), an agency within the U.S. Department of Health and Human Services (“HHS”), as CMS decides whether and to what extent a new medicine will be covered and reimbursed under Medicare. Private payors tend to follow CMS to a substantial degree. It is difficult to predict what CMS will decide with respect to reimbursement for novel products such as ours. Reimbursement agencies in Europe may be more conservative than CMS. For example, a number of cancer drugs have been approved for reimbursement in the United States and have not been approved for reimbursement in certain European countries.
Outside the United States, certain countries, including a number of member states of the EU, set prices and reimbursement for pharmaceutical products, or medicinal products, as they are commonly referred to in the EU, with limited participation from the marketing authorization holders. We cannot be sure that such prices and reimbursement will be acceptable to us or our strategic collaborators. If the regulatory authorities in these foreign jurisdictions set prices or reimbursement levels that are not commercially attractive for us or our strategic collaborators, our revenues from sales by us or our strategic collaborators, and the potential profitability of our drug products, in those countries would be negatively affected. An increasing number of countries are taking initiatives to attempt to reduce large budget deficits by focusing cost-cutting efforts on pharmaceuticals for their state-run healthcare systems. These international price control efforts have impacted all regions of the world, but have been most drastic in the EU. Additionally, some countries require approval of the sale price of a product before it can be marketed. In many countries, the pricing review period begins after marketing or product licensing approval is granted. As a result, we might obtain marketing approval for a product in a particular country, but then may experience delays in the reimbursement approval of our product or be subject to price regulations that would delay our commercial launch of the product, possibly for lengthy time periods, which could negatively impact the revenues we are able to generate from the sale of the product in that particular country.
Moreover, increasing efforts by governmental and third-party payors, in the United States and abroad, to cap or reduce healthcare costs may cause such organizations to limit both coverage and level of reimbursement for new products approved and, as a result, they may not cover or provide adequate payment for our investigational medicines. For example, the U.S. government recently released a “Blueprint”, or plan, to reduce the cost of drugs. This Blueprint contains certain measures that the HHS is already working to implement. For example, in May 2019, CMS issued a final rule that amends the Medicare Advantage and Medicare Part D prescription drug benefit regulations to reduce out of pocket costs for plan enrollees and allow Medicare plans to negotiate lower rates for certain drugs. Among other things, the final rule now allows Medicare Advantage plans the option to use step therapy, a type of pre-authorization, for Part B drugs beginning January 1, 2020. This final rule codified CMS’s policy change that was effective January 1, 2019. At the state level, legislatures are increasingly passing legislation and implementing regulations designed to control pharmaceutical and biological product pricing, including price or patient reimbursement constraints, discounts, or restrictions on certain product access, and marketing cost disclosure and transparency measures, which, in some cases, are designed to encourage importation from other countries and bulk purchasing.

We expect to experience pricing pressures in connection with the sale of any of our investigational medicines, due to the trend toward managed healthcare, the increasing influence of health maintenance organizations and additional legislative changes. The downward pressure on healthcare costs in general, particularly prescription drugs and surgical procedures and other treatments, has become very intense. As a result, increasingly high barriers are being erected to the entry of new products.
Recent federal legislation and actions by state and local governments may permit reimportation of drugs from foreign countries into the United States, including foreign countries where the drugs are sold at lower prices than in the United States, which could materially adversely affect our operating results.

We may face competition in the United States for our product candidates, if approved, from therapies sourced from foreign countries that have placed price controls on pharmaceutical products. In the United States, the Medicare Modernization Act contains provisions that may change U.S. importation laws and expand pharmacists’ and wholesalers’ ability to import cheaper versions of an approved drug and competing products from Canada, where there are government price controls. These changes to U.S. importation laws will not take effect unless and until the Secretary of the HHS certifies that the changes will pose no additional risk to the public’s health

194

Table of Contents

and safety and will result in a significant reduction in the cost of products to consumers. On December 18, 2019, FDA issued a notice of proposed rulemaking that, if finalized, would allow for the importation of certain prescription drugs from Canada. The Secretary of HHS would make the above certification to Congress upon issuance of a final rule based on this proposal. FDA also issued a draft guidance document outlining a potential pathway for manufacturers to obtain an additional National Drug Code, or NDC, for an FDA-approved drug that was originally intended to be marketed in a foreign country and that was authorized for sale in that foreign country. The regulatory and market implications of the notice of proposed rulemaking and draft guidance are unknown at this time. Proponents of drug reimportation may attempt to pass legislation that would directly allow reimportation under certain circumstances. Legislation or regulations allowing the reimportation of drugs, if enacted, could decrease the price we receive for any products that we may develop and adversely affect our future revenues and prospects for profitability.

Healthcare legislative reform discourse and potential or enacted measures may have a material adverse impact on our business and results of operations and legislative or political discussions surrounding the desire for and implementation of pricing reforms may adversely impact our business.

In the United States, there have been and continue to be a number of legislative initiatives to contain healthcare costs. For example, in March 2010, the ACA was passed, which substantially changes the way health care is financed by both governmental and private insurers, and significantly impacts the U.S. pharmaceutical industry. The ACA, among other things, increased the minimum Medicaid rebates owed by manufacturers under the Medicaid Drug Rebate Program and extended the rebate program to individuals enrolled in Medicaid managed care organizations, established annual fees and taxes on manufacturers of certain branded prescription drugs, and promoted a new Medicare Part D coverage gap discount program. Considerable uncertainty remains regarding the implementation and impact of the ACA.
Since its enactment, there have been numerous judicial, administrative, executive, and legislative challenges to certain aspects of the ACA, and we expect there will be additional challenges and amendments to the ACA in the future. For example, various portions of the ACA are currently undergoing legal and constitutional challenges in the Fifth Circuit Court and the United States Supreme Court, and the Trump Administration has issued various Executive Orders which eliminated cost sharing subsidies and various provisions that would impose a fiscal burden on states or a cost, fee, tax, penalty or regulatory burden on individuals, healthcare providers, health insurers, or manufacturers of pharmaceuticals or medical devices. Additionally, Congress has introduced several pieces of legislation aimed at significantly revising or repealing the ACA. It is unclear whether the ACA will be overturned, repealed, replaced, or further amended. We cannot predict what affect further changes to the ACA would have on our business.
In addition, other legislative changes have been proposed and adopted in the United States since the ACA was enacted. The Budget Control Act of 2011, among other things, created measures for spending reductions by the U.S. Congress. A Joint Select Committee on Deficit Reduction, tasked with recommending a targeted deficit reduction of at least $1.2 trillion for the years 2013 through 2021, was unable to reach required goals, thereby triggering the legislation’s automatic reduction to several government programs. This includes aggregate reductions of Medicare payments to providers up to 2% per fiscal year. These reductions will remain in effect through 2029 unless additional Congressional action is taken.
Further, legislative and regulatory proposals have been made to expand post-approval requirements and restrict sales and promotional activities for pharmaceutical products. We cannot be sure whether additional legislative changes will be enacted, or whether FDA regulations, guidance, or interpretations will be changed, or what the impact of such changes on the marketing approvals, if any, of our development candidates, may be. In addition, increased scrutiny by the U.S. Congress of the FDA’s approval process may significantly delay or prevent marketing approval, as well as subject us to more stringent product labeling and post-marketing conditions and other requirements.
The delivery of healthcare in the EU, including the establishment and operation of health services and the pricing and reimbursement of medicines, is almost exclusively a matter for national, rather than EU, law and policy. National governments and health service providers have different priorities and approaches to the delivery of health care and the pricing and reimbursement of products in that context. In general, however, the healthcare budgetary constraints in most EU member states have resulted in restrictions on the pricing and reimbursement of medicines by relevant health service providers. Coupled with ever-increasing EU and national regulatory burdens on those wishing to develop and market products, this could prevent or delay marketing approval of our investigational medicines, restrict or regulate post-approval activities, and affect our ability to commercialize any products for which we obtain marketing approval.
We expect that additional foreign, state, and federal healthcare reform measures or proposals will be adopted in the future, any of which could limit the amounts that federal and state governments will pay for healthcare products and services, which could result in reduced demand for our investigational medicines or additional pricing pressures. In the event that the pricing structures for healthcare products, such as the investigational medicines we are developing, change materially and limit payments for such investigational medicines, our business will be adversely impacted as our products may no longer be commercially viable based on their expected net present value, we may have invested significant resources in products that cannot be commercially developed, or we may determine

195

Table of Contents

that assets that have reached an early phase of development cannot or will not be taken into further development, notwithstanding their clinical viability. In addition, development assets or clinical programs that are part of our strategic alliances may no longer be deemed commercially viable to pursue based on our strategic collaborators’ assessments of the impact of any proposed, announced, or legislated pricing reforms.
We cannot predict what healthcare reform initiatives may be adopted in the future. Further federal, state, and foreign legislative and regulatory developments are likely, and we expect ongoing initiatives to increase pressure on drug pricing. Such reforms could have an adverse effect on anticipated revenues from investigational medicines that we may successfully develop and for which we may obtain regulatory approval, and may affect our overall financial condition and ability to develop investigational medicines.
Due to the novel nature of our technology, we face uncertainty related to pricing and reimbursement for these investigational medicines.
Target patient populations for certain of our investigational medicines, such as those for rare genetic diseases, may be relatively small, and certain of our investigational medicines, like PCV, require customization on an individual scale. As a result, the pricing and reimbursement of our investigational medicines, if approved, must be adequate to support commercial infrastructure. If we are unable to obtain adequate levels of reimbursement, our ability to successfully market and sell our investigational medicines will be adversely affected. The manner and level at which reimbursement is provided for services related to our investigational medicines (e.g., for administration of our product to patients) is also important. Inadequate reimbursement for such services may lead to physician resistance and adversely affect our ability to market or sell our products.
If the market opportunities for our development candidates or investigational medicines are smaller than we believe they are, our revenue may be adversely affected and our business may suffer. Because the target patient populations for some of our programs are small, we must be able to successfully identify clinical trial participants and achieve a significant market share to maintain profitability and growth.
An important area of focus of our research and product development activities is the development of treatments for severe rare genetic diseases. Our projections of both the number of people who have these diseases, as well as the subset of people with these diseases who have the potential to benefit from treatment with our programs, are based on estimates. These estimates have been derived from a variety of sources, including scientific literature, surveys of clinics, patient foundations, or market research, and may prove to be incorrect. Further, new studies may change the estimated incidence or prevalence of these diseases. The number of clinical trial participants in the United States, Europe, and elsewhere may turn out to be lower than expected, potential clinical trial participants may not be otherwise amenable to treatment with our products, or new clinical trial participants may become increasingly difficult to identify or gain access to, all of which would adversely affect our results of operations and our business.
The market opportunities of some of our programs may be limited to those patients who are ineligible for or have failed prior treatments and for which the market opportunities may be small.
The FDA often approves new therapies initially only for use by patients with relapsed or refractory advanced disease. We expect to initially seek approval of our PCV and intratumoral immuno-oncology investigational medicines in this context. Subsequently, for those products that prove to be sufficiently beneficial, if any, we would expect to seek approval in earlier lines of treatment and potentially as a first line therapy but there is no guarantee that our investigational medicines, even if approved, would be approved for earlier lines of therapy, and, prior to any such approvals, we may have to conduct additional clinical trials.
Our projections of both the number of people who have the cancers we may be targeting, as well as the subset of people with these cancers in a position to receive second or third line therapy, and who have the potential to benefit from treatment with our investigational medicines, are based on our beliefs and estimates. These estimates have been derived from a variety of sources, including scientific literature, surveys of clinics, patient foundations, or market research, and may prove to be incorrect. Further, new studies may change the estimated incidence or prevalence of these cancers. The number of trial participants may turn out to be lower than expected. Additionally, the potentially addressable patient population for our investigational medicines may be limited or may not be amenable to treatment with our investigational medicines. Even if we obtain significant market share for our products, if approved, because the potential target populations are small, we may never achieve profitability without obtaining regulatory approval for additional indications.
 
Risks related to our business and operations
We will need to develop and expand our Company, and we may encounter difficulties in managing this development and expansion, which could disrupt our operations.
We have approximately 830 full-time employees and, in connection with the growth and advancement of our pipeline and operating as a public company, we expect to increase the number of employees and the scope of our operations. To manage our anticipated

196

Table of Contents

development and expansion, including expansion outside of the United States, we must continue to implement and improve our managerial, operational, and financial systems, expand our facilities, and continue to recruit and train additional qualified personnel. Also, our management may need to divert a disproportionate amount of its attention away from its day-to-day activities and devote a substantial amount of time to managing these development activities.

As a growing biotechnology company, we are actively pursuing development candidates and investigational medicines in many therapeutic areas and across a wide range of diseases. Successfully developing products for and fully understanding the regulatory and manufacturing pathways to all of these therapeutic areas and disease states requires a significant depth of talent, resources, and corporate processes in order to allow simultaneous execution across multiple areas. Due to our limited resources and early stage of growth, we may not be able to effectively manage this simultaneous execution and the expansion of our operations or recruit and train additional qualified personnel. This may result in weaknesses in our infrastructure, give rise to operational mistakes, loss of business opportunities, loss of employees, and reduced productivity among remaining employees. The physical expansion of our operations may lead to significant costs and may divert financial resources from other projects, such as the development of our investigational medicines. If our management is unable to effectively manage our expected development and expansion, our expenses may increase more than expected, our ability to generate or increase our revenue could be reduced, and we may not be able to implement our business strategy. Our future financial performance and our ability to commercialize our investigational medicines, if approved, and compete effectively will depend, in part, on our ability to effectively manage the future development and expansion of our company.
Our future success depends on our ability to retain key employees, consultants, and advisors and to attract, retain, and motivate qualified personnel. We may not be able to retain employees or executives who have vested stock options.
Our ability to compete in the highly competitive biotechnology and pharmaceutical industries depends upon our ability to attract and retain highly qualified managerial, scientific, and medical personnel. We are highly dependent upon members of our management and scientific teams. Each of our executive officers and all of our employees, including key scientists and clinicians, are employed “at will,” meaning we or each officer or employee may terminate the employment relationship at any time. The loss of any of these persons’ services may adversely impact the achievement of our research, development, financing, and commercialization objectives. We currently do not have “key person” insurance on any of our employees. Many of our key employees, including members of our executive team, have been with us for a long period of time, and have valuable, fully vested stock options or other long-term equity incentives. We may not be able to retain these employees due to the competitive environment in the biotechnology industry, particularly in Cambridge, Massachusetts.
In addition, we rely on consultants, contractors, and advisors, including scientific and clinical advisors, to assist us in formulating our research and development, regulatory approval, and commercialization strategy. Our consultants and advisors may be employed by employers other than us and may have commitments under consulting or advisory contracts with other entities that may limit their availability to us. The loss of the services of one or more of our current employees or advisors might impede the achievement of our research, development, regulatory approval, and commercialization objectives. In addition, we have flexibly grown our workforce through the use of contractors and part time workers. We may not be able to retain the services of such personnel which might result in delays in the operation of our business.
Recruiting and retaining other qualified employees, consultants, and advisors for our business, including scientific and technical personnel, also will be critical to our success. Competition for skilled personnel, including in mRNA and LNP research, clinical operations, regulatory affairs, therapeutic area management, and manufacturing, is intense and the turnover rate can be high. We may not be able to attract and retain personnel on favorable terms given the competition among numerous pharmaceutical and biotechnology companies and academic institutions for individuals with similar skill sets. In addition, adverse publicity, failure to succeed in preclinical or clinical trials or applications for marketing approval may make it more challenging to recruit and retain qualified personnel. The inability to recruit, or loss of services of certain executives, key employees, consultants, or advisors, may impede the progress of our research, development and commercialization objectives and have a material adverse impact on our business, financial condition, results of operations, and prospects.
Our employees, principal investigators, and consultants may engage in misconduct or other improper activities, including non-compliance with regulatory standards and requirements and insider trading.
We are exposed to the risk of fraud or other misconduct by our employees, principal investigators, and consultants. Misconduct by these parties could include intentional failures to comply with FDA regulations or the regulations applicable in the EU and other jurisdictions; provide accurate information to the FDA, the EMA, and other regulatory authorities; comply with healthcare fraud and abuse laws and regulations in the United States and abroad; or report financial information or data accurately or disclose unauthorized activities to us. Such misconduct also could involve the improper use of information obtained in the course of clinical trials or interactions with the FDA or other regulatory authorities, which could result in regulatory sanctions and cause serious harm to our reputation. Sales, marketing, and business arrangements in the healthcare industry are subject to extensive laws and regulations intended to prevent fraud, misconduct, kickbacks, self-dealing, and other abusive practices. These laws and regulations restrict or prohibit a wide range of pricing, discounting, marketing and promotion, sales commission, customer incentive programs, and other

197

Table of Contents

business arrangements. We have adopted a code of conduct applicable to all of our employees, but it is not always possible to identify and deter employee misconduct, and the precautions we take to detect and prevent this activity may not be effective in controlling unknown or unmanaged risks or losses or in protecting us from government investigations or other actions or lawsuits stemming from a failure to comply with these laws or regulations. If any such actions are instituted against us, and we are not successful in defending ourselves or asserting our rights, those actions could have a significant impact on our business, financial condition, results of operations, and prospects, including the imposition of significant fines or other sanctions.
Employee litigation and unfavorable publicity could negatively affect our future business.
Our employees may, from time to time, bring lawsuits against us regarding injury, creating a hostile work place, discrimination, wage and hour disputes, sexual harassment, or other employment issues. In recent years there has been an increase in the number of discrimination and harassment claims generally. Coupled with the expansion of social media platforms and similar devices that allow individuals access to a broad audience, these claims have had a significant negative impact on some businesses. Certain companies that have faced employment- or harassment-related lawsuits have had to terminate management or other key personnel, and have suffered reputational harm that has negatively impacted their business. If we were to face any employment-related claims, our business could be negatively affected.
We have never generated any revenue from product sales and may never be profitable.
Our ability to generate revenue and achieve profitability depends on our ability, alone or with strategic collaborators, to successfully complete the development of, and obtain the regulatory approvals necessary to commercialize our investigational medicines. We do not anticipate generating revenues from product sales for the foreseeable future, if ever. Our ability to generate future revenues from product sales depends heavily on our success in:
completing research, preclinical, and clinical development of our development candidates and investigational medicines;
seeking and obtaining U.S. and foreign marketing approvals for investigational medicines for which we complete clinical studies;
developing a sustainable, stable, consistent, and transferable manufacturing process or processes for our development candidates and investigational medicines;
developing a sustainable, scalable, consistent, time sensitive, and transferable manufacturing process for our personalized cancer vaccine investigational medicine;
furthering the development of our own manufacturing capabilities and manufacturing relationships with third parties in order to provide adequate (in amount and quality) products and services to support clinical development and the market demand for our investigational medicines, if approved;
obtaining market acceptance of our investigational medicines as a treatment option;
launching and commercializing investigational medicines for which we obtain marketing approval and reimbursement, either by collaborating with a strategic collaborator or, if launched independently, by establishing a sales force, marketing, and distribution infrastructure;
addressing any competing technological and market developments;
implementing additional internal systems and infrastructure;
negotiating favorable terms in any collaboration, licensing, or other arrangements into which we may enter;
maintaining, defending, protecting, and expanding our portfolio of IP rights, including patents, trade secrets and know-how; and
attracting, hiring, and retaining qualified personnel.
Even if one or more of the investigational medicines that we develop is approved for commercial sale, we anticipate incurring significant costs associated with commercializing any approved investigational medicine. Our expenses could increase beyond expectations if we are required by the FDA, the EMA, or other regulatory agencies to perform clinical and other studies or make changes to our manufacturing or quality systems in addition to those that we currently anticipate. Even if we are able to generate revenues from the sale of any approved products, we may not become profitable and may need to obtain additional funding to continue operations.

198

Table of Contents

Our internal computer systems, or those of our strategic collaborators or other contractors or consultants, may fail or suffer security breaches, which could result in a material disruption of our product development programs and our manufacturing operations.
Our internal computer systems and those of our current and any future strategic collaborators, vendors, and other contractors or consultants are vulnerable to damage from computer viruses, unauthorized access, natural disasters, terrorism, cybersecurity threats, war, and telecommunication and electrical failures. While we have not experienced any such material system failure, accident, or security breach to date that we are aware of, if such an event were to occur and cause interruptions in our operations, it could result in a material disruption of our development programs and our business operations, whether due to a loss of our trade secrets or other proprietary information or other similar disruptions. For example, the loss of clinical trial data from one or more ongoing or completed or future clinical trials could result in delays in our regulatory approval efforts and significantly increase our costs to recover or reproduce the data. In addition because of our approach to running multiple clinical trials in parallel, any breach of our computer systems may result in a loss of data or compromised data integrity across many of our programs in many stages of development. Any such breach, loss, or compromise of clinical trial participant personal data may also subject us to civil fines and penalties, either under the General Data Protection Regulation (“GDPR”) and relevant member state law in the EU, other foreign laws, and the federal Health Insurance Portability and Accountability Act of 1996 (“HIPAA”), and other relevant state and federal privacy laws in the United States. To the extent that any disruption or security breach were to result in a loss of, or damage to, our data or applications, or inappropriate disclosure of confidential or proprietary information, we could incur liability, our competitive position could be harmed, and the further development and commercialization of our investigational medicines could be delayed.
We may use our financial and human resources to pursue a particular research program or investigational medicine and fail to capitalize on programs or investigational medicines that may be more profitable or for which there is a greater likelihood of success.
Because we have limited resources, we must choose to pursue and fund the development of selected research programs or investigational medicines and may forego or delay pursuit of opportunities with other programs or investigational medicines that could later prove to have greater commercial potential. Our resource allocation decisions, or our contractual commitments to provide resources to our strategic collaborators under strategic alliance agreements, may cause us to fail to capitalize on viable commercial products or profitable market opportunities. Our spending on current and future research and development programs for investigational medicines may not yield any commercially viable products. If we do not accurately evaluate the commercial potential or target market for a particular investigational medicine, we may relinquish valuable rights to that investigational medicine through a strategic alliance, licensing, or other royalty arrangements in cases in which it would have been more advantageous for us to retain sole development and commercialization rights to such investigational medicine, or we may allocate internal resources to an investigational medicine in a therapeutic area in which it would have been more advantageous to enter into a strategic alliance.
If we are not successful in discovering, developing, and commercializing additional products beyond our current portfolio, our ability to expand our business and achieve our strategic objectives would be impaired.
Although a substantial amount of our efforts will focus on the clinical trials and potential approval of our existing investigational medicines, a key element of our strategy is to discover, develop, and potentially commercialize additional products beyond our current portfolio to treat various conditions and in a variety of therapeutic areas. We intend to do so by investing in our own drug discovery efforts, exploring potential strategic alliances for the development of new products, and in-licensing technologies. Identifying new investigational medicines requires substantial technical, financial, and human resources, whether or not any investigational medicines are ultimately identified. Even if we identify investigational medicines that initially show promise, we may fail to successfully develop and commercialize such products for many reasons, including the following:
the research methodology used may not be successful in identifying potential investigational medicines;
competitors may develop alternatives that render our investigational medicines obsolete;
investigational medicines we develop may nevertheless be covered by third parties’ patents or other exclusive rights;
an investigational medicine may, on further study, be shown to have harmful side effects or other characteristics that indicate it is unlikely to be effective or otherwise does not meet applicable regulatory criteria;
an investigational medicine may not be capable of being produced in commercial quantities at an acceptable cost, or at all; and
an approved product may not be accepted as safe and effective by trial participants, the medical community or third-party payors.
If we are unsuccessful in identifying and developing additional products, our potential for growth may be impaired.

199

Table of Contents

Product liability lawsuits against us could cause us to incur substantial liabilities and could limit commercialization of any investigational medicine that we may develop.
We face an inherent risk of product liability exposure related to the testing of any of our current or future investigational medicines in clinical trials, and we may face an even greater risk if we commercialize any investigational medicine that we may develop. If we cannot successfully defend ourselves against claims that our investigational medicines caused injuries, we could incur substantial liabilities. Regardless of merit or eventual outcome, liability claims may result in:
decreased demand for any investigational medicine that we may develop;
loss of revenue;
substantial monetary awards to patients, healthy volunteers, or their children;
significant time and costs to defend the related litigation;
withdrawal of clinical trial participants;
the inability to commercialize any investigational medicine(s) that we may develop; and
injury to our reputation and significant negative media attention.
We carry product liability insurance which we believe to be sufficient in light of our current clinical programs; however, we may not be able to maintain insurance coverage at a reasonable cost or in sufficient amounts to protect us against losses due to liability. If and when we obtain marketing approval for investigational medicines, we intend to expand our insurance coverage to include the sale of commercial products; however, we may be unable to obtain product liability insurance on commercially reasonable terms or in adequate amounts. On occasion, large judgments have been awarded in class action lawsuits based on drugs or medical treatments that had unanticipated adverse effects. A successful product liability claim or series of claims brought against us could cause our stock price to decline and, if judgments exceed our insurance coverage, could adversely affect our results of operations and business.
We may be subject, directly or indirectly, to federal and state healthcare fraud and abuse laws, false claims laws, and health information privacy and security laws. If we are unable to comply, or have not fully complied, with such laws, we could face substantial penalties.
If we obtain FDA approval for any of our investigational medicines and begin commercializing those products in the United States, our operations will be directly, or indirectly through our prescribers, customers, and purchasers, subject to various federal and state fraud and abuse laws and regulations, including, without limitation, the federal Health Care Program Anti-Kickback Statute, the federal civil and criminal False Claims Act, and Physician Payments Sunshine Act and regulations. These laws will impact, among other things, our proposed sales, marketing, and educational programs. In addition, we may be subject to patient privacy laws enacted by both the federal government and the states in which we conduct our business. The laws that will affect our operations include, but are not limited to the following:
The federal Anti-Kickback Statute, which prohibits, among other things, persons or entities from knowingly and willfully soliciting, receiving, offering, or paying any remuneration (including any kickback, bribe, or rebate), directly or indirectly, overtly or covertly, in cash or in kind, to induce or reward, or in return for, either the referral of an individual for, or the for the purchase, order or recommendation or arranging of, any good, leasing, or furnishing of an item or service reimbursable under a federal healthcare program, such as the Medicare and Medicaid programs. The government may assert that a claim including items or services resulting from a violation of the federal Anti-Kickback Statute constitutes a false or fraudulent claim for purposes of the federal civil False Claims Act or federal civil money penalties statute. This statute has been interpreted to apply to arrangements between pharmaceutical manufacturers on the one hand, and prescribers, purchasers, and formulary managers on the other. Although there are several statutory exceptions and regulatory safe harbors protecting certain common activities from prosecution, they are drawn narrowly, and practices that involve remuneration intended to induce prescribing, purchasing or recommending may be subject to scrutiny if they do not qualify for an exception or safe harbor. The ACA amends the intent requirement of the federal Anti-Kickback Statute to provide that a person or entity no longer needs to have actual knowledge of this statute or specific intent to violate it.
The federal civil and criminal false claims laws and civil monetary penalty laws, including the federal False Claims Act, prohibit, among other things, individuals or entities from knowingly presenting, or causing to be presented, claims for payment or approval from Medicare, Medicaid, or other government payors that are false or fraudulent. In addition, the government may assert that a claim including items or services resulting from a violation of the Anti-Kickback Statute constitutes a false or fraudulent claim for purposes of the federal False Claims Act or federal civil money penalties statute. Manufacturers can be held liable under the False Claims Act even when they do not submit claims directly to government payors if they are deemed to “cause” the submission of false or fraudulent claims. Companies that submit claims directly to

200

Table of Contents

payors may also be liable under the False Claims Act for the direct submission of such claims. The False Claims Act also permits a private individual acting as a “whistleblower” to bring actions on behalf of the federal government alleging violations of the False Claims Act and to share in any monetary recovery. The ACA provides, and recent government cases against pharmaceutical and medical device manufacturers support, the view that federal Anti-Kickback Statute violations and certain marketing practices, including off-label promotion, may implicate the False Claims Act.
The anti-inducement law prohibits, among other things, the offering or giving of remuneration, which includes, without limitation, any transfer of items or services for free or for less than fair market value (with limited exceptions), to a Medicare or Medicaid beneficiary that the person knows or should know is likely to influence the beneficiary’s selection of a particular supplier of items or services reimbursable by a federal or state governmental program.

The federal Health Insurance Portability and Accountability Act of 1966 (“HIPAA”), and its implementing regulations, which create new federal criminal statutes that prohibit a person from knowingly and willfully executing, or attempting to execute, a scheme or making false or fraudulent statements to defraud any healthcare benefit program, regardless of the payor (e.g., public or private),or obtain, by means of false or fraudulent pretenses, representations, or promises, any of the money or property owned by, or under the custody or control of, any healthcare benefit program, regardless of the payor (e.g., public or private) and knowingly and willfully falsifying, concealing or covering up by any trick or device a material fact or making any materially false statements in connection with the delivery of, or payment for, healthcare benefits, items or services relating to healthcare matters. Similar to the federal Anti-Kickback Statute, a person or entity can be found guilty of violating HIPAA without actual knowledge of the statute or specific intent to violate it.

HIPAA, as amended by the Health Information Technology for Economic and Clinical Health Act of 2009, or HITECH, and their implementing regulations, imposes certain requirements relating to the privacy, security, and transmission of individually identifiable health information without appropriate authorization by entities subject to the rule, such as health plans, health care clearinghouses, and health care providers as well as their respective “business associates,” those independent contractors or agents of covered entities that create, receive, maintain, transmit or obtain protected health information in connection with providing a service on behalf of a covered entity. HITECH also created new tiers of civil monetary penalties, amended HIPAA to make civil and criminal penalties directly applicable to business associates, and gave state attorneys general new authority to file civil actions for damages or injunctions in federal courts to enforce the federal HIPAA laws and seek attorneys’ fees and costs associated with pursuing federal civil actions.

The U.S. Federal Food, Drug and Cosmetic Act, which prohibits, among other things, the adulteration or misbranding of drugs, biologics, and medical devices.

Federal transparency laws, including the federal Physician Payment Sunshine Act, which require disclosure of payments and other transfers of value provided by manufacturers of drugs, devices, biologicals and medical supplies to physicians (currently defined to include doctors, dentists, optometrists, podiatrists and chiropractors) and teaching hospitals, and ownership and investment interests held by physicians and other healthcare providers and their immediate family members and applicable group purchasing organizations. Effective January 1, 2022, these reporting obligations will extend to include transfers of value made to certain non-physician providers such as physician assistants and nurse practitioners.
State law equivalents of each of the above federal laws, state laws that require drug manufacturers to report information related to payments and other transfers of value to physicians and other healthcare providers or marketing expenditures and state laws governing the privacy and security of health information in certain circumstances are also applicable to us and many of them differ from each other in significant ways and may not have the same effect, thus complicating compliance efforts in certain circumstances.

The provision of benefits or advantages to physicians to induce or encourage the prescription, recommendation, endorsement, purchase, supply, order or use of medicinal products is prohibited in the EU. The provision of benefits or advantages to physicians is also governed by the national anti-bribery laws of EU Member States, such as the UK Bribery Act 2010. Infringement of these laws could result in substantial fines and imprisonment.

Payments made to physicians in certain EU Member States must be publicly disclosed. Moreover, agreements with physicians often must be the subject of prior notification and approval by the physician’s employer, his or her competent professional organization, or the regulatory authorities of the individual EU Member States. These requirements are provided in the national laws, industry codes, or professional codes of conduct, applicable in the EU Member States. Failure to comply with these requirements could result in reputational risk, public reprimands, administrative penalties, fines, or imprisonment.
The collection and use of personal health data in the EU had previously been governed by the provisions of the Data Protection Directive, which has been replaced by the GDPR which became effective on May 25, 2018. While the Data Protection Directive did

201

Table of Contents

not apply to organizations based outside the EU, the GDPR has expanded its reach to include any business, regardless of its location, that provides goods or services to residents in the EU. This expansion would incorporate our clinical trial activities in EU member states. The GDPR imposes strict requirements on controllers and processors of personal data, including special protections for “sensitive information” which includes health and genetic information of data subjects residing in the EU. GDPR grants individuals the opportunity to object to the processing of their personal information, allows them to request deletion of personal information in certain circumstances, and provides the individual with an express right to seek legal remedies in the event the individual believes his or her rights have been violated. Further, the GDPR imposes strict rules on the transfer of personal data out of the EU to the United States or other regions that have not been deemed to offer “adequate” privacy protections. Failure to comply with the requirements of the GDPR and the related national data protection laws of the EU Member States, which may deviate slightly from the GDPR, may result in significant fines. As a result of the implementation of the GDPR, we may be required to put in place additional mechanisms ensuring compliance with the new data protection rules.
There is significant uncertainty related to the manner in which data protection authorities will seek to enforce compliance with GDPR. For example, it is not clear if the authorities will conduct random audits of companies doing business in the EU, or if the authorities will wait for complaints to be filed by individuals who claim their rights have been violated. Enforcement uncertainty and the costs associated with ensuring GDPR compliance may be onerous and adversely affect our business, financial condition, results of operations, and prospects.
If we fail to comply with environmental, health, and safety laws and regulations, we could become subject to fines or penalties or incur costs that could harm our business.
We are subject to numerous environmental, health, and safety laws and regulations, including those governing laboratory procedures and the handling, use, storage, treatment, and disposal of hazardous materials and wastes. Our operations involve the use of hazardous and flammable materials, including chemicals and biological materials. Our operations also may produce hazardous waste products. We generally contract with third parties for the disposal of these materials and wastes. We will not be able to eliminate the risk of contamination or injury from these materials. In the event of contamination or injury resulting from any use by us of hazardous materials, we could be held liable for any resulting damages, and any liability could exceed our resources. We also could incur significant costs associated with civil or criminal fines and penalties for failure to comply with such laws and regulations.
Although we maintain workers’ compensation insurance to cover us for costs and expenses we may incur due to injuries to our employees resulting from the use of hazardous materials, this insurance may not provide adequate coverage against potential liabilities. We do not maintain insurance for environmental liability or toxic tort claims that may be asserted against us in connection with our storage or disposal of biological or hazardous materials.
In addition, we may incur substantial costs in order to comply with current or future environmental, health, and safety laws and regulations. These current or future laws and regulations may impair our research, development, or production efforts. Our failure to comply with these laws and regulations also may result in substantial fines, penalties or other sanctions.
Unfavorable U.S. or global economic conditions could adversely affect our business, financial condition, or results of operations.
Our results of operations could be adversely affected by general conditions in the global economy and financial markets. The most recent global financial crisis caused extreme volatility and disruptions in the capital and credit markets. A severe or prolonged economic downturn, such as the most recent global financial crisis, could result in a variety of risks to our business, including weakened demand for our investigational medicines and our ability to raise additional capital when needed on favorable terms, if at all. A weak or declining economy could strain our suppliers, possibly resulting in supply disruption, or cause delays in payments for our services by third-party payors or our collaborators. Any of the foregoing could harm our business and we cannot anticipate all of the ways in which the current economic climate and financial market conditions could adversely impact our business.
We or the third parties upon whom we depend may be adversely affected by natural disasters or other business interruptions such as cybersecurity attacks and our business continuity and disaster recovery plans may not adequately protect us from a serious disaster.
Natural disasters could severely disrupt our operations, and have a material adverse impact on our business, results of operations, financial condition, and prospects. If a natural disaster, power outage, cybersecurity attack, or other event occurred that prevented us from using all or a significant portion of our headquarters, damaged critical infrastructure, such as our manufacturing facilities or those of our third-party contract manufacturers, limited our ability to access or use our digital information systems or that otherwise disrupted operations, it may be difficult or, in certain cases, impossible for us to continue our business for a substantial period of time. The disaster recovery and business continuity plans we have in place currently are limited and are unlikely to prove adequate in the event of a serious disaster or similar event. Cybersecurity liability insurance is difficult to obtain and may not cover any damages we would sustain based on any breach of our computer security protocols or other cybersecurity attack. We may incur substantial expenses as a result of the limited nature of our disaster recovery and business continuity plans, which could have a material adverse impact on our business.

202

Table of Contents

If our products become subject to a product recall it could harm our reputation, business, and financial results.
The FDA and similar foreign governmental authorities have the authority to require the recall of certain commercialized products. In the case of the FDA, the authority to require a recall of a biologic product must be based on an FDA finding that a batch, lot of other quantity of the biologic product presents an imminent or substantial hazard to the public health. In addition, foreign governmental bodies have the authority to require the recall of any investigational medicine in the event of material deficiencies or defects in design or manufacture. Manufacturers may, under their own initiative, recall a product if any material deficiency in a product is found. A government-mandated or voluntary recall by us could occur as a result of manufacturing errors, design or labeling defects or other deficiencies and issues. Recalls of any of our investigational medicines would divert managerial and financial resources and have an adverse effect on our financial condition and results of operations. A recall announcement could harm our reputation with customers and negatively affect our sales, if any.
The investment of our cash, cash equivalents, and investments is subject to risks which may cause losses and affect the liquidity of these investments.
As of December 31, 2019, we had approximately $1.26 billion in cash, cash equivalents, and investments. These investments are subject to general credit, liquidity, market, and interest rate risks. We may realize losses in the fair value of these investments, which would have a negative effect on our consolidated financial statements. In addition, should our investments cease paying or reduce the amount of interest paid to us, our interest income would suffer. The market risks associated with our investment portfolio may have an adverse effect on our results of operations, liquidity, and financial condition.
Changes in tax law could adversely affect our business and financial condition.
The rules dealing with U.S. federal, state, and local income taxation are constantly under review by persons involved in the legislative process and by the Internal Revenue Service and the U.S. Treasury Department. Changes to tax laws (which changes may have retroactive application) could adversely affect us or holders of our common stock. In recent years, many such changes have been made and changes are likely to continue to occur in the future. Future changes in tax laws could have a material adverse effect on our business, cash flow, financial condition or results of operations. We urge investors to consult with their legal and tax advisers regarding the implications of potential changes in tax laws on an investment in our common stock.

If the estimates we make, or the assumptions on which we rely, in preparing our consolidated financial statements prove inaccurate, our actual results may vary from those reflected in our projections and accruals.
Our consolidated financial statements have been prepared in accordance with U.S. generally accepted accounting principles. The preparation of these consolidated financial statements requires us to make estimates and judgments that affect the reported amounts of our assets, liabilities, revenues, and expenses, the amounts of charges accrued by us and related disclosure of contingent assets and liabilities. We base our estimates on historical experience and on various other assumptions that we believe to be reasonable under the circumstances. We cannot assure you, however, that our estimates, or the assumptions underlying them, will be correct.
The amount of and our ability to use net operating losses and research and development credits to offset future taxable income may be subject to certain limitations and uncertainty.
As of December 31, 2019, we had federal and state net operating loss carryforwards of $981.8 million and $978.8 million, respectively, a portion of which will begin to expire in 2030. As of December 31, 2019, we also had federal and state research and development tax credit carryforwards of $45.6 million and $23.9 million, respectively, which begin to expire in 2030 and 2029, resepectively. These net operating loss and tax credit carryforwards could expire unused and be unavailable to offset future income tax liabilities. While federal net operating losses generated after December 31, 2018 will not be subject to expiration, the deduction for such net operating loss in any taxable year will be limited to 80% of our taxable income in such year, where taxable income is determined without regard to the net operating loss deduction itself. In general, under Sections 382 and 383 of the Code, a corporation that undergoes an “ownership change” is subject to limitations on its ability to utilize its pre-change net operating losses or tax credits (“NOLs”) or credits, to offset future taxable income or taxes. For these purposes, an ownership change generally occurs where the aggregate stock ownership of one or more stockholders or groups of stockholders who owns at least 5% of a corporation’s stock increases its ownership by more than 50 percentage points over its lowest ownership percentage within a specified testing period. As of December 31, 2019, none of our NOLs or credits will expire due to Sections 382 and 383, however, future changes in our stock ownership, many of which are outside of our control, could result in an ownership change under Sections 382 and 383 of the Code and limit our ability to utilize our NOLs and credits. Our NOLs or credits may also be impaired under state law. Accordingly, we may not be able to utilize a material portion of our NOLs or credits. In addition, the rules regarding timing of revenue and expense recognition for tax purposes in connection with various transactions we have are complex and uncertain in various respects and could be subject to challenge by taxing authorities. In the event any such challenge is sustained, the net operating losses could be materially reduced and/or we could be determined to be a material cash taxpayer for one or more years. Furthermore, our ability to utilize our NOLs or credits is conditioned upon our attaining profitability and generating U.S. federal and state taxable income. As described above we have

203

Table of Contents

incurred significant net losses since our inception and anticipate that we will continue to incur significant losses for the foreseeable future, and therefore, we do not know whether or when we will generate the U.S. federal or state taxable income necessary to utilize our NOL or credit carryforwards.
If we engage in future acquisitions, joint ventures, or strategic collaborations, this may increase our capital requirements, dilute our stockholders, cause us to incur debt or assume contingent liabilities, and subject us to other risks.
We may evaluate various acquisitions and collaborations, including licensing or acquiring complementary products, IP rights, technologies, or businesses. Any potential acquisition, joint venture, or collaboration may entail numerous risks, including:
increased operating expenses and cash requirements;
the assumption of additional indebtedness or contingent liabilities;
assimilation of operations, IP, and products of an acquired company, including difficulties associated with integrating new personnel;
the diversion of our management’s attention from our existing product programs and initiatives in pursuing such a strategic merger or acquisition;
retention of key employees, the loss of key personnel, and uncertainties in our ability to maintain key business relationships;
risks and uncertainties associated with the other party to such a transaction, including the prospects of that party and their existing products or investigational medicines and regulatory approvals; and
our inability to generate revenue from acquired technology or products sufficient to meet our objectives in undertaking the acquisition or even to offset the associated acquisition and maintenance costs.
In addition, if we undertake acquisitions, we may utilize our cash, issue dilutive securities, assume or incur debt obligations, incur large one-time expenses, and acquire intangible assets that could result in significant future amortization expense.
Moreover, we may not be able to locate suitable acquisition or strategic collaboration opportunities and this inability could impair our ability to grow or obtain access to technology or products that may be important to the development of our business.
The increasing use of social media platforms presents new risks and challenges.
Social media is increasingly being used to communicate about our research, development candidates, investigational medicines, and the diseases our development candidates and investigational medicines are being developed to treat. Social media practices in the biopharmaceutical industry continue to evolve and regulations relating to such use are not always clear. This evolution creates uncertainty and risk of noncompliance with regulations applicable to our business, resulting in potential regulatory actions against us. For example, patients may use social media channels to comment on their experience in an ongoing blinded clinical study or to report an alleged adverse event. When such disclosures occur, there is a risk that we fail to monitor and comply with applicable adverse event reporting obligations or we may not be able to defend our business or the public’s legitimate interests in the face of the political and market pressures generated by social media due to restrictions on what we may say about our development candidates and investigational medicines. There is also a risk of inappropriate disclosure of sensitive information or negative or inaccurate posts or comments about us on any social networking website. If any of these events were to occur or we otherwise fail to comply with applicable regulations, we could incur liability, face regulatory actions, or incur other harm to our business.
Risks related to ownership of our common stock
The price of our common stock has been volatile and fluctuates substantially, which could result in substantial losses for stockholders.
Our stock price has been and in the future may be subject to substantial volatility. For example, our stock traded within a range of a high price of $28.34 and a low price of $12.26 per share for the period of December 7, 2018, our first day of trading on the Nasdaq Global Select Market, through February 20, 2020. As a result of this volatility, our stockholders could incur substantial losses.
The stock market in general, and the market for biopharmaceutical companies in particular, has experienced extreme volatility that has often been unrelated to the operating performance of particular companies. As a result of this volatility, you may not be able to sell your common stock at or above your initial purchase price. The market price for our common stock may be influenced by many factors, including:

204

Table of Contents

results of clinical trials of our investigational medicines or those of our competitors;
the success of competitive products or technologies;
commencement or termination of strategic alliances;
regulatory or legal developments in the United States and other countries;
developments or disputes concerning patent applications, issued patents, or other proprietary rights;
the recruitment or departure of key personnel;
the level of expenses related to any of our investigational medicines or clinical development programs;
the results of our efforts to discover, develop, acquire, or in-license additional investigational medicines;
actual or anticipated changes in estimates as to financial results, development timelines, or recommendations by securities analysts;
variations in our financial results or those of companies that are perceived to be similar to us;
changes in the structure of healthcare payment systems;
market conditions in the pharmaceutical and biotechnology sectors;
general economic, industry, and market conditions;
the numerous programs in our pipeline, the development of which could each generate news or significant adverse events that could impact financial results or recommendations by securities analysts; and
public announcements by us or our strategic collaborators regarding the progress of our development candidates or investigational medicines or similar public announcements by our competitors.
If our quarterly or annual results fall below the expectations of investors or securities analysts, the price of our common stock could decline substantially. Furthermore, any quarterly or annual fluctuations in our results may, in turn, cause the price of our stock to fluctuate substantially. We believe that period-to-period comparisons of our results are not necessarily meaningful and should not be relied upon as an indication of our future performance.
In addition, public statements by us, government agencies, the media or others relating to the coronavirus outbreak (including regarding efforts to develop a coronavirus vaccine) have in the past resulted, and may in the future result, in significant fluctuations in our stock price. Given the global focus on the coronavirus outbreak, any information in the public arena on this topic, whether or not accurate, could have an outsized impact (either positive or negative) on our stock price.
In the past, following periods of volatility in the market price of a company’s securities, securities class-action litigation often has been instituted against that company. Such litigation, if instituted against us, could cause us to incur substantial costs to defend such claims and divert management’s attention and resources, which could seriously harm our business, financial condition, results of operations, and prospects.
We have broad discretion in the use of our cash, cash equivalents, and investments, and may not use them effectively.
Our management will have broad discretion in the application of our cash, cash equivalents, and investments, and could spend the proceeds in ways that do not improve our results of operations or enhance the value of our common stock. The failure by our management to apply these funds effectively could result in financial losses that could have a material adverse impact on our business, cause the price of our common stock to decline, and delay the development of our investigational medicines. Pending their use, we may invest our cash, cash equivalents, and investments, in a manner that does not produce income or that loses value.
We have incurred and will continue to incur increased costs as a result of operating as a public company, and our management is required to devote substantial time to new compliance initiatives. We are subject to financial reporting and other requirements for which our accounting and other management systems and resources may not be adequately prepared.
As a public company, we incur significant legal, accounting, and other expenses that we did not incur as a private company. In addition, the federal securities laws, including the Sarbanes-Oxley Act of 2002 and rules subsequently implemented by the Securities and Exchange Commission and Nasdaq have imposed various requirements on public companies, including requirements to file annual, quarterly, and event driven reports with respect to our business and financial condition, and to establish and maintain effective

205

Table of Contents

disclosure and financial controls and corporate governance practices. Our management and other personnel devote a substantial amount of time to these compliance initiatives. Moreover, these rules and regulations increase our legal and financial compliance costs and make some activities more time consuming and costly. For example, these rules and regulations may make it more difficult and more expensive for us to obtain director and officer liability insurance. We may not be able to produce reliable financial statements or file these financial statements as part of a periodic report in a timely manner with the SEC or comply with the Nasdaq listing requirements. In addition, we could make errors in our financial statements that could require us to restate our financial statements.
Pursuant to Section 404 of the Sarbanes-Oxley Act of 2002 (“Section 404”), we are required to furnish a report by our management on our internal control over financial reporting, including an attestation report on internal control over financial reporting issued by our independent registered public accounting firm. However, while we were an “emerging growth company” as defined in the Jumpstart Our Business Startups Act, our auditors were not required to formally attest to the effectiveness of our internal control over financial reporting. As of the end of our fiscal year ended December 31, 2019, we qualified as a “large accelerated filer” as defined in the Securities Exchange Act of 1934, as amended (the “Exchange Act”) and, as a result, ceased to qualify as an emerging growth company. Accordingly, commencing with our Annual Report on Form 10-K for the year ended December 31, 2019, we are required to have our auditors formally attest to the effectiveness of our internal control over financial reporting pursuant to Section 404. Our compliance with Section 404 necessitates that we incur substantial accounting expense and expend significant management efforts. We will continue to dedicate internal resources, potentially engage outside consultants, and adopt a detailed work plan to assess and document the adequacy of internal control over financial reporting, continue steps to improve control processes as appropriate, validate through testing that controls are functioning as documented, and implement a continuous reporting and improvement process for internal control over financial reporting. Despite our efforts, there is a risk that neither we nor our independent registered public accounting firm will be able to conclude within the prescribed timeframe that our internal control over financial reporting is effective as required by Section 404. This could result in an adverse reaction in the financial markets due to a loss of confidence in the reliability of our financial statements.
In July 2010, the Dodd-Frank Wall Street Reform and Consumer Protection Act (the “Dodd-Frank Act”) was enacted. There are significant corporate governance and executive compensation related provisions in the Dodd-Frank Act that require the SEC to adopt additional rules and regulations in these areas such as “say on pay” and proxy access. Our management and other personnel will need to devote a substantial amount of time to these compliance initiatives.
We are in the early stages of developing our policies and practices regarding pre-approval access and any policy we develop and implement may result in a negative perception of our Company and have a material adverse impact on our business.
As we advance our pipeline, patients and their physicians have sought access to our investigational medicines outside of sponsored clinical trials and prior to regulatory approval. While we will continue to review and respond to these early access requests, at this stage in our development of a new class of medicines, we are not providing access to our investigational medicines outside of the clinical trial setting. As our development programs progress further, we will continue our dialogue with patients and their families, advocacy leaders, physicians, and others on this and other topics. We will post our pre-approval access policies in accordance with regulatory guidelines.
As a general matter, we do not currently plan on providing forward-looking guidance regarding the expected timing of milestones in our business. We plan to report on the status of our programs, including the achievement of milestones and related data, on a retrospective basis, or as otherwise required by U.S. federal securities laws applicable to us, which may lead to speculation about our prospects that could have a material adverse effect on our business. If we do provide forward-looking guidance on the expected timing of milestones, we may not meet those timelines which may have a material averse effect on our business.
We believe the early stage nature of most of our portfolio is not suitable to providing forward-looking guidance on the expected timing of individual program milestones, particularly data readout timing. While as a general matter we intend to periodically report on the status of our development programs, including articulating anticipated next steps in the form of development plans or potential data readouts, for the majority of our programs, we do not currently plan to provide forward-looking guidance on the timing of those next steps. We have provided forward looking guidance as to the expected timing of certain milestones and clinical steps in our CMV program, our most advanced clinical program. If we are unable to meet the timelines established in this guidance our business may be materially and adversely impacted, particularly due to delays in the CMV program. In addition, we do not control the timing of disclosure of any such milestones related to any of our programs that are managed by our strategic collaborators. Any disclosure by our strategic collaborators of data that is perceived as negative, whether or not such data are related to other data that we or others release, may have a material adverse impact on our stock price or overall valuation. Not providing forward-looking guidance on the expected timing of program milestones may lead to speculation by investors, shareholders, analysts, and other market participants and in the media as to the progress of our individual development candidates, investigational medicines, or our programs as a whole, which may have a material adverse impact on our stock price or valuation. In the event that we do choose to provide forward looking guidance on the expected timing of milestones in our business, we may be required to later update any movement in the timing of such milestones, including delays, which may have the effect of investors speculating in our stock or otherwise have a material adverse

206

Table of Contents

impact on our business. The ability to predict with accuracy the timing of clinical readouts or progress in clinical trials is difficult and subject to change based on many factors, most of which are out of our control, including other risks and uncertainties included in this prospectus supplement.
Sales of a substantial number of shares of our common stock by our existing stockholders in the public market could cause our stock price to fall.
Sales of a substantial number of shares of our common stock in the public market could occur at any time, subject to certain restrictions described below. These sales, or the perception in the market that holders of a large number of shares intend to sell shares, could reduce the market price of our common stock.
The holders of up to 61.6 million shares of our common stock are entitled to rights with respect to the registration of their shares under the Securities Act. Registration of these shares under the Securities Act would result in the shares becoming freely tradable without restriction under the Securities Act, except for shares held by affiliates, as defined in Rule 144 under the Securities Act. Any sales of securities by these stockholders could have a material adverse effect on the trading price of our common stock.
Additionally, the number of shares of our common stock reserved for issuance under our 2018 Stock Option and Incentive Plan automatically increased on January 1, 2020 and will automatically increase each January 1 thereafter by 4% of the number of shares of common stock outstanding on the immediately preceding December 31 or such lesser number of shares determined by our compensation committee. Unless our board of directors elects not to increase the number of shares available for future grant each year, our stockholders may experience additional dilution.
In addition, certain of our employees, executive officers, and directors have entered or may enter into Rule 10b5-1 trading plans providing for sales of shares of our common stock from time to time. Under a Rule 10b5-1 trading plan, a broker executes trades pursuant to parameters established by the employee, director, or officer when entering into the plan, without further direction from the employee, officer, or director. A Rule 10b5-1 trading plan may be amended or terminated in some circumstances. Our employees, executive officers, and directors also may buy or sell additional shares outside of a Rule 10b5-1 trading plan when they are not in possession of material, nonpublic information.
Raising additional capital may cause dilution to our existing stockholders, restrict our operations, or require us to relinquish rights to our technologies or development candidates or investigational medicines.
We may seek additional capital through a combination of public and private equity offerings, debt financings, strategic alliances, and licensing arrangements. To the extent that we raise additional capital through the sale of equity or debt securities, your ownership interest will be diluted and the terms may include liquidation or other preferences that adversely affect your rights as a stockholder. The incurrence of indebtedness would result in increased fixed payment obligations and could involve restrictive covenants, such as limitations on our ability to incur additional debt, limitations on our ability to acquire or license IP rights, and other operating restrictions that could adversely impact our ability to conduct our business. If we raise additional funds through collaborations and alliances and licensing arrangements with third parties or through asset sales, we may have to relinquish valuable rights to our technologies or development candidates or investigational medicines, or grant licenses on terms unfavorable to us.
If securities analysts do not publish research or reports about our business or if they publish negative evaluations of our stock, the price of our stock could decline.
The trading market for our common stock relies, in part, on the research and reports that industry or financial analysts publish about us or our business. If one or more of the analysts who covers us downgrades our stock or publishes inaccurate or unfavorable research about our business, our stock price may decline. If one or more of these analysts ceases coverage of us or fails to publish reports on us regularly, demand for our stock could decrease, which might cause our stock price and trading volume to decline.

Our principal stockholders and management own a significant percentage of our stock and will be able to exert significant control over matters subject to stockholder approval.
Our executive officers, directors, five percent stockholders, and their affiliates beneficially own approximately 40.8% of our outstanding common stock. Therefore, these stockholders will have the ability to influence us through their ownership positions. For example, these stockholders, acting together, may be able to exert significant influence over matters such as elections of directors, amendments of our organizational documents, or approval of any merger, sale of assets, or other major corporate transaction. This may prevent or discourage unsolicited acquisition proposals or offers for our common stock that you may believe are in your best interest as one of our stockholders.

207

Table of Contents

Provisions in our amended and restated certificate of incorporation and by-laws, as well as provisions of Delaware law, could make it more difficult for a third party to acquire us or increase the cost of acquiring us, even if doing so would benefit our stockholders or remove our current management.
Our amended and restated certificate of incorporation, by-laws, and Delaware law contain provisions that may have the effect of delaying or preventing a change in control of us or changes in our management. Our amended and restated certificate of incorporation and amended and restated by-laws include provisions that:
authorize “blank check” preferred stock, which could be issued by our board of directors without stockholder approval and may contain voting, liquidation, dividend, and other rights superior to our common stock;
create a classified board of directors whose members serve staggered three-year terms;
specify that special meetings of our stockholders can be called only by our board of directors, the chairperson of our board of directors, our chief executive officer, or our president;
prohibit stockholder action by written consent;
establish an advance notice procedure for stockholder approvals to be brought before an annual meeting of our stockholders, including proposed nominations of persons for election to our board of directors;
provide that our directors may be removed only for cause;
provide that vacancies on our board of directors may be filled only by a majority of directors then in office, even though less than a quorum;
specify that no stockholder is permitted to cumulate votes at any election of directors;
expressly authorize our board of directors to modify, alter, or repeal our amended and restated by-laws; and
require supermajority votes of the holders of our common stock to amend specified provisions of our amended and restated certificate of incorporation and amended and restated by-laws.
These provisions, alone or together, could delay or prevent hostile takeovers and changes in control or changes in our management.
In addition, because we are incorporated in Delaware, we are governed by the provisions of Section 203 of the Delaware General Corporation Law, which limits the ability of stockholders owning in excess of 15% of our outstanding voting stock to merge or combine with us.
Any provision of our amended and restated certificate of incorporation or amended and restated by-laws or Delaware law that has the effect of delaying or deterring a change in control could limit the opportunity for our stockholders to receive a premium for their shares of our common stock, and could also affect the price that some investors are willing to pay for our common stock.
An active trading market for our common stock may not be sustained.
Our shares of common stock began trading on the Nasdaq Global Select Market on December 7, 2018. Given the limited trading history of our common stock, there is a risk that an active trading market for our shares will not be sustained, which could put downward pressure on the market price of our common stock and thereby affect the ability of our stockholders to sell their shares.
Because we do not anticipate paying any cash dividends on our capital stock in the foreseeable future, capital appreciation, if any, will be your sole source of gain.
We do not currently intend to declare or pay cash dividends on our capital stock. We currently intend to retain all of our future earnings, if any, to finance the growth and development of our business. In addition, the terms of any future debt agreements may preclude us from paying dividends. As a result, capital appreciation, if any, of our common stock will be your sole source of gain for the foreseeable future.
Our amended and restated by-laws designate the Court of Chancery of the State of Delaware or the United States District Court for the District of Massachusetts as the exclusive forum for certain litigation that may be initiated by our stockholders, which could limit our stockholders’ ability to obtain a favorable judicial forum for disputes with us.
Pursuant to our amended and restated by-laws, unless we consent in writing to the selection of an alternative forum, the Court of Chancery of the State of Delaware is the sole and exclusive forum for state law claims for (1) any derivative action or proceeding brought on our behalf, (2) any action asserting a claim of or based on a breach of a fiduciary duty owed by any of our current or

208

Table of Contents

former directors, officers, or other employees to us or our stockholders, (3) any action asserting a claim against us or any of our current or former directors, officers, employees, or stockholders arising pursuant to any provision of the Delaware General Corporation Law or our amended and restated by-laws, or (4) any action asserting a claim governed by the internal affairs doctrine (the “Delaware Forum Provision”). The Delaware Forum Provision will not apply to any causes of action arising under the Securities Act, or the Exchange Act. Our amended and restated by-laws further provide that the United States District Court for the District of Massachusetts is the exclusive forum for resolving any complaint asserting a cause of action arising under the Securities Act (the “Federal Forum Provision”). We have chosen the United States District Court for the District of Massachusetts as the exclusive forum for such causes of action because our principal executive offices are located in Cambridge, MA. In addition, our amended and restated by-laws provide that any person or entity purchasing or otherwise acquiring any interest in shares of our common stock is deemed to have notice of and consented to the Delaware Forum Provision and the Federal Forum Provision; provided, however, that stockholders will not be deemed to have waived our compliance with the federal securities laws and the rules and regulations thereunder.
On December 19, 2018, in Sciabacucchi v. Salzberg, C.A. No. 2017-0931-JTL (Del. Ch.), the Court of Chancery of the State of Delaware issued a decision declaring that federal forum selection provisions purporting to require claims under the Securities Act be brought in federal court are ineffective and invalid under Delaware law. On August 5, 2019, the decision was appealed to the Delaware Supreme Court and the appeal remains pending. Unless and until the Court of Chancery’s decision in Sciabacucchi is reversed by the Delaware Supreme Court or otherwise abrogated, we do not intend to enforce our Federal Forum Provision designating the District of Massachusetts as the exclusive forum for Securities Act claims. In the event that the Delaware Supreme Court affirms the Court of Chancery’s Sciabacucchi decision or otherwise determines that federal forum provisions are invalid, our board of directors intends to promptly amend our amended and restated by-laws to remove our Federal Forum Provision.
As a result of the Court of Chancery’s decision or a decision by the Delaware Supreme Court affirming the Court of Chancery’s decision, or if the Federal Forum Provision is otherwise found inapplicable to, or unenforceable in respect of, one or more of the specified actions or proceedings, we may incur additional costs, which could have an adverse effect on our business, financial condition, or results of operations. We recognize that the Delaware Forum Provision and the Federal Forum Provision may impose additional litigation costs on stockholders in pursuing any such claims, particularly if the stockholders do not reside in or near the State of Delaware or the Commonwealth of Massachusetts, as applicable. Additionally, the forum selection clauses in our amended and restated by-laws may limit our stockholders’ ability to obtain a favorable judicial forum for disputes with us or our directors, officers, or employees, which may discourage the filing of lawsuits against us and our directors, officers, and employees, even though an action, if successful, might benefit our stockholders. The Court of Chancery of the State of Delaware and the United States District Court for the District of Massachusetts may also reach different judgments or results than would other courts, including courts where a stockholder considering an action may be located or would otherwise choose to bring the action, and such judgments may be more or less favorable to us than our stockholders.


Item 1B - Unresolved Staff Comments
None.
Item 2. Properties
We have two campuses in Massachusetts. We occupy a multi-building campus in Technology Square near the Kendall Square area in Cambridge, MA in multi-tenanted locations with a mix of offices and research laboratory space totaling approximately 200,000 square feet. Kendall Square is the location of our corporate headquarters, platform, drug discovery, manufacturing process development, and clinical development. Our facilities in Kendall Square are leased and the lease expiry ranges from 2020 to 2029, with the majority of the space being leased through 2029, with the option to extend.
We have a 200,000 square foot manufacturing facility in Norwood, MA where we manufacture our products and perform various services. This facility is leased through 2032 and we have the option to extend it for two ten-year terms. In February 2019, we entered into a lease agreement for office and laboratory space, located in Norwood, MA, totaling 222,163 square feet. This facility is leased into early 2031 and we have the option to extend it for up to four additional five-year terms. We refer to our Norwood campus as our Moderna Technology Center.
Item 3. Legal Proceedings
We are not currently a party to any material legal proceedings.
Item 4. Mine Safety Disclosures
Not applicable.

209

Table of Contents

PART II
Item 5. Market for Registrant's Common Equity, Related Stockholder Matters and Issuer Purchases of Equity Securities
Market for Our Common Stock
Our common stock began trading on the Nasdaq Global Select Market under the symbol “MRNA” on December 7, 2018. Prior to that time, there was no public market for our common stock.
Stock Performance Graph

The following performance graph shall not be deemed “soliciting material” or to be “filed” with the Securities and Exchange Commission for purposes of Section 18 of the Securities Exchange Act of 1934, as amended, or the Exchange Act, or otherwise subject to the liabilities under that Section, and shall not be deemed to be incorporated by reference into any filing of Moderna, Inc. under the Securities Act or the Exchange Act.

The following graph shows a comparison from December 7, 2018, the date on which our common stock first began trading on the Nasdaq Global Select Market, through December 31, 2019 of the cumulative total return for our common stock, the Nasdaq Composite Total Return Index and the Nasdaq Biotechnology Index, each of which assumes an initial investment of $100 and reinvestment of all dividends. Such returns are based on historical results and are not intended to suggest future performance.

The comparisons shown in the graph below are based upon historical data. We caution that the stock price performance shown in the graph below is not necessarily indicative of, nor is it intended to forecast, the potential future performance of our common stock.

chart-35f8657e18205095969.jpg

Stockholders
We had approximately 149 stockholders of record as of February 14, 2020; however, because many of our outstanding shares are held in accounts with brokers and other institutions, we believe we have more beneficial owners. This number of holders of record also does not include stockholders whose shares may be held in trust by other entities.
Dividend Policy
We have never declared or paid cash dividends on our common stock and do not expect to pay dividends on our common stock for the foreseeable future. Instead, we anticipate that all of our earnings in the foreseeable future will be used for the operation and growth of

210

Table of Contents

our business. Any future determination to pay dividends will be made at the discretion of our board of directors and will depend on various factors, including applicable laws, our results of operations, financial condition, future prospects, then applicable contractual restrictions and any other factors deemed relevant by our board of directors. Investors should not purchase our common stock with the expectation of receiving cash dividends.
Securities Authorized for Issuance Under Equity Compensation Plans
Information about our equity compensation plans in Item 12 of Part III of this Annual Report on Form 10-K is incorporated herein by reference.
Recent Sales of Unregistered Securities
None.
Issuer Purchases of Equity Securities
Not applicable.
Use of Proceeds from Public Offering of Common Stock
On December 11, 2018, we closed our initial public offering, in which we issued and sold 26,275,993 shares of common stock at a public offering price of $23.00 per share (an aggregate offering of $604.3 million), resulting in net proceeds to us of $563.0 million after deducting $33.2 million of underwriting discounts and commissions and offering costs of $8.1 million. All of the shares issued and sold in the offering were registered under the Securities Act pursuant to a Registration Statement on Form S-1 (File No. 333-228300), which was declared effective by the SEC on December 6, 2018. Morgan Stanley & Co. LLC, Goldman Sachs & Co. LLC, and J.P. Morgan Securities LLC acted as joint book-running managers of the offering and as representatives of the underwriters. No offering expenses were paid directly or indirectly to any of our directors or officers, or their associates, or persons owning 10% or more of any class of our equity securities or to any other affiliates.
There has been no material change in the planned use of proceeds from our initial public offering as described in our final prospectus filed with the SEC pursuant to Rule 424(b) of the Securities Act. We are holding the balance of the net proceeds in cash, cash equivalents and investments. We invested the funds received in short-term, interest-bearing investment-grade securities and government securities.

Item 6. Selected Consolidated Financial Data
The selected consolidated financial data set forth below should be read together with our consolidated financial statements and the related notes to those statements, as well as the section of this Annual Report on Form 10-K titled “Management’s Discussion and Analysis of Financial Condition and Results of Operations.” The statements of operations data for the years ended December 31, 2019, 2018 and 2017 and the balance sheet data as of December 31, 2019 and 2018 have been derived from our audited consolidated financial statements included elsewhere in this Annual Report on Form 10-K. The statements of operations data for the years ended December 31, 2016 and the balance sheet data as of December 31, 2017 and 2016 have been derived from our audited consolidated financial statements that are not included elsewhere in this Annual Report on Form 10-K. In the opinion of management, the consolidated financial data reflects all adjustments, consisting only of normal recurring adjustments, necessary for a fair presentation of the financial information in those statements. Our historical results are not necessarily indicative of results that may be expected in the future.

211

Table of Contents

 
Years Ended December 31,
 
2019
 
2018
 
2017
 
2016
 
(in thousands, except share and per share data)
Statement of Operations Data:
 
 
 
 
 
 
 
Revenue:
 
 
 
 
 
 
 
Collaboration revenue
$
48,036

 
$
122,512

 
$
176,974

 
$
101,536

Grant revenue
12,173

 
12,556

 
28,851

 
6,860

Total revenue
60,209

 
135,068

 
205,825

 
108,396

Operating expenses:
 
 
 
 
 
 
 
Research and development
496,309

 
454,082

 
410,459

 
274,717

General and administrative
109,620

 
94,252

 
64,722

 
57,450

Total operating expenses
605,929

 
548,334

 
475,181

 
332,167

Loss from operations
(545,720
)
 
(413,266
)
 
(269,356
)
 
(223,771
)
Interest income
38,530

 
27,023

 
15,235

 
11,312

Other (expense) income, net
(7,526
)
 
1,835

 
(1,875
)
 
(2,709
)
Loss before (benefit from) provision for income taxes
(514,716
)
 
(384,408
)
 
(255,996
)
 
(215,168
)
(Benefit from) provision for income taxes
(695
)
 
326

 
(80
)
 
1,043

Net loss
(514,021
)
 
(384,734
)
 
(255,916
)
 
(216,211
)
Reconciliation of net loss to net loss attributable to common stockholders:
 
 
 
 
 
 
 
Premium paid on repurchases of preferred stock

 
(4,127
)
 

 

Accretion of redeemable convertible preferred units to redemption value

 

 

 
(8,663
)
Cumulative preferred stock dividends

 
(12,996
)
 
(13,925
)
 
(5,440
)
Net loss attributable to common stockholders
$
(514,021
)
 
$
(401,857
)
 
$
(269,841
)
 
$
(230,314
)
Net loss per share attributable to common stockholders, basic and diluted (1)
$
(1.55
)
 
$
(4.95
)
 
$
(4.18
)
 
$
(3.79
)
Weighted average common shares used in net loss per share attributable to common stockholders, basic and diluted
330,802,136


81,114,183


64,497,544

 
60,747,426


 
December 31,
 
2019
 
2018
 
2017
 
2016
 
(in thousands)
Balance Sheet Data:
 
 
 
 
 
 
 
Cash, cash equivalents, and investments
$
1,262,987

 
$
1,694,417

 
$
901,880

 
$
1,294,707

Working capital (2)
985,689

 
1,340,203

 
591,762

 
924,350

Total assets
1,589,422

 
1,962,149

 
1,084,489

 
1,417,161

Total deferred revenue
202,305

 
274,408

 
339,668

 
501,989

Redeemable convertible preferred stock

 

 
1,176,661

 
1,176,661

Total stockholders’ equity (deficit)
1,174,810

 
1,530,241

 
(551,365
)
 
(334,810
)
(1)    Basic and diluted net loss per share attributable to common stockholders give effect to the conversion of all redeemable convertible preferred stock to common stock and give effect to the 1-for-2.18 reverse stock split of our common stock completed in connection with the Company’s initial public offering in December 2018.
(2)    We define working capital as current assets less current liabilities. Please refer to our consolidated balance sheets and notes to our financial statements for further details regarding our current assets and current liabilities.


212

Table of Contents

Item 7. MANAGEMENT’S DISCUSSION AND ANALYSIS OF FINANCIAL CONDITION AND RESULTS OF OPERATIONS

You should read the following discussion and analysis of our financial condition and results of operations together with our consolidated financial statements and related notes and other financial information appearing elsewhere in this Annual Report on Form 10-K. Some of the information contained in this discussion and analysis or set forth elsewhere in this Annual Report on Form 10-K, including information with respect to our plans and strategy for our business, includes forward-looking statements that involve risks and uncertainties. As a result of many factors, including those factors set forth in the “Risk Factors” section of this Annual Report on Form 10-K, our actual results could differ materially from the results described in or implied by the forward-looking statements contained in the following discussion and analysis.
Overview
We are a clinical stage biotechnology company pioneering messenger RNA (mRNA) therapeutics and vaccines to create a new generation of transformative medicines to improve the lives of patients. mRNA medicines are designed to direct the body’s cells to produce intracellular, membrane or secreted proteins that have a therapeutic or preventive benefit with the potential to address a broad spectrum of diseases. Our platform builds on continuous advances in basic and applied mRNA science, delivery technology and manufacturing, providing us the capability to pursue in parallel a robust pipeline of new development candidates. We are developing therapeutics and vaccines for infectious diseases, immuno-oncology, rare diseases, autoimmune diseases and cardiovascular diseases, independently and with our strategic collaborators.
We have designed our strategy and operations to realize the full potential value and impact of mRNA over a long time horizon across a broad array of human diseases. We built and continue to invest in a platform to advance the technological frontier of mRNA medicines. We have made forward investments in scalable infrastructure and capabilities to pursue a pipeline of potential medicines that reflect the breadth of the mRNA opportunity. We have a diverse development pipeline of 24 development candidates across our 23 programs, of which 12 are in clinical studies. We have established strategic alliances with leading biopharmaceutical companies, including AstraZeneca, Merck & Co., or Merck, and Vertex Pharmaceuticals, or Vertex, as well as government-sponsored and private organizations focused on global health initiatives, including Biomedical Advanced Research and Development Authority, or BARDA, Defense Advanced Research Projects Agency, or DARPA, the Bill & Melinda Gates Foundation, or Gates Foundation, and the Coalition for Epidemic Preparedness Innovations, or CEPI. As we unlock the inherent advantages of mRNA, we aim to address as many diseases and impact as many patients as our technology, talent, and capital permit.
The broad potential applications of mRNA medicines have led us to raise significant capital and adopt a long-term approach to capital allocation that balances near-term risks and long-term value creation. As of December 31, 2019, we had cash, cash equivalents and investments of approximately $1.26 billion. In addition, in February 2020, we raised approximately $549.9 million, net of underwriting discounts, commissions and estimated offering expenses, through a follow-on public equity offering and the subsequent exercise of the underwriters' option to purchase additional shares. We use this capital to fund operations and investing activities across research for technology creation, drug discovery and clinical development programs, infrastructure and capabilities to enable the Research Engine and Early Development Engine (which includes our Moderna Technology Center, or MTC, manufacturing facility in Norwood), our digital infrastructure, creation of our portfolio of intellectual property, and administrative support.
Since our inception, we have incurred significant operating losses. Our net losses were $514.0 million, $384.7 million and $255.9 million for the years ended December 31, 2019, 2018 and 2017, respectively. As of December 31, 2019, our accumulated deficit was $1.50 billion. We expect to continue to incur significant expenses and operating losses for the foreseeable future. In addition, we anticipate that our expenses will increase significantly in connection with our ongoing activities, as we:
continue our platform research and drug discovery and development efforts;
conduct clinical studies for our investigational medicines;
manufacture clinical study materials and develop large-scale manufacturing capabilities;
seek regulatory approval for our investigational medicines;
maintain, expand, and protect our intellectual property;
hire additional personnel to support our program development effort to obtain regulatory approval and secure additional facilities for operations; and
continue to operate as a public company.


213

Table of Contents

We do not expect to generate revenue from the sale of potential mRNA medicines unless and until we successfully complete clinical development and obtain regulatory approval for one or more of our investigational medicines. If we seek to obtain regulatory approval for and commercialize any of our investigational medicines, we expect to incur significant commercialization expenses.
As a result, we will need substantial additional funding to support our continued operations and pursue our growth strategy. Until we can generate significant revenue from sales of our medicines, if ever, we expect to finance our operations through a combination of public or private equity offerings, structured financings and debt financings, government funding arrangements, strategic alliances and marketing, distribution, and licensing arrangements. We may be unable to raise additional funds or enter into such other agreements on favorable terms, or at all. If we fail to raise capital or enter into such agreements as, and when, needed, we may have to significantly delay, scale back, or discontinue the development and commercialization of one or more of our programs.
Because of the numerous risks and uncertainties associated with pharmaceutical development, we are unable to predict the timing or amount of increased expenses or when or if we will be able to achieve or maintain profitability. Even if we are able to generate revenues from the sale of our medicines, we may not become profitable. If we fail to become profitable or are unable to sustain profitability on a continuing basis, then we may be unable to continue our operations at planned levels and be forced to reduce our operations.

Financial Operations Overview
Revenue
To date, we have not generated any revenue from the sale of potential mRNA medicines. Our revenue has been primarily derived from strategic alliances with strategic collaborators and government-sponsored and private organizations to discover, develop, and commercialize potential mRNA medicines.
The following is a summary of revenue recognized for the years ended December 31, 2019, 2018 and 2017 (in thousands):
 
Years Ended December 31,
 
2019
 
2018
 
2017
Revenue:
 
 
 
 
 
Collaboration revenue(1)
$
48,036

 
$
122,512

 
$
176,974

Grant revenue
12,173
 
12,556
 
28,851
Total revenue
$
60,209

 
$
135,068

 
$
205,825

_______

(1) 
Includes collaboration revenue from a related party.
Total revenue for the years ended December 31, 2019, 2018 and 2017 was $60.2 million, $135.1 million and $205.8 million, respectively. Cash received from strategic alliances was $22.9 million, $57.6 million and $43.1 million for the years ended December 31, 2019, 2018 and 2017, respectively. The timing of revenue recognition is not directly correlated to the timing of cash receipts. Total deferred revenue related to our strategic alliances as of December 31, 2019 and 2018 was $202.3 million and $274.4 million, respectively.
The following table summarizes collaboration revenue for the years ended December 31, 2019, 2018 and 2017 (in thousands):
 
Years Ended December 31,
 
2019
 
2018
 
2017
Collaboration revenue:
 
 
 
 
 
AstraZeneca
$
5,233

 
$
45,993

 
$
30,021

Merck
36,608

 
66,082

 
62,895

Vertex
6,195

 
10,437

 
9,138

Alexion

 

 
74,365

Other

 

 
555

Total collaboration revenue
$
48,036

 
$
122,512

 
$
176,974


214

Table of Contents

Collaboration revenue for the years ended December 31, 2019, 2018 and 2017 was generated primarily from our strategic alliances with AstraZeneca, Merck, Vertex and Alexion. Our arrangements with Alexion were terminated in October 2017 and all rights to mRNA researched, developed, or supplied as part of the programs with Alexion reverted to us.
Grant revenue is generated primarily from contracts with DARPA, BARDA, and Gates Foundation, to develop mRNA medicines.
For further information on our revenue recognition policies, see the section of this Annual Report on Form 10-K titled “Critical accounting policies and significant judgments and estimates - Revenue recognition.”
Our ability to generate revenue from sales of mRNA medicines and become profitable depends upon our ability to successfully develop and commercialize mRNA medicines. For the foreseeable future, we do not expect to generate revenue from product sales. To the extent that existing or potential future strategic alliances generate revenue, our revenue may vary due to many uncertainties in the development of our mRNA medicines under these strategic alliances and other factors. We expect to incur losses for the foreseeable future, and we expect these losses to increase as we continue our research and development efforts. We expect our programs to mature and advance to later stage clinical development, and we expect expenses to increase as we seek regulatory approvals for our investigational medicines and begin to commercialize any approved mRNA medicines.
Research and development expenses
The nature of our business and primary focus of our activities generate a significant amount of research and development costs. Research and development expenses represent costs incurred by us for the following:
cost to develop our platform;
discovery efforts leading to development candidates;
preclinical, nonclinical, and clinical development costs for our programs;
cost to develop our manufacturing technology and infrastructure; and
digital infrastructure costs.
The costs above comprise the following categories:
personnel-related expenses, including salaries, benefits, and stock-based compensation expense;
expenses incurred under agreements with third parties, such as consultants, investigative sites, contract research organizations, or CROs, that conduct our preclinical and clinical studies, and in-licensing arrangements;
costs of acquiring, developing, and manufacturing materials for preclinical and clinical studies, including both internal manufacturing and third-party contract manufacturing organizations, or CMOs;
expenses incurred for the procurement of materials, laboratory supplies, and non-capital equipment used in the research and development process; and
facilities, depreciation, and amortization, and other direct and allocated expenses incurred as a result of research and development activities.
We use our employee and infrastructure resources for the advancement of our platform, and for discovering and developing programs. Due to the number of ongoing programs and our ability to use resources across several projects, indirect or shared operating costs incurred for our research and development programs are not recorded or maintained on a program- or modality-specific basis.

215

Table of Contents

The following table reflects our research and development expenses, including direct program specific expenses summarized by modality and indirect or shared operating costs summarized under other research and development expenses during the years ended December 31, 2019, 2018 and 2017 (in thousands):
 
Years Ended December 31,
 
2019
 
2018
 
2017
Program expenses by modality:
 
 
 
 
 
Prophylactic vaccines
$
47,650

 
$
25,404

 
$
67,888

Cancer vaccines
44,003

 
35,891

 
31,818

Intratumoral immuno-oncology
17,607

 
15,405

 
20,340

Localized regenerative therapeutics
3,326

 
91

 
1,684

Systemic secreted and cell surface therapeutics
11,240

 
18,207

 
7,175

Systemic intracellular therapeutics
33,360

 
45,695

 
3,093

Total program-specific expenses by modality (1)
157,186

 
140,693

 
131,998

Other research and development expenses:
 
 
 
 
 
Discovery programs
55,376

 
34,643

 
40,190

Platform research
91,097

 
91,720

 
86,473

Technical development and unallocated manufacturing expenses
85,304

 
83,117

 
29,606

Shared discovery and development expenses
59,087

 
44,250

 
47,513

Stock-based compensation
48,259

 
37,659

 
21,679

Other expenses(2)

 
22,000

 
53,000

Total research and development expenses
$
496,309

 
$
454,082

 
$
410,459

__________
(1) 
Includes a total of 21, 21 and 18 development candidates at December 31, 2019, 2018 and 2017, respectively.
(2) 
Relates to in-licensing agreements entered into in June 2017 with Cellscript, LLC and its affiliate mRNA RiboTherapeutics, Inc. to sublicense certain patent rights.
A “modality” refers to a group of programs with common product features and the associated combination of enabling mRNA technologies, delivery technologies, and manufacturing processes. The program-specific expenses by modality summarized in the table above include expenses we directly attribute to our programs, which consist primarily of external costs, such as fees paid to outside consultants, central laboratories, investigative sites, and CROs in connection with our preclinical studies and clinical trials, and allocated manufacturing costs of mRNA supply and consumables. Costs to acquire and manufacture mRNA supply for preclinical studies and clinical trials are recognized and included in unallocated manufacturing expenses when incurred, and subsequently allocated to program-specific manufacturing costs after completion of the program-specific production. The timing of allocating manufacturing costs to program-specific costs varies depending on the program development and production schedule. We do not allocate personnel-related costs, including stock-based compensation, costs associated with our general platform research, technical development, and other shared costs on a program-specific basis. These costs were therefore excluded from the summary of program-specific expenses summary by modality.
Discovery program expenses are costs associated with research activities for our programs in the preclinical discovery stage, and primarily consist of external costs for CROs and lab services, and allocated manufacturing cost of preclinical mRNA supply and consumables.
Platform research expenses are mainly costs to develop technical advances in mRNA science, delivery science, and manufacturing process design. These costs include personnel-related costs, computer equipment, facilities, preclinical mRNA supply and consumables, and other administrative costs to support our platform research. Technology development and unallocated manufacturing expenses are primarily related to non-program-specific manufacturing process development and manufacturing costs. Shared discovery and development expenses are research and development costs such as personnel-related costs and other costs, which are not otherwise included in development programs, discovery programs, platform research, technical development and unallocated manufacturing expenses, stock-based compensation, and other expenses.
We have developed six modalities. As of February 14, 2020, we had 12 programs in clinical trials and a total of 24 development candidates across our 23 programs, summarized by modality as follows:

216

Table of Contents

Prophylactic vaccines included nine development candidates across eight programs: RSV vaccine (mRNA-1777 and mRNA-1172 or V172), CMV vaccine (mRNA-1647), hMPV/PIV3 vaccine (mRNA-1653), H7N9 vaccine (mRNA-1851), Zika vaccine (mRNA-1893), EBV vaccine (mRNA-1189), pediatric RSV vaccine (mRNA-1345), and SARS-CoV-2 vaccine (mRNA-1273). The CMV vaccine is currently in a Phase 2 clinical trial and in preparation for a Phase 3 clinical trial. The EBV, pediatric RSV and SARS-CoV-2 vaccines are in preclinical development. The rest of the programs in this modality either have ongoing or completed Phase 1 clinical trials.
Cancer vaccines included two development candidates: Personalized cancer vaccine (PCV) (mRNA-4157) and KRAS vaccine (mRNA-5671 or V941). We are collaborating with Merck on both programs. PCV is in a Phase 2 clinical trial and the KRAS vaccine is in a Phase 1 clinical trial.
Intratumoral immuno-oncology included three development candidates: OX40L (mRNA-2416), OX40L/IL-23/IL-36γ (Triplet) (mRNA-2752), and IL-12 (MEDI1191). OX40L is currently being evaluated in a Phase 1/2 trial that includes a Phase 2 expansion cohort in patients with advanced ovarian carcinoma. Triplet and IL-12 are in Phase 1 clinical trials.
Localized regenerative therapeutics included one development candidate, VEGF-A (AZD8601). The program is being led by AstraZeneca through clinical development and is in a Phase 2a clinical trial.
Systemic secreted and cell surface therapeutics included five development candidates: antibody against Chikungunya virus (mRNA-1944), Relaxin (AZD7970), Fabry disease (mRNA-3630), IL-2 (mRNA-6231), and PD-L1 (mRNA-6981). The antibody against Chikungunya virus development candidate is in collaboration with DARPA and the program is in a Phase 1 clinical trial. Relaxin, in collaboration with AstraZeneca, Fabry disease, IL-2 and PD-L1 are in preclinical development.
Systemic intracellular therapeutics included four development candidates: MMA (mRNA-3704), PA (mRNA-3927), PKU (mRNA-3283), and GSD1a (mRNA-3745). The MMA program has enrolled the first patient for a Phase 1/2 clinical trial. The U.S. Food and Drug Administration (the “FDA”) has completed its review of the IND for mRNA-3927 allowing the PA program to proceed to a Phase 1/2 clinical trial. The PKU and GSD1a programs are in preclinical development.
The largest component of our total operating expenses has historically been our investment in research and development activities, including development of our platform, mRNA technologies, and manufacturing technologies. We expense research and development costs as incurred and cannot reasonably estimate the nature, timing, and estimated costs required to complete the development of the development candidates and investigational medicines we are currently developing or may develop in the future. There are numerous risks and uncertainties associated with the research and development of such development candidates and investigational medicines, including, but not limited to:
scope, progress, and expense of developing ongoing and future development candidates and investigational medicines;
entry in and completion of related preclinical studies;
enrollment in and completion of subsequent clinical trials;
safety and efficacy of investigational medicines resulting from these clinical trials;
changes in laws or regulations relevant to the investigational medicines in development;
receipt of the required regulatory approvals; and
commercialization, including establishing manufacturing and marketing capabilities.
A change in expectations or outcomes of any of the known or unknown risks and uncertainties may materially impact our expected research and development expenditures. Continued research and development is central to the ongoing activities of our business. Investigational medicines in later stages of clinical development generally have higher development costs than those in earlier stages of clinical development, primarily due to the increased size and duration of later-stage clinical trials. We expect our costs to continue to increase in the future as our investigational medicines progress through the development phases and as we identify and develop additional programs. However, we do not believe that it is possible at this time to accurately project total program-specific expenses through commercialization. There are numerous factors associated with the successful commercialization of any of our investigational medicines, including future trial design and various regulatory requirements, many of which cannot be determined with accuracy at this time due to the early stage of development of our investigational medicines. Additionally, future commercial and regulatory factors beyond our control will impact our clinical development programs and plans.

217

Table of Contents

General and administrative expenses
General and administrative expenses consist primarily of personnel-related costs, including stock-based compensation, for executives, finance, legal, human resources, business development and other administrative and operational functions, professional fees, accounting and legal services, information technology and facility-related costs, and expenses associated with obtaining and maintaining intellectual property, or IP. These costs relate to the operation of the business, unrelated to the research and development function, or any individual program.
We anticipate general and administrative expenses will increase if research and development expands. These increases will likely relate to additional personnel and increased costs related to finance, legal and IP-related matters along with increased expenses related to operating as a publicly traded company, such as fees related to audit, legal, and tax services, regulatory compliance programs, and investor relations. In addition, if we obtain regulatory approval for any of our investigational medicines and do not enter into a third-party commercialization collaboration, we expect to incur significant expenses related to building a sales and marketing team to support medicine sales, marketing, and distribution activities.
We have a broad IP portfolio covering our development and commercialization of mRNA vaccine and therapeutic programs, including those related to mRNA design, formulation, and manufacturing platform technologies. We regularly file patent applications to protect innovations arising from our research and development. We also hold trademarks and trademark applications in the United States and foreign jurisdictions. Costs to secure and defend our IP are expensed as incurred, and are classified as general and administrative expenses.
General and administrative expenses, including IP-related expenses, totaled $109.6 million, $94.3 million and $64.7 million for the years ended December 31, 2019, 2018 and 2017, respectively. IP-related expenses, including our internal personnel-related costs, were $13.4 million, $11.9 million and $10.7 million, for the years ended December 31, 2019, 2018 and 2017, respectively. We did not incur litigation expenses related to our IP during the years ended December 31, 2019, 2018 and 2017.
Interest income
Interest income consists of interest generated from our investments in cash and cash equivalents, money market funds, and high-quality fixed income securities.
Other (expense) income, net
Other (expense) income, net consists of gains (losses) from the sale of investments in marketable securities, interest expense, and other income and expense unrelated to our core operations.
Critical accounting policies and significant judgments and estimates
Our management’s discussion and analysis of our financial condition and results of operations is based on our consolidated financial statements, which have been prepared in accordance with U.S. generally accepted accounting principles. The preparation of these consolidated financial statements requires us to make judgments and estimates that affect the reported amounts of assets, liabilities, revenues, and expenses and the disclosure of contingent assets and liabilities in our consolidated financial statements. We base our estimates on historical experience, known trends and events, and various other factors that we believe to be reasonable under the circumstances, the results of which form the basis for making judgments about the carrying values of assets and liabilities that are not readily apparent from other sources. Actual results may differ from these estimates under different assumptions or conditions. On an ongoing basis, we evaluate our judgments and estimates in light of changes in circumstances, facts, and experience. The effects of material revisions in estimates, if any, are reflected in the consolidated financial statements prospectively from the date of change in estimates.
While our significant accounting policies are described in more detail in the notes to our consolidated financial statements appearing elsewhere in this Annual Report on Form 10-K, we believe the following accounting policies used in the preparation of our consolidated financial statements require the most significant judgments and estimates.
Revenue recognition
We have primarily generated revenue from our strategic alliances. Our strategic alliances with strategic collaborators typically contain multiple elements, including research and other licenses, options to obtain development and commercialization rights, research and development services, obligations to develop and manufacture preclinical and clinical material, and options to obtain additional research and development services and preclinical and clinical material. Such arrangements provide for various types of payments to us, including upfront fees, funding of research and development services and preclinical and clinical material, technical, development, regulatory, and commercial milestone payments, licensing fees, option exercise fees, and royalty and earnout payments on product sales. Such payments are often not commensurate with the timing of revenue recognition and therefore result in deferral of revenue recognition.

218

Table of Contents

On January 1, 2019, we adopted Accounting Standards Codification (ASC) Topic 606, Revenue from Contracts with Customers (ASC 606), which supersedes all existing revenue recognition requirements in the historical accounting and most industry specific guidance. ASC 606 applies to all contracts with customers, except for contracts that are within the scope of other standards, such as leases, insurance, collaboration arrangements and financial instruments.

We analyze our collaboration arrangements to assess whether they are within the scope of ASC Topic 808, Collaborative Arrangements (ASC 808) to determine whether such arrangements involve joint operating activities performed by parties that are both active participants in the activities and exposed to significant risks and rewards that are dependent on the commercial success of such activities. To the extent the arrangement is within the scope of ASC 808, we assess whether aspects of the arrangement between us and our collaboration partner are within the scope of other accounting literature. If we conclude that some or all aspects of the arrangement represent a transaction with a customer, we account for those aspects of the arrangement within the scope of ASC 606. If we conclude that some or all aspects of the arrangement are within the scope of ASC 808 and do not represent a transaction with a customer, we recognize our allocation of the shared costs incurred with respect to the jointly conducted activities as a component of the related expense in the period incurred. Pursuant to ASC 606, a customer is a party that has contracted with an entity to obtain goods or services that are an output of the entity’s ordinary activities in exchange for consideration. Under ASC 606, an entity recognizes revenue when its customer obtains control of promised goods or services, in an amount that reflects the consideration which the entity expects to receive in exchange for those goods or services.
To determine the appropriate amount of revenue to be recognized for arrangements that we determine are within the scope of ASC 606, we perform the following steps: (i) identify the contract(s) with the customer; (ii) identify the performance obligations in the contract; (iii) determine the transaction price; (iv) allocate the transaction price to the performance obligations in the contract; and (v) recognize revenue when (or as) each performance obligation is satisfied. ASC 606 requires significant judgment and estimates and results in changes to, but not limited to: (i) the determination of the transaction price, including estimates of variable consideration, (ii) the allocation of the transaction price, including the determination of estimated selling price, and (iii) the pattern of recognition, including the application of proportional performance as a measure of progress on service-related promises and application of point-in-time recognition for supply-related promises. 
The transaction price is generally comprised of an upfront payment due at contract inception and variable consideration in the form of payments for our services and materials and milestone payments due upon the achievement of specified events. Other payments the Company could be entitled to include tiered royalties earned when customers recognize net sales of licensed products. We consider the existence of any significant financing component within our arrangements and have determined that a significant financing component does not exist in our arrangements as substantive business purposes exist to support the payment structure other than to provide a significant benefit of financing. We measure the transaction price based on the amount of consideration to which we expect to be entitled in exchange for transferring the promised goods and/or services to the customer. We utilize either the expected value method or the most likely amount method to estimate the amount of variable consideration, depending on which method is expected to better predict the amount of consideration to which we will be entitled. Amounts of variable consideration are included in the transaction price to the extent that it is probable that a significant reversal in the amount of cumulative revenue recognized will not occur when the uncertainty associated with the variable consideration is subsequently resolved. With respect to arrangements that include payments for a development or regulatory milestone payment, we evaluate whether the associated event is considered probable of achievement and estimate the amount to be included in the transaction price using the most likely amount method. Milestone payments that are not within our control or the licensee, such as those dependent upon receipt of regulatory approval, are not considered to be probable of achievement until the triggering event occurs. At the end of each reporting period, we re-evaluate the probability of achievement of each milestone and any related constraint, and if necessary, adjust our estimate of the overall transaction price. Any such adjustments are recorded on a cumulative catch-up basis, which would affect revenue and net loss in the period of adjustment. For arrangements that include sales-based royalties, including milestone payments based upon the achievement of a certain level of product sales, wherein the license is deemed to be the sole or predominant item to which the payments relate, we recognize revenue upon the later of: (i) when the related sales occur or (ii) when the performance obligation to which some or all of the payment has been allocated has been satisfied (or partially satisfied). Consideration that would be received for optional goods and/or services is excluded from the transaction price at contract inception.
We generally allocate the transaction price to each performance obligation based on a relative standalone selling price basis. We develop assumptions that require judgment to determine the standalone selling price for each performance obligation in consideration of applicable market conditions and relevant entity-specific factors, including factors that were contemplated in negotiating the agreement with the customer and estimated research and development costs. However, in certain instances, we allocate variable consideration entirely to one or more performance obligation if the terms of the variable consideration relate to the satisfaction of the respective performance obligation and the amount allocated is consistent with the amount we would expect to receive for the satisfaction of the respective performance obligation.
We recognize revenue based on the amount of the transaction price that is allocated to each respective performance obligation when or as the performance obligation is satisfied by transferring a promised good or service to the customer. For performance obligations that are satisfied at a point in time, we recognize revenue when control of the goods and/or services is transferred to the customer. For

219

Table of Contents

performance obligations that are satisfied over time, we recognize revenue by measuring the progress toward complete satisfaction of the performance obligation using a single method of measuring progress which depicts the performance in transferring control of the associated goods and/or services to the customer. We generally use input methods to measure the progress toward the complete satisfaction of performance obligations satisfied over time. With respect to arrangements containing a license to our intellectual property that is determined to be distinct from the other performance obligations identified in the arrangement, we recognize revenue from amounts allocated to the license when the license is transferred to the licensee and the licensee is able to use and benefit from the license. For licenses that are bundled with other promises, we utilize judgment to assess the nature of the combined performance obligation to determine whether the combined performance obligation is satisfied over time or at a point in time and, if over time, the appropriate method of measuring progress for purposes of recognizing revenue. Significant management judgment is required in determining the level of effort required under an arrangement and the period over which we are expected to complete our performance obligations under an arrangement. We evaluate the measure of progress each reporting period and, if necessary, adjust the measure of performance and related revenue recognition. Any such adjustments are recorded on a cumulative catch-up basis, which would affect revenue and net loss in the period of adjustment.
Research and development costs
As part of the process of preparing our financial statements, we are required to estimate our accrued research and development expenses, a significant portion of which are clinical study expenses conducted by third-party service providers. This process involves reviewing open contracts and purchase orders, communicating with our personnel to identify services that have been performed on our behalf, and estimating the level of service performed and the associated cost incurred for the service when we have not yet been invoiced or otherwise notified of the actual cost. The majority of our service providers invoice us in arrears for services performed or when contractual milestones are met. Examples of estimated accrued research and development expenses include fees paid to:
CROs to conduct our clinical trials;
investigative sites in connection with clinical trials;
vendors for laboratory services, supplies, and distribution of materials in connection with clinical trials; and
vendors in connection with preclinical development activities.
We base our expenses related to clinical trials on our estimates of the services received and efforts expended pursuant to contracts with CROs that conduct and manage clinical trials on our behalf. The financial terms of these contracts are subject to negotiation, vary from contract to contract and may result in uneven payment flows. There may be instances in which payments made to our vendors will exceed the level of services provided and result in a prepayment of the expense. Payments under some of these contracts depend on factors such as the successful enrollment of subjects and the completion of clinical trial milestones. In accruing service fees, we estimate the time period over which services will be performed and the level of effort to be expended in each period and adjust accordingly.
We make estimates of our research and development accrued expenses as of each balance sheet date in our financial statements based on facts and circumstances known to us at that time. We recognize costs for certain development activities based on an evaluation of the progress to completion of specific tasks using information and data provided to us by our vendors and our clinical sites, such as number of sites activated, number of patient enrollments and visits, and patient duration. We determine accrual estimates through financial models that take into account discussions with applicable personnel and service providers as to the progress or state of completion of trials. We periodically confirm the accuracy of these estimates with the service providers and make adjustments, if necessary. Upon settlement, these costs may differ materially from the amounts accrued in our consolidated financial statements. Our historical accrual estimates have not been materially different from our actual costs. However, due to the nature of estimates, we cannot provide assurance that we will not make changes to our estimates in the future as we become aware of additional information about the status or conduct of our research activities and clinical trials.
Stock-based compensation
We issue stock-based awards to employees and non-employees, generally in the form of stock options and restricted stock units. We measure and recognize compensation expense for our stock-based awards granted to our employees and non-employee directors based on the estimated grant date fair value in accordance with ASC 718, Compensation—Stock Compensation.
Our stock-based awards are subject to either service or performance-based vesting conditions. We recognize compensation expense related to awards to employees and non-employee directors with service-based vesting on a straight-line basis based on the grant date fair value over the requisite service period, which is generally the vesting period. Compensation expense related to awards to employees and non-employee directors with performance-based vesting conditions is recognized based on the grant date fair value over the requisite service period using an accelerated attribution method to the extent the achievement of the performance condition is probable. We made an accounting policy election to recognize forfeitures of stock-based awards as they occur.

220

Table of Contents

We classify stock-based compensation expense in our consolidated statements of operations in the same manner in which the award recipient’s salary and related costs are classified or in which the award recipient’s service payments are classified. In future periods, we expect stock-based compensation expense to increase, due in part to our existing unrecognized stock-based compensation expense and as we grant additional stock-based awards to continue to attract and retain our employees.
We determine the fair value of restricted stock and restricted stock units, based on the fair value of our common stock. We estimate the fair value of our stock options using the Black-Scholes option pricing model, which requires inputs of subjective assumptions, including: (i) the expected volatility of our stock; (ii) the expected term of the award; (iii) the risk-free interest rate; (iv) expected dividends; and (v) the fair value of common stock. Due to the lack of company specific historical and implied volatility data, we based our estimate of expected volatility on the estimate and expected volatilities of a guideline group of publicly traded companies. For these analyses, we select companies with comparable characteristics to ours including enterprise value, risk profiles, and with historical share price information sufficient to meet the expected life of the stock-based awards. We compute the historical volatility data using the daily closing prices for the selected companies’ shares during the equivalent period of the calculated expected term of our stock-based awards. We will continue to apply this process until a sufficient amount of historical information regarding the volatility of our own stock price becomes available. We estimate the expected term of our stock options granted to employees and non-employee directors using the simplified method, whereby, the expected term equals the average of the vesting term and the original contractual term of the option. We utilize this method as we do not have sufficient historical exercise data to provide a reasonable basis upon which to estimate the expected term. For stock options granted to non-employees, we utilize the contractual term of the option as the basis for the expected term assumption. For the determination of the risk-free interest rates we utilize the U.S. Treasury yield curve for instruments in effect at the time of measurement with a term commensurate with the expected term assumption. The expected dividend yield is assumed to be zero as we have never paid dividends and do not have current plans to pay any dividends on our common stock.

Income taxes

We account for income taxes based on an asset and liability approach. We recognize deferred tax assets and liabilities for the expected future tax consequences of events that have been included in the financial statements or tax returns. We determine our deferred tax assets and liabilities based on differences between financial reporting and tax bases of assets and liabilities, which are measured using the enacted tax rates and laws that will be in effect when the differences are expected to reverse.
Realization of our deferred tax assets is dependent upon the generation of future taxable income, the amount and timing of which are uncertain. Valuation allowances are provided, if, based upon the weight of available evidence, it is more likely than not that some or all of the deferred tax assets will not be realized. As of December 31, 2019, we continued to maintain a full valuation allowance against all of our deferred tax assets based on management’s evaluation of all available evidence.
We may become subject to income tax audits and adjustments by local tax authorities. The nature of uncertain tax positions is subject to significant judgment by management and subject to change, which may be substantial. We develop our assessment of uncertain tax positions, and the associated cumulative probabilities, using internal expertise and assistance from third-party experts. As additional information becomes available, estimates are revised and refined. Differences between estimates and final settlement may occur resulting in additional tax expense.
We record reserves for potential tax payments to various tax authorities related to uncertain tax positions. These reserves are based on a determination of whether and how much of a tax benefit taken by us in our tax filings or positions is more likely than not to be realized following resolution of any potential contingencies present related to the tax benefit. Potential interest and penalties associated with such uncertain tax positions is recorded as a component of income tax expense. To date, no amount has been recorded for uncertain tax positions.
Recently issued accounting pronouncements
We have reviewed all recently issued standards and have determined that, other than as disclosed in Note 2 to our consolidated financial statements, such standards will not have a material impact on our financial statements or do not otherwise apply to our operations.

221

Table of Contents

Results of operations
The following tables summarize our consolidated statements of operations for each period presented (in thousands):
 
Years Ended December 31,
 
Change 2019 vs. 2018
 
2019
 
2018
 
Change
 
%
Revenue:
 
 
 
 
 
 
 
Collaboration revenue
$
48,036

 
$
122,512

 
$
(74,476
)
 
(61
)%
Grant revenue
12,173

 
12,556

 
(383
)
 
(3
)%
Total revenue
60,209

 
135,068

 
(74,859
)
 
(55
)%
Operating Expenses:
 
 
 
 
 
 

Research and development
496,309

 
454,082

 
42,227

 
9
 %
General and administrative
109,620

 
94,252

 
15,368

 
16
 %
Total operating expenses
605,929

 
548,334

 
57,595

 
11
 %
Loss from operations
(545,720
)
 
(413,266
)
 
(132,454
)
 
32
 %
Interest income
38,530

 
27,023

 
11,507

 
43
 %
Other (expense) income, net
(7,526
)
 
1,835

 
(9,361
)
 
(510
)%
Loss before (benefit from) provision for income taxes
(514,716
)
 
(384,408
)
 
(130,308
)
 
34
 %
(Benefit from) provision for income taxes
(695
)
 
326

 
(1,021
)
 
(313
)%
Net loss
$
(514,021
)
 
$
(384,734
)
 
$
(129,287
)
 
34
 %
 
Years Ended December 31,
 
Change 2018 vs. 2017
 
2018
 
2017
 
Change
 
%
Revenue:
 
 
 
 
 
 
 
Collaboration revenue
$
122,512

 
$
176,974

 
$
(54,462
)
 
(31
)%
Grant revenue
12,556

 
28,851

 
(16,295
)
 
(56
)%
Total revenue
135,068

 
205,825

 
(70,757
)
 
(34
)%
Operating Expenses:
 
 
 
 
 
 
 
Research and development
454,082

 
410,459

 
43,623

 
11
 %
General and administrative
94,252

 
64,722

 
29,530

 
46
 %
Total operating expenses
548,334

 
475,181

 
73,153

 
15
 %
Loss from operations
(413,266
)
 
(269,356
)
 
(143,910
)
 
53
 %
Interest income
27,023

 
15,235

 
11,788

 
77
 %
Other income (expense), net
1,835

 
(1,875
)
 
3,710

 
(198
)%
Loss before provision for (benefit from) income taxes
(384,408
)
 
(255,996
)
 
(128,412
)
 
50
 %
Provision for (benefit from) income taxes
326

 
(80
)
 
406

 
(508
)%
Net loss
$
(384,734
)
 
$
(255,916
)
 
$
(128,818
)
 
50
 %

Revenue
Total revenue decreased by $74.9 million, or 55% in 2019, primarily due to a decrease in collaboration revenue. Collaboration revenue decreased by $74.5 million, or 61% in 2019, mainly due to decreased revenue across all our strategic alliances, particularly AstraZeneca and Merck, largely driven by our adoption of ASC 606 and the completion of the initial four-year research period under the 2016 Merck Agreement. See Note 2 to our consolidated financial statements for further information on our adoption of ASC 606. Grant revenue remained relatively flat in 2019. There was a decrease in revenue from DARPA as the research and development activities under the DARPA awards were substantially concluded at the end of 2018, offset by increases in revenue from Gates Foundation and BARDA.
Total revenue decreased by $70.8 million, or 34% in 2018, primarily due to decreases in both collaboration revenue and grant revenue. Collaboration revenue decreased by $54.5 million, or 31% in 2018, mainly driven by higher revenue in 2017 due to accelerated recognition of $70.3 million of revenue upon the termination of the Alexion strategic alliance arrangement in October 2018. Grant

222

Table of Contents

revenue decreased by $16.3 million, or 56% in 2018, largely attributable to a decrease in revenue of $13.4 million from the BARDA contract, primarily due to revisions to the Zika program and a focus on preclinical studies of mRNA-1893, a follow on to mRNA-1325.
Operating expenses
Research and development expenses
Research and development expenses increased by $42.2 million, or 9% in 2019. The increase was primarily attributable to an increase in personnel related costs of $37.4 million, an increase in clinical trial and manufacturing costs of $16.9 million, an increase in stock-based compensation of $10.6 million, and an increase in depreciation and amortization of $5.2 million. The increases were partially offset by a decrease in in-licensing costs of $22.0 million related to in-licensing agreements executed in 2017 with Cellscript, LLC and its affiliate mRNA RiboTherapeutics, Inc. (Cellscript) to sublicense certain patent rights, and a decrease in lab supplies and materials of $8.2 million. The increases in personnel related costs and stock-based compensation were largely driven by an increase in the number of employees supporting our research and development programs. The in-licensing costs decreased in 2019 as the sublicense grant fees were fully recognized at the end of 2018.
Research and development expenses increased by $43.6 million, or 11% in 2018. The increase was primarily attributable to an increase in personnel related costs of $26.6 million, an increase in stock-based compensation of $16.0 million, an increase in consulting and outside services of $13.1 million, an increase in facility and equipment related costs of $12.4 million, and an increase in depreciation and amortization expense of $4.3 million. The increases in personnel related costs and stock-based compensation were largely driven by an increase in the number of employees supporting our research and development programs. These increases were partially offset by a decrease of $31.0 million in costs related to in-licensing agreements executed in 2017 with Cellscript.
General and administrative expenses
General and administrative expenses increased by $15.4 million, or 16% in 2019. The increase was primarily due to an increase in insurance costs of $5.2 million, an increase in consulting and outside services of $4.9 million, an increase in information technology and facility-related costs of $4.0 million and an increase in personnel related costs of $2.5 million. The increases in insurance costs, consulting and outside services and personnel related costs were primarily driven by an increase in the number of employees and costs in support of being a publicly traded company.
General and administrative expenses increased by $29.5 million, or 46% in 2018. The increase was primarily due to an increase in stock-based compensation of $16.5 million, an increase in personnel related costs of $7.2 million, and an increase in consulting and outside services of $3.5 million. The increase in stock-based compensation was mainly attributable to certain performance-based equity awards with vesting or commencement contingent on our initial public offering (IPO) and an increase in the number of employees. The increase in personnel related costs were primarily driven by an increase in the number of employees. These increases and the increase in consulting and outside services were in support of our public company readiness.

Interest income
Interest income generated from our investments in marketable securities increased by $11.5 million, or 43%, in 2019, mainly driven by a higher weighted average balance of cash and investments, primarily from the net proceeds of our IPO. Interest income from our investments in marketable securities increased by $11.8 million, or 77% in 2018, mainly driven by an overall higher market interest rate and a higher weighted average balance of cash and investments in 2018, primarily from net proceeds from the issuance of redeemable convertible preferred stock.

Other (expense) income, net
The following tables summarizes other (expense) income, net for each period presented (in thousands):
 
Years Ended December 31,
Change 2019 vs. 2018
 
2019
 
2018
 
Change
 
%
Gain on investment
$
323

 
$
31

 
$
292

 
942
 %
Interest expense
(6,612
)
 
(3,096
)
 
(3,516
)
 
114
 %
Other (expense) income, net
(1,237
)
 
4,900

 
(6,137
)
 
(125
)%
Total other (expense) income, net
$
(7,526
)
 
$
1,835

 
$
(9,361
)
 
(510
)%

223

Table of Contents

 
Years Ended December 31,
 
Change 2018 vs. 2017
 
2018
 
2017
 
Change
 
%
Gain (loss) on investment
$
31

 
$
(1,085
)
 
$
1,116

 
(103
)%
Interest expense
(3,096
)
 
(132
)
 
(2,964
)
 
2245
 %
Other income (expense), net
4,900

 
(658
)
 
5,558

 
(845
)%
Total other income (expense), net
$
1,835

 
$
(1,875
)
 
$
3,710

 
(198
)%
Total other expense, net increased by $9.4 million in 2019. The increase was mainly attributable to a one-time $7.0 million cash receipt in 2018 as consideration for the waiver of a third party's previously negotiated commitment, and higher interest expense in 2019 of $3.5 million related to our financing lease liabilities. We started recording the interest expense in July 2018 upon the completion of our Moderna Technology Center manufacturing facility, or MTC South Please refer to Note 7 to our consolidated financial statements.
Total other income, net increased by $3.7 million in 2018. The increase was primarily due to an increase of $5.6 million in other income, net mainly attributable to a $7.0 million cash receipt as consideration for the waiver of a third party's previously negotiated commitment. This increase was partially offset by higher interest expense of $3.0 million related to our MTC South lease financing obligation. We began recording interest expense upon the completion of our MTC South in July 2018.

(Benefit from) provision for income taxes
There were no significant income tax benefits or provisions in 2019, 2018 and 2017.

Liquidity and capital resources
We have historically funded our operations primarily from the sale of equity instruments and from proceeds from certain strategic alliance arrangements and grant agreements. As of December 31, 2019, we had cash, cash equivalents and investments of $1.26 billion. Cash and cash equivalents and investments are invested in accordance with our investment policy, primarily with a view to liquidity and capital preservation. Investments, consisting primarily of government and corporate debt securities are stated at fair value. As of December 31, 2019, we had current and non-current investments of approximately $867.1 million and $160.0 million, respectively.
We began construction of our MTC South manufacturing facility, in the second half of 2016. Our capital expenditures related to MTC South were $3.9 million, $86.5 million and $59.9 million for the years ended December 31, 2019, 2018, and 2017, respectively. Cash disbursements related to MTC South were $14.6 million, $94.5 million and $41.2 million for the years ended December 31, 2019, 2018, and 2017, respectively. MTC South officially opened in July 2018. The remaining manufacturing equipment and processes which were still in progress at the time when MTC South opened were completed during 2019.
In the second quarter of 2019, we entered into an additional lease for office and laboratory space nearby, or MTC North, also located in Norwood. We have designed and started construction of MTC North in the fourth quarter of 2019. Our capital expenditures and cash disbursements related to MTC North were $1.9 million and $0.5 million, for the year ended December 31, 2019, respectively.
On January 30, 2018 and February 15, 2018, we issued Series G preferred stock for total gross proceeds of $560.0 million. On May 7, 2018, we issued Series H preferred stock for gross proceeds of $125.0 million of which $13.0 million was determined to be a premium and recorded to deferred revenue as part of the Merck PCV/SAV agreement executed contemporaneously with our Series H redeemable convertible preferred stock issuance. Please refer to Note 3 to our consolidated financial statements.
On December 11, 2018, we closed our IPO, whereby we sold 26,275,993 shares of common stock at a price of $23.00 per share. The shares began trading on the NASDAQ Global Select Market on December 7, 2018. The aggregate net proceeds received by us from the IPO were $563.0 million, net of underwriting discounts, commissions and offering expenses.
On February 14, 2020, we sold 26,315,790 shares of common stock at a price of $19.00 per share through a public equity offering. The aggregate net proceeds from the offering were approximately $478.1 million, net of underwriting discounts, commissions and estimated offering expenses. In addition, the underwriters have exercised their option to purchase an additional 3,947,368 shares of common stock at the public offering price less the underwriting discount, resulting in additional net proceeds of $71.8 million.


224

Table of Contents

Cash flow
The following table summarizes the primary sources and uses of cash for each period presented (in thousands):
 
Years Ended December 31,
 
2019
 
2018
 
2017
Net cash (used in) provided by:
 
 
 
 
 
Operating activities
$
(458,968
)
 
$
(330,865
)
 
$
(331,484
)
Investing activities
(14,945
)
 
(373,094
)
 
417,364

Financing activities
51,121

 
1,226,842

 
168

Net (decrease) increase in cash and cash equivalents
$
(422,792
)
 
$
522,883

 
$
86,048

Operating activities
We derive cash flows from operations primarily from cash collected from certain strategic alliances. Our cash flows from operating activities are significantly influenced by our use of cash for operating expenses and working capital to support the business. We have historically experienced negative cash flows from operating activities as we have invested in our mRNA technologies, development pipeline, digital infrastructure, manufacturing technology, and infrastructure.
Net cash used in operating activities in 2019 was $459.0 million and consisted of net loss of $514.0 million less non-cash adjustments of $108.7 million, plus a net change in assets and liabilities of $53.7 million. Non-cash items primarily included stock-based compensation of $81.1 million, depreciation and amortization of $31.0 million, and amortization of investment premiums and discounts of $3.7 million. The net change in assets and liabilities was primarily due to a decrease in deferred revenue of $44.1 million, a decrease in accounts payable of $24.0 million, a decrease in other liabilities of $6.2 million, an increase in right-of-use assets, operating leases of $5.7 million and an decrease in accrued liabilities of $3.4 million, partially offset by an increase in operating lease liabilities, non-current of $12.6 million, a decrease in prepaid expenses and other assets of $9.8 million and a decrease in accounts receivable of $6.7 million.
Net cash used in operating activities in 2018 was $330.9 million and consisted of net loss of $384.7 million less non-cash adjustments of $96.5 million, plus a net change in assets and liabilities of $42.6 million. Non-cash items primarily included stock-based compensation of $72.6 million and depreciation and amortization of $24.9 million. The net change in assets and liabilities was primarily due to a decrease in deferred revenue of $65.3 million, and an increase in prepaid expenses and other assets of $5.3 million, partially offset by an increase in accounts payable of $15.0 million and an increase in accrued liabilities of $8.8 million.

Net cash used in operating activities in 2017 was $331.5 million and consisted of net loss of $255.9 million less non-cash adjustments of $61.7 million, plus a net change in assets and liabilities of $137.2 million. Non-cash items primarily included stock-based compensation of $40.1 million and depreciation and amortization of $20.5 million. The net change in assets and liabilities in 2017 was primarily due to a decrease in deferred revenue of $162.3 million mainly driven by revenue recognition of $70.3 million resulting from termination of Alexion strategic alliance arrangements, a decrease in accounts payable of $12.8 million, partially offset by an increase in accrued liabilities of $34.4 million including a $25.0 million in-license payment accrual.

Investing activities
Our primary investing activities consist of purchases, sales, and maturities of our investments and capital expenditures for manufacturing, laboratory, computer equipment, and software.
Net cash used in investing activities in 2019 was $14.9 million, which included purchases of marketable securities of $1.15 billion and purchases of property and equipment of $31.6 million, partially offset by proceeds from maturities of marketable securities of $993.2 million and proceeds from sales of marketable securities of $168.7 million.
Net cash used in investing activities in 2018 was $373.1 million, which included purchases of marketable securities of $1.23 billion and purchases of property and equipment of $105.8 million, partially offset by proceeds from maturities of marketable securities of $783.4 million and proceeds from sales of marketable securities of $177.0 million
Net cash provided by investing activities in 2017 was $417.4 million, which included proceeds from maturities of marketable securities of $800.4 million, proceeds from sales of marketable securities of $402.5 million, partially offset by purchases of marketable securities of $727.2 million, and purchases of property and equipment of $58.4 million.
Financing activities

225

Table of Contents

We generated cash from financing activities of $51.1 million in 2019, primarily from net proceeds from the issuance of common stock under our equity plans of $47.3 million, and net proceeds from the purchase of common stock from our employee stock purchase plan of $2.9 million.
We generated cash from financing activities of $1.23 billion in 2018, primarily from net proceeds from the issuance of redeemable convertible preferred stock of $661.1 million and net proceeds from the issuance of common stock of $563.0 million in connection with our IPO.

We had insignificant financing activities in 2017.
Operation and funding requirements
Since our inception, we have incurred significant losses and negative cash flows from operations due to our significant research and development expenses. We have an accumulated deficit of $1.50 billion and $1.01 billion as of December 31, 2019 and 2018, respectively. We expect to continue to incur significant losses in the foreseeable future and expect our expenses to increase in connection with our ongoing activities, particularly as we continue research and development of our development candidates and clinical activities for our investigational medicines. In addition, we expect to incur additional costs associated with operating as a public company. Our expenses will also increase if, and as, we:
leverage our platform to expand our programs or advance our programs into preclinical and clinical development;
further develop our current programs;
seek to research and develop additional programs;
seek to research and develop additional modalities of mRNA medicines;
seek regulatory approvals for any investigational medicines that successfully complete clinical trials;
increase manufacturing capacity and production volume;
hire additional clinical, manufacturing, quality control, and scientific personnel, expand our operational, financial, and management systems, and increase personnel, including personnel to support our clinical development and manufacturing efforts and our operations as a public company;
establish a sales, marketing, medical affairs, and distribution infrastructure to commercialize any investigational medicine for which we may obtain marketing approval and intend to commercialize on our own or jointly;
maintain, expand, and protect our intellectual property portfolio; and
acquire or in-license other programs and technologies.
We are subject to all the risks related to the development and commercialization of novel medicines, and we may encounter unforeseen expenses, difficulties, complications, delays, and other unknown factors that may adversely affect our business. Our forecast of the period of time through which our financial resources will be adequate to support our operations is a forward-looking statement and involves risks and uncertainties, and actual results could vary as a result of a number of factors. We have based this estimate on assumptions that may prove to be wrong, and we could utilize our available capital resources sooner than we currently expect. We believe that our cash, cash equivalents, and investments as of December 31, 2019, will be sufficient to enable us to fund our projected operations through at least the next 12 months.
Our future funding requirements will depend on many factors, including, but not limited to:
the rate of progress in the development of our development candidates;
the initiation, progress, timing, costs, and results of clinical trials for our investigational medicines and future investigational medicines;
the number and characteristics of programs that we develop;
the costs of development efforts for our programs that are not subject to reimbursement from our strategic collaborators;
the costs of mRNA materials;

226

Table of Contents

the costs necessary to obtain regulatory approvals, if any, for our investigational medicines in the United States and other jurisdictions, and the costs of post-marketing studies that could be required by regulatory authorities in jurisdictions where approval is obtained;
the continuation of our existing strategic alliances and entry into new collaborations;
the cost and timing of completion of additional manufacturing facilities and activities, including potential commercial-scale manufacturing;
the costs we incur in maintaining business operations;
the costs associated with being a public company;
the revenue from any future sales of any approved mRNA medicines for which we are entitled to a profit share, royalties and milestones;
the time and unreimbursed costs necessary to commercialize mRNA medicines in territories in which our investigational medicines are approved for sale;
the effect of competing technological and market developments; and
the costs we incur in the filing, prosecution, maintenance, and defense of our extensive patent portfolio and other intellectual property rights.
Until we can generate a sufficient amount of revenue from our programs, we expect to finance future cash needs through public or private equity offerings, structured financings or debt financings and potential future strategic alliances from which we receive upfront fees, milestone payments, and other forms of consideration. Additional capital may not be available on reasonable terms, if at all. If we are unable to raise additional capital in sufficient amounts or on terms acceptable to us, we may have to significantly delay, scale back, or discontinue the development or commercialization of one or more of our investigational medicines, or slow down or cease work on one or more of our programs. If we raise additional funds through the issuance of additional equity or debt securities, it could result in dilution to our existing stockholders or increased fixed payment obligations, and any such securities may have rights senior to those of our common stock. If we incur indebtedness, we could become subject to covenants that would restrict our operations and potentially impair our competitiveness, such as limitations on our ability to incur additional debt, limitations on our ability to acquire, sell or license intellectual property rights and other operating restrictions that could adversely impact our ability to conduct our business. If we raise funds through strategic alliances or marketing, distribution, or licensing arrangements with third parties, we may have to relinquish valuable rights to our technologies, future revenue streams, research programs, or investigational medicines or grant licenses on terms that may not be favorable to us. Any of these events could significantly harm our business, financial condition, and prospects.
Off balance sheet arrangements
As of December 31, 2019, we did not have any off-balance sheet arrangements, as defined in Item 303(a)(4)(ii) of Regulation S-K.
Contractual obligations and commitments
The following table summarizes our contractual obligations as of December 31, 2019 and the effects that such obligations are expected to have on our liquidity and cash flows in future periods (in thousands):
 
Payments Due by Period
 
Total
 
Less than 1
year
 
1 - 3 years
 
3 - 5 years
 
More than 5
years
Operating leases (1)
173,009

 
12,563

 
27,934

 
29,073

 
103,439

Financing leases (1)
294,448

 
5,738

 
11,948

 
12,606

 
264,156

Purchase obligations (2)
4,537

 
2,241

 
2,232

 
64

 

Total contractual cash obligations (1)
$
471,994

 
$
20,542

 
$
42,114

 
$
41,743

 
$
367,595

_______

(1) 
The amounts in the table include a total payment of $218.8 million associated with our MTC South lease for the two extension periods of ten years each at our option. For accounting purpose, the lease term is the non-cancelable period of the lease and includes options to extend or terminate the lease when it is reasonably certain that an option will be exercised. Please refer to Note 7 to our consolidated financial statements.

227

Table of Contents

(2) 
The amounts represent non-cancelable fixed payment obligations under certain clinical service agreements.
Under our strategic collaboration agreements, we are committed to perform certain research, development, and manufacturing activities. As part of our personalized mRNA cancer vaccines, or PCV, collaboration and license agreement with Merck, we are committed to perform certain research, development, and manufacturing activities related to PCV products through an initial Phase 2 clinical trial up to a budgeted amount of $243.0 million as of December 31, 2019. Please refer to Note 3 to the consolidated financial statements. The expenses we expect to incur as part of our commitments under the PCV and other collaboration agreements were not included in the above table as we are not able to determine the timing and amounts of such expenses.
We have agreements with certain vendors for various services, including services related to clinical operations and support and contract manufacturing, which we are not contractually able to terminate for convenience. Certain agreements provide for termination rights subject to termination fees or wind down costs. Under such agreements, we are contractually obligated to make certain payments to vendors, mainly to reimburse them for their unrecoverable outlays incurred prior to cancellation. The exact amounts of such obligations are dependent on the timing of termination, and the exact terms of the relevant agreement and cannot be reasonably estimated. At December 31, 2019, we had cancelable open purchase orders of $105.9 million in total under such agreements for our clinical operations and support and contract manufacturing. These amounts represent only our estimate of those items for which we had a contractual commitment to pay at December 31, 2019, assuming we would not cancel these agreements. The actual amounts we pay in the future to the vendors under such agreements may differ from the cancelable open purchase order amounts of $105.9 million.
In addition to the above obligations, we enter into a variety of agreements and financial commitments in the normal course of business. The terms generally allow us the option to cancel, reschedule, and adjust our requirements based on our business needs, prior to the delivery of goods or performance of services. It is not possible to predict the maximum potential amount of future payments under these agreements due to the conditional nature of our obligations and the unique facts and circumstances involved in each particular agreement.

Item 7A. Quantitative and Qualitative Disclosures about Market Risk
Our primary exposure to market risk relates to changes in interest rates. As of December 31, 2019 and 2018, we had cash, cash equivalents, restricted cash, and investments in marketable securities of $1.26 billion and $1.69 billion, respectively. Our investment portfolio comprises money market funds and marketable debt securities (including U.S. Treasury securities, debt securities of U.S. government agencies and corporate entities, and commercial paper). Our primary investment objectives are the preservation of capital and the maintenance of liquidity, and our investment policy defines allowable investments based on quality of the institutions and financial instruments designed to have very low risk exposure. Our exposure to interest rate sensitivity is affected by changes in the general level of U.S. interest rates. Our available for sale securities are subject to interest rate risk and will fall in value if market interest rates increase.
We generally hold investments in marketable debt securities to maturity to limit our exposure to interest rate risk. Due to the short-term maturities and low risk profiles of our investments, we do not anticipate a significant exposure to interest rate risk. If market interest rates were to increase immediately and uniformly by 100 basis points, or one percentage point, from levels at December 31, 2019 and 2018, the net fair value of our interest sensitive marketable securities would not experience a material change in fair market value.
We currently do not have significant exposure to foreign currencies as we hold no foreign exchange contracts, option contracts, or other foreign hedging arrangements. Further, our operations and revenue generating activities are primarily denominated in U.S. dollars. Our operations may be subject to fluctuations in foreign currency exchange rates in the future.
Inflation generally affects us by increasing our cost of labor. We do not believe that inflation had a material effect on our business, financial condition, or results of operations during the years ended December 31, 2019, 2018 and 2017.

228

Table of Contents

Item 8. Financial Statements and Supplementary Data
MODERNA, INC.
INDEX TO CONSOLIDATED FINANCIAL STATEMENTS
 

229

Table of Contents

Report of Independent Registered Public Accounting Firm

To the Stockholders and the Board of Directors of Moderna, Inc.
Opinion on the Financial Statements
We have audited the accompanying consolidated balance sheets of Moderna, Inc. (the Company) as of December 31, 2019 and 2018, the related consolidated statements of operations, comprehensive loss, redeemable convertible preferred stock and stockholders’ equity (deficit), and cash flows for each of the three years in the period ended December 31, 2019, and the related notes (collectively referred to as the consolidated financial statements). In our opinion, the consolidated financial statements present fairly, in all material respects, the financial position of the Company at December 31, 2019 and 2018, and the results of its operations and its cash flows for each of the three years in the period ended December 31, 2019, in conformity with U.S. generally accepted accounting principles.
We also have audited, in accordance with the standards of the Public Company Accounting Oversight Board (United States) (PCAOB), the Company's internal control over financial reporting as of December 31, 2019, based on criteria established in Internal Control-Integrated Framework issued by the Committee of Sponsoring Organizations of the Treadway Commission (2013 framework) and our report dated February 27, 2020 expressed an unqualified opinion thereon.
Adoption of New Accounting Standard

As discussed in Note 2 to the consolidated financial statements, the Company changed its method of accounting for revenue in 2019 due to the adoption of Accounting Standards Update (ASU) No. 2014-09, Revenue from Contracts with Customers (Topic 606), and related amendments.

As discussed in Note 2 to the consolidated financial statements, the Company changed its method of accounting for leases in 2019 due to the adoption of Accounting Standards Update (ASU) No. 2016-02, Leases (Topic 842), and related amendments.

Basis for Opinion
These financial statements are the responsibility of the Company's management. Our responsibility is to express an opinion on the Company’s financial statements based on our audits. We are a public accounting firm registered with the PCAOB and are required to be independent with respect to the Company in accordance with the U.S. federal securities laws and the applicable rules and regulations of the Securities and Exchange Commission and the PCAOB.

We conducted our audits in accordance with the standards of the PCAOB. Those standards require that we plan and perform the audit to obtain reasonable assurance about whether the financial statements are free of material misstatement, whether due to error or fraud. Our audits included performing procedures to assess the risks of material misstatement of the financial statements, whether due to error or fraud, and performing procedures that respond to those risks. Such procedures included examining, on a test basis, evidence regarding the amounts and disclosures in the financial statements. Our audits also included evaluating the accounting principles used and significant estimates made by management, as well as evaluating the overall presentation of the financial statements. We believe that our audits provide a reasonable basis for our opinion.

Critical Audit Matters
The critical audit matters communicated below are matters arising from the current period audit of the financial statements that were communicated or required to be communicated to the audit committee and that: (1) relate to accounts or disclosures that are material to the financial statements and (2) involved our especially challenging, subjective or complex judgments. The communication of critical audit matters does not alter in any way our opinion on the consolidated financial statements, taken as a whole, and we are not, by communicating the critical audit matters below, providing separate opinions on the critical audit matters or on the accounts or disclosures to which they relate.

230

Table of Contents

 
 
Collaboration Revenue
Description of the Matter
 
As discussed above and in Note 2 to the consolidated financial statements, on January 1, 2019, the Company adopted Accounting Standards Codification (ASC) Topic 606, Revenue from Contracts with Customers (ASC 606), using the modified retrospective method and recognized the cumulative effect of initially applying the standard which reduced the Company’s accumulated deficit on the date of adoption by $28.0 million. The Company also recognized $48.0 million in collaboration revenue for the year ended December 31, 2019.
The Company recognizes revenue based on the amount of the transaction price that is allocated to each respective performance obligation when or as the performance obligation is satisfied by transferring a promised good or service to the customer. In determining the total revenue to be recognized under the proportional performance models, the Company develops assumptions that require judgment to determine the total expected effort for each performance obligation, including both internal and external estimated research and development costs. For performance obligations that are satisfied at a point in time, the Company recognizes revenue when control of the goods and/or services is transferred to the customer. For performance obligations that are satisfied over time, the Company recognizes revenue by measuring the progress toward complete satisfaction of the performance obligation using a single method of measuring progress which depicts the performance in transferring control of the associated goods and/or services to the customer. The Company evaluates the measure of progress each reporting period and, if necessary, adjusts the measure of performance and related revenue recognition.
Auditing the Company’s proportional performance models is especially challenging because the assessment of progress required a high degree of audit judgment due to the subjectivity, including estimating the remaining research and development costs necessary to satisfy a performance obligation. The recognition of revenue pursuant to collaboration arrangements is subject to these estimates and judgments developed by management, as the underlying proportional performance models are sensitive to changes in the assumptions, including the Company’s estimate in determining the remaining level of effort required under an arrangement.
How We Addressed the Matter in Our Audit
 
We obtained an understanding, evaluated the design and tested the operating effectiveness of controls over the collaboration revenue recognition process. This included testing controls over the review of management's significant judgments and estimates related to the inputs to the proportional performance model including (i) an estimate of the total and remaining pre-clinical and clinical activities, (ii) an estimate of the total and remaining amount of clinical material to be delivered and (iii) an estimate of the total and remaining costs to be incurred related to each performance obligation.
To evaluate the Company’s proportional performance models utilized for the Company’s ongoing recognition of revenue for its collaborative arrangements, our audit procedures included, among others, reading the agreements and all related schedules, and testing the accuracy and completeness of the underlying data used in evaluating the estimates and significant judgments, described above. To assess the reasonableness of the Company’s significant estimates and judgments, we corroborated management estimates and judgments through a review of the agreements and evaluated the accuracy of the prior period estimates and judgments as a potential source of corroborating or contradictory evidence. We also discussed the judgments with the Company’s research and development personnel that oversee the collaboration arrangements.


/s/ Ernst & Young LLP

We have served as the Company’s auditor since 2014.

Boston, Massachusetts
February 27, 2020




231

Table of Contents

MODERNA, INC.
CONSOLIDATED BALANCE SHEETS
(In thousands, except share and per share data)
 
December 31,
 
2019
 
2018
Assets
 
 
 
Current assets:
 
 
 
Cash and cash equivalents
$
235,876

 
$
658,364

Investments
867,124

 
863,063

Accounts receivable
5,032

 
11,686

Accounts receivable from related party (Note 14)
337

 
899

Prepaid expenses and other current assets
19,403

 
28,399

Restricted cash
1,032

 
595

Total current assets
1,128,804

 
1,563,006

Investments, non-current
159,987

 
172,990

Property and equipment, net
201,495

 
211,977

Right-of-use assets, operating leases
86,414

 

Restricted cash, non-current
10,791

 
11,532

Other non-current assets
1,931

 
2,644

Total assets
$
1,589,422

 
$
1,962,149

Liabilities and Stockholders’ Equity
 
 
 
Current liabilities:
 
 
 
Accounts payable
$
7,090

 
$
31,210

Accrued liabilities
67,652

 
79,073

Deferred revenue
63,310

 
109,056

Other current liabilities
5,063

 
3,464

Total current liabilities
143,115

 
222,803

Deferred revenue, non-current
138,995

 
165,352

Operating lease liabilities, non-current
93,675

 

Financing lease liabilities, non-current
38,689

 

Deferred lease obligation, non-current

 
10,006

Lease financing obligation

 
33,489

Other non-current liabilities
138

 
258

Total liabilities
414,612

 
431,908

Commitments and contingencies (Note 8)

 

Stockholders’ equity:
 
 
 
Preferred stock, $0.0001 par value; 162,000,000 shares authorized at December 31, 2019
   and 2018; 0 shares issued or outstanding at December 31, 2019 and 2018

 

Common stock, par value $0.0001; 1,600,000,000 shares authorized as of December 31, 2019 and 2018; 336,536,985 and 328,798,904 shares issued and outstanding as of December 31, 2019 and 2018, respectively
34

 
33

Additional paid-in capital
2,669,426

 
2,538,155

Accumulated other comprehensive gain (loss)
1,804

 
(1,320
)
Accumulated deficit
(1,496,454
)
 
(1,006,627
)
Total stockholders’ equity
1,174,810

 
1,530,241

Total liabilities and stockholders’ equity
$
1,589,422

 
$
1,962,149

The accompanying notes are an integral part of these consolidated financial statements.

232

Table of Contents

MODERNA, INC.
CONSOLIDATED STATEMENTS OF OPERATIONS
(In thousands, except share and per share data)
 
Years Ended December 31,
 
2019
 
2018
 
2017
Revenue:
 
 
 
 
 
Collaboration revenue
$
42,803

 
$
76,519

 
$
146,953

Collaboration revenue from related party (Note 14)
5,233

 
45,993

 
30,021

Grant revenue
12,173

 
12,556

 
28,851

Total revenue
60,209

 
135,068

 
205,825

Operating expenses:
 
 
 
 
 
Research and development
496,309

 
454,082

 
410,459

General and administrative
109,620

 
94,252

 
64,722

Total operating expenses
605,929

 
548,334

 
475,181

Loss from operations
(545,720
)
 
(413,266
)
 
(269,356
)
Interest income
38,530

 
27,023

 
15,235

Other (expense) income, net
(7,526
)
 
1,835

 
(1,875
)
Loss before (benefit from) provision for income taxes
(514,716
)
 
(384,408
)
 
(255,996
)
(Benefit from) provision for income taxes
(695
)
 
326

 
(80
)
Net loss
(514,021
)
 
(384,734
)
 
(255,916
)
Reconciliation of net loss to net loss attributable to common stockholders:
 
 
 
 
 
Premium paid on repurchase of preferred stock

 
(4,127
)
 

Cumulative preferred stock dividends

 
(12,996
)
 
(13,925
)
Net loss attributable to common stockholders
$
(514,021
)
 
$
(401,857
)
 
$
(269,841
)
Net loss per share attributable to common stockholders, basic and diluted
$
(1.55
)
 
$
(4.95
)
 
$
(4.18
)
Weighted average common shares used in net loss per share attributable to common stockholders, basic and diluted
330,802,136

 
81,114,183

 
64,497,544

The accompanying notes are an integral part of these consolidated financial statements.

233

Table of Contents

MODERNA, INC.
CONSOLIDATED STATEMENTS OF COMPREHENSIVE LOSS
(In thousands)
 
Years Ended December 31,
 
2019
 
2018
 
2017
Net loss
$
(514,021
)
 
$
(384,734
)
 
$
(255,916
)
Other comprehensive income (loss):
 
 
 
 
 
Unrealized gain (loss) on available-for-sale debt securities, net of tax of $1,148, $0 and $0, for the years ended December 31, 2019, 2018 and 2017, respectively
3,447

 
(132
)
 
(342
)
Less: amounts recognized for net realized gain included in net loss
(323
)
 
(31
)
 
(412
)
Total other comprehensive income (loss)
3,124

 
(163
)
 
(754
)
Comprehensive loss
$
(510,897
)
 
$
(384,897
)
 
$
(256,670
)
The accompanying notes are an integral part of these consolidated financial statements.

234

Table of Contents

MODERNA, INC.
CONSOLIDATED STATEMENTS OF REDEEMABLE CONVERTIBLE PREFERRED STOCK AND STOCKHOLDERS’ EQUITY (DEFICIT)
(In thousands, except unit and share data)
 
 
Redeemable Convertible
Preferred Stock
 
 
Common Stock
 
Additional
Paid-In
Capital
 
Accumulated
Other
Comprehensive
Loss
 
Accumulated
Deficit
 
Total
Stockholders’
Equity
(Deficit)
 
 
Shares
 
Amount
 
 
Shares
 
Amount
 
 
 
 
Balance at December 31, 2016
 
448,686,791

 
$
1,176,661

 
 
63,541,688

 
$
6

 
$
31,305

 
$
(403
)
 
$
(365,718
)
 
$
(334,810
)
Vesting of restricted common stock
 

 

 
 
1,644,769

 

 

 

 

 

Exercise of options to purchase common stock
 

 

 
 
20,542

 

 
212

 

 

 
212

Redeemable convertible preferred stock issuance costs
 

 

 
 

 

 
(152
)
 

 

 
(152
)
Stock-based compensation
 

 

 
 

 

 
40,314

 

 
(259
)
 
40,055

Unrealized loss on marketable securities
 

 

 
 

 

 

 
(754
)
 

 
(754
)
Net loss
 

 

 
 

 

 

 

 
(255,916
)
 
(255,916
)
Balance at December 31, 2017
 
448,686,791

 
$
1,176,661

 
 
65,206,999

 
$
6

 
$
71,679

 
$
(1,157
)
 
$
(621,893
)
 
$
(551,365
)
 
 
Redeemable Convertible
Preferred Stock
 
 
Common Stock
 
Additional
Paid-In
Capital
 
Accumulated
Other
Comprehensive
Loss
 
Accumulated
Deficit
 
Total
Stockholders’
Equity
 
 
Shares
 
Amount
 
 
Shares
 
Amount
 
 
 
 
Balance at December 31, 2017
 
448,686,791

 
$
1,176,661

 
 
65,206,999

 
$
6

 
$
71,679

 
$
(1,157
)
 
$
(621,893
)
 
$
(551,365
)
Vesting of restricted common stock
 

 

 
 
856,135

 

 

 

 

 

Issuance of Series G redeemable convertible preferred stock, net of issuance costs of $10,517
 
55,666,004

 
549,413

 
 

 

 
51

 

 

 
51

Issuance of Series H redeemable convertible preferred stock, net of issuance costs of $474
 
5,000,000

 
111,546

 
 

 

 

 

 

 

Repurchase of Series D redeemable convertible preferred stock
 
(269,180
)
 
(704
)
 
 

 

 
(2,009
)
 

 

 
(2,009
)
Repurchase of Series E redeemable convertible preferred stock
 
(544,100
)
 
(3,355
)
 
 

 

 
(2,118
)
 

 

 
(2,118
)
Exercise of options to purchase common stock, net
 

 

 
 
446,864

 

 
1,427

 

 

 
1,427

Conversion of redeemable convertible preferred stock into common stock
 
(508,539,515
)
 
(1,833,561
)
 
 
236,012,913

 
24

 
1,833,537

 

 

 
1,833,561

Proceeds of initial public offering, net of issuance costs of $41,322
 

 

 
 
26,275,993

 
3

 
563,023

 

 

 
563,026

Stock-based compensation
 

 

 
 

 

 
72,565

 

 

 
72,565

Unrealized loss on marketable securities
 

 

 
 

 

 

 
(163
)
 

 
(163
)
Net loss
 

 

 
 

 

 

 

 
(384,734
)
 
(384,734
)
Balance at December 31, 2018
 

 
$

 
 
328,798,904

 
$
33

 
$
2,538,155

 
$
(1,320
)
 
$
(1,006,627
)
 
$
1,530,241


235

Table of Contents

 
 
Redeemable Convertible
Preferred Stock
 
 
Common Stock
 
Additional
Paid-In
Capital
 
Accumulated
Other
Comprehensive
Gain (Loss)
 
Accumulated
Deficit
 
Total
Stockholders’
Equity
 
 
Shares
 
Amount
 
 
Shares
 
Amount
 
 
 
 
Balance at December 31, 2018
 

 
$


 
328,798,904

 
$
33

 
$
2,538,155

 
$
(1,320
)
 
$
(1,006,627
)
 
$
1,530,241

Vesting of restricted common stock and restricted stock units
 

 

 
 
621,432

 

 

 

 

 

Exercise of options to purchase common stock, net
 

 

 
 
6,945,306

 
1

 
47,258

 

 

 
47,259

Purchase of common stock under employee stock purchase plan
 

 

 
 
171,343

 

 
2,891

 

 

 
2,891

Transition adjustment from adoption of ASC 606 (Note 2)
 

 

 
 

 

 

 

 
27,984

 
27,984

Transition adjustment from adoption of ASC 842 (Note 2)
 

 

 
 

 

 

 

 
(3,790
)
 
(3,790
)
Stock-based compensation
 

 

 
 

 

 
81,122

 

 

 
81,122

Unrealized gain on marketable securities
 

 

 
 

 

 

 
3,124

 

 
3,124

Net loss
 

 

 
 

 

 

 

 
(514,021
)
 
(514,021
)
Balance at December 31, 2019
 

 
$

 
 
336,536,985

 
$
34

 
$
2,669,426

 
$
1,804

 
$
(1,496,454
)
 
$
1,174,810


The accompanying notes are an integral part of these consolidated financial statements.

236

Table of Contents

MODERNA, INC.
CONSOLIDATED STATEMENTS OF CASH FLOWS
(In thousands)
 
Years Ended December 31,
 
2019
 
2018
 
2017
Operating activities
 
 
 
 
 
Net loss
$
(514,021
)
 
$
(384,734
)
 
$
(255,916
)
Adjustments to reconcile net loss to net cash used in operating activities:
 
 
 
 
 
Stock-based compensation
81,122

 
72,565

 
40,055

Depreciation and amortization
31,021

 
24,862

 
20,537

Amortization/accretion of investments
(3,742
)
 
(1,866
)
 
1,086

Loss on disposal of property and equipment
316

 
891

 

Changes in assets and liabilities:
 
 
 
 
 
Accounts receivable
6,654

 
195

 
1,476

Accounts receivable from related party (Note 14)
562

 
637

 
(1,370
)
Prepaid expenses and other assets
9,751

 
(5,289
)
 
579

Right-of-use assets, operating leases
(5,664
)
 

 

Accounts payable
(23,964
)
 
15,017

 
(12,766
)
Accrued liabilities
(3,362
)
 
8,787

 
34,369

Deferred revenue
(44,119
)
 
(65,260
)
 
(162,321
)
Deferred lease obligation

 
2,420

 
2,932

Operating lease liabilities
12,647

 

 

Other liabilities
(6,169
)
 
910

 
(145
)
Net cash used in operating activities
(458,968
)
 
(330,865
)
 
(331,484
)
Investing activities
 
 
 
 
 
Purchases of marketable securities
(1,145,226
)
 
(1,227,709
)
 
(727,203
)
Proceeds from maturities of marketable securities
993,181

 
783,373

 
800,438

Proceeds from sales of marketable securities
168,654

 
177,008

 
402,530

Purchases of property and equipment
(31,554
)
 
(105,766
)
 
(58,401
)
Net cash (used in) provided by investing activities
(14,945
)
 
(373,094
)
 
417,364

Financing activities
 
 
 
 
 
Proceeds from issuance of redeemable convertible preferred stock, net of issuance costs

 
661,111

 

Proceeds from initial public offering of common stock, net of issuance costs

 
563,026

 

Repurchases of redeemable convertible preferred stock

 
(8,182
)
 

Distributions to preferred and common unit holders

 

 
(1,483
)
Proceeds from issuance of common stock under equity plans
47,259

 
1,427

 
212

Proceeds from purchase of common stock under employee stock purchase plan
2,891

 

 

Charges to financing lease liabilities
971

 

 

Reimbursement of assets under financing lease obligation

 
11,635

 
2,724

Payments on financing lease obligation

 
(2,175
)
 
(1,285
)
Net cash provided by financing activities
51,121

 
1,226,842

 
168

Net (decrease) increase in cash, cash equivalents and restricted cash
(422,792
)
 
522,883

 
86,048

Cash, cash equivalents and restricted cash, beginning of year
670,491

 
147,608

 
61,560

Cash, cash equivalents and restricted cash, end of year
$
247,699

 
$
670,491

 
$
147,608

Supplemental cash flow information
 
 
 
 
 
Income taxes paid
$
416

 
$
294

 
$
398

Interest in connection with financing lease obligation
$

 
$
2,998

 
$

Non-cash investing and financing activities
 
 
 
 
 
Issuance costs included in accounts payable and accrued liabilities
$

 
$
2,638

 
$
152

Purchases of property and equipment included in accounts payable and accrued liabilities
$
4,676

 
$
12,892

 
$
19,959

Leasehold improvements included in prepaid and other current assets
$

 
$
10,089

 
$
1,748

Lease financing obligation
$

 
$
10,089

 
$
1,748

The accompanying notes are an integral part of these consolidated financial statements.

237

Table of Contents

MODERNA, INC.
NOTES TO CONSOLIDATED FINANCIAL STATEMENTS

1. Organization and Description of Business
Moderna, Inc. (we, us, or the Company) was incorporated in Delaware on July 22, 2016. Our principal executive office is located at 200 Technology Square, Cambridge, MA.
We are a clinical stage biotechnology company creating a new generation of transformative medicines based on messenger RNA (mRNA), to improve the lives of patients. mRNA medicines are designed to direct the body’s cells to produce intracellular, membrane, or secreted proteins that have a therapeutic or preventive benefit with the potential to address a broad spectrum of diseases. Our platform builds on continuous advances in basic and applied mRNA science, delivery technology, and manufacturing, providing us the capability to pursue in parallel a robust pipeline of new development candidates. We are developing therapeutics and vaccines for infectious diseases, immuno-oncology, rare diseases, autoimmune and cardiovascular diseases, independently and with our strategic collaborators.
Since inception, we have incurred significant net losses, which were $514.0 million, $384.7 million, and $255.9 million for the years ended December 31, 2019, 2018 and 2017, respectively. On December 11, 2018, we completed our initial public offering (IPO), whereby we sold 26,275,993 shares of common stock at a price of $23.00 per share. The aggregate net proceeds received by us from the IPO were $563.0 million. As of December 31, 2019, we had an accumulated deficit of $1.50 billion. We expect to continue to incur significant expenses and operating losses for the foreseeable future. In addition, we anticipate that our expenses will increase significantly in connection with our ongoing activities to support our platform research, drug discovery and clinical development, infrastructure and Research Engine and Early Development Engine, digital infrastructure, creation of a portfolio of intellectual property, and administrative support.
We do not expect to generate significant revenue from sales of potential mRNA medicines unless and until we successfully complete clinical development and obtain regulatory approval for one or more of our investigational medicines. If we seek to obtain regulatory approval for any of our investigational medicines, we expect to incur significant commercialization expenses.
As a result, we will need substantial additional funding to support our continued operations and pursue our growth strategy. Until we can generate significant revenue from potential mRNA medicines, if ever, we expect to finance our operations through a combination of public or private equity offerings, structured financings and debt financings, government funding arrangements, strategic alliances and marketing, distribution and licensing arrangements. We may be unable to raise additional funds or enter into such other agreements on favorable terms, or at all. If we fail to raise capital or enter into such agreements as, and when, needed, we may have to significantly delay, scale back or discontinue the development and commercialization of one or more of our programs. We believe that our cash, cash equivalents, and investments as of December 31, 2019 will be sufficient to enable us to fund our projected operations through at least the next 12 months from the issuance of our financial statements.
Because of the numerous risks and uncertainties associated with pharmaceutical development, we are unable to predict the timing or amount of increased expenses or when or if we will be able to achieve or maintain profitability. Even if we are able to generate revenues from the sale of our medicines, we may not become profitable. If we fail to become profitable or are unable to sustain profitability on a continuing basis, then we may be unable to continue our operations at planned levels and be forced to reduce our operations.

2. Summary of Significant Accounting Policies
Basis of Presentation and Principles of Consolidation
Our consolidated financial statements are prepared in accordance with U.S. generally accepted accounting principles (GAAP). Any reference in these notes to applicable guidance is meant to refer to the authoritative accounting principles generally accepted in the United States as found in the Accounting Standard Codification (ASC) and Accounting Standards Update (ASU) of the Financial Accounting Standards Board (FASB).
The consolidated financial statements include the Company and its subsidiaries. All intercompany transactions and balances have been eliminated in consolidation.

Use of Estimates
We have made estimates and judgments affecting the amounts reported in our consolidated financial statements and the accompanying notes. On an ongoing basis, we evaluate our estimates, including critical accounting policies or estimates related to revenue

238

Table of Contents

recognition, research and development expenses, income tax provisions, stock-based compensation, leases, and useful lives of long-lived assets. We base our estimates on historical experience and various relevant assumptions that we believe to be reasonable under the circumstances, the results of which form the basis for making judgments about the carrying values of assets and liabilities that are not readily apparent from other sources. The actual results that we experience may differ materially from our estimates. Significant estimates relied upon in preparing these financial statements include, among others, those related to fair value of equity awards, revenue recognition, research and development expenses, leases, fair value of financial instruments, useful lives of property and equipment, income taxes, and our valuation allowance on our deferred tax assets.
Segment Information
We have determined that our chief executive officer is the chief operating decision maker (CODM). The CODM reviews financial information presented on a consolidated basis. Resource allocation decisions are made by the CODM based on consolidated results. There are no segment managers who are held accountable by the CODM for operations, operating results, and planning for levels or components below the consolidated unit level. As such, we have concluded that we operate as one segment. All our long-lived assets are located in the United States.
Revenue Recognition
On January 1, 2019, we adopted Accounting Standards Codification (ASC) Topic 606, Revenue from Contracts with Customers (ASC 606), using the modified retrospective transition method applied to those contracts which were not completed as of January 1, 2019. We recognized the cumulative effect of the adoption as an adjustment to the opening balance of accumulated deficit in the current period consolidated balance sheet. Results for reporting periods beginning after January 1, 2019 are presented under ASC 606, while prior period amounts have not been adjusted and continue to be reported in accordance with our historic accounting under ASC Topic 605, Revenue Recognition (ASC 605). ASC 606 applies to all contracts with customers, except for contracts that are within the scope of other standards, such as leases, insurance, collaboration arrangements and financial instruments.
Our revenue is primarily generated through collaboration arrangements and grants from government-sponsored and private organizations. Our collaboration arrangements typically contain multiple promises, including licenses to our intellectual property, options to obtain development and commercialization rights, research and development services, and obligations to develop and manufacture preclinical and clinical material. Such arrangements provide for various types of payments to us, including upfront payments, funding of research and development activities, funding for the purchase of preclinical and clinical material, development, regulatory and commercial milestone payments, licensing fees, option exercise payments, and royalties based on product sales. We have received grants from various government-sponsored and private organizations for research and related activities that provide for payments for reimbursed costs, which may include overhead and general and administrative costs as well as a related profit margin.
We analyze our collaboration arrangements to assess whether they are within the scope of ASC Topic 808, Collaborative Arrangements (ASC 808) to determine whether such arrangements involve joint operating activities performed by parties that are both active participants in the activities and exposed to significant risks and rewards that are dependent on the commercial success of such activities. To the extent the arrangement is within the scope of ASC 808, we assess whether aspects of the arrangement between us and our collaboration partner are within the scope of other accounting literature. If we conclude that some or all aspects of the arrangement represent a transaction with a customer, we account for those aspects of the arrangement within the scope of ASC 606. If we conclude that some or all aspects of the arrangement are within the scope of ASC 808 and do not represent a transaction with a customer, we recognize our allocation of the shared costs incurred with respect to the jointly conducted activities as a component of the related expense in the period incurred. Pursuant to ASC 606, a customer is a party that has contracted with an entity to obtain goods or services that are an output of the entity’s ordinary activities in exchange for consideration. Under ASC 606, an entity recognizes revenue when its customer obtains control of promised goods or services, in an amount that reflects the consideration which the entity expects to receive in exchange for those goods or services. If we conclude a counter-party to a transaction is not a customer or otherwise not within the scope of ASC 606 or ASC 808, we consider the guidance in other accounting literature as applicable or by analogy to account for such transaction. We also consider the guidance in ASC 606 with respect to principal versus agent considerations, in determining the appropriate treatment for the transactions between us and the strategic collaborator and the transactions between us and other third parties. The classification of transactions under our arrangements is determined based on the nature and contractual terms of the arrangement along with the nature of the operations of the participants. Any consideration related to activities in which we are considered the principal, which includes being in control of the good or service before such good or service is transferred to the customer, are accounted for as gross revenue.
We receive payments from our customers based on billing schedules established in each contract. Upfront payments and fees are recorded as contract liabilities upon receipt or when due and may require deferral of revenue recognition to a future period when we perform our obligations under the arrangement. Amounts expected to be recognized as revenue within the 12 months following the balance sheet date are classified as current liabilities in our consolidated balance sheets. Amounts not expected to be recognized as

239

Table of Contents

revenue within the 12 months following the balance sheet date are classified as non-current liabilities in our consolidated balance sheets. Amounts payable to us are recorded as accounts receivable when our right to consideration is unconditional. We expense incremental costs of obtaining a contract as incurred if the expected amortization period of the asset that we would have recognized is one year or less or the amount is immaterial. As of December 31, 2019, we had not capitalized any costs to obtain any of our contracts.
Collaboration Revenue
To determine the appropriate amount of revenue to be recognized for arrangements that we determine are within the scope of ASC 606, we perform the following steps: (i) identify the contract(s) with our customer; (ii) identify the performance obligations in the contract; (iii) determine the transaction price; (iv) allocate the transaction price to the performance obligations in the contract; and (v) recognize revenue when or as each performance obligation is satisfied.
We account for a contract with a customer that is within the scope of ASC 606 when all of the following criteria are met: (i) the arrangement has been approved by the parties and the parties are committed to perform their respective obligations; (ii) each party’s rights regarding the goods and/or services to be transferred can be identified; (iii) the payment terms for the goods and/or services to be transferred can be identified; (iv) the arrangement has commercial substance; and (v) collection of substantially all of the consideration to which we will be entitled in exchange for the goods and/or services that will be transferred to the customer is probable. We also determine the term of the contract based on the period in which we and our customer have present and enforceable rights and obligations for purposes of identifying the performance obligations and determining the transaction price.
We evaluate contracts that contain multiple promises to determine which promises are distinct. Promises are considered to be distinct and therefore, accounted for as separate performance obligations, provided that: (i) the customer can benefit from the good or service either on its own or together with other resources that are readily available to the customer and (ii) the promise to transfer the good or service to the customer is separately identifiable from other promises in the contract. In assessing whether a promise is distinct, we consider factors such as whether: (i) we provide a significant service of integrating goods and/or services with other goods and/or services promised in the contract; (ii) one or more of the goods and/or services significantly modifies or customizes, or are significantly modified or customized by one or more of the other goods and/or services promised in the contract; and (iii) the goods and/or services are highly interdependent or highly interrelated. Individual goods or services (or bundles of goods and/or services) that meet both criteria for being distinct are accounted for as separate performance obligations. Promises that are not distinct at contract inception are combined and accounted for as a single performance obligation. Options to acquire additional goods and/or services are evaluated to determine if such option provides a material right to the customer that it would not have received without entering into the contract. If so, the option is accounted for as a separate performance obligation. If not, the option is considered a marketing offer which would be accounted for as a separate contract upon the customer’s election.
The transaction price is generally comprised of an upfront payment due at contract inception and variable consideration in the form of payments for our services and materials and milestone payments due upon the achievement of specified events. Other payments the Company could be entitled to include tiered royalties earned when customers recognize net sales of licensed products. We consider the existence of any significant financing component within our arrangements and have determined that a significant financing component does not exist in our arrangements as substantive business purposes exist to support the payment structure other than to provide a significant benefit of financing. We measure the transaction price based on the amount of consideration to which we expect to be entitled in exchange for transferring the promised goods and/or services to the customer. We utilize either the expected value method or the most likely amount method to estimate the amount of variable consideration, depending on which method is expected to better predict the amount of consideration to which we will be entitled. Amounts of variable consideration are included in the transaction price to the extent that it is probable that a significant reversal in the amount of cumulative revenue recognized will not occur when the uncertainty associated with the variable consideration is subsequently resolved. With respect to arrangements that include payments for a development or regulatory milestone payment, we evaluate whether the associated event is considered probable of achievement and estimate the amount to be included in the transaction price using the most likely amount method. Milestone payments that are not within our control or the licensee, such as those dependent upon receipt of regulatory approval, are not considered to be probable of achievement until the triggering event occurs. At the end of each reporting period, we re-evaluate the probability of achievement of each milestone and any related constraint, and if necessary, adjust our estimate of the overall transaction price. Any such adjustments are recorded on a cumulative catch-up basis, which would affect revenue and net loss in the period of adjustment. For arrangements that include sales-based royalties, including milestone payments based upon the achievement of a certain level of product sales, wherein the license is deemed to be the sole or predominant item to which the payments relate, we recognize revenue upon the later of: (i) when the related sales occur or (ii) when the performance obligation to which some or all of the payment has been allocated has been satisfied (or partially satisfied). Consideration that would be received for optional goods and/or services is excluded from the transaction price at contract inception.

240

Table of Contents

We generally allocate the transaction price to each performance obligation based on a relative standalone selling price basis. We develop assumptions that require judgment to determine the standalone selling price for each performance obligation in consideration of applicable market conditions and relevant entity-specific factors, including factors that were contemplated in negotiating the agreement with the customer and estimated research and development costs. However, in certain instances, we allocate variable consideration entirely to one or more performance obligation if the terms of the variable consideration relate to the satisfaction of the respective performance obligation and the amount allocated is consistent with the amount we would expect to receive for the satisfaction of the respective performance obligation.
We recognize revenue based on the amount of the transaction price that is allocated to each respective performance obligation when or as the performance obligation is satisfied by transferring a promised good or service to the customer. For performance obligations that are satisfied at a point in time, we recognize revenue when control of the goods and/or services is transferred to the customer. For performance obligations that are satisfied over time, we recognize revenue by measuring the progress toward complete satisfaction of the performance obligation using a single method of measuring progress which depicts the performance in transferring control of the associated goods and/or services to the customer. We generally use input methods to measure the progress toward the complete satisfaction of performance obligations satisfied over time. With respect to arrangements containing a license to our intellectual property that is determined to be distinct from the other performance obligations identified in the arrangement, we recognize revenue from amounts allocated to the license when the license is transferred to the licensee and the licensee is able to use and benefit from the license. For licenses that are bundled with other promises, we utilize judgment to assess the nature of the combined performance obligation to determine whether the combined performance obligation is satisfied over time or at a point in time and, if over time, the appropriate method of measuring progress for purposes of recognizing revenue. Significant management judgment is required in determining the level of effort required under an arrangement and the period over which we are expected to complete our performance obligations under an arrangement. We evaluate the measure of progress each reporting period and, if necessary, adjust the measure of performance and related revenue recognition. Any such adjustments are recorded on a cumulative catch-up basis, which would affect revenue and net loss in the period of adjustment.
Grant Revenue
We have contracts with the U.S. government’s Defense Advanced Research Projects Agency (DARPA), Biomedical Advanced Research (BARDA), and the Bill & Melinda Gates Foundation (Gates Foundation). We recognize revenue from these contracts as we perform services under these arrangements when the funding is committed. Revenues and related expenses are presented gross in the consolidated statements of operations as we have determined we are the primary obligor under the arrangements relative to the research and development services we perform as lead technical expert.
Cash and Cash Equivalents
We consider all highly liquid investments with an original maturity of 90 days or less from the date of purchase to be cash equivalents.
Restricted Cash
Restricted cash is composed of amounts held on deposit related to our lease arrangements. The funds are maintained in money market accounts and are recorded at fair value. We classify our restricted cash as either current or non-current based on the terms of the underlying lease arrangement.
Investments
We invest our excess cash balances in marketable debt securities. We classify our investments in marketable debt securities as available-for-sale. We report available-for-sale investments at fair value at each balance sheet date, and include any unrealized holding gains and losses (the adjustment to fair value) in accumulated other comprehensive gain (loss), a component of stockholders’ equity. Realized gains and losses are determined using the specific-identification method, and are included in other (expense) income, net in our consolidated statements of operations. Should any adjustment to fair value reflect a decline in the value of the investment, we consider all available evidence to evaluate the extent to which the decline is “other than temporary” and, if so, we recognize the associated unrealized loss through a charge to our consolidated statement of operations. We did not record any impairment charges related to our marketable securities during the years ended December 31, 2019, 2018 and 2017. We classify our available-for-sale marketable securities as current or non-current based on each instrument’s underlying effective maturity date and for which we have the intent and ability to hold the investment for a period of greater than 12 months. Marketable securities with maturities of less than 12 months are classified as current and are included in investments in the consolidated balance sheets. Marketable securities with maturities greater than 12 months for which we have the intent and ability to hold the investment for greater than 12 months are classified as non-current and are included in investments, non-current in the consolidated balance sheets.

241

Table of Contents

Accounts Receivable and Allowance for Doubtful Accounts
Accounts receivable are amounts due from strategic collaborators as a result of manufacturing and research and development services provided under collaboration arrangements, or milestones achieved, but not yet paid. We also have accounts receivable amounts due from our grant agreements. Amounts payable to us are recorded as accounts receivable when our right to consideration is unconditional. To estimate the allowance for doubtful accounts, we make judgments about the creditworthiness of our customers based on ongoing credit evaluation and historical experience. There was no allowance for doubtful accounts at December 31, 2019, and 2018. There was no bad debt expense for the years ended December 31, 2019, 2018 or 2017.
Concentrations of Credit Risk
Financial instruments that subject us to significant concentrations of credit risk consist primarily of cash, cash equivalents, restricted cash, marketable securities, and accounts receivable. Our investment portfolio comprises money market funds, marketable debt securities, including U.S. Treasury securities, debt securities of U.S. government agencies and corporate entities and commercial paper. Our cash management and investment policy limits investment instruments to investment-grade securities with the objective to preserve capital and to maintain liquidity until the funds can be used in business operations. Bank accounts in the United States are insured by the Federal Deposit Insurance Corporation (FDIC) up to $250,000. Our primary operating accounts significantly exceed the FDIC limits.
Significant Customers
Our accounts receivable are generally unsecured and are from customers in different countries. We generated 80%, 91% and 86% of our revenue for the years ended December 31, 2019, 2018 and 2017, respectively, from strategic collaborators. The remaining 20%, 9%, 14% of our revenue for the years ended December 31, 2019, 2018 and 2017, respectively, were generated from grants made by government-sponsored and private organizations.
A significant portion of our revenue to date has been generated from the following entities that accounted for more than 10% of total revenue and accounts receivable for the periods presented:
 
Percentage of Revenue
Years Ended December 31,
 
Percentage of 
Accounts Receivable
December 31,
 
2019
 
2018
 
2017
 
2019
 
2018
Merck
61
%
 
49
%
 
31
%
 
13
%
 
30
%
BARDA
13
%
 
*

 
10
%
 
54
%
 
13
%
Vertex
10
%
 
*

 
*

 
17
%
 
22
%
AstraZeneca
*

 
34
%
 
15
%
 
*

 
*

Alexion
*

 
*

 
36
%
 
*

 
*

DARPA
*

 
*

 
*

 
*

 
16
%
Massachusetts Life Sciences Center
*

 
*

 
*

 
*

 
12
%
________
* - Represents an amount of less than 10%
Fair Value Measurements
Fair value is defined as the price that would be received from selling an asset or paid to transfer a liability in an orderly transaction between market participants at the measurement date. When determining the fair value measurements for assets and liabilities, which are required to be recorded at fair value, we consider the principal or most advantageous market in which we would transact and the market-based risk measurements or assumptions that market participants would use in pricing the asset or liability, such as risks inherent in valuation techniques, transfer restrictions and credit risk. FASB ASC Topic 820, Fair Value Measurement (ASC 820), establishes a fair value hierarchy for instruments measured at fair value that distinguishes between assumptions based on market data (observable inputs) and our assumptions (unobservable inputs). Observable inputs are inputs that market participants would use in pricing the asset or liability based on market data obtained from our independent sources. Unobservable inputs are inputs that reflect our assumptions about the inputs that market participants would use in pricing the asset or liability, and are developed based on the best information available in the circumstances. The following fair value hierarchy is used to classify assets and liabilities based on the observable inputs and unobservable inputs used to value the assets and liabilities: 

242

Table of Contents

Level 1: Unadjusted quoted prices in active markets that are accessible at the measurement date for identical, unrestricted assets or liabilities;
Level 2: Quoted prices for similar assets and liabilities in active markets, quoted prices in markets that are not active, or inputs which are observable, either directly or indirectly, for substantially the full term of the asset or liability; or
Level 3: Prices or valuation techniques that require inputs that are both significant to the fair value measurement and unobservable (i.e., supported by little or no market activity).
To the extent that the valuation is based on models or inputs that are less observable or unobservable in the market, the determination of fair value requires more judgment. A financial instrument’s level within the fair value hierarchy is based on the lowest level of any input that is significant to the fair value measurement.
Our cash equivalents and marketable securities are reported at fair value determined using Level 1 and Level 2 inputs (Note 5). We do not have any non-financial assets or liabilities that should be recognized or disclosed at fair value on a recurring basis at December 31, 2019, 2018 and 2017.
As of December 31, 2019 and 2018, we maintain letters of credit of $11.8 million and $12.1 million, respectively, related to our lease arrangements, which are secured by money market accounts in accordance with certain of our lease agreements. The amounts are recorded at fair value using Level 1 inputs and included as restricted cash in our consolidated balance sheets.
Construction in Progress
Construction in progress includes direct costs related to the construction of various property and equipment, including leasehold improvements, and is stated at original cost. Construction in progress includes costs incurred under construction contracts including project management services, engineering services, design services and development, construction services and other construction-related fees and services. Such costs are not depreciated until the asset is completed and placed into service. Once the asset is placed into service, these capitalized costs will be allocated to certain property and equipment categories and will be depreciated over the estimated useful life of the underlying assets.
Property and Equipment
Property and equipment are stated at cost, net of accumulated depreciation. Depreciation is calculated using the straight-line method over the estimated useful lives of the assets. The estimated useful lives of property and equipment are described below:
 
 
Estimated Useful Life
Laboratory equipment
 
5 years
Leasehold improvements
 
Lesser of estimated useful life of improvement
or remaining life of related lease
Computer equipment and software
 
3 years
Other assets including automobiles, furniture and fixtures
 
5 years
Right of use asset, financing
 
Lease term
Expenditures for maintenance and repairs are charged to expense as incurred. Upon retirement or sale, the cost of the assets disposed of, and the related accumulated depreciation, are removed from the accounts, and any resulting gain or loss is recorded to other (expense) income, net.
Impairment of Long-Lived Assets
We evaluate our long-lived assets, which consist of property and equipment, to determine if facts and circumstances indicate that the carrying amount of assets may not be recoverable. If such facts and circumstances exist, we assess the recoverability of the long-lived assets by comparing the projected future undiscounted net cash flows associated with the related asset or group of assets over their remaining lives against their respective carrying amounts. If such review indicates that such cash flows are not expected to be sufficient to recover the recorded value of the assets, the assets are written down to their estimated fair values based on the expected discounted future cash flows attributable to the assets or based on appraisals. For the years ended December 31, 2019, 2018 and 2017, we did not record any impairment expenses.

243

Table of Contents

Leases
Leases are classified at their commencement date, which is defined as the date on which the lessor makes the underlying asset available for use by the lessee, as either operating or finance leases based on the economic substance of the agreement. We recognize lease right-of-use assets and related liabilities in our consolidated balance sheets for both operating and finance leases. Lease liabilities are measured at the lease commencement date as the present value of the future lease payments using the interest rate implicit in the lease. If the rate implicit is not readily determinable, we will utilize our incremental borrowing rate as of the lease commencement date. Lease right-of-use assets are measured as the lease liability plus initial direct costs and prepaid lease payments less lease incentives. The lease term is the non-cancelable period of the lease and includes options to extend or terminate the lease when it is reasonably certain that an option will be exercised.
We recognize operating lease cost in operating expense in our consolidated statements of operations, inclusive of rent escalation provisions and rent holidays, on a straight-line basis over the respective lease term. For our finance leases, we recognize depreciation expense associated with the leased asset acquired and recognize interest expense related to the portion of the financing in our consolidated statements of operations. Additionally, we recognize tenant improvement allowances as a reduction to rent expense on a straight-line basis over the respective lease term.
Research and Development Costs
Research and development costs are expensed as incurred. Research and development expenses consist of costs incurred in performing research and development activities, including salaries and benefits, facilities costs, overhead costs, contract services, and other outside costs. The value of goods and services received from contract research organizations and contract manufacturing organizations in the reporting period are estimated based on the level of services performed, and progress in the period in cases when we have not received an invoice from the supplier.
Patent Costs
Costs to secure, defend and maintain patents are expensed as incurred, and are classified as general and administrative expenses due to the uncertainty of future benefits.
Stock-Based Compensation
We issue stock-based awards to employees and non-employees, generally in the form of stock options and restricted stock units (RSUs). We account for our stock-based compensation awards in accordance with ASC 718, Compensation—Stock Compensation. Most of our stock-based awards have been made to employees. We measure compensation cost for all equity awards at their grant-date fair value and recognize compensation expense over the requisite service period, which is generally the vesting period, on a straight-line basis. The grant date fair value of stock options is estimated using the Black-Scholes option pricing model, which requires management to make assumptions with respect to the fair value of our common stock on the grant date, including the expected term of the award, the expected volatility of our stock, calculated based on a period of time generally commensurate with the expected term of the award, risk-free interest rates and expected dividend yields of our stock. Historically, for periods prior to our IPO, the fair value of the shares of common stock and common units underlying our stock-based awards were determined on each grant date by our board of directors based on valuation estimates from management considering our most recently available independent third-party valuation of our common stock. Our board of directors also assessed and considered, with input from management, additional objective and subjective factors that we believed were relevant and which may have changed from the date of the most recent valuation through the grant date. The grant date fair value of RSUs is estimated based on the fair value of our underlying common stock. For performance-based stock awards, we recognize stock-based compensation expense over the requisite service period using the accelerated attribution method when achievement is probable. We classify stock-based compensation expense in our consolidated statement of operations in the same manner in which the award recipient’s salary and related costs are classified or in which the award recipient’s service payments are classified.
Income Taxes
We use an asset and liability approach to account for income taxes. We recognize deferred tax assets and liabilities for the expected future tax consequences of temporary differences between the financial reporting and tax bases of assets and liabilities. These differences are measured using the enacted statutory tax rates that are expected to be in effect for the years in which differences are expected to reverse. Valuation allowances are provided when the expected realization of deferred tax assets does not meet a “more likely than not” criterion. We make estimates and judgments about our future taxable income that are based on assumptions that are consistent with our plans and estimates. Should the actual amounts differ from our estimates, the amount of our valuation allowance

244

Table of Contents

could be materially impacted. Changes in these estimates may result in significant increases or decreases to our tax provision in a period in which such estimates are changed, which in turn would affect net income or loss.
We recognize tax benefits from uncertain tax positions if we believe the position is more likely than not to be sustained on examination by the taxing authorities based on the technical merits of the position. We make adjustments to these reserves when facts and circumstances change, such as the closing of a tax audit or the refinement of an estimate. The provision for income taxes includes the effects of any reserves for tax positions that are not more likely than not to be sustained, as well as the related net interest and penalties.
Redeemable Convertible Preferred Stock
We record all redeemable convertible preferred stock at their respective transaction prices on the dates of issuance less issuance costs. Our redeemable convertible preferred stock are classified as temporary equity and excluded from stockholders’ (deficit) equity as the potential redemption of such units or stock is outside our control. Upon the 2016 Reorganization, the redemption rights upon the passage of time were removed and the redeemable convertible preferred stock became redeemable only upon the occurrence of certain contingent events. Upon the closing of the IPO, all outstanding shares of our redeemable convertible preferred stock were converted into 236,012,913 shares of the common stock. As of December 31, 2019 and 2018, we did not have any convertible preferred stock issued or outstanding.
Net Loss per Share Attributable to Common Stockholders
We apply the two-class method to compute basic and diluted net loss per share attributable to common stockholders when we have issued shares that meet the definition of participating securities. The two-class method determines net income (loss) per share for each class of common and participating securities according to dividends declared or accumulated and participation rights in undistributed earnings. The two-class method requires income (loss) available to common stockholders for the period to be allocated between common and participating securities based upon their respective rights to share in the earnings as if all income (loss) for the period had been distributed. During periods of loss, there is no allocation required under the two-class method since the potentially participating securities do not have a contractual obligation to fund our losses.
We calculate basic net loss per share attributable to common stockholders by dividing net loss attributable to common stockholders by the weighted average number of common shares outstanding for the period, without consideration for common stock equivalents. Upon the closing of our IPO, all outstanding shares of our redeemable convertible preferred stock were converted into common stock.
We calculate diluted net loss per share attributable to common stockholders by dividing net loss attributable to common stockholders by the weighted average number of common shares outstanding after giving consideration to the dilutive effect of restricted common stock, stock options and redeemable convertible preferred stock that are outstanding during the period. We have generated a net loss in all periods presented, therefore the basic and diluted net loss per share attributable to common stockholders are the same as the inclusion of the potentially dilutive securities would be anti-dilutive.
Comprehensive Loss

Comprehensive loss includes net loss and other comprehensive income (loss) for the period. Other comprehensive income (loss) mainly consists of unrealized gains and losses on our investments. Total comprehensive income (loss) for all periods presented have been disclosed in the consolidated statements of comprehensive loss.
The components of accumulated other comprehensive gain (loss) for the years ended December 31, 2019 and 2018 are as follows (in thousands): 
 
Unrealized Gain (Loss) on Available-for-Sale Debt
Securities
Accumulated other comprehensive loss, balance at December 31, 2017
$
(1,157
)
Other comprehensive loss
(163
)
Accumulated other comprehensive loss, balance at December 31, 2018
(1,320
)
Other comprehensive income
3,124

Accumulated other comprehensive gain, balance at December 31, 2019
$
1,804


245

Table of Contents

Emerging Growth Company Status
Prior to December 31, 2019, we were an “emerging growth company” (EGC) as defined in the Jumpstart Our Business Startups Act, (JOBS Act), and elected to take advantage of certain exemptions from various reporting requirements that are applicable to other public companies until we are no longer an EGC, including using the extended transition period for complying with new or revised accounting standards. As of December 31, 2019, we have become a large accelerated filer under the rules of the SEC and are no longer classified as an EGC.
Recently Adopted Accounting Standards
ASU No. 2014-09, Revenue from Contracts with Customers
In May 2014, the FASB issued ASU No. 2014-09, Revenue from Contracts with Customers (Topic 606), which supersedes all existing revenue recognition requirements in ASC 605 and most industry specific guidance. ASC 606 provides a single comprehensive model for use in accounting for revenue arising from contracts with customers. We adopted the new revenue standard on January 1, 2019 using the modified retrospective transition method applied to those contracts which were not completed as of January 1, 2019. We recognized the cumulative effect of the adoption as an adjustment to the opening balance of accumulated deficit in the first quarter of 2019. We have elected to use the practical expedient to aggregate the impact of all contract modifications that occurred prior to the ASC 606 adoption with respect to (i) identification of the satisfied and unsatisfied performance obligations, (ii) determination of the transaction price and (iii) allocation of the transaction price to the satisfied and unsatisfied performance obligations.

ASC 606 requires significant judgment and estimates and results in changes to, but not limited to: (i) the determination of the transaction price, including estimates of variable consideration, (ii) the allocation of the transaction price, including the determination of estimated selling price, and (iii) the pattern of recognition, including the application of proportional performance as a measure of progress on service-related promises and application of point-in-time recognition for supply-related promises. We recorded the cumulative-effect adjustment of $28.0 million to the opening balance of accumulated deficit as of January 1, 2019 with a corresponding decrease to deferred revenue. The effect of the adoption of ASC 606 on our consolidated balance sheet is shown below together with the effect of adoption of ASU No. 2016-02, Leases.

The cumulative-effect adjustment is primarily due to the application of ASC 606 to our strategic collaboration agreements, particularly our Combined 2018 AZ Agreements, 2016 VEGF Exercise and Merck PCV/SAV Agreement (see Note 3). In addition, as a result of the cumulative decrease in deferred revenue, our corresponding deferred tax asset was decreased by $8.4 million, which was offset by a corresponding decrease to our valuation allowance.

A substantial portion of the $28.0 million cumulative-effect adjustment is the result of the application of ASC 606 regarding the allocation of the transaction price and the measurement of progress in satisfying performance obligations. In particular, for the Combined 2018 AZ Agreements, the adoption of ASC 606 resulted in the decrease of previously deferred revenue of $39.9 million. For the Merck PCV/SAV Agreement, the adoption of ASC 606 resulted in a reversal of previously recognized revenue and an increase in deferred revenue of $13.9 million. These adjustments are due to the change in the way we allocate the transaction price to each performance obligation and measure our performance under each agreement from a straight-line method to a proportional performance model. In addition, the adoption of ASC 606 resulted in the decrease of $4.3 million of previously deferred revenue relating to the 2016 VEGF Exercise. Under ASC 605, the product option fee and the clinical milestone payment we received pursuant to the VEGF Exercise were deferred until the consideration pertaining to the clinical supply of mRNA can be reasonably estimated. Under ASC 606, we are required to estimate the total variable consideration to determine the total consideration and recognize the revenue as clinical supply is shipped to the customer based on the proportionate amount of the transaction price. As a result, the balance of remaining deferred revenues at January 1, 2019 was $75.7 million, $37.1 million and $125.2 million related to the Combined 2018 AZ Agreements, 2016 VEGF Exercise and the Merck PCV/SAV Agreement, respectively.


246

Table of Contents

The following tables summarize the effects of adopting ASC 606 on our consolidated financial statements at December 31, 2019, and for the year ended December 31, 2019 (in thousands, except per share data):
 
 
As of December 31, 2019
Consolidated Balance Sheet
 
As reported under ASC 606
 
Adjustments
 
Balance without adoption of ASC 606
Deferred revenue, current
 
$
63,310

 
$
(8,054
)
 
$
55,256

Deferred revenue, non-current
 
138,995

 
4,012

 
143,007

Accumulated deficit
 
(1,496,454
)
 
6,785

 
(1,489,669
)
 
 
Year Ended December 31, 2019
Consolidated Statement of Operations
 
As reported under ASC 606
 
Adjustments
 
Amount without adoption of ASC 606
Revenue:
 
 
 
 
 
 
   Collaboration revenue
 
$
42,803

 
$
2,767

 
$
45,570

   Collaboration revenue from related party
 
5,233

 
32,002

 
37,235

Total revenue
 
60,209

 
34,769

 
94,978

Loss from operations
 
(545,720
)
 
34,769

 
(510,951
)
Loss before income taxes
 
(514,716
)
 
34,769

 
(479,947
)
Net loss
 
(514,021
)
 
34,769

 
(479,252
)
Net loss per share - basic and diluted
 
(1.55
)
 
0.10

 
(1.45
)
ASU No. 2016-02, Leases: Amendments to the FASB Accounting Standards Codification
In February 2016, the FASB issued ASU No. 2016-02, Leases (Topic 842), which supersedes all existing lease guidance. To increase transparency and comparability among organizations, this guidance requires that entities that lease assets recognize right-of-use (ROU) assets representing its right to use the underlying asset for the lease term and lease liabilities related to the rights and obligations created by those leases on the balance sheet regardless of whether they are classified as finance or operating leases, with classification affecting the pattern and presentation of expenses and cash flows on our consolidated financial statements. In addition, new disclosures are required to meet the objective of enabling users of the financial statements to better understand the amount, timing, and uncertainty of cash flows arising from leases.
Prior to December 31, 2019, as an EGC, we elected to use the extended transition period provided by the JOBS Act for the implementation of new or revised accounting standards, and as a result of this election, we did not have to comply with the public company FASB standard’s effective date for ASC 842 until we ceased to be classified as an EGC. Effective on December 31, 2019, we lost our EGC status which accelerated the requirement of ASC 842 adoption. As a result, we adjusted our previously reported consolidated financial statements effective January 1, 2019 in this Form 10-K for the year ended December 31, 2019, and amendments to previously filed Forms 10-Q were not required.
We adopted ASC 842 on January 1, 2019 on a modified retrospective basis under which we recognized and measured leases existing at, or entered into after, the beginning of the period of adoption. We elected the optional transition approach of not adjusting our comparative period financial statements for the impacts of adoption. Therefore, we recognized the effects of applying ASC 842 as a cumulative-effect adjustment to accumulated deficit of $3.8 million, as of January 1, 2019, the effective date of this standard, related to the adjustments to our Moderna Technology Center manufacturing facility described in Note 7. Additionally, upon adoption of ASC 842, we recorded right-of-use assets of $63.3 million and corresponding lease liabilities of $70.7 million related to our operating leases. The difference between these assets and liabilities is primarily attributable to adjustments to the right-of-use asset at transition related to lease incentives and deferred rent.

247

Table of Contents

The comparative consolidated balance sheet as of December 31, 2018 has not been restated to reflect the adoption of ASC 842. In addition, the amounts presented as deferred lease obligations on our consolidated balance sheet as of December 31, 2018 are now included in the calculation of the operating lease right-of-use assets.
The transition guidance associated with ASC 842 also permitted certain practical expedients. We elected the practical expedient, which allowed us to carryforward certain aspects of our historical lease accounting under ASC 840 for leases that commenced before the effective date, including not to reassess (i) whether any expired or existing contracts are or contain leases, (ii) lease classification for any expired or existing leases, and (iii) initial direct costs for any existing leases. We also elected to adopt an accounting policy to not apply ASC 842 to leases with an initial term of 12 months or less and not include them in the consolidated balance sheets. Instead, these lease payments are recognized in profit or loss on a straight-line basis over the lease term. Lastly, we elected the practical expedient to not separate non-lease and lease components and instead account for them as a single lease component for all classes of underlying assets. We do not include variable payments that are not based on an index or rate in the single lease component, regardless of whether they are related to the lease or non-lease component.
The lease right-of-use assets and related lease liabilities are classified as either operating or finance. Lease liabilities are measured at the lease commencement date as the present value of future minimum lease payments. Lease right-of-use assets are measured as the lease liability plus initial direct costs and prepaid lease payments less lease incentives. In measuring the present value of the future minimum lease payments, the discount rate for the lease is the rate implicit in the lease unless that rate cannot be readily determined. In that case, the lessee is required to use its incremental borrowing rate. In computing our lease liabilities, we generally use the incremental borrowing rate based on the information available on the commencement date using a company-specific rate in the U.S. that is fully collateralized and consistent with the lease term for each lease. The lease term is the non-cancelable period of the lease and includes options to extend or terminate the lease when it is reasonably certain that an option will be exercised.
The cumulative effect of applying both ASC 606 and ASC 842 on our consolidated balance sheets as of January 1, 2019 was as follows (in thousands):
 
 
Balance as of December 31, 2018 (1)
 
Effect of the Adoption of
 
Balance as of January 1, 2019
 
 
 
ASC 842
 
ASC 606
 
Assets:
 
 
Accounts receivable
 
$
11,686

 
$

 
$
(2,738
)
 
$
8,948

Prepaid expenses and other current assets
 
28,399

 
(300
)
 

 
28,099

Property and equipment, net
 
211,977

 
(2,483
)
 

 
209,494

Right-of-use assets, operating leases
 

 
63,334

 

 
63,334

Total assets
 
$
1,962,149

 
$
60,551

 
$
(2,738
)
 
$
2,019,962

Liabilities and Shareholders’ Equity:
 
 
 
 
 
 
 
 
Deferred revenue
 
$
109,056

 
$

 
$
(27,281
)
 
$
81,775

Other current liabilities
 
3,464

 
5,867

 

 
9,331

Deferred revenue, non-current
 
165,352

 

 
(3,441
)
 
161,911

Operating lease liabilities, non-current
 

 
64,250

 

 
64,250

Finance lease liabilities, non-current
 

 
37,718

 

 
37,718

Deferred lease obligation, non-current
 
10,006

 
(10,006
)
 

 

Lease financing obligation
 
33,489

 
(33,489
)
 

 

Accumulated deficit
 
(1,006,627
)
 
(3,789
)
 
27,984

 
(982,432
)
Total liabilities and shareholders’ equity
 
$
1,962,149

 
$
60,551

 
$
(2,738
)
 
$
2,019,962

_______
(1) As reported in our 2018 Annual Report on Form 10-K.


248

Table of Contents

ASU No. 2016-18, Statement of Cash Flows: Restricted Cash

In November 2016, the FASB issued ASU No. 2016-18, Statement of Cash Flows (Topic 230): Restricted Cash, which requires the statement of cash flows to explain the change during the period in the total of cash, cash equivalents and restricted cash. When cash, cash equivalents and restricted cash are presented in more than one line item on the balance sheet, the new standard requires a reconciliation of the totals in the statement of cash flows to the related captions in the balance sheet. This reconciliation can be presented either on the face of the statement of cash flows or in the notes to the financial statements. The new standard became effective for us on January 1, 2019. As a result of adopting this new standard using a retrospective transition method for each period presented, we include our restricted cash balance in the cash, cash equivalents and restricted cash reconciliation of operating, investing and financing activities in the consolidated statements of cash flows.

The following table provides a reconciliation of cash, cash equivalents and restricted cash in the consolidated balance sheets that sum to the total of the same such amounts shown in the consolidated statements of cash flows (in thousands):

 
 
As of December 31,
 
 
2019
 
2018
Cash and cash equivalents
 
$
235,876

 
$
658,364

Restricted cash
 
1,032

 
595

Restricted cash, non-current
 
10,791

 
11,532

Total cash, cash equivalents and restricted cash shown in the consolidated
    statements of cash flows
 
$
247,699

 
$
670,491

ASU No. 2018-07, Compensation - Stock Compensation: Improvements to Nonemployee Share-Based Payment Accounting
In June 2018, the FASB issued ASU 2018-07, Compensation-Stock Compensation (Topic 718): Improvements to Nonemployee Share-Based Payment Accounting, which is intended to simplify aspects of share-based compensation issued to non-employees by making the guidance generally consistent with the accounting for employee share-based compensation. The new standard will become effective for us on January 1, 2020, with early adoption permitted. We early adopted this standard in the first quarter of 2019. The adoption of this standard did not have a material impact on our consolidated financial statements and disclosure.
ASU No. 2018-18, Collaborative Arrangements: Clarifying the Interaction between Topic 808 and Topic 606
In November 2018, the FASB issued ASU 2018-18, Collaborative Arrangements (Topic 808): Clarifying the Interaction between Topic 808 and Topic 606, which clarifies the interaction between Topic 808 and Topic 606, Revenue from Contracts with Customers. Currently, Topic 808 does not provide comprehensive recognition or measurement guidance for collaborative arrangements, and the accounting for those arrangements is often based on an analogy to other accounting literature or an accounting policy election. Similarly, aspects of Topic 606 have resulted in diversity in practice on the effect of the revenue standard on the accounting for collaborative arrangements. The standard will become effective for us beginning on January 1, 2020, with early adoption permitted. We early adopted this standard in connection with the adoption of ASC 606 in the first quarter of 2019. The adoption of this standard did not have a material impact on our consolidated financial statements and disclosure.
Recently Issued Accounting Standards Not Yet Adopted
From time to time, new accounting pronouncements are issued by the FASB or other standard setting bodies and adopted by us as of the specified effective date. Unless otherwise discussed, we believe that the impact of recently issued standards that are not yet effective will not have a material impact on our consolidated financial statements and disclosures.
In June 2016, the FASB issued ASU No. 2016-13, Credit Losses (Topic 326): Measurement of Credit Losses on Financial Instruments. This standard will change how companies account for credit losses for most financial assets and certain other instruments. For trade receivables, loans and held-to-maturity debt securities, companies will be required to recognize an allowance for credit losses rather than reducing the carrying value of the asset. ASU 2016-13 will be effective for us on January 1, 2020. We will adopt this standard in the first quarter of 2020. Based on the composition of our investment portfolio and investment policy, the adoption of this standard is not expected to have a material impact on our consolidated financial statements and disclosure.
In August 2018, the FASB issued ASU 2018-15, Intangibles—Goodwill and Other—Internal-Use Software (Topic 350): Customer’s Accounting for Implementation Costs Incurred in a Cloud Computing Arrangement That Is a Service Contract. This standard requires

249

Table of Contents

capitalizing implementation costs incurred to develop or obtain internal-use software (and hosting arrangements that include an internal-use software license). This standard should be applied either retrospectively or prospectively, and will be effective for us on January 2020. We will adopt this standard in the first quarter of 2020 using the prospective adoption method. The adoption of this standard is not expected to have a material impact on our consolidated financial statements and disclosure.
In December 2019, the FASB issued ASU 2019-12, Income Taxes (Topic 740): Simplifying the Accounting for Income Taxes. This standard removes certain exceptions for investments, intraperiod allocations and interim calculations, and adds guidance to reduce complexity in accounting for income taxes. This standard will be effective for us on January 1, 2021, with early adoption permitted. We are currently evaluating the potential impact this standard may have on our condensed consolidated financial statements and results of operations upon adoption.

3. Collaboration Agreements
The following table summarizes our total consolidated net revenue from our strategic collaborators for the periods presented (in thousands):
 
 
Years Ended
Collaboration Revenue by Strategic Collaborator:
 
December 31, 2019
as reported
(under ASU 606)
 
December 31, 2019
without adoption of 606
(under ASC 605)
 
December 31, 2018
as reported
(under ASC 605)
Merck
 
$
36,608

 
$
38,977

 
$
66,082

AstraZeneca
 
5,233

 
37,235

 
45,993

Vertex
 
6,195

 
6,593

 
10,437

Total collaboration revenue
 
$
48,036

 
$
82,805

 
$
122,512


The following table presents changes in the balances of our receivables and contract liabilities related to our strategic collaboration agreements during the year ended December 31, 2019 (in thousands):
 
 
January 1, 2019
 
Additions
 
Deductions
 
December 31, 2019
Contract Assets:
 
 
 
 
 
 
 
 
Accounts receivable
 
$
4,612

 
$
11,890

 
$
(14,530
)
 
$
1,972

Contract Liabilities:
 
 
 
 
 
 
 
 
Deferred revenue
 
$
240,924

 
$
10,591

 
$
(51,987
)
 
$
199,528


During the year ended December 31, 2019, we recognized the following revenue as a result of the change in the contract liability balances related to our collaboration agreements (in thousands):
Revenue recognized in the period from:
 
 
Year Ended
December 31, 2019
Amounts included in contract liabilities at the beginning of the period (1)
 
 
$
51,987

(1) We first allocate revenue to the individual contract liability balance outstanding at the beginning of the period until the revenue exceeds that balance. If additional consideration is received on those contracts in subsequent periods, we assume all revenue recognized in the reporting period first applies to the beginning contract liability.
As of December 31, 2019, the aggregated amount of the transaction price allocated to performance obligations under our collaboration agreements that are unsatisfied or partially unsatisfied was $249.5 million.

AstraZeneca – Strategic Alliances in Cardiovascular and Oncology

250

Table of Contents

2013 Option Agreement and Services and Collaboration Agreement
In March 2013, we entered into an Option Agreement, the AZ Option Agreement, and a related Services and Collaboration Agreement, the AZ Services Agreement, with AstraZeneca, which were amended and restated in June 2018. We refer to these agreements in the forms that existed prior to the 2018 amendment and restatement as the 2013 AZ Agreements. Under the 2013 AZ Agreements, we granted AstraZeneca certain exclusive rights and licenses, and options to obtain exclusive rights to develop and commercialize potential therapeutic mRNA medicines directed at certain targets for the treatment of cardiovascular and cardiometabolic diseases and cancer, and agreed to provide related services to AstraZeneca. Pursuant to the 2013 AZ Agreements, AstraZeneca was responsible for all research, development and commercialization activities, while we provided specified research and manufacturing services during a research and evaluation period, as described below, to further AstraZeneca’s activities pursuant to an agreed upon services plan. Under the 2013 AZ Agreements, AstraZeneca could have requested we provide additional services, at AstraZeneca’s expense. Subject to customary “back-up” supply rights granted to AstraZeneca, we exclusively manufactured (or had manufactured) mRNA for all research, development and commercialization purposes under the 2013 AZ Agreements until, on a product-by-product basis, the expiration of the time period for which we are entitled to receive earn-out payments with respect to such product pursuant to the 2013 AZ Agreements.
As of the effective date of the 2013 AZ Agreements, AstraZeneca acquired forty options that it may exercise to obtain exclusive rights to clinically develop and commercialize identified development candidates (and related back-up candidates) directed to specified targets that arise during the research and evaluation period. During the research and evaluation period for research candidates under the 2013 AZ Agreements, AstraZeneca could have elected to designate a limited number of research candidates as development candidates in order to continue preclinical development on such development candidates (and related back-up candidates). From such pool of development candidates designated by AstraZeneca, during a specified option exercise period, AstraZeneca could have then exercised one of its options to obtain exclusive rights to clinically develop and commercialize an identified development candidate (and related back-up candidates). If AstraZeneca did not exercise one of its options to acquire exclusive rights to clinically develop and commercialize a particular development candidate during the defined option exercise period for such development candidate, AstraZeneca’s rights to exercise an option and other rights granted under the 2013 AZ Agreements with respect to such development candidate (and related back-up candidates) would terminate, all rights to exploit such development candidate (and related back-up candidates) would be returned to us and all data and results generated by AstraZeneca with respect to such development candidate (and related back-up candidates) would be either assigned or licensed to us. Upon the earlier of termination of the 2013 AZ Agreements for any reason and a specified anniversary of the effective date of the 2013 AZ Agreements, all unexercised options, and the right to exercise any and all options if not previously exercised by AstraZeneca, would automatically terminate. On a target-by-target basis, we and AstraZeneca agreed to certain defined exclusivity obligations under the 2013 AZ Agreements with respect to the research, development and commercialization of mRNA medicines for such target.
As of the effective date of the 2013 AZ Agreements, AstraZeneca made upfront cash payments to us totaling $240.0 million. Under the 2013 AZ Agreements, we were entitled to receive payments that are not related to any specific program of up to $180.0 million in the aggregate for the achievement of three technical milestones relating to toxicity, delivery, and competition criteria. We achieved the toxicity and competition milestones in the year ended December 31, 2015. The delivery milestone has expired. Under the 2013 AZ Agreements, AstraZeneca was obligated to pay us a $10.0 million option exercise fee with respect to each development candidate (and related back-up candidates) for which it exercised an option. In addition, upon AstraZeneca’s exercise of each option, we were eligible to receive certain payments contingent upon the achievement of specified clinical, regulatory, and commercial events. For any product candidate optioned by AstraZeneca, we were eligible to receive, per product candidate, up to $100.0 million in payments for achievement of development milestones, up to $100.0 million payments for achievement of regulatory milestones, and up to $200.0 million payments for achievement of commercial milestones. Additionally, under the 2013 AZ Agreements, we were entitled to receive, on a product-by-product basis, earn-out payments on worldwide net sales of products ranging from a high-single digit percentage to 12%, subject to certain reductions, with an aggregate minimum floor.
We received from AstraZeneca under the 2013 AZ Agreements an option exercise payment of $10.0 million (the 2016 VEGF Exercise) in the year ended December 31, 2016, and a clinical milestone payment of $30.0 million with respect to AstraZeneca’s VEGF-A product (AZD8601) during the year ended December 31, 2018, that is currently being developed in a Phase 2 clinical trial. Unless earlier terminated, the 2013 AZ Agreements would have continued until the expiration of AstraZeneca’s earn-out and contingent option exercise payment obligations for optioned product candidates. Either party had the right to terminate the 2013 AZ Agreements upon the other party’s material breach, either in its entirety or in certain circumstances, with respect to relevant candidates, subject to a defined materiality threshold and specified notice and cure provisions. If AstraZeneca had the right to terminate the 2013 AZ Agreements for our material breach, then AstraZeneca could have elected, in lieu of terminating the 2013 AZ Agreements, in their entirety or with respect to such candidates, to have the 2013 AZ Agreements remain in effect, subject to reductions in certain payments we were eligible to receive and certain adjustments to AstraZeneca’s obligations under the 2013 AZ Agreements. AstraZeneca had the right to terminate the 2013 AZ Agreements in full, without cause, upon 90-days’ prior notice to us.

251

Table of Contents

2016 Strategic Alliance with AstraZeneca IL-12
In January 2016, we entered into a new Strategic Drug Development Collaboration and License Agreement, which we refer to as the 2016 AZ Agreement, with AstraZeneca to discover, develop and commercialize potential mRNA medicines for the treatment of a range of cancers.
Under the terms of the 2016 AZ Agreement, we and AstraZeneca have agreed to work together on an immuno-oncology program focused on the intratumoral delivery of a potential mRNA medicine to make the IL-12 protein. The 2016 AZ Agreement initially included research activities with respect to a second discovery program. During a limited period of time, each party had an opportunity to propose additional discovery programs to be conducted under the 2016 AZ Agreement. We are responsible for conducting and funding all discovery and preclinical development activities under the 2016 AZ Agreement in accordance with an agreed upon discovery program plan for the IL-12 program and any other discovery program the parties agree to conduct under the 2016 AZ Agreement. For the IL-12 program and any other discovery program the parties agree to conduct under the 2016 AZ Agreement, during a defined election period that commenced as of the effective date of the 2016 AZ Agreement (for the IL-12 program) and otherwise will commence on initiation of any such new discovery program, AstraZeneca may elect to participate in the clinical development of a development candidate arising under the 2016 AZ Agreement from such program. If AstraZeneca so elects (as it has for the IL-12 program), AstraZeneca will lead clinical development activities worldwide and we will be responsible for certain activities, including being solely responsible for manufacturing activities, all in accordance with an agreed upon development plan. AstraZeneca will be responsible for funding all Phase 1 clinical development activities (including costs associated with our manufacture of clinical materials in accordance with the development plan), and Phase 2 clinical development activities (including costs associated with our manufacture of clinical materials in accordance with the development plan) up to a defined dollar threshold. We and AstraZeneca will equally share the costs of Phase 2 clinical development activities in excess of such dollar threshold, all Phase 3 clinical development activities and certain other costs of late-stage clinical development activities, unless we elect not to participate in further development and commercialization activities and instead receive tiered royalties, as described below.
We and AstraZeneca will co-commercialize products in the U.S. in accordance with an agreed upon commercialization plan and budget, and on a product-by-product basis will equally share the U.S. profits or losses arising from such commercialization. Notwithstanding, on a product-by-product basis, prior to a specified stage of development of a given product, we have the right to elect not to participate in the further development and commercialization activities for such product. If we make such election, instead of participating in the U.S. profits and losses share with respect to such product, we are obligated to discuss future financial terms with AstraZeneca. If we are unable to agree on future financial terms within a short, defined period of time, we are entitled to receive tiered royalties at default rates set forth in the 2016 AZ Agreement, ranging from percentages in the mid-single digits to 20% on worldwide net sales of products, subject to certain reductions with an aggregate minimum floor. AstraZeneca has sole and exclusive responsibility for all ex-U.S. commercialization efforts. Unless we have elected to not to participate in further development (in which case royalties on ex-U.S. net sales will be at the default rates as described above, unless otherwise agreed by the parties), we are entitled to tiered royalties at rates ranging from 10% to 30% on ex-U.S. net sales of the products, subject to certain reductions with an aggregate minimum floor. Subject to customary “back-up” supply rights granted to AstraZeneca, we exclusively manufacture (or have manufactured) products for all development and commercialization purposes. We and AstraZeneca have agreed to certain defined exclusivity obligations with each other under the 2016 AZ Agreement with respect to the development and commercialization of mRNA medicines for IL-12.
Unless earlier terminated, our strategic alliance under the 2016 AZ Agreement will continue on a product-by-product basis (i) until both parties cease developing and commercializing such product without the intention to resume, if we have not elected our right not to participate in further development and commercialization of such product or (ii) on a country-by-country basis, until the end of the applicable royalty term for such product in such country, if we have elected our right not to participate in further development and commercialization of such product.
Either party may terminate the 2016 AZ Agreement upon the other party’s material breach, subject to specified notice and cure provisions. Each party may also terminate the 2016 AZ Agreement in the event the other party challenges such party’s patent rights, subject to certain defined exceptions. AstraZeneca has the right to terminate the 2016 AZ Agreement in full or with respect to any program for scientific, technical, regulatory or commercial reasons at any time upon 90 days’ prior written notice to us. On a product-by-product basis, we have the right to terminate the 2016 AZ Agreement in certain cases if AstraZeneca has suspended or is no longer proceeding with the development or commercialization of such product for a period of twelve consecutive months, subject to specified exceptions, including tolling for events outside of AstraZeneca’s control. On a product-by-product basis, if the 2016 AZ Agreement is terminated with respect to a given product, AstraZeneca’s rights in such product will terminate and, to the extent we terminated for AstraZeneca’s breach, patent challenge or cessation of development or AstraZeneca terminated in its discretion, AstraZeneca will grant us reversion licenses and take certain other actions so as to enable us to continue developing and commercializing such product in the oncology field.

252

Table of Contents

If we continue developing and commercializing a given product following termination of the 2016 AZ Agreement by AstraZeneca in its discretion with respect to such product, AstraZeneca is entitled to receive a mid-single digit royalty on our worldwide net sales of such product and a high-single digit percentage of the amounts received by us from a third party in consideration of a license to such third party to exploit such product, in each case, until AstraZeneca recovers an amount equal to specified development costs incurred by AstraZeneca under the 2016 AZ Agreement with respect to such product prior to such termination. Such percentages increase by a low to mid-single digit amount to the extent such termination occurs after such product achieves a specified stage of development.
2017 Strategic Alliance with AstraZeneca – Relaxin
In October 2017, we entered a new Collaboration and License Agreement, which we refer to as the 2017 AZ Agreement, under which AstraZeneca may clinically develop and commercialize a development candidate, now known as AZD7970, which is comprised of an mRNA construct for the relaxin protein designed by us and encapsulated in one of our proprietary lipid nonoparticles (LNP). We discovered and performed preclinical development activities for AZD7970 prior to the initiation of the strategic alliance with AstraZeneca under the 2017 AZ Agreement.
Under the terms of the 2017 AZ Agreement, we will fund and be responsible for conducting preclinical development activities for AZD7970 through completion of IND-enabling GLP toxicology studies and AstraZeneca will lead pharmacological studies, each in accordance with an agreed upon discovery program plan. During a defined election period that commences as of the effective date of the 2017 AZ Agreement, AstraZeneca may elect to participate in further development and commercialization of AZD7970. Upon such election, AstraZeneca will lead clinical development activities for AZD7970 worldwide and we will be responsible for manufacturing AZD7970, certain regulatory matters and any other development activities that we agree to perform and that are set forth in an agreed upon development plan. AstraZeneca will be responsible for funding Phase 1 clinical development activities (including costs associated with our manufacture of clinical materials in accordance with the development plan, up to a cap above which such costs are shared), and Phase 2 clinical development activities (including costs associated with our manufacture of clinical materials in accordance with the development plan, up to a cap above which such costs are shared) up to a defined dollar threshold. Thereafter, we and AstraZeneca will equally share the costs of Phase 2 clinical development activities in excess of such defined dollar threshold, all Phase 3 clinical development activities and certain other costs of late-stage clinical development activities, unless we elect not to participate in further development and co-commercialization activities and instead receive tiered royalties as described below. If the development candidate is determined to be IND-ready, and AstraZeneca does not timely elect to participate in the clinical development of AZD7970, AstraZeneca is obligated to reimburse us for certain costs we incurred in the manufacture and development of AZD7970, since execution of the 2017 AZ Agreement.
We and AstraZeneca will co-commercialize AZD7970 in the United States in accordance with an agreed upon commercialization plan and budget, and will equally share U.S. profits or losses arising from such commercialization. Notwithstanding, prior to a specified stage of development of AZD7970, we have the right to elect not to participate in the further development and commercialization activities for AZD7970. If we make such election, instead of participating in the U.S. profits and losses share with respect to AZD7970, we are obligated to discuss future financial terms with AstraZeneca. If we are unable to agree on future financial terms within a short, defined period of time, we are entitled to receive tiered royalties at default rates set forth in the 2017 AZ Agreement, ranging from percentages in the mid-single digits to the low 20s on worldwide net sales by AstraZeneca of AZD7970, subject to certain reductions, with an aggregate minimum floor. AstraZeneca has sole and exclusive responsibility for all ex-U.S. commercialization efforts. Unless we have elected not to participate in further development (in which case royalties on ex-U.S. net sales will be at the default rates as described above, unless otherwise agreed by the parties), we are entitled to receive tiered royalties at rates ranging from 10% to 30% on annual ex-U.S. net sales of AZD7970, subject to certain reductions with an aggregate minimum floor. Subject to customary “back-up” supply rights granted to AstraZeneca, we exclusively manufacture (or have manufactured) products for all development and commercialization purposes. Additionally, we and AstraZeneca have agreed to certain defined exclusivity obligations under the 2017 AZ Agreement with respect to the development and commercialization of mRNA medicines for Relaxin.
Unless earlier terminated, our strategic alliance under the 2017 AZ Agreement will continue (i) until the expiration of AstraZeneca’s election period, if it does not elect to participate in the clinical development of AZD7970, (ii) until both parties cease developing and commercializing AZD7970 without the intention to resume, if we have not elected our right not to participate in further development and commercialization of AZD7970, (iii) on a country-by-country basis, until the end of the applicable royalty term for AZD7970 in such country, if we have elected our right not to participate in further development and commercialization of AZD7970 or (iv) following completion of IND-enabling studies with respect to AZD7970, if we provide AstraZeneca with written notice that we do not reasonably believe that the product is IND-ready.
Either party may terminate the 2017 AZ Agreement upon the other party’s material breach, subject to specified notice and cure provisions. Each party may also terminate the 2017 AZ Agreement in the event the other party challenges the validity or enforceability

253

Table of Contents

of such party’s patent rights, subject to certain defined exceptions. AstraZeneca has the right to terminate the 2017 AZ Agreement in full for scientific, technical, regulatory or commercial reasons at any time upon 90 days’ prior written notice to us. We have the right to terminate the 2017 AZ Agreement in certain cases if AstraZeneca has suspended or is no longer proceeding with the development or commercialization of AZD7970 for a period of twelve consecutive months, subject to specified exceptions, including tolling for events outside of AstraZeneca’s control. If AstraZeneca does not timely elect to participate in clinical development of AZD7970, or the Agreement is terminated, AstraZeneca’s rights in AZD7970 will terminate and, to the extent we terminated for AstraZeneca’s breach, patent challenge or cessation of development or AstraZeneca terminated in its discretion, AstraZeneca will grant us reversion licenses and take certain other actions so as to enable us to continue developing and commercializing AZD7970 in the cardiovascular and cardiometabolic fields.
If we continue developing and commercializing AZD7970 following a termination of the 2017 AZ Agreement by AstraZeneca in its discretion, AstraZeneca is entitled to receive a mid-single digit royalty on our worldwide net sales of AZD7970 and a high-single digit percentage of the amounts received by us from a third party in consideration for a license to such third party to exploit AZD7970, in each case until AstraZeneca recovers an amount equal to specified development costs incurred by AstraZeneca under the 2017 AZ Agreement with respect to AZD7970 prior to such termination. Such percentages increase by a low to mid-single digit amount to the extent such termination occurs after such product achieves a specified stage of development.
 2013 Agreements with AstraZeneca, amended and restated in 2018
In June 2018, we entered into an Amended and Restated Option Agreement and a related Amended and Restated Services and Collaboration Agreement with AstraZeneca, or the 2018 A&R Agreements, which amended and restated the 2013 AZ Agreements. Under the 2018 A&R Agreements, we granted AstraZeneca certain exclusive rights and licenses to research, develop and commercialize potential therapeutic mRNA medicines directed at certain targets for the treatment of cardiovascular and cardiometabolic diseases and cancer, and agreed to provide related services to AstraZeneca. The activities to be performed by the parties under the 2018 A&R Agreements are limited to defined biological targets in the cardiovascular and cardiometabolic fields and one defined target in the cancer field.
Pursuant to the 2018 A&R Agreements, AstraZeneca is responsible for all research, development and commercialization activities and associated costs, while we provide specified research and manufacturing services during a research and evaluation period, as described below, to further AstraZeneca’s activities conducted pursuant to an agreed upon services plan. During this research and evaluation period, these research services, and manufacturing services in excess of a specified threshold, are provided at AstraZeneca’s expense, and manufacturing services below the specified threshold are provided at no additional expense to AstraZeneca. AstraZeneca may request we provide additional research and manufacturing services, at AstraZeneca’s expense, following the end of the research and evaluation period. Subject to customary “back-up” supply rights granted to AstraZeneca, we exclusively manufacture (or have manufactured) mRNA for all research, development and commercialization purposes under the 2018 A&R Agreements until, on a product-by-product basis, the expiration of the time period for which we are entitled to receive earn-out payments with respect to such product pursuant to the 2018 A&R Agreements.
As of the effective date of the 2013 AZ Agreements, and as further reflected in the 2018 A&R Agreements, AstraZeneca acquired forty options that it may exercise to obtain exclusive rights to clinically develop and commercialize identified development candidates (and related back-up candidates) directed to specified targets that arise during the research and evaluation period. During the research and evaluation period for research candidates, AstraZeneca may elect to designate a limited number of research candidates as development candidates in order to continue preclinical development on such development candidates (and related back-up candidates). From such pool of development candidates designated by AstraZeneca, during a specified option exercise period, AstraZeneca may then exercise one of its options to obtain exclusive rights to clinically develop and commercialize an identified development candidate (and related back-up candidates) in certain fields. If AstraZeneca does not exercise one of its options to acquire exclusive rights to clinically develop and commercialize a particular development candidate during the defined option exercise period for such development candidate, AstraZeneca’s rights to exercise an option and other rights granted under the 2018 A&R Agreements with respect to such development candidate (and related back-up candidates) will terminate, all rights to exploit such development candidate (and related back-up candidates) will be returned to us and all data and results generated by AstraZeneca with respect to such development candidate (and related back-up candidates) will be either assigned or licensed to us. Upon the earlier of termination of the 2018 A&R Agreements for any reason and a specified anniversary of the effective date of the 2013 AZ Agreements, all unexercised options, and the right to exercise any and all options if not previously exercised by AstraZeneca, will automatically terminate.
On a target-by-target basis, we and AstraZeneca have agreed to certain defined exclusivity obligations under the 2018 A&R Agreements with respect to the research, development and commercialization of mRNA medicines for such target in certain fields. In addition, we and AstraZeneca have agreed to certain defined exclusivity obligations with respect to the research, development and

254

Table of Contents

commercialization of mRNA medicines coding for the same polypeptide as any development candidate being developed under the 2018 A&R Agreements.
Unless earlier terminated, the 2018 A&R Agreements will continue until the expiration of AstraZeneca’s earn-out and contingent option exercise payment obligations for optioned product candidates. Either party may terminate the 2018 A&R Agreements upon the other party’s material breach, either in its entirety or in certain circumstances, with respect to relevant candidates, subject to a defined materiality threshold and specified notice and cure provisions. If AstraZeneca has the right to terminate the 2018 A&R Agreements for our material breach, then AstraZeneca may elect, in lieu of terminating the 2018 A&R Agreements, in their entirety or with respect to such candidates, to have the 2018 A&R Agreements remain in effect, subject to reductions in certain payments we are eligible to receive and certain adjustments to AstraZeneca’s obligations under the 2018 A&R Agreements. AstraZeneca may terminate the 2018 A&R Agreements in full, without cause, upon 90 days’ prior notice to us.
Accounting Treatment
For periods prior to January 1, 2019, we applied the provisions of ASC 605 in accounting for these arrangements, except for the 2017 AZ Agreement which was accounted for under ASC 808. In August 2016, AstraZeneca exercised a product option available pursuant to the 2013 AZ Agreements to obtain exclusive rights to clinically develop and commercialize the VEGF-A product (AZD8601). This option exercise is referred to as the 2016 VEGF Exercise. Consistent with our conclusions under ASC 605 and pursuant to ASC 606, we determined that the 2016 VEGF Exercise and the 2017 AZ Agreement should be accounted for as separate transactions as the agreements are not interrelated or interdependent. Conversely, the 2013 Agreements, as amended by the 2018 A&R Agreements, and the 2016 AZ Agreement, were combined for accounting purposes and treated as a single agreement, as these agreements were negotiated in contemplation of each other. As of the date of our initial application of ASC 606, we applied the practical expedient to include the aggregate effect of all modifications to the arrangement that occurred before January 1, 2019 with respect to (i) identification of the satisfied and unsatisfied performance obligations, (ii) determination of the transaction price and (iii) allocation of the transaction price to the satisfied and unsatisfied performance obligations. Therefore, we aggregated effects of all the modifications prior to January 1, 2019 to the 2013 Agreements, including the effects of the 2018 A&R Agreements, and the 2016 AZ Agreement were combined into one transaction for accounting purposes. We will refer to this combined transaction as the Combined 2018 AZ Agreements. We determined that all aspects of Combined 2018 AZ Agreements and the 2016 VEGF Exercise represent a transaction with a customer and therefore is accounted for in accordance with ASC 606 as of the date of the initial application.

Combined 2018 AZ Agreements

We identified the following performance obligations in the Combined 2018 AZ Agreements: (i) a combined performance obligation that includes a research license, research and development pool services, and manufacturing obligations related to the 2013 AZ Agreements, as amended by the 2018 A&R Agreements, collectively referred to as the Combined 2018 AZ Agreement Performance Obligation, (ii) preclinical development services for IL-12, (iii) preclinical development services for an oncology development target, (iv) a combined performance obligation for a development and commercialization license and manufacturing obligations for IL-12, and (v) a material right to receive development and commercialization rights and manufacturing services for an oncology development target.

We concluded that the research license is not distinct from the research and development pool services or the manufacturing obligations related to the 2018 A&R Agreements, as AstraZeneca cannot fully exploit the value of the research license without receipt of such services and supply. Our services and supply involve specialized expertise, particularly as it relates to mRNA technology that is not available in the marketplace. Any supply requested by AstraZeneca in excess of the minimum quantities specified in the agreement are considered customer options and treated as separate contracts for accounting purposes. Further, we concluded that AstraZeneca cannot exploit the value of the development and commercialization license for IL-12 without receipt of supply as the development and commercialization license does not convey to AstraZeneca the right to manufacture and therefore combined the development and commercialization license and the manufacturing obligations for IL-12 into one performance obligation.

As of January 1, 2019, the date of initial adoption of ASC 606, the total transaction price was determined to be $400.0 million comprised of the $240.0 million in upfront payments pertaining to the 2013 AZ Agreements and $160.0 million of variable consideration comprised of $40.0 million of estimated reimbursement for IL-12 manufacturing obligations and $120.0 million of milestone payments ($60.0 million toxicity milestone and $60.0 million competition milestone), received prior to the adoption date of ASC 606. We utilize the most likely amount method to determine the amount of reimbursement for IL-12 manufacturing obligations to be received. We determined that any sales-based royalties related to IL-12 will be recognized when the related sales occur as they were determined to relate predominately to the license granted and therefore have been excluded from the transaction price. In addition, we are eligible to receive future milestones and royalties on future commercial sales for optioned product

255

Table of Contents

candidates under the 2018 A&R Agreements and future royalties under the 2016 Agreement; however, these amounts are not considered variable consideration under the Combined 2018 Agreements as we are only eligible to receive such amounts if AstraZeneca exercises its options (including certain options that are deemed to be material rights). We have concluded that the exercise of an optioned product candidate represents a separate transaction under ASC 606. We will re-evaluate the transaction price at the end of each reporting period. There was a $1.8 million increase to the transaction price resulting from a $1.0 million sublicense reimbursement received in the third quarter of 2019 and a change in estimate of variable consideration of $0.8 million during the year ended December 31, 2019.

The transaction price was allocated to the performance obligations based on the relative estimated standalone selling prices of each performance obligation. We developed the estimated standalone selling price for the licenses included in the Combined 2018 AZ Agreement Performance Obligation and the combined performance obligation for a development and commercialization license and manufacturing obligations for IL-12 primarily based on the probability-weighted present value of expected future cash flows associated with each license related to each specific program. In developing such estimate, we also considered applicable market conditions and relevant entity-specific factors, including those factors contemplated in negotiating the agreement, probability of success and the time needed to commercialize a product candidate pursuant to the associated license. We developed the estimated standalone selling price for the services and/or manufacturing and supply included in each of the performance obligation, as applicable, primarily based on the nature of the services to be performed and/or goods to be manufactured and estimates of the associated costs, adjusted for a reasonable profit margin that would be expected to be realized under similar contracts. The estimated standalone selling price of the material right to receive development and commercialization rights and manufacturing services for an oncology development target was developed by estimating the amount of discount that AstraZeneca would receive when exercising the option and adjusting such amount by the likelihood that the option will be exercised.

As of December 31, 2019, the transaction price allocated to each performance obligation is as follows: (i) $293.2 million to the Combined 2018 AZ Agreement Performance Obligation, (ii) $8.1 million to the preclinical development services for IL-12 performance obligation, (iii) $8.1 million to the preclinical development services for an oncology development target performance obligation, (iv) $90.7 million to the combined performance obligation for a development and commercialization license and manufacturing obligations for IL-12, and (v) $1.6 million to the material right to receive development and commercialization rights and manufacturing services for an oncology development target. As part of the allocation of the transaction price to each of the performance obligations, we concluded that the $60.0 million toxicity milestone and the estimated reimbursement for IL-12 manufacturing costs can be allocated entirely to specific performance obligations because the variable payment relates specifically to our effort to satisfy the performance obligation and such allocation is consistent with the allocation objectives of ASC 606.

We measure proportional performance over time using an input method based on cost incurred relative to the total estimated costs for the Combined 2018 AZ Agreement Performance Obligation and the preclinical development services for IL-12 and the other oncology target performance obligations. We recognize revenue related to the amounts allocated to the combined performance obligation for a development and commercialization license and manufacturing obligations for IL-12 based on the point in time upon which control of supply is transferred to AstraZeneca for each delivery of the associated supply.

We recognize revenue for the Combined 2018 AZ Agreement Performance Obligation, on a quarterly basis, by determining the proportion of effort incurred as a percentage of total effort we expect to expend. This ratio is applied to the transaction price allocated to this combined performance obligation. We also estimate the development plan, including expected demand from AstraZeneca, and the associated costs for this combined performance obligation, as we will satisfy this combined performance obligation as the manufacturing services are performed. Management has applied significant judgment in the process of developing our budget estimates. Any changes to these estimates will be recognized in the period in which they change as a cumulative catch up.

For the years ended December 31, 2019, 2018 and 2017, we recognized collaboration revenue of $4.3 million, $45.4 million and $30.0 million respectively, from the Combined 2018 AZ Agreements. The revenue recognized for the year ended December 31, 2019 includes the amortization of deferred revenue due to the satisfaction of our performance obligation during the periods. As of December 31, 2019, the aggregate amount of the transaction price allocated to the remaining performance obligations that are unsatisfied is $110.4 million. $100.7 million is expected to be recognized as revenue through December 31, 2027 and $9.7 million is expected to be recognized as revenue at the earlier of expiration or modification of the Combined 2018 AZ Agreement. We had deferred revenue of $73.7 million and $115.6 million as of December 31, 2019 and 2018, respectively, from the Combined 2018 AZ Agreements, which is classified as current or non-current in the consolidated balance sheets based on the period the services are expected to be performed or control of the supply is expected to be transferred.

2016 VEGF Exercise


256

Table of Contents

We concluded that the 2016 VEGF Exercise should be treated as a separate transaction for accounting purposes. We identified one performance obligation in this arrangement which is comprised of the exclusive license to develop and commercialize VEGF and the manufacturing of clinical supply. We concluded that the VEGF license is not distinct from the manufacturing obligations because AstraZeneca cannot fully exploit the value of the license without receipt of such supply. This is due to limitations inherent in the licenses conveyed wherein AstraZeneca does not have the contractual right to manufacture during the term of the agreement.

As of January 1, 2019, the date of initial adoption of ASC 606, the total transaction price was determined to be $55.1 million comprised of the $40.0 million in fixed payments pertaining to a $10.0 million option exercise fee and a $30.0 million milestone achieved prior to the adoption of ASC 606 and $15.1 million of variable consideration related to the estimated reimbursement for clinical supply. We are eligible to receive future milestones and royalties on future commercial sales under this arrangement. We utilize the most likely amount method to estimate any development and regulatory milestone payments to be received and the amount of estimated reimbursement for clinical supply. As of January 1, 2019, there were no milestones that had not been achieved included in the transaction price. We considered the stage of development and the risks associated with the remaining development required to achieve each milestone, as well as whether the achievement of the milestone is outside of our or AstraZeneca’s control. The outstanding milestone payments were fully constrained, as a result of the uncertainty whether any of the milestones would be achieved. We determined that any commercial milestones and sales-based royalties will be recognized when the related sales occur as they were determined to relate predominantly to the license granted and therefore have also been excluded from the transaction price. We will re-evaluate the transaction price at the end of each reporting period and as uncertain events are resolved or other changes in circumstances occur. When a milestone payment is included in the transaction price in the future, it will be recognized as revenue based on the relative completion of the underlying performance obligation. There was a $2.8 million increase to the transaction price resulting from $2.3 million in sublicense reimbursements received in 2019, and a change in estimate of variable consideration of $0.5 million during the year ended December 31, 2019.

We recognize revenue related to the amount of the transaction price allocated to the VEGF Exercise performance obligation based on the point in time upon which control of supply is transferred to AstraZeneca for each delivery of the associated supply.

Our collaboration revenue from the 2016 VEGF Exercise for the year ended December 31, 2019 was immaterial. We did not recognize any collaboration revenue from the 2016 VEGF Exercise for the years ended December 31, 2018 and 2017. As of December 31, 2019, the aggregate amount of the transaction price allocated to the remaining performance obligation that is unsatisfied is $53.7 million, which is expected to be recognized as revenue through December 31, 2023. We had deferred revenue of $41.2 million as of December 31, 2019 and 2018, respectively from the 2016 VEGF Exercise, which is classified as current or non-current in the consolidated balance sheets based on the period the control of the supply is expected to be transferred.

2017 AZ Agreement

We concluded the 2017 AZ Agreement is under the scope of ASC 808 as we and AstraZeneca are both active participants in the development, manufacturing and commercialization activities and are exposed to significant risks and rewards that are dependent on commercial success of the activities of the arrangement. Additionally, we determined the development, manufacturing and commercialization activities are not deliverables under ASC 606. As a result, the activities conducted pursuant to the development, manufacturing and commercialization activities are accounted for as a component of the related expense in the period incurred. We considered the guidance in ASC 606 by analogy in determining the appropriate treatment for the transactions between us and AstraZeneca and concluded that reimbursement for transactions in which we are considered to be principal because we control a promised good or service before transferring that good or service to the customer, are accounted for as gross revenue.

We recognized $0.6 million in revenue from the 2017 AZ Agreement for the year ended December 31, 2018. We did not recognize any revenue from the 2017 AZ Agreement for the years ended December 31, 2019 and 2017.

Merck – Strategic Alliances in Infectious Diseases and Cancer Vaccines
2015 Strategic Alliance with Merck – Infectious Disease
In January 2015, we entered into a Master Collaboration and License Agreement with Merck, which was amended in January 2016, June 2016, and May 2019, and which we refer to, as amended, as the 2015 Merck Agreement. Pursuant to the 2015 Merck Agreement, we and Merck have agreed to research, develop, and commercialize potential mRNA medicines for the prevention of infections by RSV. As a part of the May 2019 amendment of the 2015 Merck Agreement, we and Merck agreed to conclude the collaboration as it relates to development of potential mRNA medicines for other viruses, including mRNA-1278 for the prevention of VZV infection.

257

Table of Contents

Pursuant to the 2015 Merck Agreement, Merck is primarily responsible for research, development, and commercialization activities and associated costs of such research and commercialization. We are responsible for designing and, at Merck's cost, manufacturing all mRNA constructs for preclinical and Phase 1 and Phase 2 clinical development purposes, and we are responsible for certain costs associated with the conduct of a Phase 1 clinical trial for a RSV vaccine product candidate (mRNA-1172). Responsibility for manufacturing mRNA constructs for late stage clinical development and commercialization purposes is to be determined.

The 2015 Merck Agreement includes a three-year period, expected to end on January 12, 2022, during which Merck may continue to preclinically and clinically develop RSV vaccine product candidates using mRNA constructs that were initially developed during an initial four-year research period which terminated in January 2019. Merck may, prior to January 12, 2022, elect to exclusively develop and commercialize up to five RSV vaccine product candidates.

We and Merck have agreed to certain defined exclusivity obligations during the term of the 2015 Merck Agreement with respect to mRNA investigational medicines against RSV. As part of the May 2019 amendment of the 2015 Merck Agreement, we and Merck agreed to certain exceptions to the existing exclusivity obligations, pursuant to which we will no longer be restricted from researching, developing, and commercializing an mRNA investigational medicine for the prevention of a specific set of respiratory infections, including RSV, for the pediatric population.

Under the terms of the 2015 Merck Agreement, we received a $50.0 million upfront payment. We are eligible to receive, on a product-by-product basis, up to $300.0 million in aggregate milestone payments upon the achievement of certain development, regulatory, and commercial milestone events. To date, we have received from Merck a clinical milestone payment of $5.0 million with respect to the initiation of a Phase 1 clinical trial for a Merck RSV vaccine product candidate. In addition, under the terms of the 2015 Merck Agreement, we are eligible to receive an additional milestone payment unless Merck elects not to continue with further clinical development of mRNA-1172. On a product-by-product basis, we are also entitled to receive royalties on Merck’s net sales of products at rates ranging from the mid-single digits to low teens, subject to certain reductions, with an aggregate minimum floor. Additionally, concurrent with entering into the 2015 Merck Agreement in 2015, Merck made a $50.0 million equity investment in us, and concurrent with amending the 2015 Merck Agreement in January 2016, we received an upfront payment of $10.0 million from Merck.

Unless earlier terminated, the 2015 Merck Agreement will continue on a product-by-product and country-by-country basis for so long as royalties are payable by Merck on a given product in a given country. Either party may terminate the 2015 Merck Agreement upon the other party’s material breach, either in its entirety or with respect to a particular program, product candidate, product or country, subject to specified notice and cure provisions. Merck may terminate the 2015 Merck Agreement in full or with respect to a particular product candidate or product upon certain advance notice to us for any reason, or earlier if Merck determines the alliance or product is no longer commercially practicable. If Merck has the right to terminate the 2015 Merck Agreement, in its entirety or with respect to a program, product candidate or product, for our material breach, then Merck may elect, in lieu of terminating the 2015 Merck Agreement, to have the 2015 Merck Agreement remain in effect, subject to reductions in certain payments we are eligible to receive with respect to the terminable rights. Upon a termination of the 2015 Merck Agreement with respect to a program, all licenses and other rights granted to Merck with respect to such program will terminate and the continued development and commercialization of product candidates and products will revert to us. If the 2015 Merck Agreement is terminated with respect to a given product candidate or product, all licenses and other rights granted to Merck with respect to such product candidate or product will terminate and, to the extent we terminated for Merck’s breach, Merck will grant us licenses under select Merck technology for our continued development and commercialization of such product candidate or product.

Accounting Treatment

For periods prior to January 1, 2019, we applied the provisions of ASC 605 in accounting for this arrangement. As of the date of our initial application of ASC 606, we applied the practical expedient to include the aggregate effect of all modifications to the arrangement that occurred before January 1, 2019 with respect to (i) identification of the satisfied and unsatisfied performance obligations, (ii) determination of the transaction price and (iii) allocation of the transaction price to the satisfied and unsatisfied performance obligations. Additionally, we determined that all aspects of amended 2015 Merck Agreement represent a transaction with a customer and therefore the amended 2015 Merck Agreement is accounted for in accordance with ASC 606 as of the date of the initial application. As of the date of initial adoption of ASC 606, the four-year research period was substantially complete and we concluded there were no unsatisfied performance obligations pertaining to the amended 2015 Merck Agreement. Additionally, we concluded the following customer options are marketing offers as such options did not provide any discounts or other rights that would be considered a material right in the arrangement: (i) research services during the three-year period following the initial four-year research period during which Merck may continue to preclinically and clinically develop product candidates and (ii) clinical mRNA supply for Phase 1 and Phase 2 and/or non-cGMP mRNA supply beyond the initial four-year research period. Therefore, such options will be accounted for as a separate contract upon the customer’s election. After completion of the initial four-year research

258

Table of Contents

period, and as part of the May 2019 amendment of the 2015 Merck Agreement, Merck elected to establish a new RSV vaccine product candidate and elected to conduct a Phase 1 clinical trial. We are responsible for certain costs associated with the conduct of the Phase 1 clinical trial.

As of January 1, 2019, the date of initial application of ASC 606, the total transaction price of $65.0 million comprised the $60.0 million in aggregate upfront payments, including $50.0 million related to research and development funding plus a $10.0 million funding from the 2016 amendment of the 2015 Merck Agreement, and a $5.0 million payment pertaining to achievement of a development milestone during the year ended December 31, 2017, which had been allocated entirely to the satisfied performance obligation and recognized in full. We utilize the most likely amount method to estimate any development and regulatory milestone payments to be received. As of January 1, 2019, there were no milestones that had not been achieved included in the transaction price. We considered the stage of development and the risks associated with the remaining development required to achieve each milestone, as well as whether the achievement of the milestone is outside of our or Merck’s control. The outstanding milestone payments were fully constrained, as a result of the uncertainty whether any of the milestones would be achieved. We determined that any commercial milestones and sales-based royalties will be recognized when the related sales occur as they were determined to relate predominantly to the license granted and therefore have also been excluded from the transaction price. When a milestone payment is included in the transaction price in the future, it will be recognized as revenue based on the relative completion of the underlying performance obligation. We determined that our obligation under the May 2019 amendment to reimburse Merck for certain costs associated with the RSV vaccine Phase 1 clinical trial represents consideration payable to a customer and is accounted for as a reduction of the transaction price. The consideration amount is determined based on the most likely method and recorded as contra-revenue as costs are incurred. The one-time payment upon election by Merck to continue developing RSV is fully constrained as it is contingent upon completion of the RSV Phase 1 clinical trial and upon decisions to be made by Merck to continue development thereafter. We will re-evaluate the transaction price at the end of each reporting period and as uncertain events are resolved or other changes in circumstances occur. For the year ended December 31, 2019, there was a $5.3 million decrease to the transaction price related to reimbursements paid to Merck for RSV vaccine Phase I clinical trial costs.

We had recognized no collaboration revenue for the year ended December 31, 2019 from the Amended 2015 Merck Agreement. For the years ended December 31, 2018 and 2017, we recognized collaboration revenue of $24.6 million and $22.9 million, respectively, from the amended 2015 Merck Agreement. We had no deferred revenue as of December 31, 2019 and 2018, from the amended 2015 Merck Agreement as all performance obligations under the amended 2015 were completed as of December 31, 2018.

Additionally, we recognized contra-revenue of $4.8 million for the year ended December 31, 2019, related to consideration payable to Merck under the May 2019 Amendment, net of collaboration revenue earned pursuant to separate agreements with Merck related to the exercise of customer options to purchase clinical mRNA supply to further develop a product candidate after the initial four-year research period. Clinical mRNA supply is recognized as collaboration revenue at a point in time upon which control of supply is transferred to Merck for each delivery of the associated supply.

2016 Cancer Vaccine Strategic Alliance-Personalized mRNA Cancer Vaccines

In June 2016, we entered into a personalized mRNA cancer vaccines (PCV) Collaboration and License Agreement with Merck, which we refer to as the PCV Agreement, to develop and commercialize PCVs for individual patients using our mRNA vaccine and formulation technology. Under the strategic alliance, we identify genetic mutations present in a particular patient’s tumor cells, synthesize mRNA for these mutations, encapsulate the mRNA in one of our proprietary LNPs and administer to each patient a unique mRNA cancer vaccine designed to specifically activate the patient’s immune system against her or his own cancer cells.

Pursuant to the PCV Agreement, we are responsible for designing and researching PCVs, providing manufacturing capacity and manufacturing PCVs, and conducting Phase 1 and Phase 2 clinical trials for PCVs, alone and in combination with KEYTRUDA (pembrolizumab), Merck’s anti-PD-1 therapy, all in accordance with an agreed upon development plan and budget and under the oversight of a committee comprised of equal representatives of each party. The parties have entered into a clinical quality agreement with respect to Moderna’s manufacture and supply activities. We received an upfront payment of $200.0 million from Merck. In November 2017, we and Merck announced the achievement of a key milestone for the first-in-human dosing of a PCV (mRNA-4157) as a part of the alliance. The Phase 1 open-label, dose escalation, multicenter clinical trial in the United States (KEYNOTE-603) is designed to assess the safety, tolerability and immunogenicity of mRNA-4157 alone in subjects with resected solid tumors and in combination with KEYTRUDA, in subjects with unresectable solid tumors.

Until the expiration of a defined period of time following our completion of Phase 1 and Phase 2 clinical trials for PCVs under the PCV Agreement and delivery of an associated data package to Merck, Merck has the right to elect to participate in future development and commercialization of PCVs by making a $250.0 million participation payment to us. If Merck exercises its election and pays the

259

Table of Contents

participation payment, then the parties will equally co-fund subsequent clinical development of PCVs, with Merck primarily responsible for conducting clinical development activities under a jointly agreed development plan and budget. Each party may also conduct additional clinical trials for PCVs that are not included in the jointly agreed development plan and budget, in which case the non-conducting party will reimburse the conducting party for half of the total costs for such trials, plus interest, from its share of future profits resulting from sales of such PCVs, if any. Merck will lead worldwide commercialization of PCVs, subject to Moderna’s option to co-promote PCVs in the United States, and the parties will equally share the profits or losses arising from worldwide commercialization. Until a PCV becomes profitable, we may elect to defer payment of our share of the commercialization and related manufacturing costs and instead reimburse Merck for such costs, plus interest, from our share of future profits resulting from sales of such PCV, if any. Subject to customary “back-up” supply rights granted to Merck, we will manufacture (or have manufactured) PCVs for preclinical and clinical purposes. Manufacture of PCVs for commercial purposes will be determined by the parties in accordance with the terms of the PCV Agreement. Under the PCV Agreement, we grant certain licenses to Merck to perform its collaboration activities.

If Merck does not exercise its right to participate in future development and commercialization of PCVs, then Moderna will retain the exclusive right to develop and commercialize PCVs developed during the strategic alliance, subject to Merck’s rights to receive a percentage in the high teens to the low 20s, subject to reductions of our net profits on sales of such PCVs. During a limited period following such non-exercise, Merck has the right to perform clinical studies of such PCVs in combination with KEYTRUDA, for which we agree to use reasonable efforts to supply such PCVs. During such limited period, we also have the right to perform clinical studies of PCVs in combination with KEYTRUDA, for which Merck agrees to use reasonable efforts to supply KEYTRUDA. In addition, following its non-exercise, Merck is also entitled to receive a percentage in the high teens to the low 20s, subject to reductions, of our net profits on sales of certain PCVs first developed by us following such non-exercise and reaching a specified development stage within a defined period of time.

We and Merck have agreed to certain defined, limited exclusivity obligations with respect to the development and commercialization of PCVs.

2018 Expansion of the Cancer Vaccine Strategic Alliance-Shared Neoepitope Cancer Vaccines

In April 2018, we and Merck agreed to expand our cancer vaccine strategic alliance to include the development and commercialization of our KRAS vaccine development candidate, mRNA-5671 or V941, and potentially other shared neoantigen mRNA cancer vaccines (SAVs). We preclinically developed mRNA-5671 prior to its inclusion in the cancer vaccine strategic alliance and it is comprised of a novel mRNA construct designed by us and encapsulated in one of our proprietary LNPs. The PCV Agreement was amended and restated to include the new SAV strategic alliance (PCV/SAV Agreement).

We have granted Merck certain licenses and we and Merck have agreed to certain exclusivity obligations with respect to SAVs and particular SAV programs, which obligations are subject to termination or expiration upon certain triggering events. Under the PCV/SAV Agreement, Merck will be responsible for conducting Phase 1 and Phase 2 clinical trials for mRNA-5671 and for all costs associated with such activities, in accordance with a jointly agreed development plan and budget, and we will be responsible for manufacturing and supplying all mRNA-5671 required to conduct such trials and for all costs and expenses associated with such manufacture and supply. Under the PCV/SAV Agreement, our budgeted commitment for PCV increased to $243.0 million. Until the expiration of a defined period of time following the completion of Phase 1 and Phase 2 clinical trials for mRNA-5671 under the PCV/SAV Agreement and our delivery of an associated data package to Merck, Merck has the right to elect to participate in future development and commercialization of mRNA-5671 by making a participation payment to us. If Merck exercises its participation rights, then the parties will equally co-fund subsequent clinical development of mRNA-5671, with Merck primarily responsible for conducting clinical development activities under a jointly agreed development plan and budget. If Merck declines to participate in future development and commercialization activities following the initial Phase 1 and Phase 2 clinical trials for mRNA-5671, then we will retain the rights to develop and commercialize mRNA-5671. If Merck elects to participate in future development and commercialization of mRNA-5671, Merck may also conduct additional clinical trials for mRNA-5671 that are not included in the jointly agreed development plan and budget, in which case we will reimburse Merck for half of the total development costs for such clinical trials, plus interest, from our share of future profits resulting from sales of mRNA-5671, if any. If Merck does conduct additional clinical trials for mRNA-5671, we will be responsible for manufacturing and supplying all mRNA-5671 required to conduct such trials. Merck will lead worldwide commercialization of mRNA-5671, subject to our option to co-promote mRNA-5671 in the United States, and the parties will equally share the operating profits or losses arising from worldwide commercialization. Until mRNA-5671 becomes profitable, we may elect to defer payment of our share of the commercialization and related manufacturing costs and instead reimburse Merck for such costs, plus interest, from our share of future profits resulting from sales of mRNA-5671, if any. Subject to “back-up” supply rights granted to Merck, we will manufacture (or have manufactured) mRNA-5671 and other SAVs for preclinical and clinical purposes. After Merck exercises its right to participate in future development and commercialization of

260

Table of Contents

mRNA-5671 and other SAVs, we will grant the applicable development and commercialization licenses and the parties are obligated to discuss responsibility for future manufacturing, giving consideration to applicable criteria.

Pursuant to the PCV/SAV Agreement, for a defined period of time, either party may propose that the parties conduct additional programs for the research and development of SAVs directed to different shared neoantigens. If the parties agree to conduct any such programs, then we will be responsible for conducting and funding preclinical discovery and research activities for such SAVs, and otherwise the programs would be conducted on substantially the same terms as mRNA-5671 program. If we or Merck propose a new SAV program and the other party does not agree to conduct such program, then the PCV/SAV Agreement includes provisions allowing the proposing party to proceed with such development, at the proposing party’s expense. If Merck is the proposing party, we will be responsible for manufacturing and supplying material for such program at Merck’s expense. In such case, the non-proposing party will have the right to opt-in to such SAV program any time before the proposing party commits to performing Good Laboratory Practice (GLP)-toxicity studies. Until the expiration of a defined period of time following our completion of Phase 1 and Phase 2 clinical trials for any SAV program mutually agreed by the parties under the PCV/SAV Agreement and our delivery of an associated data package to Merck, Merck has the right to elect to participate in future development and commercialization of such SAV by making a participation payment to us.

Unless earlier terminated, the PCV/SAV Agreement will continue on a program-by-program basis until Merck terminates its participation in such program. Following any such termination, we will retain the exclusive right to develop and commercialize PCVs or SAVs developed as a part of such program, subject to restrictions and certain limited rights retained by Merck.

In connection with the amendment of the PCV Agreement to include the development and commercialization of mRNA-5671 and potentially other SAVs, Merck made a contemporaneous equity investment in our Series H redeemable convertible preferred stock, resulting in gross proceeds of $125.0 million, of which $13.0 million is determined to be a premium and recorded to deferred revenue.

Accounting Treatment

We determined that the PCV/SAV Agreement should be accounted for separately from the amended 2015 Merck Agreement, as the agreements were not negotiated in contemplation of one another and the elements within each of the agreements are not closely interrelated or interdependent on each other.

For periods prior to January 1, 2019, we applied the provisions of ASC 605 in accounting for this arrangement. As of the date of our initial application of ASC 606, we applied the practical expedient to include the aggregate effect of all modifications to the arrangement that occurred before January 1, 2019 with respect to: (i) identification of the satisfied and unsatisfied performance obligations, (ii) determination of the transaction price and (iii) allocation of the transaction price to the satisfied and unsatisfied performance obligations. Additionally, we determined that all aspects of the PCV/SAV Agreement represent a transaction with a customer and therefore the PCV/SAV Agreement is accounted for in accordance with ASC 606 as of the date of the initial application. Further, the equity investment in our Series H redeemable convertible preferred stock was considered together with the PCV/SAV Agreement as the transactions were executed contemporaneously in contemplation of one another. Further, the purchase price paid by Merck with respect to the investment in the Series H redeemable convertible preferred stock was not representative of fair value on the date of such purchase. As such, the incremental proceeds received in excess of the fair value of the underlying stock related to the equity investment were included in the transaction price related to the PCV/SAV Agreement and the shares of Series H redeemable convertible preferred stock purchased by Merck were recorded at their respective fair value on the date of issuance.

We identified the following performance obligations in the PCV/SAV Agreement: (i) a research license and research and development services, including manufacturing and supply of PCVs, during the proof of concept (POC) term for the PCV program, referred to as the PCV Performance Obligation, and (ii) research license and manufacturing and supply of mRNA-5671 during the POC term for the KRAS program, referred to as the KRAS Performance Obligation. We concluded that the research license is not distinct from the research and development services, including manufacturing and supply of PCVs, during the POC term for the PCV program, as Merck cannot fully exploit the value of the license without receipt of such services and supply. Our services and supply involve specialized expertise, particularly as it relates to mRNA technology that is not available in the marketplace. Therefore, the research license has been combined with the research and development services, including manufacturing and supply of PCVs, during the POC term for the PCV program, into a single performance obligation. Similarly, we concluded that the research license is not distinct from the manufacturing and supply of mRNA-5671 during the POC term for the KRAS program, as Merck cannot fully exploit the value of the license without receipt of such supply which must be provided by us. This is due to limitations inherent in the licenses conveyed wherein Merck does not have the contractual right to manufacture during the POC term. Therefore, the research license has been combined with the manufacturing and supply of mRNA-5671, during the POC term for the KRAS program, into a single performance obligation. Conversely, we concluded that the PCV Performance Obligation and the KRAS

261

Table of Contents

Performance Obligation are distinct from each other because Merck can fully exploit the value of each program for its intended purpose without the promises associated with the other program. Additionally, we concluded the following customer options are marketing offers as such options did not provide any discounts or other rights that would be considered a material right in the arrangement: (i) Merck participation election license related to future joint development and commercialization on a program-by-program basis, (ii) manufacturing and supply in support of certain SAV programs and/or the PCV program upon Merck election to not participate in future development and commercialization of that program and (iii) research and development services associated with certain SAV programs. Therefore, such options will be accounted for as a separate contract upon the customer’s election.

As of January 1, 2019, the date of initial application of ASC 606, the total transaction price was determined to be $213.0 million comprised of the $200.0 million upfront payment pertaining to the PCV Agreement and the premium associated with the contemporaneous sale of Series H redeemable convertible preferred stock of $13.0 million. We determined there are no components of variable consideration that should be included in the transaction price as of the date of initial application, as additional consideration to which we could be entitled is subject to Merck’s election to exercise a customer option that was deemed to be a marketing offer. We will re-evaluate the transaction price at the end of each reporting period. There were no changes to the transaction price during the year ended December 31, 2019.

The transaction price was allocated to the performance obligations based on the relative estimated standalone selling price of each performance obligation. We developed the estimated standalone selling price for the license included in each of the PCV Performance Obligation and the KRAS Performance Obligation primarily based on the probability-weighted present value of expected future cash flows associated with each license related to each specific program. In developing such estimate, we also considered applicable market conditions and relevant entity-specific factors, including those factors contemplated in negotiating the agreement, probability of success and the time needed to commercialize a product candidate pursuant to the associated license. We developed the estimated standalone selling price for the services and/or manufacturing and supply included in each of the PCV Performance Obligation and the KRAS Performance Obligation, as applicable, primarily based on the nature of the services to be performed and/or goods to be manufactured and estimates of the associated cost, adjusted for a reasonable profit margin that would be expected to be realized under similar contracts.

As of December 31, 2019, the transaction price allocated to each performance obligation is as follows: (i) $206.3 million to the PCV Performance Obligation and (ii) $6.7 million allocated to the KRAS Performance Obligation. We will recognize revenue related to amounts allocated to the PCV Performance Obligation over time as the underlying services are performed using a proportional performance model. We measure proportional performance using an input method based on the costs incurred relative to the total estimated costs of research and development efforts. We recognize revenue related to the amounts allocated to the KRAS Performance Obligation based on the point in time upon which control of supply is transferred to Merck for each delivery of the associated supply.

For the years ended December 31, 2019, 2018 and 2017, we recognized collaboration revenue of $41.4 million, $41.5 million and $40.0 million, respectively, in the consolidated statements of operations, from the Merck PCV/SAV Agreement. The revenue recognized during the year ended December 31, 2019 includes the amortization of deferred revenue due to the satisfaction of our performance during the periods. As of December 31, 2019, the aggregate amount of the transaction price allocated to the remaining performance obligations that are unsatisfied is $83.8 million, which is expected to be recognized as revenue through December 31, 2021. We had deferred revenue of $83.8 million and $111.3 million, as of December 30, 2019 and 2018, respectively, from the Merck PCV/SAV Agreement, which is classified as current or non-current in the consolidated balance sheets based on the period the services are expected to be performed or control of the supply is expected to be transferred.

Vertex – 2016 Strategic Alliance in Cystic Fibrosis
In July 2016, we entered into a Strategic Collaboration and License Agreement, with Vertex Pharmaceuticals Incorporated, and Vertex Pharmaceuticals (Europe) Limited, together, Vertex, which we refer to as the Vertex Agreement. The Vertex Agreement, which was amended in July 2019, which we refer to as the 2019 Vertex Amendment, is aimed at the discovery and development of potential mRNA medicines for the treatment of cystic fibrosis (CF) by enabling cells in the lungs of people with CF to produce functional CFTR proteins.
Pursuant to the Vertex Agreement, we lead discovery efforts during an initial research period that currently extends until March 2020, leveraging our Platform technology and mRNA delivery expertise along with Vertex’s scientific experience in CF biology and the functional understanding of CFTR. Vertex is responsible for conducting development and commercialization activities for candidates and products that arise from the strategic alliance, including the costs associated with such activities. Subject to customary “back-up” supply rights granted to Vertex, we exclusively manufacture (or have manufactured) mRNA for preclinical, clinical and

262

Table of Contents

commercialization purposes. The parties established a joint steering committee to oversee and coordinate activities under the Vertex Agreement. We and Vertex have granted each other certain licenses under the Vertex Agreement.
Under the terms of the Vertex Agreement, we received a $20.0 million upfront payment from Vertex. In July 2019, Vertex elected to extend the initial research period by six months by making a $2.0 million payment to us pursuant to the 2019 Vertex Amendment. Vertex has the right to extend the initial research period by an additional 18-month period by making an additional payment to us. Vertex has rights to further extend the research period for two additional one-year periods by making an additional payment to us for each one-year extension. We are eligible to receive up to $55.0 million in payments for achievement of development milestones, up to $220.0 million in payments for achievement of regulatory milestones and potentially could receive an additional $3.0 million milestone payment for achievement of a regulatory milestone for second and each subsequent product under the Vertex Agreement. Vertex will also pay us tiered royalties at rates ranging from the low- to high-teens on worldwide net sales of products arising from the strategic alliance, subject to certain reductions, with an aggregate minimum floor. In connection with the strategic alliance, Vertex also made a $20.0 million equity investment in us.
During the term of the Vertex Agreement, we and Vertex have agreed to certain defined exclusivity obligations under the Vertex Agreement with respect to the development and commercialization of certain mRNA medicines.
Unless earlier terminated, the Vertex Agreement will continue until the expiration of all royalty terms. Vertex may terminate the Vertex Agreement for convenience upon 90 days’ prior written notice, except if termination relates to a product in a country where Vertex has received marketing approval, which, in such case, Vertex must provide 180 days’ prior written notice. Either party may terminate the Vertex Agreement upon the other party’s material breach, subject to specified notice and cure provisions. Each party may also terminate the Vertex Agreement in the event that the other party challenges the validity or enforceability of such party’s patent rights, subject to certain exceptions, or if the other party becomes insolvent.
 Accounting Treatment
For periods prior to January 1, 2019, we applied the provisions of ASC 605 in accounting for this arrangement. As of the date of the initial application of ASC 606, we determined that all aspects of the arrangement with Vertex represent a transaction with a customer and therefore should be accounted for in accordance with ASC 606. We identified one performance obligation comprised of: (i) a research, development and commercialization license and (ii) research and development services, including manufacturing and supply of non-cGMP mRNA, during the initial three-year research period. We concluded that the license is not distinct from the research and development services, including manufacturing and supply of non-cGMP mRNA, during the initial three-year research period, as Vertex cannot fully exploit the value of the license without receipt of such services and supply. Our services and supply involve specialized expertise, particularly as it relates to mRNA technology that is not available in the marketplace. Therefore, the license has been combined with the research and development services, including manufacturing and supply of non-cGMP supply, into a single performance obligation. Additionally, we concluded the following customer options are marketing offers as such options did not provide any discounts or other rights that would be considered a material right in the arrangement: (i) Vertex’s right to extend the research period for an additional year and (ii) clinical mRNA supply and/or non-cGMP mRNA supply beyond the initial three-year research period. Therefore, such options will be accounted for as a separate contract upon the customer’s election.
As of January 1, 2019, the date of initial application of ASC 606, the total transaction price was determined to be $24.4 million, comprised of the $20.0 million upfront payment and $4.4 million in research and development funding related to the research and development services and supply of non-cGMP mRNA. We utilize the most likely amount method to determine the amount of research and development funding to be received. We also utilize the most likely amount method to estimate any development and regulatory milestone payments to be received. As of January 1, 2019, there were no milestones included in the transaction price. We considered the stage of development and the risks associated with the remaining development required to achieve each milestone, as well as whether the achievement of the milestone is outside of our or Vertex’s control. The outstanding milestone payments were fully constrained, as a result of the uncertainty whether any of the milestones would be achieved. We determined that any sales-based royalties will be recognized when the related sales occur as they were determined to relate predominantly to the license granted and therefore have also been excluded from the transaction price.
As of June 30, 2019, all performance obligations under the Vertex Agreement were completed. The 2019 Vertex Amendment represents a contract modification and is accounted for as a separate contract. Pursuant to the 2019 Vertex Amendment, we identified one performance obligation comprised of: (i) a research, development and commercialization license and (ii) research and development services, including manufacturing and supply of non-cGMP mRNA, during the extended six-month initial research period. We concluded that the license is not distinct from the research and development services, including manufacturing and supply of non-cGMP mRNA. Additionally, we concluded the following customer options are marketing offers as such options did not provide any discounts or other rights that would be considered a material right in the arrangement: (i) Vertex’s rights to extend the extended initial research period and (ii) clinical mRNA supply and/or non-cGMP mRNA supply beyond the extended initial

263

Table of Contents

research period. Therefore, such options will be accounted for as a separate contract upon the customer’s election. The total transaction price was determined to be $4.1 million, comprised of the $2.0 million upfront payment and $2.1 million in research and development funding related to the research and development services and supply of non-cGMP mRNA. We utilize the most likely amount method to determine the amount of research and development funding to be received. As of December 31, 2019, there were no milestones included in the transaction price. We will re-evaluate the transaction price at the end of each reporting period and as uncertain events are resolved or other changes in circumstances occur. There was a change in the estimation of variable consideration of $0.1 million associated with the 2019 Vertex Amendment during the year ended December 31, 2019.
For each of the Vertex Agreement and the 2019 Vertex Amendment, the total transaction price was allocated entirely to a single performance obligation. We recognize revenue related to amounts allocated to the single performance obligation over time as the underlying services are performed using a proportional performance model. We measure proportional performance using an input method based on the costs incurred relative to the total estimated costs of the research and development efforts.
For the years ended December 31, 2019, 2018 and 2017, we recognized collaboration revenue of $6.2 million, $10.4 million, and $9.1 million, respectively, in the consolidated statements of operations, from Vertex. The revenue recognized for the year ended December 31, 2019 includes the amortization of the deferred revenue due to the satisfaction of our performance during the periods. As of December 31, 2019, the aggregate amount of the transaction price allocated to the remaining performance obligations that are unsatisfied is $1.6 million, which is expected to be recognized as revenue through the first quarter of 2020. We had deferred revenue of $0.8 million and $3.3 million as of December 31, 2019 and 2018, respectively, from the 2019 Vertex Amendment and the Vertex Agreement, classified as current in the consolidated balance sheets based on the term of the research period.
Alexion – 2014 Strategic Alliance in Rare Diseases
In January 2014, we entered into an Option Agreement and a related Services and Collaboration Agreement, which we refer to as the 2014 Alexion Agreements, with Alexion Pharma Holding Unlimited Company (Alexion) to research, develop and commercialize potential therapeutic mRNA medicines for the treatment of certain rare diseases. Pursuant to the 2014 Alexion Agreements, we granted certain licenses to Alexion and we provided specified research and manufacturing services pursuant to an agreed upon services plan. Under the 2014 Alexion Agreements, Alexion could have requested we provide additional services, at Alexion’s expense, following the end of the research and evaluation period. Under the terms of the 2014 Alexion Agreements, we received an upfront payment of $100.0 million from Alexion. On July 27, 2017, Alexion exercised its right to terminate the 2014 Alexion Agreements without cause effective as of October 25, 2017. At the time of termination, Alexion had not exercised any options to acquire rights to develop and commercialize any products. Upon the termination of the 2014 Alexion Agreements, all rights to mRNA researched, developed or supplied as a part of the programs under the 2014 Alexion Agreements reverted back to us. During the term of the 2014 Alexion Agreements, the parties were subject to certain exclusivity obligations. In connection with entering into the 2014 Alexion Agreements, Alexion also made a $25.0 million equity investment in us.
Accounting Treatment
We determined that the 2014 Alexion Agreements should be evaluated as a single contract for accounting purposes as the Option Agreement and the Services and Collaboration Agreement were negotiated in contemplation of one another. Additionally, we concluded the 2014 Alexion Agreements should be accounted for separately from Alexion’s $25.0 million investment in our Series D redeemable convertible preferred stock, as the agreements are not interrelated or interdependent on each other. Further, the investment in the Series D redeemable convertible preferred stock was negotiated with terms representative of fair value at the same purchase price paid by other investors. As such, the proceeds related to the equity investment were excluded from the consideration related to the 2014 Alexion Agreements.
We concluded the 2014 Alexion Agreements are under the scope of ASC 808 as Alexion and Moderna are both active participants and are exposed to significant risks and rewards that are dependent on commercial success of the activities of the arrangements. Additionally, we evaluated the 2014 Alexion Agreements for recognition and measurement in accordance with ASC 605-25 and ASC 605-28. The deliverables in the arrangement contain multiple deliverables, including evaluation licenses for certain mRNA constructs coding for specific targets, research services, development pool services, mRNA coding for research polypeptides, research phase API, and exclusivity. In addition, we concluded that Alexion’s options to acquire rights to develop and commercialize up to ten development candidates were substantive options and therefore not considered a deliverable at the inception of the 2014 Alexion Agreements. Alexion was not contractually obligated to exercise such options. As a result of the uncertain outcome of the research and development activities, we were at risk as to whether Alexion would exercise the options. Additionally, clinical mRNA supply was determined to be substantive and therefore not considered a deliverable at the inception of the 2014 Alexion Agreements. Further, we concluded that Alexion’s options and the clinical mRNA supply were not priced at a significant or incremental discount. Accordingly, Alexion’s options and the clinical mRNA supply were not considered a deliverable and the associated fees were not included in the allocable arrangement consideration.

264

Table of Contents

We concluded that the evaluation licenses for certain mRNA constructs coding for specific targets did not qualify for separation from any of the other deliverables in the arrangement as Alexion could not fully exploit the value of these licenses without receipt of such services and supply. Our services and supply involve specialized expertise, particularly as it relates to mRNA technology that is not available in the marketplace. Accordingly, Alexion had to obtain the research services, development pool services, mRNA coding for research polypeptides, research phase API, and exclusivity from us, which significantly limited Alexion’s ability to utilize the licenses for their intended purposes on a standalone basis. Accordingly, the delivered licenses did not have standalone value from the undelivered elements and we accounted for all of the deliverables as one unit of accounting.
The total arrangement consideration allocated to the single unit of accounting at inception consisted of the $100.0 million upfront payment and estimated amounts related to research and development services and manufacturing that are included in the unit of accounting. We determined the period of performance of the undelivered elements was commensurate with the ten-year services term. As such, the $100.0 million arrangement consideration was being recognized ratably over the ten-year period, as there was no other discernible pattern of recognition.
Upon exercise of each option, we were eligible to receive, per product candidate, certain payments contingent upon achievement of development, regulatory, and commercial milestones. At the time of termination, no milestones had been achieved. We evaluated all of the milestones that may have been received under the arrangement. We concluded at the outset of the arrangement that none of the future development and regulatory milestones qualified as substantive milestones, as the efforts to achieve the milestones were Alexion’s responsibility and therefore the milestone would not be achieved based on our past performance. Accordingly, upon achievement of a development or regulatory milestone event, the corresponding amount earned would have been recognized as additional arrangement consideration over the remaining estimated performance period, if any, with a cumulative catch-up for the elapsed portion of the performance period being recognized in full when the payment was earned. All commercial milestones would have been accounted for in the same manner as royalties, and recorded as revenue upon achievement of the milestone, assuming all other revenue recognition criteria were met. We would have recognized royalty revenue in the period of sale of the related product(s), based on the underlying agreement terms, provided that the reported sales were reliably measurable and we had no remaining undelivered elements, assuming all other revenue recognition criteria were met. No options were exercised and therefore no milestones or royalties were earned under the 2014 Alexion Agreements prior to termination.
In conjunction with the termination of the 2014 Alexion Agreements in 2017, we determined there were no remaining deliverables pursuant to the 2014 Alexion Agreements as the agreements and all unexercised options were terminated. Therefore, $70.3 million of deferred revenue was recognized in full upon the termination in 2017. There were no other amounts for which we were entitled pursuant to the termination.
For the year ended December 31, 2017, we recognized collaboration revenue of $74.4 million from Alexion. We had no collaboration revenue for the years ended December 31, 2019 or 2018, from Alexion. We had no deferred revenue as of December 31, 2019 or 2018 from Alexion.

4. Grants
Biomedical Advanced Research and Development Authority (BARDA)
In September 2016, we received an award of up to $125.8 million under Agreement No. HHSO100201600029C from BARDA, a component of the Office of the Assistant Secretary for Preparedness and Response, or ASPR within the U.S. Department of Health and Human Services, or HHS, to help fund our Zika vaccine program. Under the terms of the agreement with BARDA, an initial base award of $8.2 million supported toxicology studies, a Phase 1 clinical trial, and associated manufacturing activities. Contract options were available, for $117.6 million to support an additional Phase 1 study of an improved Zika vaccine candidate, Phase 2 and Phase 3 clinical studies, as well as large-scale manufacturing for the Zika vaccine.
As of December 31, 2019, three of the four contract options had been exercised resulting in $117.3 million of available funding with an additional $8.5 million available if the final contract option is exercised. For the years ended December 31, 2019, 2018 and 2017, we recognized revenue of $7.6 million, $6.8 million and $20.1 million, respectively, relating to the BARDA Agreement.
The Bill & Melinda Gates Foundation
In January 2016, we entered a global health project framework agreement with the Gates Foundation to advance mRNA-based development projects for various infectious diseases. The Gates Foundation has committed up to $20.0 million in grant funding to support our initial project related to the evaluation of antibody combinations in a preclinical setting as well as the conduct of a first-in-

265

Table of Contents

human Phase 1 clinical trial of a potential mRNA medicine to help prevent human immunodeficiency virus, or HIV, infections. Follow-on projects which could bring total potential funding under the framework agreement up to $100.0 million (including the HIV antibody project) to support the development of additional mRNA-based projects for various infectious diseases can be proposed and approved until the sixth anniversary of the framework agreement, subject to the terms of the framework agreement, including our obligation to grant to the Gates Foundation certain non-exclusive licenses. In March 2019, the Gates Foundation provided an additional funding commitment up to $1.1 million to support a follow-on project.
As of December 31, 2019, up to $21.1 million has been committed for funding with up to an additional $80.0 million available, if additional follow-on projects are approved. For the years ended December 31, 2019, 2018 and 2017, we recognized $3.4 million, $1.4 million, and $1.1 million, respectively, related to the Gates Foundation agreement. Deferred revenue of $1.5 million and $0.8 million was recorded as of December 31, 2019, and 2018, respectively, related to the Gates Foundation agreement.
Defense Advanced Research Projects Agency (DARPA)
In October 2013, DARPA awarded us up to $24.6 million under Agreement No. W911NF-13-1-0417, which was subsequently adjusted to $19.7 million, to research and develop potential mRNA medicines as a part of DARPA’s Autonomous Diagnostics to Enable Prevention and Therapeutics, or ADEPT, program, which is focused on assisting with the development of technologies to rapidly identify and respond to threats posed by natural and engineered diseases and toxins. The DARPA awards have been deployed primarily in support of our vaccine and antibody programs to protect against chikungunya infection.
As of December 31, 2019 and 2018, $19.7 million has been committed. We recognized $0.5 million, $3.5 million, $7.7 million, for the years ended December 31, 2019, 2018 and 2017, respectively, related to the DARPA agreement.

5. Financial Instruments
Cash and Cash Equivalents and Investments

266

Table of Contents

The following tables summarize our cash and available-for-sale securities by significant investment category at December 31, 2019 and 2018 (in thousands):
 
 
December 31, 2019
 
 
Amortized
Cost
 
Unrealized
Gains
 
Unrealized
Losses
 
Fair Value
 
Cash and
Cash
Equivalents
 
Current
Marketable
Securities
 
Non-
Current
Marketable
Securities
Cash and cash equivalents
 
$
225,874

 
$

 
$

 
$
225,874

 
$
225,874

 
$

 
$

Available-for-sale:
 
 
 
 
 
 
 
 
 
 
 
 
 
 
Level 2:
 
 
 
 
 
 
 
 
 
 
 
 
 
 
Certificates of deposit
 
82,028

 
79

 
(6
)
 
82,101

 
10,002

 
69,197

 
2,902

U.S. treasury securities
 
117,891

 
260

 
(2
)
 
118,149

 

 
110,186

 
7,963

Debt securities of U.S. government agencies and corporate entities
 
834,187

 
2,708

 
(32
)
 
836,863

 

 
687,741

 
149,122

 
 
$
1,259,980

 
$
3,047

 
$
(40
)
 
$
1,262,987

 
$
235,876

 
$
867,124

 
$
159,987

 
 
 
December 31, 2018
 
 
Amortized
Cost
 
Unrealized
Gains
 
Unrealized
Losses
 
Fair Value
 
Cash and
Cash
Equivalents
 
Current
Marketable
Securities
 
Non-
Current
Marketable
Securities
Cash and cash equivalents
 
$
658,365

 
$
20

 
$
(21
)
 
$
658,364

 
$
658,364

 
$

 
$

Available-for-sale:
 
 
 
 
 
 
 
 
 
 
 
 
 
 
Level 2:
 
 
 
 
 
 
 
 
 
 
 
 
 
 
Certificates of deposit
 
173,102

 
42

 
(36
)
 
173,108

 

 
157,920

 
15,188

U.S. treasury securities
 
152,205

 
18

 
(48
)
 
152,175

 

 
152,175

 

Debt securities of U.S. government agencies and corporate entities
 
712,065

 
40

 
(1,335
)
 
710,770

 

 
552,968

 
157,802

 
 
$
1,695,737

 
$
120

 
$
(1,440
)
 
$
1,694,417

 
$
658,364

 
$
863,063

 
$
172,990



267

Table of Contents

The amortized cost and estimated fair value of marketable securities, by contractual maturity at December 31, 2019 and 2018 are as follows (in thousands):
 
 
December 31, 2019
 
 
Amortized
Cost
 
Estimated
Fair Value
Due in one year or less
 
$
864,958

 
$
867,124

Due after one year through five years
 
159,148

 
159,987

Total
 
$
1,024,106

 
$
1,027,111

 
 
December 31, 2018
 
 
Amortized
Cost
 
Estimated
Fair Value
Due in one year or less
 
$
864,003

 
$
863,063

Due after one year through five years
 
173,369

 
172,990

Total
 
$
1,037,372

 
$
1,036,053

At December 31, 2019, there were no available-for-sale securities in our total investment portfolio that were in a continuous unrealized loss position for more than 12 months. At December 31, 2018, we held 25 available-for-sale securities, or an estimated fair value of $82.8 million, out of our total investment portfolio that were in a continuous unrealized loss position for more than 12 months with a gross unrealized loss of $0.4 million. We concluded that the net declines in market value of our available-for-sale securities investment portfolio were temporary in nature and did not consider any of our investments to be other-than-temporarily impaired. In accordance with our investment policy, we place investments in investment grade securities with high credit quality issuers, and generally limit the amount of credit exposure to any one issuer. We evaluate securities for other-than-temporary impairment at the end of each reporting period. Impairment is evaluated considering numerous factors, and their relative significance varies depending on the situation. Factors considered include the length of time and extent to which fair value has been less than the cost basis, the financial condition and near-term prospects of the issuer, and our intent and ability to hold the investment to allow for an anticipated recovery in fair value. Furthermore, the aggregate of individual unrealized losses that had been outstanding for 12 months or less was not significant as of December 31, 2019, 2018. and 2017. We neither intend to sell these investments nor conclude that we are more-likely-than-not that we will have to sell them before recovery of their carrying values. We also believe that we will be able to collect both principal and interest amounts due to us at maturity.

6. Balance Sheet Components
Prepaid Expenses and Other Current Assets
Prepaid expenses and other current assets, as of December 31, 2019 and 2018 consists of the following (in thousands):
 
 
December 31,
 
 
2019
 
2018
Prepaid expenses
 
$
8,475

 
$
10,401

Tenant incentives receivables
 
4,093

 
10,089

Interest receivable on marketable securities
 
6,835

 
7,909

Prepaid expenses and other current assets
 
$
19,403

 
$
28,399


268

Table of Contents


Property and Equipment, Net
Property and equipment, net as of December 31, 2019 and 2018 consists of the following (in thousands):
 
 
December 31,
 
 
2019
 
2018
Building (1)
 
$

 
$
140,442

Laboratory equipment
 
108,257

 
96,907

Leasehold improvements (1)
 
152,426

 
13,741

Furniture, fixtures and other
 
3,316

 
2,122

Computer equipment and software
 
11,985

 
11,513

Internally developed software
 
7,020

 
7,020

Right-of-use asset, financing
 
9,853

 

Construction in progress
 
3,222

 
4,688

 
 
296,079

 
276,433

Less: Accumulated depreciation
 
(94,584
)
 
(64,456
)
Property and equipment, net
 
$
201,495

 
$
211,977

_________
(1) Leasehold improvements related to our Moderna Technology Center manufacturing facility were previously capitalized as building under ASC 840 and are now included in leasehold improvements under ASC 842 (Note 2). 

Depreciation and amortization expense for the years ended December 31, 2019, 2018 and 2017 was $31.0 million, $24.9 million, $20.5 million, respectively.
Accrued Liabilities
Accrued liabilities, as of December 31, 2019 and 2018 consists of the following (in thousands):
 
 
December 31,
 
 
2019
 
2018
In-licenses
 
$

 
$
22,000

Property and equipment
 
4,029

 
12,089

Compensation-related
 
27,428

 
23,406

External goods and services
 
36,195

 
21,578

Accrued liabilities
 
$
67,652

 
$
79,073


7. Leases
We have entered into various long-term non-cancelable lease arrangements for our facilities and equipment expiring at various times through 2032. Certain of these arrangements have free rent periods or escalating rent payment provisions, which we recognize lease cost under such arrangements on a straight-line basis over the life of the leases. We have two campuses in Massachusetts, our Cambridge facility and our Moderna Technology Center, or MTC, located in Norwood.
Operating Leases

269

Table of Contents

Cambridge facility
We occupy a multi-building campus in Technology Square in Cambridge, MA with a mix of offices and research laboratory space totaling approximately 200,000 square feet. Our Cambridge facility leases have expiry ranges from 2020 to 2029.
In August 2019, we entered into an amendment to our lease agreements to consolidate our Technology Square space in Cambridge, MA. This included entering into a forward-starting lease agreement starting in January 2020 to acquire approximately 50,000 square feet of additional space at 200 Technology Square including space previously occupied under a sublease which expired on December 31, 2019. We will also completely early-exit our leased space of approximately 60,000 square feet at 500 Technology Square by May 2020. In addition, our current 200 Technology Square lease has been extended for two years to 2029. The amendment provides an additional aggregated tenant improvement allowance of $3.5 million for the design and construction of improvements at 200 Technology Square.
In May 2016, we entered into a lease agreement for 124,760 square feet of office and laboratory space at 200 Technology Square in Cambridge, Massachusetts. The lease commenced on September 1, 2016, with the base rent subject to increases over an 11-year term. We have occupied the premises in six phases from September 2016 to January 2020. We have the option to extend the lease term for two extension periods of five years each, at market-based rates. In addition to rent payments, the lease also provides that we pay our proportionate share of operating expenses and taxes during the term of the lease. As the amount of square footage that we lease increases over the term of the lease, we have recognized each phase’s total rent payments on a straight-line basis over the respective lease term. The lease provides us with an initial tenant allowance of $10.00 per square foot against which costs incurred are capitalized as leasehold improvements. We have provided a security deposit of $1.9 million, that is classified as non-current restricted cash in the consolidated balance sheet. As we occupy additional space through the six phases of occupancy, the security deposit will increase to $2.2 million. In December 2018, in relation to the expansion of space from the agreement entered in May 2016, we entered into sublease agreements for 34,268 square feet to expand our office and laboratory space at 200 Technology Square.
In August 2015, we entered into a facility lease agreement for 61,618 square feet of office and laboratory space at 500 Technology Square. The lease commenced in April 2016, with rental fees beginning at a rate of $3.9 million per annum and escalating over the six-year term of the lease. The lease provides a $3.1 million tenant improvement allowance against which costs incurred are capitalized as leasehold improvements. The lease also provides that we pay our proportionate share of operating expenses and taxes during the term of the lease. We have provided a security deposit of $1.0 million, that is classified as current restricted cash in the consolidated balance sheet as of December 31, 2019.
Moderna Technology Center North (MTC North)
In February 2019, we entered into a new lease agreement for office and laboratory space of approximately 200,000 square feet, MTC North, located in Norwood, MA. The lease commenced in the second quarter of 2019 and had an initial expiration date of 2031. We have the option to extend the lease for up to four additional five-year terms. Contemporaneously, we entered into an agreement to sublease approximately 64 percent of the leased space to a third party. We have no rent obligations to the landlord for the space occupied by the third party. All sublease payments from the third party are paid directly to the landlord. The sublease can expire between May 2020 and February 2021 at the third party’s option.
In April 2017, we entered into a lease agreement for land adjacent to our MTC manufacturing facility (see MTC South below). We determined, for accounting purposes, this land lease should be accounted for separately from the lease entered in August 2016 relating to the building. The lease commenced in April 2017, with rental fees beginning at a rate of $0.3 million per annum and escalating over the thirty-five-year term of the lease.
We record operating lease cost for each of our operating leases on a straight-line basis from lease commencement date through the end of the lease term. Operating lease cost is recorded to operating expenses in our consolidated statements of operations.
Finance Leases
Moderna Technology Center manufacturing facility (MTC South)
In August 2016, we entered into a lease agreement for approximately 200,000 square feet of office, laboratory, and light manufacturing space, MTC South, in Norwood, MA. The lease commencement date for accounting purposes was October 1, 2016. In connection with this lease, the landlord provided a tenant improvement allowance of approximately $24.2 million for costs associated with the design, engineering, and construction of tenant improvements for the building. The lease will expire in September 2032. We have the option to extend the term for two extension periods of ten years each at market-based rents. The base rent is subject to increases over the term of the lease. We have provided a security deposit of $8.9 million that is classified as non-current restricted cash in the consolidated balance sheets as of December 31, 2019.
Pursuant to ASC 842, the MTC South lease is bifurcated into a building lease and a land lease using an estimated incremental borrowing rate as of the lease commencement date. The building lease is classified as a financing lease and the land lease is classified

270

Table of Contents

as an operating lease. For accounting purposes, the lease term is determined to be 35 years, which is the non-cancelable period of the lease and includes the optional extension periods as we are reasonably certain that we will exercise the options to extend the lease term. Upon the adoption of ASC 842 at January 1, 2019, we derecognized the assets and liabilities recorded as a result of historical build-to-suit accounting under ASC 840 and recorded financing lease liabilities and financing right-of-use asset associated with the building lease. The financing right-of-use asset is amortized on a straight-line basis to depreciation expense over the remaining lease term. We record interest expense related to the financing lease liabilities in the consolidated statements of operations.
Prior to the adoption of ASC 842, for accounting purposes, we were deemed to be the owner of the building during the construction period as we were involved in the construction project, including having responsibilities for cost overruns for planned tenant improvements that did not qualify as normal tenant improvements under the lease accounting guidance. During the construction period, we capitalized the fair value of the building as of lease commencement along with a corresponding lease financing obligation. We also capitalized project construction costs incurred by us as an asset. Property and equipment, net included $86.4 million and $75.0 million as of December 31, 2018 and 2017, respectively, related to construction in process costs for the building. We completed construction of the building and started our MTC South operation in July 2018. During the third and fourth quarters of 2018, we transferred $161.6 million of construction in process to property and equipment, including the building of $140.4 million. Certain manufacturing equipment and processes were still in progress which have been completed during 2019. The carrying value of the lease financing obligation related to the building, was $33.5 million and $15.7 million, as of December 31, 2018 and 2017, respectively. We recorded $10.5 million and $14.5 million in accrued liabilities in the consolidated balance sheets related to our MTC South property and equipment as of December 31, 2018 and 2017, respectively. During the construction period, we bifurcated our future lease payments pursuant to the lease into: (i) a portion that is allocated to the building; and (ii) a portion that is allocated to the land on which the building is located, which is recorded as rental expense. The fair value of the building and the land were estimated by us with the assistance of a third-party valuation expert and giving consideration to comparable properties. Although we did not begin making lease payments pursuant to the lease until October 2017, the portion of the lease obligation allocated to the land was treated for accounting purposes as an operating lease commencing on October 1, 2016. Upon completion of the construction of the building, we evaluated the lease and determined that it did not meet the criteria for “sale-leaseback” treatment. Accordingly, we depreciated the building and incurred interest expense related to the lease financing obligation recorded in our balance sheet. The portion of the lease obligation allocated to land was treated as an operating lease.
Operating and financing lease right-of-use assets and lease liabilities as of December 31, 2019 and January 1, 2019 (the date of adoption of ASC 842) were as follows (in thousands):
 
 
December 31,
 
January 1,
 
 
2019
 
2019
Assets:
 
 
 
 
     Right-of-use assets, operating, net (1) (2)
 
$
86,414

 
$
63,334

     Right-of-use assets, financing, net (3) (4)
 
9,544

 
9,853

Total
 
$
95,958

 
$
73,187

 
 
 
 
 
Liabilities:
 
 
 
 
Current:
 
 
 
 
   Operating lease liabilities(5)
 
$
3,584

 
$
6,455

Non-current:
 
 
 
 
  Operating lease liabilities, non-current
 
93,675

 
64,250

  Financing lease liabilities, non-current
 
38,689

 
37,718

      Total non-current lease liabilities
 
132,364

 
101,968

Total
 
$
135,948

 
$
108,423

_______
(1) At December 31, 2019, these assets are real estate related assets, which include land, office and laboratory spaces.
(2) Net of accumulated depreciation.
(3) At December 31, 2019, these assets are real estate assets related to the MTC South lease.
(4) Included in property and equipment in the consolidated balance sheets, net of accumulated depreciation.
(5) Included in other current liabilities in the consolidated balance sheets.

The components of the lease costs for the year ended December 31, 2019 were as follows (in thousands):

271

Table of Contents

 
 
December 31,
 
 
2019
Operating lease costs
 
$
17,015

Financing lease costs:
 
 
   Amortization of right-of-use assets, financing leases
 
309

   Interest expense for financing lease liabilities
 
6,557

Total financing lease costs
 
$
6,866

Variable lease costs
 
4,399


Total rent expense for the years ended December 31, 2018 and 2017 was $19.1 million and $18.6 million, respectively. 

Supplemental cash flow information relating to our leases for the year ended December 31, 2019 was as follows (in thousands):
 
 
December 31,
 
 
2019
Cash paid for amounts included in measurement of lease liabilities:
 
 
   Operating cash flows used in operating leases
 
$
(16,121
)
   Operating cash flows used in financing leases
 
(5,585
)
   Financing cash flows provided by financing leases
 
971

 
 
 
Operating lease non-cash items:
 
 
   Right-of-use assets reduced through lease modifications and reassessments
 
2,717

   Right-of-use assets obtained in exchange for operating lease liabilities
 
34,014


Weighted average remaining lease terms and discount rates as of December 31, 2019 were as follows:
 
 
December 31,
 
 
2019
Remaining lease term:
 
 
   Operating leases
 
12 years

   Finance leases
 
33 years

Discount rate:
 
 
   Operating leases
 
9.7
%
   Finance leases
 
17.2
%


272

Table of Contents

Future minimum lease payments under non-cancelable lease agreements as of December 31, 2019, were as follows (in thousands):
Fiscal Year
 
Operating Leases (1)
 
Financing Leases (1)
 
2020
 
$
12,563

 
$
5,738

 
2021
 
13,814

 
5,894

 
2022
 
14,120

 
6,054

 
2023
 
14,365

 
6,219

 
2024
 
14,708

 
6,387

 
Thereafter
 
103,439

 
264,156

 
Total minimum lease payments
 
173,009

 
294,448

 
Less amounts representing interest or imputed interest
 
(75,750
)
 
(255,759
)
(2) 
Present value of lease liabilities
 
$
97,259

 
$
38,689

 
______
(1) Include the optional extensions in the MTC South lease term which represent a total of $10.3 million and $208.5 million un-discounted future lease payments in operating leases and financing leases, respectively.
(2) Based on an imputed interest rate of 17.2%

Prior to adoption of ASC 842, future minimum lease payments under non-cancelable operating lease agreements as of December 31, 2018, which were undiscounted and excluded non-lease components, were as follows (in thousands):
Fiscal Year
 
Minimum Lease Payments
2019
 
$
20,027

2020
 
20,404

2021
 
20,937

2022
 
20,208

2023
 
17,235

Thereafter
 
112,958

Total
 
$
211,769

______
(1) The amounts in the table above do not include any optional extensions in our lease terms.

8. Commitments and Contingencies
Strategic Collaborations
Under our strategic collaboration agreements, we are committed to perform certain research, development, and manufacturing activities. As part of our PCV Agreement and PCV/SAV Agreement with Merck, we are committed to perform certain research, development and manufacturing activities related to PCV products through an initial Phase 2 clinical trial up to a budgeted amount of $243.0 million as of December 31, 2019 and 2018 (Note 3).

273

Table of Contents

Legal Proceedings
We are not currently a party to any material legal proceedings.
Indemnification Obligations
As permitted under Delaware law, we indemnify our officers, directors, and employees for certain events, occurrences while the officer, or director is, or was, serving at our request in such capacity. The term of the indemnification is for the officer’s or director’s lifetime.
We have standard indemnification arrangements in its leases for laboratory and office space that require it to indemnify the landlord against any liability for injury, loss, accident, or damage from any claims, actions, proceedings, or costs resulting from certain acts, breaches, violations, or non-performance under our leases.
Through December 31, 2019 and 2018, we had not experienced any losses related to these indemnification obligations, and no material claims were outstanding. We do not expect significant claims related to these indemnification obligations and, consequently, concluded that the fair value of these obligations is negligible, and no related reserves were established.
Purchase Commitments and Purchase Orders
As of December 31, 2019, we had $4.5 million of non-cancelable purchase commitments for clinical services which are expected to be paid from 2020 to 2023.
In addition to purchase commitments, we have agreements with third parties for various services, including services related to clinical operations and support and contract manufacturing, for which we are not contractually able to terminate for convenience and avoid any and all future obligations to the vendors. Certain agreements provide for termination rights subject to termination fees or wind down costs. Under such agreements, we are contractually obligated to make certain payments to vendors, mainly, to reimburse them for their unrecoverable outlays incurred prior to cancellation. At December 31, 2019, we had cancelable open purchase orders of $105.9 million in total under such agreements for our significant clinical operations and support and contract manufacturing. These amounts represent only our estimate of those items for which we had a contractual commitment to pay at December 31, 2019, assuming we would not cancel these agreements. The actual amounts we pay in the future to the vendors under such agreements may differ from the purchase order amounts.
Licenses to Patented Technology
On June 26, 2017, we entered into sublicense agreements with Cellscript, LLC and its affiliate, mRNA RiboTherapeutics, Inc. to sublicense certain patent rights. Pursuant to each agreement, we are required to pay certain license fees, annual maintenance fees, minimum royalties on future net sales and milestone payments contingent on achievement of certain development, regulatory and commercial milestones for specified products, on a product-by-product basis. We concluded the assets acquired in connection with the sublicense agreements should be accounted for as an asset acquisition of in-process research and development. Accordingly, all payments to be made that meet the characteristics of research and development expenses with no alternative future use will be expensed in the period in which they are incurred. As such, the sublicense payments were expensed as they incurred. Additionally, the development and regulatory milestone payments, up to $1.5 million for therapeutic and prophylactic products and up to $0.5 million for diagnostic products will be recognized as a cost of the asset acquired upon resolution of the associated contingency and will be capitalized or expensed depending on the nature of the associated asset as of the date of recognition. Conversely, commercial milestone payments, up to $24.0 million for therapeutic and prophylactic products will be accounted for as additional expense of the related product sales in the period in which the corresponding sales occur. In conjunction with the agreements entered in 2017, we recognized expense of $22.0 million and $53.3 million, and paid consideration of $25.0 million and $28.3 million in 2018 and 2017, respectively. In 2019, we paid consideration of $22.0 million, which was previously accrued as of December 31, 2018.
Additionally, we have other in-license agreements with third parties which require us to make future development, regulatory and commercial milestone payments for specified products associated with the agreements. The achievement of these milestones has not occurred and such milestone payments are immaterial.

9. Redeemable Convertible Preferred Stock and Common Stock
On February 28, 2018 and May 7, 2018, the Board of Directors approved an amendment to our Certificate of Incorporation resulting in a total of 775,000,000 shares of common stock and a total of 509,352,795 shares of redeemable convertible preferred stock being authorized, respectively. Upon completion of our IPO, our authorized capital stock consists of 1,600,000,000 shares of common

274

Table of Contents

stock, par value $0.0001 per share, and 162,000,000 shares of preferred stock, par value $0.0001 per share, all of which shares of preferred stock are undesignated.
On December 11, 2018, we completed our IPO, whereby we sold 26,275,993 shares of common stock at a price of $23.00 per share. The aggregate net proceeds received by us from the IPO were $563.0 million, net of underwriting discounts and commissions of $33.2 million and offering expenses of $8.1 million payable by us. Upon the closing of the IPO, all of the outstanding shares of our redeemable convertible preferred stock were converted into 236,012,913 shares of the common stock. As of December 31, 2019 and 2018, we did not have any convertible preferred stock issued or outstanding.
Each share of Common Stock is entitled to one vote. The holders of Common Stock are also entitled to receive dividends whenever funds are legally available and when declared by the board of directors, subject to all the rights, powers and preferences of the undesignated preferred stock.
Our redeemable convertible preferred stock on the day immediately prior to the closing of our IPO, or December 11, 2018, and December 31, 2017 consisted of the following (in thousands, except share amounts):
 
 
Redeemable
Convertible
Preferred
Shares
Authorized
 
Redeemable
Convertible
Preferred
Shares
Issued and
Outstanding
 
Carrying
Value
 
Liquidation Preference
As of December 11,
2018
 
 
 
 
 
 
 
 
 
 
Series A redeemable convertible preferred stock
 
42,000,000

 
42,000,000

 
$
182

 
$
2,859

Series B redeemable convertible preferred stock
 
122,296,280

 
122,296,280

 
770

 
12,493

Series C redeemable convertible preferred stock
 
85,669,774

 
85,669,774

 
36,238

 
41,750

Series D redeemable convertible preferred stock
 
63,291,156

 
63,021,976

 
163,355

 
188,840

Series E redeemable convertible preferred stock
 
81,428,340

 
80,884,240

 
498,525

 
498,814

Series F redeemable convertible preferred stock
 
54,001,241

 
54,001,241

 
473,532

 
474,131

Series G redeemable convertible preferred stock
 
55,666,004

 
55,666,004

 
549,413

 
560,000

Series H redeemable convertible preferred stock
 
5,000,000

 
5,000,000

 
111,546

 
125,000

Balance at December 11, 2018
 
509,352,795

 
508,539,515

 
$
1,833,561

 
$
1,903,887

 
 
Redeemable
Convertible
Preferred
Shares
Authorized
 
Redeemable
Convertible
Preferred
Shares
Issued and
Outstanding
 
 
 
Liquidation Preference
As of December 31,
2017
 
 
 
 
 
 
 
 
 
 
Carrying
Value
 
Series A redeemable convertible preferred stock
 
42,000,000

 
42,000,000

 
$
182

 
$
2,701

Series B redeemable convertible preferred stock
 
122,296,280

 
122,296,280

 
770

 
11,801

Series C redeemable convertible preferred stock
 
85,669,774

 
85,669,774

 
36,238

 
39,676

Series D redeemable convertible preferred stock
 
63,291,156

 
63,291,156

 
164,059

 
179,462

Series E redeemable convertible preferred stock
 
81,428,340

 
81,428,340

 
501,880

 
502,169

Series F redeemable convertible preferred stock
 
54,001,241

 
54,001,241

 
473,532

 
474,131

Balance at December 31, 2017
 
448,686,791

 
448,686,791

 
$
1,176,661

 
$
1,209,940

Redeemable Convertible Preferred Stock
We determined the exchange of common units, Series A, B, C, D and E redeemable convertible preferred units, incentive units, restricted stock units, and unit options upon the 2016 Reorganization was a modification of such units. Accordingly, the Series A, B, C, D and E redeemable convertible preferred stock were recorded at their historical carrying values, including previously accrued cumulative dividends, on the effective date of the 2016 Reorganization.

275

Table of Contents

Contemporaneous with the 2016 Reorganization, we entered into a preferred stock purchase agreement which authorized the sale and issuance of up to 68,337,129 shares of our Series F redeemable convertible preferred stock at a purchase price of $8.78 per share. We completed a financing in August 2016 which resulted in the issuance of an aggregate of 54,001,241 shares of Series F redeemable convertible preferred stock at an issuance price of $8.78 per share for gross proceeds of $474.1 million, less issuance costs of approximately $0.6 million.
In February 2018 and May 2018, we completed additional preferred stock financings which resulted in the issuance of 55,666,004 shares of Series G redeemable convertible preferred stock and 5,000,000 shares of Series H redeemable convertible preferred stock, respectively. Series G redeemable convertible preferred stock was issued at a purchase price of $10.06 per share for gross proceeds of $560.0 million, less issuance costs of $10.5 million. Series H redeemable convertible preferred stock was issued at a purchase price of $25.00 per share for gross proceeds of $112.0 million, less issuance costs of $0.4 million. The Series H preferred stock is not convertible at the option of the holder until after February 7, 2020, after which, it will be convertible into common stock on a one-for-1.14 basis because the applicable original issuance price for such series is $25.00 and the initial applicable conversion price is $21.93 (adjusted for the reverse stock split). The initial carrying amount of the Series H redeemable convertible preferred stock was recorded at its fair value of $22.39 per share, which we determined based in part on an independent third-party valuation contemporaneously performed. The difference between the purchase price and the fair value of Series H redeemable convertible preferred stock was determined to be the premium associated with the Merck PCV/SAV Agreement entered in conjunction with the Series H issuance and recorded to deferred revenue of $13.0 million (Note 3).
In September 2018, we repurchased 269,180 shares of our Series D redeemable convertible preferred stock and 544,100 shares of our Series E redeemable convertible preferred stock for an aggregate purchase price of $8.2 million. The repurchase was recorded as a decrease of carrying value of preferred stock and the excess of the purchase price paid to an existing shareholder over the carrying amount of redeemable convertible preferred stock surrendered was recorded to additional paid-in capital.
The following table summarizes the activity for each series of our outstanding redeemable convertible preferred stock for the year ended December 31, 2018 (in thousands, except share data):
 
Series A
Redeemable
Convertible
Preferred
Stock
 
Series B
Redeemable
Convertible
Preferred
Stock
 
Series C
Redeemable
Convertible
Preferred
Stock
 
Series D
Redeemable
Convertible
Preferred
Stock
 
Series E
Redeemable
Convertible
Preferred
Stock
 
Series F
Redeemable
Convertible
Preferred
Stock
 
Series G
Redeemable
Convertible
Preferred
Stock
 
Series H
Redeemable
Convertible
Preferred
Stock
 
Total
Redeemable
Convertible
Preferred
Stock
 
Shares
 
Amount
 
Shares
 
Amount
 
Shares
 
Amount
 
Shares
 
Amount
 
Shares
 
Amount
 
Shares
 
Amount
 
Shares
 
Amount
 
Shares
 
Amount
 
Shares
 
Amount
Balance at December 31, 2017
42,000,000

 
$
182

 
122,296,280

 
$
770

 
85,669,774

 
$
36,238

 
63,291,156

 
$
164,059

 
81,428,340

 
$
501,880

 
54,001,241

 
$
473,532

 

 
$

 

 
$

 
448,686,791

 
$
1,176,661

Issuance of Series G redeemable convertible preferred stock, net of issuance costs of $10,517

 

 

 

 

 

 

 

 

 

 

 

 
55,666,004

 
549,413

 

 

 
55,666,004

 
549,413

Issuance of Series H redeemable convertible preferred stock, net of issuance costs of $474

 

 

 

 

 

 

 

 

 

 

 

 

 

 
5,000,000

 
111,546

 
5,000,000

 
111,546

Repurchase of Series D redeemable convertible preferred stock

 

 

 

 

 

 
(269,180
)
 
(704
)
 

 

 

 

 

 

 

 

 
(269,180
)
 
(704
)
Repurchase of Series E redeemable convertible preferred stock

 

 

 

 

 

 

 

 
(544,100
)
 
(3,355
)
 

 

 

 

 

 

 
(544,100
)
 
(3,355
)
Conversion of redeemable convertible preferred stock
(42,000,000
)
 
(182
)
 
(122,296,280
)
 
(770
)
 
(85,669,774
)
 
(36,238
)
 
(63,021,976
)
 
(163,355
)
 
(80,884,240
)
 
(498,525
)
 
(54,001,241
)
 
(473,532
)
 
(55,666,004
)
 
(549,413
)
 
(5,000,000
)
 
(111,546
)
 
(508,539,515
)
 
(1,833,561
)
Balance at December 31, 2018

 
$

 

 
$

 

 
$

 

 
$

 

 
$

 

 
$

 

 
$

 

 
$

 

 
$

Prior to the conversion of the redeemable convertible preferred stock into the common stock upon the closing of the IPO in December 2018, the holders of the redeemable convertible preferred stock had the following rights:


276

Table of Contents

Voting Rights
The holders of redeemable convertible preferred stock were entitled to vote on all matters and had the number of votes equal to the number of shares of common stock into which the shares of redeemable convertible preferred stock were convertible. Certain directors comprising the Board of Directors were elected by majority vote of holders of redeemable convertible preferred stock. A majority vote of the holders of redeemable convertible preferred stock was required to liquidate or dissolve the Company, amend the Certificate of Incorporation or Bylaws, reclassify common stock or establish another class of capital stock, create shares that would rank senior to or authorize additional shares of redeemable convertible preferred stock, declare a dividend or make a distribution, change the authorized number of directors constituting the Board of Directors, or establish a new employee stock option plan.
Dividends
Dividends were cumulative and accrued annually, whether or not declared, and whether or not there were net profits available to pay dividends. The holders of Series A redeemable convertible preferred stock, Series B redeemable convertible preferred stock, Series C redeemable convertible preferred stock and Series D redeemable convertible preferred stock were entitled to dividends, at a rate per share, per annum, of $0.004, $0.006, $0.02568, and $0.171, respectively. The holders of the Series E redeemable convertible preferred stock, Series F redeemable convertible preferred stock, Series G redeemable convertible preferred stock and Series H redeemable convertible preferred stock were not entitled to dividends with respect to such shares. All accrued dividends on the redeemable convertible preferred stock were forfeited, as a result of the conversion to common stock, in connection with the closing of our IPO on December 11, 2018.
Liquidation Preference
The holders of the redeemable convertible preferred stock had preferences in the event of any voluntary or involuntary liquidation, dissolution or winding-up of the Company, as defined in the Third Amended and Restated Certificate of Incorporation. The preferences are set forth below:
i.
first, to the holders of Series H redeemable convertible preferred stock and Series G redeemable convertible preferred stock, on a pari passu basis, an amount equal to the greater of (a) each respective original issue price plus dividends declared but unpaid or (b) such amount that would be payable had all respective shares been converted to common stock;
ii.
next, to the holders of the Series F redeemable convertible preferred stock an amount equal to the greater of (a) the original issue price plus dividends declared but unpaid or (b) such amount that would be payable had all respective shares been converted to common stock;
iii.
next, to the holders of the Series E redeemable convertible preferred stock an amount equal to the greater of (a) the original issue price plus dividends declared but unpaid or (b) such amount that would be payable had all respective shares been converted to common stock;
iv.
next, to the holders of the Series C redeemable convertible preferred stock an amount equal to the greater of (a) the original issue price plus the Series C redeemable convertible preferred stock dividends accrued but unpaid or (b) such amount that would be payable had all respective shares been converted to common stock;
v.
next, pari passu, in relation to the holders of the Series A redeemable convertible preferred stock an amount equal to the greater of (a) the original issue price plus the Series A redeemable convertible preferred stock dividends accrued but unpaid or (b) such amount that would be payable had all respective shares been converted to common stock and in relation to the holders of the Series B redeemable convertible preferred stock an amount equal to the greater of (a) the original issue price plus the Series B redeemable convertible preferred stock dividends accrued but unpaid or (b) such amount that would be payable had all respective shares been converted to common stock;
vi.
next, to the holders of the Series D redeemable convertible preferred stock an amount equal to the Series D redeemable convertible preferred stock dividends accrued but unpaid; and
vii.
finally, to all holders of common stock, pro rata based on the number of shares held by each such holder.
Redemption
Pursuant to the Third Amended and Restated Certificate of Incorporation as of May 7, 2018 the redeemable convertible preferred stock did not have any redemption rights that were at the election of the holder. However, the redeemable convertible preferred stock was entitled to payment upon the occurrence of certain contingent events.

277

Table of Contents

As it relates to the payment upon the occurrence of a contingent event, we evaluated the redeemable convertible preferred stock in accordance with the guidance in FASB ASC Topic 480, Distinguishing Liabilities from Equity (ASC 480), and determined that the payment of liquidation amounts due upon the occurrence of a contingent event was not solely within our control and accordingly the redeemable convertible preferred stock was classified in temporary equity in the consolidated balance sheet. As it relates to the accretion to redemption value, the redeemable convertible preferred stock was not then redeemable, nor was it probable that the instrument would become redeemable, as it was only redeemable upon the occurrence of a contingent event. Accordingly, no accretion was recognized for the redeemable convertible preferred stock and it would not have been accreted until it was probable that the shares would become redeemable. At December 31, 2017, the occurrence of the contingent events was not considered probable.
Conversion
Each share of Series A redeemable convertible preferred stock, Series B redeemable convertible preferred stock, Series C redeemable convertible preferred stock, Series D redeemable convertible preferred stock, Series E redeemable convertible preferred stock, Series F redeemable convertible preferred stock, and Series G redeemable convertible preferred stock was convertible at the option of the holder, at any time, into the number of shares of fully paid and non-assessable shares of common stock determined by dividing the applicable original issue price for such series of redeemable convertible preferred stock by the applicable conversion price then in effect for such series. The applicable conversion price was initially $0.11, $0.17, $0.70, $4.65, $13.45, $19.14, and $21.93 per share (as adjusted for the reverse stock split), for the Series A redeemable convertible preferred stock, Series B redeemable convertible preferred stock, Series C redeemable convertible preferred stock, Series D redeemable convertible preferred stock, Series E redeemable convertible preferred stock, Series F redeemable convertible preferred stock, and Series G redeemable convertible preferred stock, respectively. In the case of Series H redeemable convertible preferred stock, shares were not convertible at the option of the holder until the date that was twenty-one months following the date of filing of the Third Amended and Restated Certificate of Incorporation, February 7, 2020, after which, shares were convertible at the option of the holder with an applicable conversion price of $21.93 per share, consistent with the mechanics of conversion for the other series of redeemable convertible preferred stock (as adjusted for the reverse stock split). Each applicable conversion ratio would have been adjusted, if applicable, at the time of conversion of a share of redeemable convertible preferred stock into common stock. The adjustment contemplated cash distributions made to holders of the redeemable convertible preferred stock through the date of conversion by decreasing the number of shares of common stock into which the redeemable convertible preferred stock converted by an amount equal to the distributions divided by the fair value of the common stock at the time of conversion. All outstanding shares of redeemable convertible preferred stock were automatically converted into fully paid and non-assessable shares of common stock at the applicable conversion ratio then in effect upon: (i) the date and time, or the occurrence of an event, specified by vote or written consent of the requisite vote; (ii) the closing of a public offering pursuant to an effective registration statement under the Securities Act of 1933, as amended, as approved by the Board of Directors; or (iii) the date and time, or occurrence of an event, specified by vote or written consent of the holders of a majority or two-thirds (as applicable) of the then outstanding shares of the associated series of redeemable convertible preferred stock (applicable on a series-by-series basis).
In the case of Series H redeemable convertible preferred stock, in the event of an automatic conversion prior to the twenty-one-month anniversary, shares converted at (a) in the case of an IPO, a 10% discount to the price per share of common stock sold pursuant to this Annual Report on Form 10-K; provided that such discounted price was no lower than $21.93 or (b) in the case of a liquidation, dissolution, winding up or deemed liquidation event, a 10% discount to the price per share payable to the holders of common stock; provided that such discounted price was no lower than $21.93.
Common stock
Holders of common stock are entitled to one vote per share and are entitled to receive dividends, if and when declared by our Board of Directors. In the event of liquidation, holders of common stock share ratably in our assets legally available for distribution to our shareholders. Holders of common stock have no preemptive, subscription, redemption or conversion rights.


278

Table of Contents

10. Stock-Based Compensation
Equity Plans
In October 2013, we adopted the 2013 Equity Incentive Plan (the 2013 Incentive Plan) and the 2013 Unit Option and Grant Plan (the 2013 Option Plan), which provided for the grant of incentive units, non-qualified unit options, and restricted and unrestricted unit awards to our employees, officers, directors, advisors, and outside consultants. Historically, we also granted restricted stock to founders, officers, directors, and advisors outside any of the Plans.
In August 2016, we adopted the 2016 Stock Option and Grant Plan (the 2016 Equity Plan), which replaced the 2013 Option Plan and the 2013 Incentive Plan. The 2016 Equity Plan and provided for the grant of incentive stock options, non-qualified stock options, restricted stock, unrestricted stock, and restricted stock units to our employees, officers, directors, consultants, and other key persons.
In connection with the IPO, we adopted the 2018 Stock Option and Incentive Plan (the 2018 Equity Plan) in November 2018. The 2018 Equity Plan became effective on the date immediately prior to the effective date of the IPO and replaced our 2016 Plan. The 2018 Equity Plan provides flexibility to our compensation committee to use various equity-based incentive awards as compensation tools to motivate our workforce. We have initially reserved 13,000,000 shares of our common stock for the issuance of awards under the 2018 Equity Plan. The 2018 Equity Plan provides that the number of shares reserved and available for issuance under the plan will automatically increase each January 1, beginning on January 1, 2019, by 4% of the outstanding number of shares of our common stock on the immediately preceding December 31, or such lesser number of shares as determined by our compensation committee. The shares of common stock underlying any awards that are forfeited, canceled, held back upon exercise or settlement of an award to satisfy the exercise price or tax withholding, reacquired by us prior to vesting, satisfied without any issuance of stock, expire or are otherwise terminated (other than by exercise) under the 2018 Equity Plan and the 2016 Plan will be added back to the shares of common stock available for issuance under the 2018 Equity Plan.

The terms and conditions of stock-based awards are defined at the sole discretion of our Board of Directors. We issue service-based awards, vesting over a defined period of service, and performance-based awards, vesting upon achievement of defined conditions. Service based awards generally vest over a four-year period, with the first 25% of such awards vesting following twelve months of continued employment or service. The remaining awards vests in twelve quarterly installments over the following twelve quarters. Stock options granted under the 2016 Equity Plan expire ten years from the date of grant and the exercise price must be at least equal to the fair market value of common stock on the grant date.
As of December 31, 2019, we had a total of 64.9 million shares reserved for future issuance under our Equity Plans, of which 46.8 million shares were reserved for equity awards previously granted, and 18.1 million shares were available for future grants under the 2018 Equity Plan. No additional awards will be granted under the 2016 Equity Plan as it was replaced by the 2018 Equity Plan.

Options
We have granted options generally through the 2018 Equity Plan and 2016 Equity Plan. The following table summarizes our option activity as of December 31, 2019 and 2018:
 
 
Number of
Options
 
Weighted
Average
Exercise
Price per
Share
 
Weighted
Average
Grant
Date Fair
Value per
Share
 
Weighted-
Average
Remaining
Contractual
Term
 
Aggregate
Intrinsic
Value (1)
(in thousands)
Outstanding at December 31, 2018
 
50,821,132

 
12.16

 
6.59

 
7.1 years
 
220,434

Granted
 
7,354,268

 
19.58

 
11.35

 
 
 
 
Exercised
 
(6,945,306
)
 
6.86

 
4.47

 
 
 
 
Canceled/forfeited
 
(5,693,179
)
 
15.17

 
8.67

 
 
 
 
Outstanding at December 31, 2019
 
45,536,915

 
13.82

 
7.35

 
7.2 years
 
286,310

Exercisable at December 31, 2019
 
22,872,221

 
10.13

 
4.86

 
5.9 years
 
216,241

Expected to vest at December 31, 2019
 
22,664,694

 
17.54

 
9.86

 
8.6 years
 
70,069

_______

279

Table of Contents

(1)Aggregate intrinsic value is calculated as the difference between the exercise price of the underlying options and the fair value of common stock for those options in the money as of December 31, 2019.
The total intrinsic value of options exercised was $75.6 million, $5.3 million and less than $0.1 million for the years ended December 31, 2019, 2018 and 2017, respectively. The total consideration recorded as a result of stock option exercises was approximately $47.2 million for the year ended December 31, 2019.
Restricted Common Stock
We have granted restricted stock awards generally through the 2016 Equity Plan. The following table summarizes our restricted stock activity during the year ended December 31, 2019:
 
Number of
Shares
 
Weighted Average
Grant Date Price
per Share
Outstanding, non-vested at December 31, 2018
198,597

 
$
12.15

Issued

 

Vested
(162,717
)
 
12.15

Canceled/forfeited
(35,880
)
 
12.15

Outstanding, non-vested at December 31, 2019

 

The aggregate fair value of restricted stock awards vested during the years ended December 31, 2019, 2018 and 2017, were $2.3 million, $11.9 million, $21.1 million, respectively.
Restricted Common Stock Units
We have granted restricted stock awards generally through the 2016 Equity Plan. The following table summarizes our restricted stock unit activity during the year ended December 31, 2019:
 
Number of Units
 
Weighted Average
Grant Date Price
per Unit
Outstanding, non-vested at December 31, 2018
458,715

 
$
11.93

Issued
1,283,662

 
19.12

Vested
(57,344
)
 
11.93

Canceled/forfeited
(106,413
)
 
20.25

Vested in prior year and settled during the period
(401,371
)
 
11.93

Outstanding, non-vested at December 31, 2019
1,177,249

 
19.01


2018 Employee Stock Purchase Plan

In November 2018, we adopted the 2018 Employee Stock Purchase Plan (the ESPP), which became effective on December 5, 2018. The ESPP initially reserves and authorizes the issuance of up to a total of 810,000 shares of common stock to participating employees. We will make one or more offerings, consisting of one or more purchase periods, each year to our employees to purchase shares under the ESPP. Offerings will usually begin every six months and will continue for six-month periods, referred to as offering periods. The purchase price at which shares are sold under the ESPP will be equal to 85% of the lower of the fair market value of the shares on the first business day of the offering period or the last business day of the purchase period. Employees are generally eligible to participate through payroll deductions of between 1% to 50% of their compensation and may not purchase more than 3,000 shares of common stock during each purchase period or $25,000 worth of shares of common stock in any calendar year. We began our first ESPP offering on June 1, 2019. There were 171,343 shares of common stock sold at an average price of $16.87 per share under the ESPP during the year ended December 31, 2019. As of December 31, 2019, 0.6 million shares were available for future issuance under the ESPP.

280

Table of Contents


Valuation and Stock-Based Compensation Expense

Stock-based compensation for options granted under our Equity Plans and share purchases under our ESPP is determined using the Black-Scholes option pricing model. The weighted-average assumptions used to estimate the fair value of options granted and ESPP for the years ended December 31, 2019, 2018 and 2017 are as follows:

 
 
Weighted Average
 
 
Years Ended December 31,
 
 
2019
 
2018
 
2017
Options:
 
 
 
 
 
 
    Risk-free interest rate
 
2.29
%
 
2.76
%
 
2.02
%
    Expected term
 
6.07 years

 
6.27 years

 
6.21 years

    Expected volatility
 
61
%
 
63
%
 
63
%
    Expected dividends
 
%
 
%
 
%
    Weighted average fair value per share
 
$
11.35

 
$
9.33

 
$
7.96

 
 
 
 
 
 
 
ESPP:
 
 
 
 
 
 
Risk-free interest rate
 
1.95
%
 
*
 
*
Expected term
 
0.50 years

 
*
 
*
Expected volatility
 
53
%
 
*
 
*
Expected dividends
 
%
 
*
 
*
Weighted average fair value per share
 
$
5.98

 
*
 
*
_________
* - Not applicable

Stock-Based Compensation Expense
The following table presents the components and classification of stock-based compensation expense for the years ended December 31, 2019, 2018 and 2017 as follows (in thousands):
 
Years Ended
December 31,
 
2019
 
2018
 
2017
Options
$
74,780

 
$
63,288

 
$
31,724

Restricted common stock and units
5,125

 
9,277

 
8,331

Employee stock purchase plan
1,217

 

 

Total
$
81,122

 
$
72,565

 
$
40,055

Research and development
$
48,259

 
$
37,659

 
$
21,679

General and administrative
32,863

 
34,906

 
18,376

Total
$
81,122

 
$
72,565

 
$
40,055

For the years ended December 31, 2019, 2018 and 2017, we recognized stock-based compensation expense of $9.8 million, $10.6 million and $0.8 million, respectively, related to performance-based awards, including awards with vesting or commencement contingent upon the IPO, for which achievement of such performance-based condition was deemed probable. Stock-based compensation expenses related to non-employee awards were immaterial for the years ended December 31, 2019, 2018 and 2017.

281

Table of Contents

As of December 31, 2019, there were $194.8 million of total unrecognized compensation cost related to non-vested stock-based compensation with respect to options and restricted stock granted. That cost is expected to be recognized over a weighted-average period of 3.1 years at December 31, 2019.

11. Employee Benefit Plan
We provide a retirement savings option to our eligible U.S. employees through the Moderna, Inc. 401(k) Plan (the 401(k) Plan), subject to certain limitations. As allowed under Section 401(k) of the Internal Revenue Code, the 401(k) Plan allows tax deferred salary deductions for eligible employees. We match 50% up to the first 6% contributed by a participant. All matching contributions are immediately vested. Total matching contributions to the 401(k) Plan were $4.2 million, $2.1 million, $2.1 million for the years ended December 31, 2019, 2018 and 2017, respectively.

12. Income Taxes
Loss before (benefit from) provision for income taxes for the years ended December 31, 2019, 2018 and 2017 consist of the following (in thousands):
 
Years Ended December 31,
 
2019
 
2018
 
2017
United States
$
(508,595
)
 
$
(380,473
)
 
$
(247,784
)
Foreign
(6,121
)
 
(3,935
)
 
(8,212
)
Loss before (benefit from) provision for income taxes
$
(514,716
)
 
$
(384,408
)
 
$
(255,996
)
The (benefit from) provision for income taxes for the years ended December 31, 2019, 2018 and 2017 consist of the following components (in thousands):
 
Years Ended December 31,
 
2019
 
2018
 
2017
Current:
 
 
 
 
 
Federal
$

 
$
(26
)
 
$
(252
)
State
505

 
352

 
172

Total current
505

 
326

 
(80
)
Deferred:

 
 
 
 
Federal
(1,200
)
 

 

Total deferred
(1,200
)
 

 

Total (benefit from) provision for income taxes
$
(695
)
 
$
326

 
$
(80
)

282

Table of Contents

The reconciliation of the U.S. statutory income tax rate to our effective tax rate for the years ended December 31, 2019, 2018 and 2017 are as follows:
 
Years Ended December 31,
 
2019
 
2018
 
2017
Tax effected at statutory rate
21.0
 %
 
21.0
 %
 
34.0
 %
State taxes, net of federal benefit
7.9
 %
 
6.3
 %
 
8.5
 %
Non-deductible items
1.6
 %
 
0.0
 %
 
(1.3
)%
Change in valuation allowance
(33.0
)%
 
(28.5
)%
 
(20.4
)%
Federal research and development credits
2.5
 %
 
1.5
 %
 
4.8
 %
Foreign tax rate differential
(0.2
)%
 
(0.2
)%
 
(1.1
)%
Impact of federal rate change on net deferred taxes
0.0
 %
 
0.0
 %
 
(25.0
)%
Other
0.2
 %
 
(0.2
)%
 
0.5
 %
Effective tax rate
0.0
 %
 
(0.1
)%
 
0.0
 %
The significant components of our deferred tax assets and tax liabilities as of December 31, 2019 and 2018 are as follows (in thousands):
 
December 31,
 
2019
 
2018
Deferred tax assets:
 
 
 
Net operating loss carry-forwards
$
268,173

 
$
114,932

Stock-based compensation
43,978

 
33,138

Capitalized licenses, R&D and start-up costs
19,891

 
22,143

Tax credit carry-forwards
77,222

 
53,617

Accrued expenses
7,377

 
16,443

Deferred revenue
53,475

 
71,209

Operating lease liabilities
26,571

 

Lease financing obligation
10,570

 
9,149

Other
11

 
2,870

Total gross deferred tax assets
507,268

 
323,501

Less: valuation allowance
(470,753
)
 
(308,273
)
Total deferred tax assets, net of valuation allowance
36,515

 
15,228

Deferred tax liabilities:
 
 
 
Financing right-of-use assets
(2,612
)
 

Operating right-of-use assets
(24,944
)
 

Fixed assets
(8,959
)
 
(15,228
)
Total deferred tax liabilities
(36,515
)
 
(15,228
)
Net deferred tax assets
$

 
$

We have evaluated the positive and negative evidence bearing upon the realization of our deferred tax assets, including our history of losses and in accordance with the applicable accounting standards, has fully reserved the net deferred tax asset. We concluded that realization of our net deferred tax assets is not more-likely-than-not to be realized. The valuation allowance increased by $162.5

283

Table of Contents

million in the year ended December 31, 2019, primarily due to the increase in net operating loss carry-forwards, research and development tax credits, and stock-based compensation.
At December 31, 2019, we had approximately $981.8 million and $978.8 million of federal and state net operating loss carry-forwards, respectively, of which $380.1 million of federal and $978.8 million of state loss carry-forwards begin to expire in 2030. Additionally, $601.7 million of federal net operating loss carry-forward will carry forward indefinitely. At December 31, 2019 we also had federal and state research and development credit carry-forwards of approximately $45.6 million and $23.9 million, which begin to expire in 2030 and 2029, respectively. At December 31, 2019, we also had federal orphan drug and state investment tax credit carry-forwards of approximately $1.5 million and $5.9 million which begin to expire in 2039 and 2020, respectively.
Upon adoption of ASC 606 (Note 2), we recorded a cumulative-effect adjustment of $28.0 million to the opening balance of accumulated deficit as of January 1, 2019 with a decrease in deferred revenue of $30.7 million and a decrease in accounts receivable of $2.7 million. As a result of the cumulative decrease in deferred revenue, our corresponding deferred tax asset decreased by $8.4 million, which was offset by a corresponding decrease to our valuation allowance.

Utilization of the net operating loss (NOL) and tax credit carry-forwards may be subject to a substantial annual limitation due to ownership change limitations that have occurred previously, or that could occur in the future, as provided by Section 382 of the Internal Revenue Code of 1986, as amended, or Section 382, as well as similar state provisions and other provisions of the Internal Revenue Code. Ownership changes may limit the amount of NOLs and tax credit carry-forwards that can be utilized annually to offset future taxable income and tax, respectively. In general, an ownership change, as defined by Section 382, results from transactions that increase the ownership of 5% shareholders in the stock of a corporation by more than 50% in the aggregate over a three-year period. We may experience ownership changes in the future as a result of subsequent shifts in our stock ownership, some of which may be outside our control.

We file income tax returns in the United States and the Commonwealth of Massachusetts. All tax years since the date of our incorporation remain open to examination by the major taxing jurisdictions (state and federal) to which we are subject, as carry-forward attributes generated in years past may still be adjusted upon examination by the Internal Revenue Service (IRS) or other authorities if they have or will be used in a future period. We are not currently under examination by the IRS, or any other jurisdictions, for any tax year.

We recognize, in our financial statements, the effect of a tax position when it is more likely than not, based on the technical merits, that the position will be sustained upon examination. A reconciliation of the beginning and ending amounts of unrecognized tax benefits during the years ended December 31, 2019 and 2018 are as follows (in thousands):
Balance as of December 31, 2017
$
940

Decrease due to prior positions
(799
)
Increase due to current year tax position

Balance as of December 31, 2018
141

Decrease due to prior positions

Increase due to current year tax positions

Balance as of December 31, 2019
$
141

Unrecognized tax benefits may change during the next twelve months for items that arise in the ordinary course of business. We do not anticipate a material change to our unrecognized tax benefits over the next twelve months that would have an adverse effect on our consolidated operating results. We recognize interest and penalties, if applicable, related to uncertain tax positions as a component of income tax expense; however, there have been none to date.


284

Table of Contents

13. Net Loss per Share
Net Loss per Share Attributable to Common Stockholders
Basic and diluted net loss per share attributable to common stockholders for the years ended December 31, 2019, 2018 and 2017 are calculated as follows (in thousands, except share and per share data):
 
Years Ended
December 31,
 
2019
 
2018
 
2017
Numerator:
 
 
 
 
 
Net loss
$
(514,021
)
 
$
(384,734
)
 
$
(255,916
)
Premium paid on repurchase of redeemable convertible preferred stock

 
(4,127
)
 

Cumulative dividends on redeemable convertible preferred stock

 
(12,996
)
 
(13,925
)
Net loss attributable to common stockholders
$
(514,021
)
 
$
(401,857
)
 
$
(269,841
)
Denominator:
 
 
 
 
 
Weighted average common shares used in net loss per share attributable to common stockholders, basic and diluted
330,802,136

 
81,114,183

 
64,497,544

Net loss per share attributable to common stockholders, basic and diluted
$
(1.55
)
 
$
(4.95
)
 
$
(4.18
)
The following common stock equivalents, presented based on amounts outstanding as of December 31, 2019, 2018 and 2017 were excluded from the calculation of diluted net loss per share attributable to common stockholders for the periods indicated because their inclusion would have been anti-dilutive:
 
December 31,
 
2019
 
2018
 
2017
Redeemable convertible preferred stock

 

 
205,151,299

Stock options
45,536,915

 
50,821,132

 
33,684,134

Restricted common stock

 
198,597

 
1,081,205

Restricted common stock units
1,177,249

 
458,715

 
458,715

 
46,714,164

 
51,478,444

 
240,375,353



285

Table of Contents

14. Related Party Transactions
Series G Redeemable Convertible Preferred Stock Financing
On January 30, 2018 and on February 15, 2018, respectively, we entered into Series G Preferred Stock Purchase Agreements, pursuant to which we issued and sold an aggregate of 55,666,004 shares of our Series G redeemable convertible preferred stock at a price per share of $10.06, for an aggregate purchase price of $560.0 million. The following table sets forth the number of shares of our Series G redeemable convertible preferred stock that we issued to our related parties in this transaction (in thousands, except share data):
Name
 
Shares of
Series G
Redeemable
Convertible
Preferred Stock
 
Total
Purchase Price
OCHA LLC(1)
 
50,000
 
$
503

Viking Global Investors LP and affiliated entities(2)
 
745,526
 
$
7,500

______
(1) 
OCHA LLC is an entity controlled by an officer.
(2) 
Consists of (1) 279,160 shares of Series G redeemable convertible preferred stock held by VGE III Portfolio Ltd.; (2) 148,974 shares of Series G preferred stock held by Viking Global Equities LP; (3) 8,737 shares of Series G redeemable convertible preferred stock held by Viking Global Equities II LP; (4) 129,537 shares of Series G preferred stock held by Viking Global Opportunities Illiquid Investments Sub-Master LP; and (5) 179,118 shares of Series G redeemable convertible preferred stock held by Viking Long Fund Master Ltd.
Other Transactions
The following is a description of additional transactions we have engaged in for the years ended December 31, 2019, 2018 and 2017, with our related parties.
One of our former board members served as Senior Counsel at Covington & Burling LLP (Covington). We paid Covington approximately $0.1 million, $0.2 million and $0.2 million for legal services for the year ended December 31, 2019, 2018 and 2017, respectively. We had no outstanding accounts payable balances to Covington at December 31, 2019 and 2018.
AstraZeneca is considered to be a related party due to its equity ownership in us. We have also entered into strategic alliances with AstraZeneca. For the years ended December 31, 2019, 2018 and 2017, we received payments of $7.9 million, $34.0 million and $1.1 million, respectively. At December 31, 2019 and 2018, our outstanding accounts receivable balances from AstraZeneca were $0.3 million and $0.9 million, respectively. Refer to Note 3 for a discussion of the strategic alliances and related transaction.


286

Table of Contents

15. Selected Quarterly Financial Data (Unaudited)

The following tables provide the unaudited selected quarterly financial data for the years ended December 31, 2019 and 2018 (in thousands, except per share data). We believe that the following information reflects all normal recurring adjustments necessary for a fair statement of the information for the periods presented. The operating results for any quarter are not necessarily indicative of results of any future period.

 
 
 
 
 
 
 
 
 
 
 
2019
 
 
First
 Quarter (1)
 
Second Quarter (1)
 
Third
Quarter (1)
 
Fourth
Quarter
Total revenue
 
$
16,025

 
$
13,083

 
$
17,046

 
$
14,055

Total operating expenses
 
157,665

 
156,792

 
146,861

 
144,611

Loss from operations
 
(141,640
)
 
(143,709
)
 
(129,815
)
 
(130,556
)
Net loss per share attributable to common stockholders - basic and diluted
 
$
(0.40
)
 
$
(0.41
)
 
$
(0.37
)
 
$
(0.37
)
 
 
 
 
 
 
 
 
 
 
 
 
 
 
 
 
 
 
 
 
2018
 
 
First
Quarter
 
Second Quarter
 
Third
Quarter
 
Fourth
Quarter
Total revenue
 
$
29,039

 
$
28,851

 
$
41,757

 
$
35,421

Total operating expenses
 
106,441

 
125,866

 
127,575

 
188,452

Loss from operations
 
(77,402
)
 
(97,015
)
 
(85,818
)
 
(153,031
)
Net loss per share attributable to common stockholders - basic and diluted
 
$
(1.16
)
 
$
(1.43
)
 
$
(1.32
)
 
$
(1.14
)
_______
(1) As a result of our adoption of ASC 842 as of January 1, 2019 (Note 2), quarterly amounts presented in our prior Forms 10-Q were revised. Total operating expenses and Loss from operations were both adjusted by $0.2 million, $0.2 million and $1.0 million, for the first, second and third quarters of 2019, respectively.


16. Subsequent Event

On February 14, 2020, we sold 26,315,790 shares of common stock at a price of $19.00 per share through a public equity offering. The aggregate net proceeds from the offering were approximately $478.1 million, net of underwriting discounts, commissions and estimated offering expenses. In addition, the underwriters have exercised their option to purchase an additional 3,947,368 shares of common stock at the public offering price less the underwriting discount, resulting in additional net proceeds of $71.8 million.

Item 9. Changes in and Disagreements with Accountants on Accounting and Financial Disclosure
None.
Item 9A. Controls and Procedures
Evaluation of Disclosure Controls and Procedures
Our management, with the participation of our Chief Executive Officer and our Chief Financial Officer, evaluated the effectiveness of our disclosure controls and procedures as of December 31, 2019. The term “disclosure controls and procedures,” as defined in Rules 13a-15(e) and 15d-15(e) under the Securities Exchange Act of 1934 as amended (the (“Exchange Act”), means controls and other procedures of a company that are designed to ensure that information required to be disclosed by a company in the reports that it files or submits under the Exchange Act is recorded, processed, summarized and reported, within the time periods specified in the SEC’s rules and forms. Disclosure controls and procedures include, without limitation, controls and procedures designed to ensure that information required to be disclosed by a company in the reports that it files or submits under the Exchange Act is accumulated and communicated to the company’s management, including its principal executive and principal financial officers, as appropriate to allow timely decisions regarding required disclosure. Management recognizes that any controls and procedures, no matter how well designed and operated, can provide only reasonable assurance of achieving their objectives and management

287

Table of Contents

necessarily applies its judgment in evaluating the cost-benefit relationship of possible controls and procedures. Based on the evaluation of our disclosure controls and procedures as of December 31, 2019, our Chief Executive Officer and Chief Financial Officer concluded that, as of such date, our disclosure controls and procedures were effective at the reasonable assurance level.
Management’s Report on Internal Control Over Financial Reporting
Our management is responsible for establishing and maintaining adequate internal control over financial reporting (as such term is defined in Exchange Act Rule 13a-15(f) to provide reasonable assurance regarding the reliability of our financial reporting and the preparation of financial statements for external purposes in accordance with generally accepted accounting principles. Management assessed our internal control over financial reporting as of December 31, 2019. Management based its assessment on criteria established in Internal Control - Integrated Framework issued by the Committee of Sponsoring Organizations of the Treadway Commission (2013 Framework). Based on that evaluation, our management concluded that our internal control over financial reporting was effective as of December 31, 2019.
The effectiveness of our internal control over financial reporting as of December 31, 2019 has been audited by Ernst & Young LLP, an independent registered public accounting firm, as stated in their report included in this Annual Report on Form 10-K.
Changes in Internal Controls over Financial Reporting
During the three months ended December 31, 2019, we implemented certain internal controls in connection with our adoption of ASC 842. There were no other changes in our internal control over financial reporting (as defined in Rules 13a-15(f) and 15d-15(f) under the Exchange Act) during the three months ended December 31, 2019 that have materially affected, or is reasonably likely to materially affect, our internal control over financial reporting.
Inherent Limitations on the Effectiveness of Controls
Control systems, no matter how well conceived and operated, are designed to provide a reasonable, but not an absolute, level of assurance that the objectives of the control system are met. Further, the design of a control system must reflect the fact that there are resource constraints, and the benefits of controls must be considered relative to their costs. Because of the inherent limitations in all control systems, no evaluation of controls can provide absolute assurance that all control issues and instances of fraud, if any, have been detected. Because of the inherent limitations in any control system, misstatements due to error or fraud may occur and not be detected.

Report of Independent Registered Public Accounting Firm

To the Stockholders and the Board of Directors of Moderna, Inc.
Opinion on the Internal Control Over Financial Reporting
We have audited Moderna, Inc.’s internal control over financial reporting as of December 31, 2019, based on criteria established in Internal Control-Integrated Framework issued by the Committee of Sponsoring Organizations of the Treadway Commission (2013 framework) (the COSO criteria). In our opinion, Moderna, Inc. (the Company) maintained, in all material respects, effective internal control over financial reporting as of December 31, 2019, based on the COSO criteria.
We also have audited, in accordance with the standards of the Public Company Accounting Oversight Board (United States) (PCAOB), the consolidated balance sheets of the Company as of December 31, 2019 and December 31, 2018, the related consolidated statements of operations, comprehensive loss, redeemable convertible preferred stock and stockholders’ equity (deficit), and cash flows for each of the three years in the period ended December 31, 2019, and the related notes and our report dated February 27, 2020 expressed an unqualified opinion thereon.
Basis for Opinion
The Company’s management is responsible for maintaining effective internal control over financial reporting and for its assessment of the effectiveness of internal control over financial reporting included in the accompanying Management’s Report on Internal Control Over Financial Reporting. Our responsibility is to express an opinion on the Company’s internal control over financial reporting based on our audit. We are a public accounting firm registered with the PCAOB and are required to be independent with respect to the Company in accordance with the U.S. federal securities laws and the applicable rules and regulations of the Securities and Exchange Commission and the PCAOB.

288

Table of Contents

We conducted our audit in accordance with the standards of the PCAOB. Those standards require that we plan and perform the audit to obtain reasonable assurance about whether effective internal control over financial reporting was maintained in all material respects.
Our audit included obtaining an understanding of internal control over financial reporting, assessing the risk that a material weakness exists, testing and evaluating the design and operating effectiveness of internal control based on the assessed risk, and performing such other procedures as we considered necessary in the circumstances. We believe that our audit provides a reasonable basis for our opinion.
Definition and Limitations of Internal Control Over Financial Reporting
A company’s internal control over financial reporting is a process designed to provide reasonable assurance regarding the reliability of financial reporting and the preparation of financial statements for external purposes in accordance with generally accepted accounting principles. A company’s internal control over financial reporting includes those policies and procedures that (1) pertain to the maintenance of records that, in reasonable detail, accurately and fairly reflect the transactions and dispositions of the assets of the company; (2) provide reasonable assurance that transactions are recorded as necessary to permit preparation of financial statements in accordance with generally accepted accounting principles, and that receipts and expenditures of the company are being made only in accordance with authorizations of management and directors of the company; and (3) provide reasonable assurance regarding prevention or timely detection of unauthorized acquisition, use, or disposition of the company’s assets that could have a material effect on the financial statements.
Because of its inherent limitations, internal control over financial reporting may not prevent or detect misstatements. Also, projections of any evaluation of effectiveness to future periods are subject to the risk that controls may become inadequate because of changes in conditions, or that the degree of compliance with the policies or procedures may deteriorate.

/s/ Ernst & Young LLP

Boston, Massachusetts
February 27, 2020


Item 9B. Other Information
None.

289

Table of Contents

PART III
Item 10. Directors, Executive Officers and Corporate Governance
The information required by this Item is incorporated herein by reference to the information that will be contained in our proxy statement related to the 2020 Annual Meeting of Stockholders, which we intend to file with the Securities and Exchange Commission within 120 days of the end of our fiscal year pursuant to General Instruction G(3) of Form 10-K.

Item 11. Executive Compensation
The information required by this Item is incorporated herein by reference to the information that will be contained in our proxy statement related to the 2020 Annual Meeting of Stockholders, which we intend to file with the Securities and Exchange Commission within 120 days of the end of our fiscal year pursuant to General Instruction G(3) of Form 10-K.

Item 12. Security Ownership of Certain Beneficial Owners and Management and Related Stockholder Matters
The information required by this Item is incorporated herein by reference to the information that will be contained in our proxy statement related to the 2020 Annual Meeting of Stockholders, which we intend to file with the Securities and Exchange Commission within 120 days of the end of our fiscal year pursuant to General Instruction G(3) of Form 10-K.

Item 13. Certain Relationships and Related Transactions, and Director Independence
The information required by this Item is incorporated herein by reference to the information that will be contained in our proxy statement related to the 2020 Annual Meeting of Stockholders, which we intend to file with the Securities and Exchange Commission within 120 days of the end of our fiscal year pursuant to General Instruction G(3) of Form 10-K.

Item 14. Principal Accounting Fees and Services
The information required by this Item is incorporated herein by reference to the information that will be contained in our proxy statement related to the 2020 Annual Meeting of Stockholders, which we intend to file with the Securities and Exchange Commission within 120 days of the end of our fiscal year pursuant to General Instruction G(3) of Form 10-K.


290

Table of Contents

PART IV
Item 15. Exhibits, Financial Statement Schedules
Exhibit No.
 
Exhibit Index
3.1
 
3.2
 
4.1
 
4.2
 
4.3
 
10.1#
 
10.2#
 
10.3#
 
10.4†
 
10.5†
 
10.6†
 
10.7†
 
10.8†
 
10.9
 
Lease Agreement, by and between Moderna Therapeutics, Inc. and ARE-Tech Square, LLC, dated as of May 26, 2016, as amended by Amendment No. 1 dated as of August 31, 2016, Amendment No. 2 dated as of December 31, 2016, Amendment No. 3 dated as of April 24, 2017, Amendment No. 4 dated as of April 13, 2018. (1)
10.10
 
10.11
 
10.12#
 
10.13#
 
10.14#
 
10.15#
 
10.16#
 
10.17#
 
10.18#
 
10.19#
 
10.20#
 
10.21#
 
10.22#
 
10.23#
 

291

Table of Contents

Confidential treatment has been granted by the Securities and Exchange Commission as to certain portions.

#
Indicates a management contract or any compensatory plan, contract or arrangement.
+




The certifications furnished in Exhibit 32.1 and 32.2 hereto are deemed to accompany this Annual Report on Form 10-K and will not be deemed “filed” for purposes of Section 18 of the Securities Exchange Act of 1934, as amended. Such certifications will not be deemed to be incorporated by reference into any filings under the Securities Act of 1933, as amended, or the Securities Exchange Act of 1934, as amended, except to the extent that the Registrant specifically incorporates it by reference.
(1)
Incorporated by reference to the Registration Statement on Form S-1 (File No. 333-228300) filed with the Securities and Exchange Commission on November 9, 2018.
(2)
Incorporated by reference to the Registration Statement on Form S-1 (File No. 333-228300) filed with the Securities and Exchange Commission on November 28, 2018.
(3)
Incorporated by reference to the Current Report on Form 8-K (File No. 001-38753) filed with the Securities and Exchange Commission on December 14, 2018.
(4)
Incorporated by reference to the Current Report on Form 10-Q (File No. 001-38753) filed with the Securities and Exchange Commission on November 6, 2019.
(5)
Incorporated by reference to the Current Report on Form 10-Q (File No. 001-38753) filed with the Securities and Exchange Commission on May 9, 2019.
(6)
Incorporated by reference to the Annual Report on Form 10-K (File No. 001-38753) filed with the Securities and Exchange Commission on March 13, 2019.



292

Table of Contents

Item 16. Form 10-K Summary
Not applicable.

293

Table of Contents



SIGNATURES
Pursuant to the requirements of the Section 13 or 15(d) of the Securities Exchange Act of 1934, the Registrant has duly caused this report to be signed on its behalf by the undersigned, thereunto duly authorized.
                                

 
 
 
MODERNA, INC.
 
 
 
 
Date:
 
By:
/s/ Stéphane Bancel
February 27, 2020
 
 
 
 
 
 
Stéphane Bancel
 
 
 
Chief Executive Officer and Director
 
 
 
 


294

Table of Contents

POWER OF ATTORNEY AND SIGNATURES
Each individual whose signature appears below hereby constitutes and appoints each of Stéphane Bancel and Lorence Kim and as such person’s true and lawful attorney-in-fact and agent with full power of substitution and resubstitution, for such person in such person’s name, place and stead, in any and all capacities, to sign any and all amendments to this Annual Report on Form 10-K, and to file the same, with all exhibits thereto, and all documents in connection therewith, with the Securities and Exchange Commission granting unto each said attorney-in-fact and agent full power and authority to do and perform each and every act and thing requisite and necessary to be done in and about the premises, as fully to all intents and purposes as such person might or could do in person, hereby ratifying and confirming all that any said attorney-in-fact and agent, or any substitute or substitutes of any of them, may lawfully do or cause to be done by virtue hereof.
Pursuant to the requirements of the Securities Exchange Act of 1934, this report has been signed by the following persons on behalf of the Registrant and in the capacities and on the dates indicated.
 
 
 
 
 
Signature
 
Title
 
Date
 
 
 
 
 
/s/ Stéphane Bancel
 
Chief Executive Officer and Director (Principal Executive Officer)
 
February 27, 2020
Stéphane Bancel
 
 
 
 
 
 
 
/s/ Lorence Kim, M.D.
 
Chief Financial Officer
(Principal Financial Officer)
 
February 27, 2020
Lorence Kim, M.D.
 
 
 
 
 
 
 
/s/ Jennifer Lee
 
Chief Accounting Officer
(Principal Accounting Officer)
 
February 27, 2020
Jennifer Lee
 
 
 
 
 
 
 
/s/ Noubar B. Afeyan, Ph.D.
 
Chairman and Director
 
February 27, 2020
Noubar B. Afeyan, Ph.D.
 
 
 
 
 
 
 
/s/ Stephen Berenson
 
Director
 
February 27, 2020
Stephen Berenson
 
 
 
 
 
 
 
/s/ Robert Langer, Sc.D.
 
Director
 
February 27, 2020
Robert Langer, Sc.D.
 
 
 
 
 
 
 
/s/ Elizabeth Nabel, M.D.
 
Director
 
February 27, 2020
Elizabeth Nabel, M.D.
 
 
 
 
 
 
 
/s/ Francois Nader, M.D.
 
Director
 
February 27, 2020
Francois Nader, M.D.
 
 
 
 
 
 
 
/s/ Israel Ruiz
 
Director
 
February 27, 2020
Israel Ruiz
 
 
 
 
 
 
 
/s/ Paul Sagan
 
Director
 
February 27, 2020
Paul Sagan
 
 
 
 
 
 
 
/s/ Moncef Slaoui, Ph.D.
 
Director
 
February 27, 2020
Moncef Slaoui, Ph.D.
 
 


295